JP2010084291A - 布帛の捺染方法及びその装置 - Google Patents

布帛の捺染方法及びその装置 Download PDF

Info

Publication number
JP2010084291A
JP2010084291A JP2008256494A JP2008256494A JP2010084291A JP 2010084291 A JP2010084291 A JP 2010084291A JP 2008256494 A JP2008256494 A JP 2008256494A JP 2008256494 A JP2008256494 A JP 2008256494A JP 2010084291 A JP2010084291 A JP 2010084291A
Authority
JP
Japan
Prior art keywords
fabric
printing
textile printing
textile
cloth
Prior art date
Legal status (The legal status is an assumption and is not a legal conclusion. Google has not performed a legal analysis and makes no representation as to the accuracy of the status listed.)
Granted
Application number
JP2008256494A
Other languages
English (en)
Other versions
JP5513727B2 (ja
Inventor
Hideo Izawa
秀男 井沢
Takao Namiki
孝夫 並木
Akira Ishikawa
石川  晃
Yuichi Yamazaki
祐一 山崎
Current Assignee (The listed assignees may be inaccurate. Google has not performed a legal analysis and makes no representation or warranty as to the accuracy of the list.)
Miyakoshi Printing Machinery Co Ltd
Original Assignee
Miyakoshi Printing Machinery Co Ltd
Priority date (The priority date is an assumption and is not a legal conclusion. Google has not performed a legal analysis and makes no representation as to the accuracy of the date listed.)
Filing date
Publication date
Application filed by Miyakoshi Printing Machinery Co Ltd filed Critical Miyakoshi Printing Machinery Co Ltd
Priority to JP2008256494A priority Critical patent/JP5513727B2/ja
Priority to EP09171204.2A priority patent/EP2172343B1/en
Priority to CN200910176363.XA priority patent/CN101713156B/zh
Priority to US12/571,683 priority patent/US8087358B2/en
Publication of JP2010084291A publication Critical patent/JP2010084291A/ja
Application granted granted Critical
Publication of JP5513727B2 publication Critical patent/JP5513727B2/ja
Expired - Fee Related legal-status Critical Current
Anticipated expiration legal-status Critical

Links

Images

Classifications

    • BPERFORMING OPERATIONS; TRANSPORTING
    • B41PRINTING; LINING MACHINES; TYPEWRITERS; STAMPS
    • B41JTYPEWRITERS; SELECTIVE PRINTING MECHANISMS, i.e. MECHANISMS PRINTING OTHERWISE THAN FROM A FORME; CORRECTION OF TYPOGRAPHICAL ERRORS
    • B41J3/00Typewriters or selective printing or marking mechanisms characterised by the purpose for which they are constructed
    • B41J3/407Typewriters or selective printing or marking mechanisms characterised by the purpose for which they are constructed for marking on special material
    • B41J3/4078Printing on textile
    • BPERFORMING OPERATIONS; TRANSPORTING
    • B41PRINTING; LINING MACHINES; TYPEWRITERS; STAMPS
    • B41JTYPEWRITERS; SELECTIVE PRINTING MECHANISMS, i.e. MECHANISMS PRINTING OTHERWISE THAN FROM A FORME; CORRECTION OF TYPOGRAPHICAL ERRORS
    • B41J11/00Devices or arrangements  of selective printing mechanisms, e.g. ink-jet printers or thermal printers, for supporting or handling copy material in sheet or web form
    • B41J11/007Conveyor belts or like feeding devices
    • DTEXTILES; PAPER
    • D06TREATMENT OF TEXTILES OR THE LIKE; LAUNDERING; FLEXIBLE MATERIALS NOT OTHERWISE PROVIDED FOR
    • D06PDYEING OR PRINTING TEXTILES; DYEING LEATHER, FURS OR SOLID MACROMOLECULAR SUBSTANCES IN ANY FORM
    • D06P5/00Other features in dyeing or printing textiles, or dyeing leather, furs, or solid macromolecular substances in any form
    • D06P5/30Ink jet printing

Landscapes

  • Engineering & Computer Science (AREA)
  • Textile Engineering (AREA)
  • Treatment Of Fiber Materials (AREA)
  • Ink Jet (AREA)
  • Coloring (AREA)

Abstract

【課題】いくらでも長い布帛を布帛の捺染装置を停止させることなく、連続して捺染できるようにする。
【解決手段】搬送ベルト8に捺染用インクジェットプリンタ4を対向させてなる捺染部に布帛3を搬送ベルトにて搬送して通過させることにより、上記捺染用インクジェットプリンタにて布帛に捺染を行う布帛の捺染方法において、上記捺染部に供給される布帛の終端に、次に供給する布帛の始端を突き合わせ状に繋ぎ合わせて、所定長さの複数の布帛を連続して供給するようにした。
【選択図】図2

Description

本発明は、長尺の布帛に捺染用インクジェットプリンタにて捺染する布帛の捺染方法及びその装置に関するものである。
従来のこの種の捺染方法は、図1に示された捺染装置を用いて行われていた(特許文献1参照)。この従来の布帛の捺染方法は、捺染装置1の上流側の布帛の供給部2にロール状に巻かれた布帛3をセットし、このロール状の布帛3を巻き出して捺染用インクジェットプリンタ4にて所定の捺染を行い、ついで乾燥機5を通過後、巻き取りローラ6にて巻き取るようにしている。そしてこの捺染装置1にあっては、捺染用インクジェットプリンタ4の上流側に上記被捺染材3の厚みを検出する厚み検出センサ7を設け、被捺染材3の厚みに応じて捺染用インクジェットプリンタ4にて捺染する布帛3を走行案内する搬送ベルト8を案内するローラ8a,8bの高さを調整して、搬送ベルト8の搬送面の高さが変えられるようにしている。9は入口側の案内ローラ、10はベルト張りローラ、11はベルト張り調整ばねである。
特開平8−156353号公報
従来の布帛の捺染方法にあっては、上記したように供給部にロール状にした布帛3をセットし、このロール状の布帛3から捺染用インクジェットプリンタ4へ案内ローラ9を経て繰り出し供給するようになっていたため、1本のロール状の布帛3の捺染が完了するごとに装置を停止して、新しいロール状の布帛3を装着すると共に、これを捺染装置1内に通して再稼動しなければならなかった。
一方、上記布帛3が伸縮性が大きい材料であるため大径に巻くことが難しく、このため上記供給部2にセットする被捺染材3は小径に、従って長さがあまり長くないものにならざるを得なく、供給部におけるロール状の布帛3の付け替えによる再稼動操作を頻繁に行わなければならず生産効率が上がらないという問題があった。
本発明は上記のことに鑑みなされたもので、長尺の布帛を捺染装置を停止させることなく連続して捺染することができて長尺の布帛の捺染を生産性高く行うことができる捺染方法及び、この捺染方法を実施する捺染装置を提供することを目的とするものである。
上記目的を達成するために、本発明に係る布帛の捺染方法は、搬送ベルトに捺染用インクジェットプリンタを対向させてなる捺染部に布帛を搬送ベルトにて搬送して通過させることにより、上記捺染用インクジェットプリンタにて布帛に捺染を行う布帛の捺染方法において、上記捺染部に供給される布帛の終端に、次に供給する布帛の始端を突き合わせ状に繋ぎ合わせて、所定長さの複数の布帛を連続して供給するようにした。
そして上記布帛の捺染方法において、捺染部の上流側で、布帛の繋ぎ合わせ部をセンサにて検出し、この繋ぎ合わせ部が捺染部を通過する間にわたって布帛を搬送する搬送ベルトを下降して上記繋ぎ合わせ部が捺染部のプリントヘッドに干渉しないようにした。
また、上記布帛の捺染方法を実施する布帛の捺染装置は、搬送ベルトに捺染用インクジェットプリンタを対向させてなる捺染部を有し、この捺染部に布帛を搬送ベルトにて搬送して通過させることにより、上記捺染用インクジェットプリンタにて布帛に捺染を行うようにした布帛の捺染装置において、上記捺染部への布帛を供給する布帛供給部に、布帛の供給方向に複数の布帛トレイを備えると共に、布帛の供給方向下流側の布帛トレイ内の布帛の終端と、上流側の布帛トレイ内の布帛の始端をとをあらかじめ突き合わせ状に繋ぎ合わせる繋ぎ合わせ装置を備え、上記捺染部の上流部で布帛の繋ぎ合わせ部を検出センサにて検出し、この繋ぎ合わせ部が捺染部を通過する間にわたって搬送ベルトを下降して上記繋ぎ合わせ部が捺染部のプリントヘッドに干渉しないようにした構成になっている。
本発明に係る布帛の捺染方法によれば、従来の巻き取りローラに替えて、捺染後の布帛も折り畳んで積み重ね集積することにより、いくらでも長い布帛を捺染装置を停止させることなく連続してこれの捺染稼動を行うことができて、長尺の布帛の捺染の生産性を向上することができると共に、長尺製品の品質も安定させることができる。
そして、折り畳む等によりまとめられた所定長さの布帛を、繋ぎ合わせ装置にて繋ぎ合わせながら捺染装置へ供給するため、連続での供給量として量的な制限をなくすることができる。
さらに、連続して布帛を供給することができるため、所定長さごとの布帛を供給部に設置する作業を省略されて作業性においての省力化を図ることができる。
また、本発明に係る布帛の捺染装置にあっては、従来から用いられている捺染装置において、複数の布帛トレイ及び布帛トレイに収納した各布帛の相互を突き合わせ繋ぎ合わせる繋ぎ合わせ装置を備えるだけで構成することができることにより、上記捺染方法を実施するための捺染装置を安価に得ることができる。
図2は本発明の布帛の捺染方法を実施するための布帛の捺染装置12を示すもので、この捺染装置12において図1にて示した従来の捺染装置1と同一部材は同一符号を付して説明を省略する。
この捺染装置12の布帛供給部2に少なくとも2つの可動式の布帛トレイ13a,13bを捺染装置12における布帛3の走行方向に並べて配置する。そしてこの各布帛トレイ13a,13bに所定の長さの布帛3a,3bをジグザグ状に折り畳んで積み重ね収納する。また、捺染装置12の出口側にも少なくとも1つの布帛トレイ13cを配置する。
布帛供給部2側の布帛トレイ13a,13bに収納した各布帛3,3において、捺染装置12に近い方、すなわち布帛3の供給方向下流側である第1布帛トレイ13aに収納した布帛3の終端3aと、遠い方、すなわち布帛3の供給方向上流側である第2の布帛トレイ13bに収納した布帛3の始端3bとを、繋ぎ合わせ装置Mを用いてそれぞれの端を突き合わせ状にして縫合することによって繋ぎ合わせてある。
上記両端3a,3bの縫合は、公知の方法にて、例えば地縫い糸と、第1の振り糸と、第2の振り糸とを用いたロックかがりにて行う(特許文献2参照)。
特開2007−169812号公報
上記ロックかがりを図3、図4にて説明する。
まず、図3に示すように、一方の布帛3の終端3aと他方の布帛3の始端3bとをそれぞれの端部の縁をそろえて重ね合わせて積層体14を形成し、次にロックミシン装置Mにてこの積層体14の縁15から間隔Aをおいた内側に、地縫い糸16を用いて地縫いを行うと共に、縁15から第1の振り糸17及び第2の振り糸18を外側に間隔Bをもって延出させながら積層体14の縁かがりを行う。その後、積層体14の縁15を中心として布帛3の終端3aと始端3bを略180度の角度で開いて略平面状にすると図4に示すように繋ぎ領域Cにおいて、一方の布帛3の終端3aと他方の布帛3の始端3bとが、突き合わされた状態で重なることなく配置される。
繋ぎ領域Cの一方の面には、図4に示されるように地縫い糸16によるステッチが形成され、他方の面には図5に示すように地縫い糸16によるステッチと、第1の振り糸17によるステッチと、第2の振り糸18によるステッチとが、この順でステッチ形成方向Sに沿って形成される。
なお、上記布帛3の各端3a,3bの繋ぎ合わせは、各端3a,3bが突き合わせ状で行われる方法であれば上記の実施例に限らず、公知の各種の繋ぎ合わせ方法にて行うことができる。
上記した捺染装置12を用いての布帛3の捺染は、各布帛トレイ13a,13bに収納した各布帛3,3の終端3aと始端3bとを繋ぎ合わせた状態で、捺染装置12に近い方である第1の布帛トレイ13aに収納された布帛3の始端から捺染装置12に通すことにより行われる。そして捺染された布帛3は乾燥機5にて乾燥されてから出口部において、図示しない公知の折り畳み装置にて布帛トレイ13c内にジグザグ状に折り畳まれて積み重ね集積される。
上記第1の布帛トレイ13a内の布帛3に対する捺染が終了すると、この布帛3の終端3aに繋ぎ合わせられた第2の布帛トレイ13bに収納された布帛3の始端部3bが引き続いて捺染装置12へ供給される。
このとき、空になった上記第1の布帛トレイ13aを取り除いて第2の布帛トレイ13bを捺染装置12側へ移動すると共に、上記空になった布帛トレイ13aを上記第2の布帛トレイ13bの後側へ移動してこれに他の布帛3を収納する。そしてこれの始端と、上記供給中の布帛3の終端とをロックミシン装置Mにて繋ぎ合わせる。一方、このときにおいて、出口側に複数の布帛トレイ13cを配置しておくことにより、捺染後の長尺状の布帛3を連続して順次集積することができる。
上記布帛3の捺染作動において、捺染装置12に供給される布帛3の厚さは、厚み検出センサ7にて常時検出されていて、この厚み検出センサ7の検出信号に基づいて図示しない制御装置により搬送ベルト8を案内している一対のローラ8a,8bの高さが変更されて、搬送ベルト8の位置がこれと捺染用インクジェットプリンタ4のプリントヘッドとの間隔が適正になるように調整される。
このときにおいて、布帛3の繋ぎ合わせ部にあっては、糸かがりしてあることにより、布帛3の厚さより厚くなっているので、この部分が捺染用インクジェットプリンタ4を通過する際には、通常の布帛3の厚さ変化の場合より、この部分がプリントヘッドに接触しないように大きく変動させる。そしてこの繋ぎ合わせ部分が通過した状態で直ちに元に戻される。
なお、上記布帛3の繋ぎ合わせ部の検出は、厚さ検出センサ7によることなく、この部分の膨らみを機械的に検出するようにしてもよい。
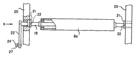
次に、上記捺染装置12における搬送ベルト8を昇降するための駆動機構の実施例を図6から図9にて説明する。なお、この各実施例の説明では、搬送ベルト8を案内する上流側と下流側の一対のローラ8a,8bのうちの一方のローラ8aについて説明しているが、両ローラ8a,8bとも同一の構成であると共に同一の作用を同期して行うものである。
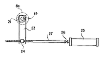
図6、図7は第1の実施例を示すもので、ローラ8aを回転自在に支承するローラ軸19の両端は、前後のフレーム20,20に回転可能に支持されたブッシュ21,21の軸心に対して偏心位置に貫通し、ピン22にて固定されている。そしてローラ軸19の一方の端部にレバー23の基端部が固定されている。また、レバー23の先端には連結ピン24がローラ軸19と平行に、かつ回転自在に設けてあり、この連結ピン24にはこれの回転軸心と直角方向にねじ孔が設けてあり、このねじ孔にサーボモータ25にユニバーサルジョイント26にて連結されたねじ軸27が螺合されている。
しかしてサーボモータ25を回転駆動してねじ軸27を回転することにより、連結ピン24を介してレバー23が回転されてローラ軸19と共にブッシュ21,21が所定角度にわたって回転する。このとき、ブッシュ21,21の回転中心に対してローラ軸19の軸心位置が偏心していることにより、ローラ軸19は上下方向に揺動してローラ8aの位置が上下方向に移動される。
図8は第2の実施例を示すもので、第1の実施例と同一部材はこれと同一の符号を付した。ローラ8aを回転自在に支承するローラ軸19の両端は、前後のフレーム20,20に設けた案内板28,28に上下方向にスライド自在に係合して設けられた前後のスライドフレーム29,29に固定されている。そしてこの両スライドフレーム29,29の下面には、フレーム20,20に回転自在に支持されたカム軸30に固着された偏心カム31,31が当接されており、カム軸30を回転してこの偏心カム31,31を回動することにより、上記スライドフレーム29,29が上下動してローラ8aが上下方向に移動されるようになっている。
上記カム軸30を回転する構成は、図7で示した上記した第1の実施例と同一になっていて、カム軸30の端部に結合したレバー23を連結ピン24を介してサーボモータにて回動駆動されるようになっている。
図9は第3の実施例を示すもので、第1、第2の実施例と同一部材はこれらと同一符号を付した。ローラ8aを回転自在に支承するローラ軸19の両端は、前後のフレーム20,20に設けた案内板28,28に上下方向にスライド自在に係合して設けられた前後のスライドフレーム29,29に固定されている。そしてこの両スライドフレーム29,29はステー部材32にて連結されていて、このステー部材32の両端部にはねじ軸33,33が上下方向に螺合されている。この両ねじ軸33,33の下端は、前後方向に設けられてサーボモータ25にて回転可能に設けられた回転軸34に傘歯車機構35,35を介して連結されている。
しかして、サーボモータ25にて回転軸32を回転することにより、傘歯車機構35,35を介してねじ棒33,33が回転してステー部材32が上下動されてローラ8aの位置が上下方向に移動される。
上記各実施例におけるサーボモータ25は、厚み検出センサ7による検出値に基づいて制御装置にて正転、逆転の回動駆動されるようになっていて、上記案内ローラ8aは、捺染用インクジェットプリンタ4のプリンタヘッドにて捺染される布帛3の厚さに応じて、及び繋ぎ合わせ部の厚さに応じて上下方向に移動して、上記プリントヘッドに対する間隔が常時適正になるようになっている。
従来の布帛の捺染装置を概略的に示す正面図である。 本発明に係る布帛の捺染装置を概略的に示す正面図である。 布帛の両端の縫製方法を示す工程図である。 両端を縫製した布帛を用いた状態の一面図である。 両端を縫製した布帛を用いた状態の他面図である。 案内ローラの第1の実施例を示す一部破断面図である。 図6のX矢視図である。 案内ローラの第2の実施例を示す一部破断面図である。 案内ローラの第3の実施例を示す一部破断面図である。
符号の説明
1,12…捺染装置、2…布帛供給部、3…布帛、3a,3b…布帛の端、4…捺染用インクジェットプリンタ、5…乾燥機、6…巻き取りローラ、7…厚み検出センサ、8…搬送ベルト、8a,8b…ローラ、9…案内ローラ、10…ベルト張りローラ、11…ベルト張り調整ばね、13a,13b,13c…布帛トレイ、14…積層体、15…縁、16…地縫い糸、17,18…振り糸、19…ローラ軸、20…フレーム、21…ブッシュ、22…ピン、23…レバー、24…連続ピン、25…サーボモータ、26…ユニバーサルジョイント、27,33…ねじ軸、28…案内板、29…スライドフレーム、30…カム軸、31…偏心カム、32…ステー部材、34…回転軸、35…傘歯車機構、M…繋ぎ合わせ装置。

Claims (3)

  1. 搬送ベルトに捺染用インクジェットプリンタを対向させてなる捺染部に布帛を搬送ベルトにて搬送して通過させることにより、上記捺染用インクジェットプリンタにて布帛に捺染を行う布帛の捺染方法において、
    上記捺染部に供給される布帛の終端に、次に供給する布帛の始端を突き合わせ状に繋ぎ合わせて、所定長さの複数の布帛を連続して供給するようにした
    ことを特徴とする布帛の捺染方法。
  2. 捺染部の上流側で、布帛の繋ぎ合わせ部をセンサにて検出し、この繋ぎ合わせ部が捺染部を通過する間にわたって布帛を搬送する搬送ベルトを下降して上記繋ぎ合わせ部が捺染部のプリントヘッドに干渉しないようにしたことを特徴とする請求項1記載の布帛の捺染方法。
  3. 搬送ベルトに捺染用インクジェットプリンタを対向させてなる捺染部を有し、この捺染部に布帛を搬送ベルトにて搬送して通過させることにより、上記捺染用インクジェットプリンタにて布帛に捺染を行うようにした布帛の捺染装置において、
    上記捺染部への布帛を供給する布帛供給部に、布帛の供給方向に複数の布帛トレイを備えると共に、布帛の供給方向下流側の布帛トレイ内の布帛の終端と、上流側の布帛トレイ内の布帛の始端をとをあらかじめ突き合わせ状に繋ぎ合わせる繋ぎ合わせ装置を備え、
    上記捺染部の上流部で布帛の繋ぎ合わせ部を検出センサにて検出し、この繋ぎ合わせ部が捺染部を通過する間にわたって搬送ベルトを下降して上記繋ぎ合わせ部が捺染部のプリントヘッドに干渉しないようにした
    ことを特徴とする布帛の捺染装置。
JP2008256494A 2008-10-01 2008-10-01 布帛の捺染方法及びその装置 Expired - Fee Related JP5513727B2 (ja)

Priority Applications (4)

Application Number Priority Date Filing Date Title
JP2008256494A JP5513727B2 (ja) 2008-10-01 2008-10-01 布帛の捺染方法及びその装置
EP09171204.2A EP2172343B1 (en) 2008-10-01 2009-09-24 Textile printing method and apparatus
CN200910176363.XA CN101713156B (zh) 2008-10-01 2009-09-28 布帛印花方法及其装置
US12/571,683 US8087358B2 (en) 2008-10-01 2009-10-01 Textile printing method and apparatus

Applications Claiming Priority (1)

Application Number Priority Date Filing Date Title
JP2008256494A JP5513727B2 (ja) 2008-10-01 2008-10-01 布帛の捺染方法及びその装置

Publications (2)

Publication Number Publication Date
JP2010084291A true JP2010084291A (ja) 2010-04-15
JP5513727B2 JP5513727B2 (ja) 2014-06-04

Family

ID=41413364

Family Applications (1)

Application Number Title Priority Date Filing Date
JP2008256494A Expired - Fee Related JP5513727B2 (ja) 2008-10-01 2008-10-01 布帛の捺染方法及びその装置

Country Status (4)

Country Link
US (1) US8087358B2 (ja)
EP (1) EP2172343B1 (ja)
JP (1) JP5513727B2 (ja)
CN (1) CN101713156B (ja)

Cited By (1)

* Cited by examiner, † Cited by third party
Publication number Priority date Publication date Assignee Title
WO2014156886A1 (ja) * 2013-03-29 2014-10-02 セーレン株式会社 インクジェット記録装置

Families Citing this family (4)

* Cited by examiner, † Cited by third party
Publication number Priority date Publication date Assignee Title
CN102529350B (zh) 2010-11-24 2014-10-22 精工爱普生株式会社 喷墨印染装置及通过喷墨印染而实现的印染物的制造方法
ITTO20120315A1 (it) * 2012-04-11 2012-07-11 Corino Macchine S P A Sistema per l'introduzione di tessuto in macchine da stampa digitali
CN112248660B (zh) * 2020-10-15 2021-06-04 江苏汉印机电科技股份有限公司 一种纺织物智能喷印机
CN120396531B (zh) * 2025-07-01 2025-08-29 汇精(厦门)电子科技有限公司 一种关于膜材动态传输过程喷码装置

Citations (10)

* Cited by examiner, † Cited by third party
Publication number Priority date Publication date Assignee Title
US4201029A (en) * 1978-08-14 1980-05-06 Automated Packaging Systems, Inc. Method and apparatus for packaging
JPS57121545A (en) * 1980-06-23 1982-07-29 Urii Sa Method and apparatus for splicing sheet material for continuous feeding particularly for high-speed printer
JPS6451696U (ja) * 1987-09-24 1989-03-30
JPH02503774A (ja) * 1987-04-28 1990-11-08 ストレイジ テクノロジー コーポレイション ピン送り用紙の継ぎ方法及び装置
JPH0397954A (ja) * 1989-09-08 1991-04-23 Santou Eng Kk 布帛の継目自動引き出し装置
JPH05212851A (ja) * 1992-02-05 1993-08-24 Kanebo Ltd 捺染装置
JPH06101164A (ja) * 1992-09-11 1994-04-12 Nisshinbo Ind Inc レース布地のシャーリングカッターの自動制御方法
JPH08156353A (ja) * 1994-10-07 1996-06-18 Canon Inc プリント装置
JPH11192691A (ja) * 1997-12-29 1999-07-21 Canon Inc インクジェットプリント装置
JP2005349751A (ja) * 2004-06-11 2005-12-22 Konica Minolta Holdings Inc インクジェット記録装置

Family Cites Families (6)

* Cited by examiner, † Cited by third party
Publication number Priority date Publication date Assignee Title
US3631972A (en) * 1969-10-15 1972-01-04 Nashua Corp Computer printout paper package
EP1354638A3 (en) * 2002-04-15 2004-11-03 Fuji Photo Film Co., Ltd. Method and apparatus for manufacturing pattern members using webs on which coating films have been formed
CN100395111C (zh) * 2003-12-24 2008-06-18 杭州宏华数码科技股份有限公司 定式喷墨头导带输送数码喷射印花机
JP2007222190A (ja) * 2004-03-29 2007-09-06 Brother Ind Ltd プリント可能な刺繍ミシン
JP4537947B2 (ja) * 2005-12-20 2010-09-08 株式会社ワールド 布地の縫製方法
US7841683B2 (en) * 2006-11-08 2010-11-30 Seiko Corporation Printing apparatus

Patent Citations (10)

* Cited by examiner, † Cited by third party
Publication number Priority date Publication date Assignee Title
US4201029A (en) * 1978-08-14 1980-05-06 Automated Packaging Systems, Inc. Method and apparatus for packaging
JPS57121545A (en) * 1980-06-23 1982-07-29 Urii Sa Method and apparatus for splicing sheet material for continuous feeding particularly for high-speed printer
JPH02503774A (ja) * 1987-04-28 1990-11-08 ストレイジ テクノロジー コーポレイション ピン送り用紙の継ぎ方法及び装置
JPS6451696U (ja) * 1987-09-24 1989-03-30
JPH0397954A (ja) * 1989-09-08 1991-04-23 Santou Eng Kk 布帛の継目自動引き出し装置
JPH05212851A (ja) * 1992-02-05 1993-08-24 Kanebo Ltd 捺染装置
JPH06101164A (ja) * 1992-09-11 1994-04-12 Nisshinbo Ind Inc レース布地のシャーリングカッターの自動制御方法
JPH08156353A (ja) * 1994-10-07 1996-06-18 Canon Inc プリント装置
JPH11192691A (ja) * 1997-12-29 1999-07-21 Canon Inc インクジェットプリント装置
JP2005349751A (ja) * 2004-06-11 2005-12-22 Konica Minolta Holdings Inc インクジェット記録装置

Cited By (2)

* Cited by examiner, † Cited by third party
Publication number Priority date Publication date Assignee Title
WO2014156886A1 (ja) * 2013-03-29 2014-10-02 セーレン株式会社 インクジェット記録装置
JPWO2014156886A1 (ja) * 2013-03-29 2017-02-16 セーレン株式会社 インクジェット記録装置

Also Published As

Publication number Publication date
JP5513727B2 (ja) 2014-06-04
EP2172343A3 (en) 2013-03-20
CN101713156B (zh) 2013-02-27
US20100077554A1 (en) 2010-04-01
US8087358B2 (en) 2012-01-03
EP2172343B1 (en) 2014-04-30
CN101713156A (zh) 2010-05-26
EP2172343A2 (en) 2010-04-07

Similar Documents

Publication Publication Date Title
JP5513727B2 (ja) 布帛の捺染方法及びその装置
US5040473A (en) Method of, and apparatus for, processing textile material webs, particularly for manufacturing quilts and the like
US6484786B1 (en) Light control window covering and method and apparatus for its manufacture
TWI597180B (zh) 媒體饋送裝置、媒體饋送裝置之控制方法及記錄裝置
US9764574B2 (en) Inkjet recording apparatus
US6779471B2 (en) Apparatus for finishing pieces cut from a length of textile material, particularly for closing the leading edge of a tubular piece
CN110121428B (zh) 骑马装订系统
US20030029577A1 (en) Light-control window covering and method and apparatus for its manufacture
EP2923844B1 (en) Printing apparatus and cockle removing method
CN111169179A (zh) 变形矫正装置、记录介质输送装置以及喷墨图像形成装置
JP6149362B2 (ja) インクジェット記録装置、インクジェット記録方法およびインクジェット記録システム
CN208501303U (zh) 一种定型机张紧装置
JP2017121975A (ja) 紙折り機
JP6357893B2 (ja) 塗布装置、塗布装置の制御方法、及び画像形成システム
JP6394026B2 (ja) 印刷装置および蛇行解消方法
KR20020065514A (ko) 레이블을 제작하는 방법 및 장치
CN116949690A (zh) 物料缝合方法
CN106276363B (zh) 一种自动卷布装置
CN116837547A (zh) 物料缝合系统
CN220283044U (zh) 输送机构及输送系统
CN220335438U (zh) 拉布机构及用于物料缝合装置的拉布系统
CN220335439U (zh) 缝合装置
CN220335431U (zh) 物料缝合设备
CN223372363U (zh) 一种数码印花机上布机构
JP2007320669A (ja) ロール媒体供給装置

Legal Events

Date Code Title Description
RD04 Notification of resignation of power of attorney

Free format text: JAPANESE INTERMEDIATE CODE: A7424

Effective date: 20100209

A621 Written request for application examination

Free format text: JAPANESE INTERMEDIATE CODE: A621

Effective date: 20111003

A977 Report on retrieval

Free format text: JAPANESE INTERMEDIATE CODE: A971007

Effective date: 20130124

A131 Notification of reasons for refusal

Free format text: JAPANESE INTERMEDIATE CODE: A131

Effective date: 20130130

A521 Request for written amendment filed

Free format text: JAPANESE INTERMEDIATE CODE: A523

Effective date: 20130401

A131 Notification of reasons for refusal

Free format text: JAPANESE INTERMEDIATE CODE: A131

Effective date: 20131211

A521 Request for written amendment filed

Free format text: JAPANESE INTERMEDIATE CODE: A523

Effective date: 20140210

TRDD Decision of grant or rejection written
A01 Written decision to grant a patent or to grant a registration (utility model)

Free format text: JAPANESE INTERMEDIATE CODE: A01

Effective date: 20140305

A61 First payment of annual fees (during grant procedure)

Free format text: JAPANESE INTERMEDIATE CODE: A61

Effective date: 20140328

R150 Certificate of patent or registration of utility model

Ref document number: 5513727

Country of ref document: JP

Free format text: JAPANESE INTERMEDIATE CODE: R150

R250 Receipt of annual fees

Free format text: JAPANESE INTERMEDIATE CODE: R250

R250 Receipt of annual fees

Free format text: JAPANESE INTERMEDIATE CODE: R250

R250 Receipt of annual fees

Free format text: JAPANESE INTERMEDIATE CODE: R250

R250 Receipt of annual fees

Free format text: JAPANESE INTERMEDIATE CODE: R250

R250 Receipt of annual fees

Free format text: JAPANESE INTERMEDIATE CODE: R250

R250 Receipt of annual fees

Free format text: JAPANESE INTERMEDIATE CODE: R250

R250 Receipt of annual fees

Free format text: JAPANESE INTERMEDIATE CODE: R250

R250 Receipt of annual fees

Free format text: JAPANESE INTERMEDIATE CODE: R250

LAPS Cancellation because of no payment of annual fees