JP2010083040A - インクジェットプリント方法及び装置 - Google Patents

インクジェットプリント方法及び装置 Download PDF

Info

Publication number
JP2010083040A
JP2010083040A JP2008255507A JP2008255507A JP2010083040A JP 2010083040 A JP2010083040 A JP 2010083040A JP 2008255507 A JP2008255507 A JP 2008255507A JP 2008255507 A JP2008255507 A JP 2008255507A JP 2010083040 A JP2010083040 A JP 2010083040A
Authority
JP
Japan
Prior art keywords
fabric
air
drying
drying section
ink
Prior art date
Legal status (The legal status is an assumption and is not a legal conclusion. Google has not performed a legal analysis and makes no representation as to the accuracy of the status listed.)
Granted
Application number
JP2008255507A
Other languages
English (en)
Other versions
JP5340687B2 (ja
Inventor
Toshihiro Araya
俊宏 荒谷
Current Assignee (The listed assignees may be inaccurate. Google has not performed a legal analysis and makes no representation or warranty as to the accuracy of the list.)
Seiren Co Ltd
Original Assignee
Seiren Co Ltd
Priority date (The priority date is an assumption and is not a legal conclusion. Google has not performed a legal analysis and makes no representation as to the accuracy of the date listed.)
Filing date
Publication date
Application filed by Seiren Co Ltd filed Critical Seiren Co Ltd
Priority to JP2008255507A priority Critical patent/JP5340687B2/ja
Publication of JP2010083040A publication Critical patent/JP2010083040A/ja
Application granted granted Critical
Publication of JP5340687B2 publication Critical patent/JP5340687B2/ja
Active legal-status Critical Current
Anticipated expiration legal-status Critical

Links

Images

Landscapes

  • Ink Jet (AREA)

Abstract

【課題】本発明は、記録後の布帛を色安定よく均一に乾燥させて発色品質を安定させることができるインクジェットプリント方法及び装置を提供することである。
【解決手段】インクジェットプリント装置は、所定の幅を有する長尺状の布帛Tに柄模様等を記録するインクジェット記録部A、記録された布帛Tを乾燥する乾燥部B、及び、布帛Tを搬送する搬送部を備えている。乾燥部Bは、予備乾燥区間9、本乾燥区間10及び予備乾燥区間11から構成されている。各乾燥区間では除湿機により常温低湿度の雰囲気からなる乾燥空間が維持されており、本乾燥区間10では風量発生器により内部の空気が循環して布帛Tの表面に送風されて乾燥するようになる。
【選択図】図1

Description

本発明は、水系インクを用いてインクジェット記録方式により布帛に記録するインクジェットプリント方法及び装置に関する。
近年、布帛染色に関する技術分野において、少量多品種の生産技術として、製版工程が不要となるインクジェットプリント方法が提案されている。インクジェットプリント方法では、インクジェット記録方式により布帛にインク付与した後発色工程により染料を布帛に固着させるが、発色工程の前に水分を蒸発させるため布帛を乾燥させる必要がある。
インク付与後の布帛の乾燥方法としては、例えば、特許文献1では、90℃以下の温風を速度0.3〜30m/sで吹き付けて乾燥させる点が記載されている。また、特許文献2では、印刷インキの乾燥装置として赤外線加熱装置を用いる点が記載されている。また、特許文献3では、印刷された用紙を除湿手段により除湿する点が記載されており、特許文献4では、基材に形成した水性又は水性化インキ層を低露点熱風乾燥手段により乾燥させる点が記載されている。
特開平9−133464号公報 特開平5−84855号公報 特開平7−47657号公報 特開平2002−52849号公報
特許文献1及び2に記載されているように、インク付与後の布帛を加熱して乾燥させる場合、熱により前処理剤に含まれる助剤等が活性化されてしまい、染料の色安定性が悪化して発色の際の品質が安定しなくなる。また、染料が加熱に伴う水分の蒸発に従って移動しやすくなるが、複数の異なる色のインクを重ねて付与する場合各インクの染料の移動特性が異なるため、布帛表面と布帛裏面に色差が生じ、期待していた色が表出しないという現象が生じることがある。また、乾燥した後に加熱を停止すると、余熱により乾燥が進む箇所と乾燥が進まない箇所が混在しやすくなる。さらに、布帛の素材が耐熱性のない場合には加熱による乾燥方法は使用することができない。
特許文献3及び4に記載されているように、除湿された空気を吹き付けて乾燥させる場合、布帛表面に均等に空気を吹き付けて乾燥させることが難しく、乾燥が進む箇所と乾燥が進まない箇所が混在しやすくなる。また、外気を取り込んで除湿した空気を常時生成する必要があり、ランニングコストが高くなるといった課題がある。
そこで、本発明の目的は、インク付与後の布帛を均一で迅速に乾燥させて、色安定性よく発色品質を安定させることができるインクジェットプリント方法及び装置を提供することである。
本発明に係るインクジェットプリント方法は、水系インクを用いてインクジェット記録方式により布帛に記録し、25〜50℃の温度で20%以下の湿度の雰囲気に維持した布帛幅方向を覆う乾燥空間において空気を循環させて前記布帛を乾燥させることを特徴とする。さらに、前記布帛の表面に沿う方向の単位面積当りの風量が1.5〜150m3/分・m2で空気を循環させることを特徴とする。
本発明に係るインクジェットプリント装置は、水系インクを用いてインクジェット記録方式により布帛に記録するインク付与手段と、前記布帛の搬入口及び搬出口以外は密閉された内部空間を25〜50℃の温度で20%以下の湿度の雰囲気に維持して搬入された前記布帛を乾燥させる乾燥手段と、内部空間において空気を循環させる風量発生手段とを備えていることを特徴とする。さらに、前記風量発生手段は、前記布帛の表面に沿う方向の単位面積当りの風量が1.5〜150m3/分・m2で空気を循環させることを特徴とする。さらに、前記乾燥手段に対して前記布帛の搬送方向の上流側及び/又は下流側に予備乾燥手段を備えていることを特徴とする。さらに、前記搬入口及び前記搬出口には、外気の流入を抑止する空気流を生成する空気流噴射手段を備えていることを特徴とする。
本発明によれば、25〜50℃の温度で20%以下の湿度の雰囲気に維持した布帛幅方向を覆う乾燥空間において空気を循環させてインク付与後の布帛を乾燥させるようにしたので、均一で迅速に乾燥させて色安定性よく発色品質を安定させることができる。
以下、本発明の実施形態に係るインクジェットプリント方法及び装置について、添付した図面を参照して説明する。
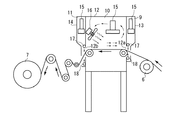
図1は、本実施形態に関する概略構成図である。インクジェットプリント装置は、所定の幅を有する長尺状の布帛Tに柄模様等を記録するインクジェット記録部A、記録された布帛Tを乾燥する乾燥部B、及び、布帛Tを搬送する搬送部を備えている。
搬送部は、布帛Tを供給ローラ8から搬送ローラにより連続して繰出され、導入ローラ2によって一対のベルトローラ4に張架された無端搬送ベルト3上に搬入される。無端搬送ベルト3の表面には粘着テープが固定されており、押さえローラ5により布帛Tが無端搬送ベルト3に押圧される際に粘着テープに貼着されて、布帛Tが無端搬送ベルト3上に固定される。
無端搬送ベルト3上に固定された布帛Tは、無端搬送ベルト3とともに搬送されていく。無端搬送ベルト3により搬送される布帛Tの上面にインクジェット記録ヘッド1により柄模様等の画像が記録されていく。記録された布帛Tは、剥離ローラ6により粘着テープから引き剥がされて無端搬送ベルト3から分離して乾燥部Bに搬入される。
乾燥部Bは、搬送される布帛Tを覆うように設けられており、その内部空間が常温(25℃〜50℃)で低湿度(0%〜20%)の雰囲気に維持された乾燥空間に設定されている。乾燥部B内に導入された布帛Tは、巻取ローラ7に順次巻き取られていく。
巻き取られた布帛Tは、図示せぬ次の発色工程において公知の発色処理が行われ、記録された柄模様が布帛Tに固着される。
図2は、乾燥部Bに関する概略構成図である。予備乾燥区間9、本乾燥区間10及び予備乾燥区間11を備えている。予備乾燥区間とは、本乾燥区間への外気の侵入を抑止するための区間である。
本乾燥区間10は、矩形状の筐体12により密閉された区間で、筐体12は、布帛Tの幅よりも広い幅に設定され、搬送される布帛Tを導入する導入孔12a及び導出する導出孔12bが設けられている。
予備乾燥区間9は、筐体12の導入孔12aが形成された前面側に取り付けられた筐体13により画定された区間で、筐体13の下側が開口して布帛Tの導入孔12aへの導入経路を形成している。予備乾燥区間9を本乾燥区間10の前に設けることで、導入口12aから本乾燥区間10内への外気の侵入を防止することができる。また、布帛Tが導入する際に周囲の空気が一緒に取り込まれるが、予備乾燥区間9内を通過する間に布帛Tの周囲の空気を本乾燥区間内と同様の常温低湿度状態に設定して外気が取り込まれるのを抑止する。
予備乾燥区間11は、筐体12の導出孔12bが形成された後面側に取り付けられた筐体14により画定される区間で、筐体14の下側が開口して布帛Tの導出孔12bからの導出経路を形成している。予備乾燥区間11を本乾燥区間10の後に設けることで、導出口12bから本乾燥区間10内への外気の侵入を抑止することができる。
なお、インクジェットプリント装置の周りの環境が、温度が25℃〜50℃で湿度が0%〜20%の常温で低湿度の雰囲気(乾燥に適している環境)であれば、予備乾燥区間9及び11は、いずれか1つだけ設けるようにしてもよく、またどちらも設けなくてもよい。例えば、本乾燥区間10から布帛が搬出された空間が予め乾燥空間に設定されている場合には、予備乾燥空間11を省略してもよい。
各乾燥区間には、除湿機15がそれぞれ設置されている。除湿機15としては、空気を冷却して除湿するコンプレッサ方式又は乾燥剤で除湿するデシカント方式のものが好適で、これらの方式を複合したハイブリッド方式でもよい。除湿機15により各乾燥区間では温度が25℃〜50℃で湿度が0%〜20%の常温で低湿度の雰囲気の乾燥空間が維持されるようになる。なお、予備乾燥区間では、本乾燥区間の雰囲気に影響を与えないようであれば、除湿機に換えて除湿剤を用いてもよい。
温度が25℃より低くなると乾燥しにくくなり、50℃を超えると熱により前処理剤に含まれる助剤等が活性化されてしまい、染料の色安定性が悪化して発色の際の品質が安定しなくなったり、耐熱性のない布帛に対して悪影響が生じるおそれがあるので、各乾燥区間の温度は25℃〜50℃となるように設定すると品質が安定し効率的に乾燥させることができるので好ましい。また、湿度が20%を超えると、布帛が乾燥しにくくなって搬送しながら効率的に乾燥するのが困難となるので、各乾燥区間の湿度は0%〜20%となるように設定するのが好ましい。
本乾燥区間10には、風量発生器16が設けられている。この例では、風量発生器16を布帛Tの搬送方向下流側に設置して、内部の空気を布帛T表面においてその搬送方向と逆方向に向かって布帛Tの幅方向にほぼ均一に風が当たるように送風して布帛Tを満遍なく乾燥させる。布帛Tの表面に送風された空気は除湿機15に吸気されて除湿された後風量発生器16に向かって排気されて布帛Tの表面に再び送風されるようになり、本乾燥区間10内を循環するようになる。
風量発生器16による送風量は、5〜300m3/分に設定し、布帛の表面に沿う方向の単位面積当りの風量が1.5〜150m3/分・m2で、布帛の表面に直交する方向の単位面積当りの風量が5〜250m3/分・m2となるように空気を循環させるとよい。さらに、前記布帛の表面に直交する方向の単位面積当たりの風量が45〜150m3/分・m2であることが好ましい。
風量発生器16による風量が5m3/分より小さい場合には、内部の空気が十分循環することができず乾燥効率が悪くなる。また、300m3/分を超えると内部を循環する空気流に乱流が発生する要因となって、空気の温度や湿度が場所により不均一になりやすく、また外気が侵入しやすくなるため好ましくない。
また、布帛Tの表面に直交する方向の単位面積当りの風量が5m3/分・m2より小さい場合には乾燥効率が悪くなる。また、250m3/分・m2を超えると、布帛Tの表面に対して風の当り方が不均一になりやすくなり、そのため布帛Tが波打つといった副作用を生じやすくなる。
また、布帛Tの表面に沿う方向の単位面積当りの風量が1.5m3/分・m2より小さい場合には十分な乾燥作用が得られず、150m3/分・m2を超えると布帛Tが送風により波打って同じ布帛でも場所によって乾燥の進み方に差が出やすくなる。
また、空気を循環させるための風がヘッド部に流れてインク吐出動作に影響が出ないようにするため、風向きを布帛の搬送方向にした方がよい。そして、風向きを搬送方向にすると、逆方向にする場合よりも抵抗が少なくなるので、空気の循環をスムーズに行うことができる。
こうした風量で本乾燥区間内に空気を循環させ、布帛Tを搬送しながら本乾燥区間10内を1〜5分程度通過させて乾燥させることで布帛Tをほぼ均一に色安定性よく乾燥させることができる。
なお、風量発生器による布帛表面における風量の測定方法としては、本乾燥区間内の布帛表面近傍(数cm程度)に風速風量計(例えば、株式会社FUSO製・FUSO―9871)を測定方向に向けて設置して風速を測定する。本乾燥区間内の10か所程度をランダムに抽出して風速を測定し、その平均風速を求める。そして、風量は、算出した平均風速の値及び本乾燥区間内の布帛の面積を乗算して求めることができる。
風量発生器16としては、扇風機やファンといったものを用いるとよく、これら以外にも布帛Tの幅方向に対してほぼ均一な風量の風を発生させる装置であれば用いることができる。また、風量発生器をスイングさせたり、複数台設置することで、布帛の幅全体に満遍なく送風するとよい。
筐体12の導入孔12a及び導出孔12bの上下には空気をエアカーテン状に噴出するための噴出管17及び18が取り付けられている。上側に取り付けられている噴出管17は、樹脂製のパイプの下側に幅1〜2mm程度のスリットが長手方向に沿って穿設されており、図示せぬ空気供給機から高圧の空気が供給されてスリットから下方に向かって空気が連続噴出してエアカーテンが形成される。下側に取り付けられている噴出管18も噴出管17と同様に上側に幅1〜2mm程度のスリットが長手方向に沿って穿設されており、図示せぬ空気供給機から高圧の空気が供給されてスリットから上方に向かって空気が連続噴出してエアカーテンが形成される。
噴出される空気は、各乾燥区間内の空気と同様に温度が25℃〜50℃で湿度が0%〜20%の常温で低湿度に調整されており、外部から空気が本乾燥区間10内に侵入するのを防止している。エアカーテンが形成されることで、筐体12はほぼ密閉状態となり、布帛が導入されても外気の流入を抑止することができるようになる。なお、本乾燥区間の密閉空間内における雰囲気が保持できるのであれば、予備乾燥区間又はエアカーテンを省略することもできる。インクジェットプリント装置の周囲の環境が低湿度で常温(乾燥に適している環境)であれば、両方とも省略しても問題ない。
図3は、図2に示す実施形態の変形例に関する概略構成図である。この例では、風量発生器16を本乾燥区間10内の上方で布帛Tの搬送方向の上流側に設置し、本乾燥区間10内の搬送方向下流側に除湿機15を設置している。風量発生器16からの送風は搬送方向に沿って布帛表面を送風した後除湿機15に吸気されて除湿される。そして、除湿された空気は本乾燥区間10内の上方に排気されて風量発生器16に向かって送風され、再び布帛表面に送風されるようになり、本乾燥区間10内をスムーズに空気が循環するとともに布帛の幅方向にほぼ均一の風量で乾燥させることができる。
このように本乾燥区間内の空気全体を滞留させることなくスムーズに循環させることで、布帛Tの搬送方向の表面に沿う方向の風量を幅方向にほぼ均一に十分な量発生させることができる。
以上の例では、本乾燥区間10内で布帛Tを直進させて搬送させているが、上下にジグザグに搬送させることで乾燥時間を増加させることもできる。
本発明に用いられる布帛としては、織物、編物、不織布を問わずあらゆる布帛組織が含まれる。また、布帛の素材としては、綿、麻、羊毛等の天然繊維、レーヨン等の再生繊維、アセテート、トリアセテート等の半合成繊維、ポリエステル、ナイロン、アクリル、ポリプロピレン、ポリエチレン、ポリウレタン等の合成繊維が挙げられ、単独で用いても、2以上を混紡、交織など複合して使用しても構わない。布帛の厚みは、0.5〜2mmが好ましく、目付は100〜300g/m2が好ましい。布帛の密度が高い方が布帛表面と布帛裏面の色差が出やすく、本発明による効果も得られやすい。また、ポリエステルのような疎水性を有する繊維においても、布帛厚み方向に染料が移動しやすいので、本発明による効果を得られやすい。
また、記録に用いるインクとしては、着色料及び添加剤を含有し、水を媒体とする水系インクを用いる。水系インクの粘度が1〜6cps程度であると、布帛の厚み方向に染料が移動しやすくなるが、本発明により乾燥時の染料の移動を抑えることができる。インクに用いる着色料としては、反応染料、酸性染料、直接染料、分散染料等の公知の染料を用いることができ、顔料を用いることもできる。特に、反応染料、直接染料のような加熱により反応を起こしやすい染料は、本発明による効果が大きい。
また、インクには必要に応じて分散剤、消泡剤、浸透剤、濃染剤、pH調整剤等を添加することが可能である。浸透剤のように乾燥しにくい薬剤を含んでいるインクにおいても、本発明の乾燥手段を用いれば、品質に悪影響を及ぼさずに乾燥することができる。複数の異なる色を重ねて中間色を表出させる場合にも各色の染料の移動特性が異なるため、移動しやすい染料により色ぶれを生じやすくなる。例えば、アゾ系染料に比べてキノン系染料が移動しやすいため、色ぶれの原因になる可能性があるが、インク付与後の布帛表面全体をほぼ均一に乾燥させれば、色安定性が高くなり、特に効果的である。
以上のように、布帛にインクにより記録する場合には、布帛の乾燥方法により色安定性が損なわれる可能性があるが、本発明のようにインク付与後の布帛を加熱処理せずに常温低湿度で乾燥させることで色安定性を損なうことがなくなる。
すなわち、加熱により急激にインクを乾燥させると、インクに含まれる水分も急激に移動するためそれに伴って布帛の厚み方向に染料も移動して布帛表面と布帛裏面に色差が生じ、期待していた色が表出しないという現象が生じることがあるが、本発明では常温低湿度の乾燥空間を形成してその内部で全体をほぼ均一に乾燥させるので、乾燥に伴う水分の移動が少なくなって色安定性のよい記録物を得ることができる。
また、乾燥空間内を空気を循環させながら布帛に送風することで布帛表面を広範囲にわたってほぼ均一に緩やかに乾燥させることができ、色安定性が高まるとともに常温低湿度の雰囲気を維持するための消費電力を抑えることが可能となる。そして、乾燥空間をほぼ密閉した空間とすることができるので、インクジェット記録ヘッドのように高湿度の環境が必要な場合においても、乾燥空間内を低湿度に保って乾燥させることができ、ヘッド部のインク吐出方向が送風によって悪影響を受けることがない。
布帛としてポリエステル繊維及びウレタン繊維を用いた長さが20mで1500mm幅の編物を使用し、水系分散インクを用いてインクジェット記録ヘッドにより布帛表面に柄模様を記録率90%でプリントした。乾燥部は、図3に示すように3つの筐体を組み合せて幅2600mm、高さ1100mm、長さ1200mmの大きさに構成した。布帛の導入口及び導出口は、幅2400mm、高さ60mmの細幅の長方形状に設定した。
各乾燥区間に設置した除湿機としてデシカント式除湿機(三菱電機株式会社製)を用い、内部の温度が40℃で湿度が18%の常温低湿度の雰囲気になるように調整し、導入口及び導出口の上下に取り付けた噴出管からも同様の常温低湿度の空気をエアカーテン状に噴出して外部の空気の侵入を防止する。なお、外気の環境は、乾燥処理の期間中、温度25〜30℃、湿度50〜70%であった。
本乾燥区間内には、ハネ径が45cmで4枚ハネの扇風機(株式会社スイデン製)を設置して布帛の表面に対して搬送方向に送風する。扇風機による送風量は、150m3/分で、布帛の表面に直交する方向の単位面積当りの風量が120m3/分・m2となるように設定し、本乾燥区間内の空気を循環させる。また、布帛の表面に沿う方向の風量が90m3/分・m2となるように設定し、同様に本乾燥区間内の空気を循環させる。
乾燥部内の布帛の搬送速度を0.4m/分とし、本乾燥区間内を布帛が3分間で通過するように設定した。
乾燥部でインク付与後の布帛を乾燥させて発色処理したところ、布帛全体にわたり色安定性のよい記録物を得ることができた。
本実施形態に関する概略構成図である。 乾燥部に関する概略構成図である。 図2に示す実施形態の変形例に関する概略構成図である。
符号の説明
A 所定の幅を有する長尺状の布帛Tに柄模様等を記録するインクジェット記録部
B 記録された布帛Tを乾燥する乾燥部
9 予備乾燥区間
10 本乾燥区間
11 予備乾燥区間
12 筐体
13 筐体
14 筐体
15 除湿機
16 風量発生器
17 噴出管
18 噴出管

Claims (6)

  1. 水系インクを用いてインクジェット記録方式により布帛に記録し、25〜50℃の温度で20%以下の湿度の雰囲気に維持した布帛幅方向を覆う乾燥空間において空気を循環させて前記布帛を乾燥させることを特徴とするインクジェットプリント方法。
  2. 前記布帛の表面に沿う方向の単位面積当りの風量が1.5〜150m3/分・m2で空気を循環させることを特徴とする請求項1に記載のインクジェットプリント方法。
  3. 水系インクを用いてインクジェット記録方式により布帛に記録するインク付与手段と、前記布帛の搬入口及び搬出口以外は密閉された内部空間を25〜50℃の温度で20%以下の湿度の雰囲気に維持して搬入された前記布帛を乾燥させる乾燥手段と、内部空間において空気を循環させる風量発生手段とを備えていることを特徴とするインクジェットプリント装置。
  4. 前記風量発生手段は、前記布帛の表面に沿う方向の単位面積当りの風量が1.5〜150m3/分・m2で空気を循環させることを特徴とする請求項3に記載のインクジェットプリント装置。
  5. 前記乾燥手段に対して前記布帛の搬送方向の上流側及び/又は下流側に予備乾燥手段を備えていることを特徴とする請求項3又は4に記載のインクジェットプリント装置。
  6. 前記搬入口及び前記搬出口には、外気の流入を抑止する空気流を生成する空気流噴射手段を備えていることを特徴とする請求項3から5のいずれかに記載のインクジェットプリント装置。
JP2008255507A 2008-09-30 2008-09-30 インクジェットプリント装置 Active JP5340687B2 (ja)

Priority Applications (1)

Application Number Priority Date Filing Date Title
JP2008255507A JP5340687B2 (ja) 2008-09-30 2008-09-30 インクジェットプリント装置

Applications Claiming Priority (1)

Application Number Priority Date Filing Date Title
JP2008255507A JP5340687B2 (ja) 2008-09-30 2008-09-30 インクジェットプリント装置

Publications (2)

Publication Number Publication Date
JP2010083040A true JP2010083040A (ja) 2010-04-15
JP5340687B2 JP5340687B2 (ja) 2013-11-13

Family

ID=42247471

Family Applications (1)

Application Number Title Priority Date Filing Date
JP2008255507A Active JP5340687B2 (ja) 2008-09-30 2008-09-30 インクジェットプリント装置

Country Status (1)

Country Link
JP (1) JP5340687B2 (ja)

Cited By (10)

* Cited by examiner, † Cited by third party
Publication number Priority date Publication date Assignee Title
JP2012086533A (ja) * 2010-10-22 2012-05-10 Ricoh Co Ltd インクジェット式記録装置及び印字方法
JP2012206303A (ja) * 2011-03-29 2012-10-25 Kyocera Document Solutions Inc 乾燥装置及びこれを搭載したインクジェット記録装置
JP2014014981A (ja) * 2012-07-09 2014-01-30 Seiko Epson Corp 印刷装置、及び、印刷方法
CN103660570A (zh) * 2013-11-29 2014-03-26 彭德贤 一种服装喷墨机
CN105667099A (zh) * 2014-12-04 2016-06-15 精工爱普生株式会社 介质干燥装置、介质干燥方法、记录装置及蒸气去除装置
JP2016168738A (ja) * 2015-03-12 2016-09-23 セイコーエプソン株式会社 液体吐出装置
CN106864064A (zh) * 2017-03-06 2017-06-20 无锡赛丽特科技有限公司 布料环保防水印花工艺
JP2017179655A (ja) * 2016-03-30 2017-10-05 セーレン株式会社 インクジェット記録装置
CN108349267A (zh) * 2015-09-07 2018-07-31 Mas创新私人有限公司 用于衣物直接打印的设备
EP3360930A1 (en) 2014-07-04 2018-08-15 FUJIFILM Corporation Novel compound, coloring composition for dyeing or textile, ink jet ink, method of printing on fabric, and dyed or printed fabric

Citations (3)

* Cited by examiner, † Cited by third party
Publication number Priority date Publication date Assignee Title
JP2002337331A (ja) * 2001-05-21 2002-11-27 Isetoo:Kk インクジェットプリンタにおける乾燥装置
JP2002361850A (ja) * 2001-06-06 2002-12-18 Isetoo:Kk インクジェットプリンタにおける循環式乾燥装置
JP2008174866A (ja) * 2007-01-18 2008-07-31 Seiren Co Ltd インクジェット捺染方法

Patent Citations (3)

* Cited by examiner, † Cited by third party
Publication number Priority date Publication date Assignee Title
JP2002337331A (ja) * 2001-05-21 2002-11-27 Isetoo:Kk インクジェットプリンタにおける乾燥装置
JP2002361850A (ja) * 2001-06-06 2002-12-18 Isetoo:Kk インクジェットプリンタにおける循環式乾燥装置
JP2008174866A (ja) * 2007-01-18 2008-07-31 Seiren Co Ltd インクジェット捺染方法

Cited By (16)

* Cited by examiner, † Cited by third party
Publication number Priority date Publication date Assignee Title
JP2012086533A (ja) * 2010-10-22 2012-05-10 Ricoh Co Ltd インクジェット式記録装置及び印字方法
US8733879B2 (en) 2010-10-22 2014-05-27 Ricoh Company, Ltd. Inkjet recording apparatus and printing method
JP2012206303A (ja) * 2011-03-29 2012-10-25 Kyocera Document Solutions Inc 乾燥装置及びこれを搭載したインクジェット記録装置
US9010920B2 (en) 2011-03-29 2015-04-21 Kyocera Document Solutions Inc. Drying device and ink jet recording apparatus equipped with the same
JP2014014981A (ja) * 2012-07-09 2014-01-30 Seiko Epson Corp 印刷装置、及び、印刷方法
CN103660570A (zh) * 2013-11-29 2014-03-26 彭德贤 一种服装喷墨机
EP3360930A1 (en) 2014-07-04 2018-08-15 FUJIFILM Corporation Novel compound, coloring composition for dyeing or textile, ink jet ink, method of printing on fabric, and dyed or printed fabric
JP2016107469A (ja) * 2014-12-04 2016-06-20 セイコーエプソン株式会社 媒体乾燥装置、媒体乾燥方法、記録装置及び蒸気除去装置
CN105667099A (zh) * 2014-12-04 2016-06-15 精工爱普生株式会社 介质干燥装置、介质干燥方法、记录装置及蒸气去除装置
CN105667099B (zh) * 2014-12-04 2020-05-12 精工爱普生株式会社 介质干燥装置、介质干燥方法、记录装置及蒸气去除装置
JP2016168738A (ja) * 2015-03-12 2016-09-23 セイコーエプソン株式会社 液体吐出装置
CN108349267A (zh) * 2015-09-07 2018-07-31 Mas创新私人有限公司 用于衣物直接打印的设备
JP2018526252A (ja) * 2015-09-07 2018-09-13 マス・イノベイション・(プライベイト)・リミテッドMAS Innovation (Private) Limited 衣類への直接プリント装置
US11059306B2 (en) 2015-09-07 2021-07-13 Mas Innovation (Private) Limited Device for direct to garment printing
JP2017179655A (ja) * 2016-03-30 2017-10-05 セーレン株式会社 インクジェット記録装置
CN106864064A (zh) * 2017-03-06 2017-06-20 无锡赛丽特科技有限公司 布料环保防水印花工艺

Also Published As

Publication number Publication date
JP5340687B2 (ja) 2013-11-13

Similar Documents

Publication Publication Date Title
JP5340687B2 (ja) インクジェットプリント装置
CN109334254B (zh) 双面印花方法及双面印花机
CN102729658A (zh) 干燥装置以及安装有该干燥装置的喷墨记录装置
CN105538907B (zh) 印刷装置
JP5410875B2 (ja) インクジェット記録装置およびインクジェット記録方法
KR101971497B1 (ko) 디지털 잉크젯 프린팅 방식을 이용한 날염 장치 및 이를 이용한 날염 방법
CN104120571B (zh) 一种织物阻燃涂层涂布工艺
JP6981048B2 (ja) 壁紙製造装置
CN207496233U (zh) 一种印刷机的干燥装置
US8714683B2 (en) Image recording apparatus and image recording method including a humidifying unit
JPH09133464A (ja) インクジェット染色布帛の製造方法およびインクジェット染色布帛の乾燥装置
JP5770299B2 (ja) インクジェット記録装置
CN101016699A (zh) 冷转移印花固色中的薄膜应用技术
CN213891855U (zh) 一种喷墨印花打印装置
CN117360079B (zh) 喷印设备
JP2001063161A (ja) インクジェット印刷方法および装置
CN216261614U (zh) 一种不干胶彩色标签纸油墨均匀喷涂装置
CN102747568B (zh) 一种侧风式织物连续轧染用烘室
KR102762142B1 (ko) 천 장식용 잉크젯 프린터
CN211695755U (zh) 导辊式热烘机
JP6950739B2 (ja) インクジェット記録装置
CN207828593U (zh) 一种布匹高效涂层印染设备
BRPI0708193A2 (pt) sistema de secagem para máquina de formação de imagem
CN206327000U (zh) 一种装饰膜印花烘干装置
CN220262407U (zh) 墙布表面印刷处理装置

Legal Events

Date Code Title Description
A621 Written request for application examination

Free format text: JAPANESE INTERMEDIATE CODE: A621

Effective date: 20110921

A131 Notification of reasons for refusal

Free format text: JAPANESE INTERMEDIATE CODE: A131

Effective date: 20130430

A521 Request for written amendment filed

Free format text: JAPANESE INTERMEDIATE CODE: A523

Effective date: 20130624

TRDD Decision of grant or rejection written
A01 Written decision to grant a patent or to grant a registration (utility model)

Free format text: JAPANESE INTERMEDIATE CODE: A01

Effective date: 20130709

A61 First payment of annual fees (during grant procedure)

Free format text: JAPANESE INTERMEDIATE CODE: A61

Effective date: 20130807

R150 Certificate of patent or registration of utility model

Ref document number: 5340687

Country of ref document: JP

Free format text: JAPANESE INTERMEDIATE CODE: R150

Free format text: JAPANESE INTERMEDIATE CODE: R150

R250 Receipt of annual fees

Free format text: JAPANESE INTERMEDIATE CODE: R250

R250 Receipt of annual fees

Free format text: JAPANESE INTERMEDIATE CODE: R250

R250 Receipt of annual fees

Free format text: JAPANESE INTERMEDIATE CODE: R250

R250 Receipt of annual fees

Free format text: JAPANESE INTERMEDIATE CODE: R250