JP2010082972A - 化粧材 - Google Patents
化粧材 Download PDFInfo
- Publication number
- JP2010082972A JP2010082972A JP2008254375A JP2008254375A JP2010082972A JP 2010082972 A JP2010082972 A JP 2010082972A JP 2008254375 A JP2008254375 A JP 2008254375A JP 2008254375 A JP2008254375 A JP 2008254375A JP 2010082972 A JP2010082972 A JP 2010082972A
- Authority
- JP
- Japan
- Prior art keywords
- layer
- resin
- acrylate
- meth
- protective layer
- Prior art date
- Legal status (The legal status is an assumption and is not a legal conclusion. Google has not performed a legal analysis and makes no representation as to the accuracy of the status listed.)
- Granted
Links
Images
Landscapes
- Laminated Bodies (AREA)
Abstract
【解決手段】木質系基材8の一方の面に、凹陥模様6を形成した面全面に表面保護層5を設けたプロピレン系シート層2を前記表面保護層が表出するように積層してなることを特徴とする化粧材であり、前記化粧シート1のヘイズ値が45%以上95%以下であることを特徴とする化粧材。
【選択図】図1
Description
前記化粧シートのヘイズ度が45%以上90%以下であることを特徴とするものである。
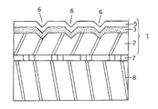
図1は本発明にかかる化粧材の第1実施形態を図解的に示す層構成図、図2は本発明にかかる化粧材の第2実施形態を図解的に示す層構成図であり、図中の1,11は化粧シート、2はプロピレン系シート層、3はプライマー層、4はパターン状低艶印刷層、5は表面保護層、6は凹陥模様、7は接着剤層、8は木質系基材をそれぞれ示す。
45%より小さいヘイズ値の場合には、透明性が高すぎるため、光沢感はあるものの、「プラスチック感」が強く、本物の木質感を実現するには乏しい。また、90%より大きいヘイズ値の場合には、木質系基材の導管模様等が視認できない為に、本物の木質感を実現することができない。
線吸収剤等の周知の添加剤を添加することが好ましい。
透明熱可塑性樹脂としては、ポリオレフィン系樹脂(ポリエチレン、ポリプロピレン)、ポリエステル系樹脂、ポリ塩化ビニル樹脂、セロファン、などが適用可能であり、透明酸化膜及び/または透明無機薄膜としては、酸化ケイ素、酸化アルミニウム、酸化マグネシウム、酸化ジルコニウム等の無機物薄膜層を真空蒸着法又はスパッタリング法等により形成することができる。これによって、裏面からの水分の浸入を防止することができることから、ひび割れや変色、剥離等の発生を防止することができる。
・耐汚染性:
JAS合板汚染A試験に準じ、具体的には化粧材を切断して10cm角としたものを試験片とし、これを水平に置いた後、試験片の表面保護層面に一般市販品事務用青色インキ、黒色インキ(JIS S 6037マーキングペンに定めるもの)、および、赤色クレヨン(JIS S 6026に定めるもの)でそれぞれ幅10mmで10cm長さの直線を描き、4時間放置した後、エタノールを含浸した布で拭き、10cm長さの直線が拭き取れたものを良好として○印で示し、拭き取れないものを不良として×印で示して評価した。
・耐摩耗性:
29.4kPa(300g/cm2)の荷重となるように調整した重りに、スチールウール(#0000)を取り付けて、化粧材の表面を20回擦り、表面変化を下記の評価基準で目視評価した。
(評価基準)−表面変化が全く認められないものを優良として○印で示し、表面変化が明らかに認められるものを不良として×印で示して評価した。
・ヘイズ値の測定:
化粧シートの表面を(株)東洋精機製作所 製 にて測定した。
2 プロピレン系シート層
3 プライマー層
4 パターン状低艶印刷層
5 表面保護層
6 凹陥模様
7 接着剤層
8 木質系基材
Claims (4)
- 木質系基材の表面に、凹陥模様を形成した面全面に表面保護層を設けたプロピレン系シート層からなる化粧シートを貼着してなる化粧材において、
前記化粧シートのヘイズ値が45%以上90%以下であることを特徴とする化粧材。 - 前記プロピレン系シート層と前記表面保護層の間にパターン状低艶印刷層を設けてなることを特徴とする請求項1記載の化粧材。
- 前記表面保護層が硬化型樹脂からなることを特徴とする請求項1、2のいずれかに記載の化粧材。
- 前記硬化型樹脂が電離放射線硬化型樹脂であることを特徴とする請求項3記載の化粧材。
Priority Applications (1)
| Application Number | Priority Date | Filing Date | Title |
|---|---|---|---|
| JP2008254375A JP5407253B2 (ja) | 2008-09-30 | 2008-09-30 | 化粧材及びその製造方法 |
Applications Claiming Priority (1)
| Application Number | Priority Date | Filing Date | Title |
|---|---|---|---|
| JP2008254375A JP5407253B2 (ja) | 2008-09-30 | 2008-09-30 | 化粧材及びその製造方法 |
Publications (2)
| Publication Number | Publication Date |
|---|---|
| JP2010082972A true JP2010082972A (ja) | 2010-04-15 |
| JP5407253B2 JP5407253B2 (ja) | 2014-02-05 |
Family
ID=42247414
Family Applications (1)
| Application Number | Title | Priority Date | Filing Date |
|---|---|---|---|
| JP2008254375A Active JP5407253B2 (ja) | 2008-09-30 | 2008-09-30 | 化粧材及びその製造方法 |
Country Status (1)
| Country | Link |
|---|---|
| JP (1) | JP5407253B2 (ja) |
Cited By (2)
| Publication number | Priority date | Publication date | Assignee | Title |
|---|---|---|---|---|
| KR20160138146A (ko) | 2014-03-26 | 2016-12-02 | 다이니폰 인사츠 가부시키가이샤 | 화장 시트 및 그것을 사용한 화장판 |
| JP2018089788A (ja) * | 2016-11-30 | 2018-06-14 | 株式会社リックプランニング | 自己粘着層付天然木化粧板又は化粧テープ、及びその製造方法 |
Citations (1)
| Publication number | Priority date | Publication date | Assignee | Title |
|---|---|---|---|---|
| WO2008078687A1 (ja) * | 2006-12-22 | 2008-07-03 | Dai Nippon Printing Co., Ltd. | 化粧シートおよびそれを用いた化粧板 |
-
2008
- 2008-09-30 JP JP2008254375A patent/JP5407253B2/ja active Active
Patent Citations (1)
| Publication number | Priority date | Publication date | Assignee | Title |
|---|---|---|---|---|
| WO2008078687A1 (ja) * | 2006-12-22 | 2008-07-03 | Dai Nippon Printing Co., Ltd. | 化粧シートおよびそれを用いた化粧板 |
Cited By (3)
| Publication number | Priority date | Publication date | Assignee | Title |
|---|---|---|---|---|
| KR20160138146A (ko) | 2014-03-26 | 2016-12-02 | 다이니폰 인사츠 가부시키가이샤 | 화장 시트 및 그것을 사용한 화장판 |
| EP3124240A4 (en) * | 2014-03-26 | 2017-10-25 | Dai Nippon Printing Co., Ltd. | Decorative sheet and decorative plate using same |
| JP2018089788A (ja) * | 2016-11-30 | 2018-06-14 | 株式会社リックプランニング | 自己粘着層付天然木化粧板又は化粧テープ、及びその製造方法 |
Also Published As
| Publication number | Publication date |
|---|---|
| JP5407253B2 (ja) | 2014-02-05 |
Similar Documents
| Publication | Publication Date | Title |
|---|---|---|
| JP6520128B2 (ja) | 化粧シート及び化粧板 | |
| JP6540029B2 (ja) | 化粧シート及びそれを用いた化粧板 | |
| JP6561614B2 (ja) | 化粧シート及び化粧板 | |
| JP5360251B2 (ja) | 水性塗料 | |
| JP5700100B2 (ja) | 床材用化粧シート及び床用化粧材 | |
| JP5145645B2 (ja) | 化粧シートおよびそれを用いた化粧板 | |
| JP5170938B2 (ja) | 床材、及び床材表面を保護する方法 | |
| JP6520129B2 (ja) | 化粧シート及びその製造方法、並びに、化粧板及びその製造方法 | |
| JP6307792B2 (ja) | 化粧シート及びその製造方法 | |
| KR101456731B1 (ko) | 화장 시트 및 그것을 사용한 화장판 | |
| CN101563223B (zh) | 装饰片及使用该装饰片的装饰板 | |
| JP5407253B2 (ja) | 化粧材及びその製造方法 | |
| CN101516618B (zh) | 防湿片和将其贴合在木质类基材上而得到的装饰板 | |
| JP2009074255A (ja) | 床材 | |
| JP4583059B2 (ja) | 床材用化粧シート | |
| JP4848934B2 (ja) | 化粧シートおよびそれを用いた化粧板 | |
| JP2008036892A (ja) | 化粧シートおよびそれを用いた化粧板 | |
| JP2009084338A (ja) | 水性塗料 | |
| JP5141842B2 (ja) | 化粧シートおよびそれを用いた化粧板 | |
| JP4876592B2 (ja) | 化粧シートおよびそれを用いた化粧板 | |
| JP5288218B2 (ja) | 化粧材 | |
| JP2008082119A (ja) | 床材 | |
| JP5256601B2 (ja) | 化粧シートおよびそれを用いた化粧板 | |
| JP2008018579A (ja) | 化粧シートおよびそれを用いた化粧板 | |
| JP4968439B2 (ja) | 化粧シートおよびそれを用いた化粧板 |
Legal Events
| Date | Code | Title | Description |
|---|---|---|---|
| A621 | Written request for application examination |
Free format text: JAPANESE INTERMEDIATE CODE: A621 Effective date: 20110819 |
|
| A977 | Report on retrieval |
Free format text: JAPANESE INTERMEDIATE CODE: A971007 Effective date: 20120704 |
|
| A131 | Notification of reasons for refusal |
Free format text: JAPANESE INTERMEDIATE CODE: A131 Effective date: 20130611 |
|
| A521 | Written amendment |
Free format text: JAPANESE INTERMEDIATE CODE: A523 Effective date: 20130805 |
|
| RD01 | Notification of change of attorney |
Free format text: JAPANESE INTERMEDIATE CODE: A7421 Effective date: 20130826 |
|
| TRDD | Decision of grant or rejection written | ||
| A01 | Written decision to grant a patent or to grant a registration (utility model) |
Free format text: JAPANESE INTERMEDIATE CODE: A01 Effective date: 20131008 |
|
| A61 | First payment of annual fees (during grant procedure) |
Free format text: JAPANESE INTERMEDIATE CODE: A61 Effective date: 20131021 |
|
| R150 | Certificate of patent or registration of utility model |
Ref document number: 5407253 Country of ref document: JP Free format text: JAPANESE INTERMEDIATE CODE: R150 |
