JP2010082961A - トグル式射出成形機の型開き量調整装置 - Google Patents

トグル式射出成形機の型開き量調整装置 Download PDF

Info

Publication number
JP2010082961A
JP2010082961A JP2008254118A JP2008254118A JP2010082961A JP 2010082961 A JP2010082961 A JP 2010082961A JP 2008254118 A JP2008254118 A JP 2008254118A JP 2008254118 A JP2008254118 A JP 2008254118A JP 2010082961 A JP2010082961 A JP 2010082961A
Authority
JP
Japan
Prior art keywords
mold
thickness
platen
mold opening
opening amount
Prior art date
Legal status (The legal status is an assumption and is not a legal conclusion. Google has not performed a legal analysis and makes no representation as to the accuracy of the status listed.)
Granted
Application number
JP2008254118A
Other languages
English (en)
Other versions
JP5226448B2 (ja
Inventor
Hiroshi Watanabe
広 渡邊
Masaya Tajika
雅也 田近
Current Assignee (The listed assignees may be inaccurate. Google has not performed a legal analysis and makes no representation or warranty as to the accuracy of the list.)
Fanuc Corp
Original Assignee
Fanuc Corp
Priority date (The priority date is an assumption and is not a legal conclusion. Google has not performed a legal analysis and makes no representation as to the accuracy of the date listed.)
Filing date
Publication date
Application filed by Fanuc Corp filed Critical Fanuc Corp
Priority to JP2008254118A priority Critical patent/JP5226448B2/ja
Publication of JP2010082961A publication Critical patent/JP2010082961A/ja
Application granted granted Critical
Publication of JP5226448B2 publication Critical patent/JP5226448B2/ja
Expired - Fee Related legal-status Critical Current
Anticipated expiration legal-status Critical

Links

Images

Landscapes

  • Moulds For Moulding Plastics Or The Like (AREA)
  • Injection Moulding Of Plastics Or The Like (AREA)

Abstract

【課題】トグル式射出成形機の型開き量を調整可能なトグル式射出成形機の型開き量調整装置を提供することである。
【解決手段】リアプラテン後退指令オンである場合(SA1)、プラテン開き量xはバネが伸びきった状態のバネ入り3枚金型の幅D1以上であるか否か判断し(SA7)、xがD1より小さいと判断された場合、可動プラテン前後進モータを駆動し、可動プラテンをx=D1の位置まで後退させバネからの弾性力による反力を受けない状態とし(SA8)、その後で、リアプラテンを後退動作させる。リアプラテンの後退指令はオンか否か判断し、オンである場合にはステップSA9へ戻りリアプラテンの後退動作を継続し、オンでない場合にはリアプラテン後退の処理を終了する(SA10)。
【選択図】図10

Description

本発明は、トグル式射出成形機の型開き量調整装置に関し、特に、バネなどの弾性体によって金型間に隙間が生じる形式の金型を搭載したトグル式射出成形機の型開き量調整装置に関する。
トグル式射出成形機は搭載される金型の厚み、および設定する型締力に応じてリアプラテンの位置を調整する型厚調整を行う必要がある。
トグル式射出成形機での型厚調整は以下の工程でなされる。
1)設定した型締力を発生させることができるリアプラテン位置よりも十分にリアプラテンを前進させた状態で、可動プラテンに可動側金型、固定プラテンに固定側金型を取り付ける。
2)低い力でトグル機構を伸ばして可動プラテンの可動側金型を固定プラテンの固定側金型にタッチさせ、そのときのトグル機構の状態を記憶する。
3)2)で記憶したトグル機構の状態から、設定した型締力を発生することができるトグル機構の状態になるまでのリアプラテンの後退量を計算し、リアプラテンを後退させる。
4)通常の力でトグル機構を伸ばしきり型締力を発生させる。
リアプラテンにはタイバーナットが取り付けられており、リアプラテン前後進用モータによってタイバーナットが回転されることで、リアプラテンが前後進する。タイバーナットとタイバーの間には通常、ネジ山の断面が台形になった台形ネジが用いられることが多く、リアプラテンに前進あるいは後退方向の力が加わると台形ねじの摩擦力が大きくなり、タイバーナットが回転できない状態になる。
例えば、強力なバネが内蔵された金型が射出成形機に搭載され、バネが縮んでいる状態でリアプラテンを前後進する場合、バネの反力がリアプラテンに加わり台形ネジの摩擦力が大きくなっているために、リアプラテン前後進モータの駆動力が摩擦力に負けて過電流となり回転できないことがある。
このような場合は、リアプラテンを前後進する前にトグル機構を伸縮するためのモータ(可動プラテン前後進用モータ)で、一旦バネの影響のない位置まで金型を開いて、その後リアプラテンを前後進させる。トグル機構には通常、ボールネジ機構が用いられ、また力の増幅率の関係でバネによる反力の影響を受けにくいので、バネが縮んでいる状態でも比較的容易に前後進ができる。
特許文献1には、バネ入り金型の型締力調整方法が開示されている。この方法では、リアプラテンを駆動する前には一旦金型を開き、型厚調整モータを回転させ、回転終了でリアプラテンを移動させることが開示されている。
特開2001−239562号公報
強力なバネが内蔵された金型を搭載した射出成形機の型締装置において、どの程度金型を一旦開くか厳密には設定されていない場合、必要以上に金型を開き過ぎてしまい、型締力調整にかかる時間が長くなる。また、連結部材で連結されている3枚金型の場合には、金型を開き過ぎると連結部材を引っ張り過ぎてしまい金型を破損する危険がある。金型の開き量が少なすぎると、金型に内蔵されたバネの反力がリアプラテンに加わりタイバーナットが回転できなくなる。
そこで本発明の目的は、トグル式射出成形機の型開き量を調整可能なトグル式射出成形機の型開き量調整装置を提供することである。
本願の請求項1に係る発明は、バネなどの弾性体によって金型間が開かれる金型を搭載したトグル式射出成形機において、金型内の弾性体の弾性力による影響を受けずにリアプラテンの前後進移動ができる位置まで金型を開いたときの金型の型開閉方向の厚みを記憶する金型厚記憶手段と、可動プラテンと固定プラテン間の型開き量を求める型開き量取得手段と、前記型開き量取得手段により取得された型開き量と前記金型厚記憶手段に記憶された金型の型開閉方向の厚みとを比較する比較手段と、前記比較手段から前記型開き量が前記金型の型開閉方向の厚みより小さいことを表す信号が出力された場合にはリアプラテンの移動を禁止する移動禁止手段と、を備えたことを特徴とするトグル式射出成形機の型開き量調整装置である。
請求項2に係る発明は、バネなどの弾性体によって金型間が開かれる金型を搭載したトグル式射出成形機において、金型内の弾性体の弾性力による影響を受けずにリアプラテンの前後進移動ができる位置まで金型を開いたときの金型の型開閉方向の厚みを記憶する金型厚記憶手段と、可動プラテンと固定プラテン間の型開き量を求める型開き量取得手段と、前記型開き量取得手段により取得された型開き量と前記金型厚記憶手段に記憶された金型の型開閉方向の厚みとを比較する比較手段と、前記比較手段から前記型開き量が前記金型の型開閉方向の厚みより小さいことを表す信号が出力された場合にはリアプラテンを移動する前に前記型開き量が前記金型の型開閉方向の厚みと等しくなる位置まで可動プラテンを後退する手段と、を備えたことを特徴とするトグル式射出成形機の型開き量調整装置である。
請求項3に係る発明は、前記金型の型開閉方向の厚みは、リアプラテンあるいは可動プラテンが前記弾性体を完全に縮めたときの金型全体の型開閉方向の厚みと、前記弾性体が完全に縮んだ状態から金型内の弾性体の弾性力による影響を受けずにリアプラテンの前後進移動ができる位置まで金型を開いたときの開き量の和によって求める手段を備えた請求項1または2のいずれか一つに記載のトグル式射出成形機の型開き量調整装置である。
請求項4に係る発明は、前記金型の型開閉方向の厚みは、金型内の弾性体の弾性力による影響を受けずにリアプラテンの前後進移動ができる位置まで金型を開いたときの金型全体の型開閉方向の厚みとすることを特徴とする請求項1または2のいずれか一つに記載のトグル式射出成形機の型開き量調整装置である。
請求項5に係る発明は、バネなどの弾性体によって金型間が開かれる金型を搭載した型締力調整機能を有するトグル式射出成形機において、金型内の弾性体の弾性力による影響を受けずにリアプラテンの前後進移動ができる位置まで金型を開いたときの金型の型開閉方向の厚みを記憶する金型厚記憶手段と、可動プラテンと固定プラテン間の型開き量を求める型開き量取得手段と、前記型開き量取得手段により取得された型開き量と前記金型厚記憶手段に記憶された金型の型開閉方向の厚みとを比較する比較手段と、前記比較手段から前記型開き量が前記金型の型開閉方向の厚みより小さいことを表す信号が出力された場合には、型締力を調整するために前記リアプラテンを移動する前に前記型開き量が前記金型の型開閉方向の厚みと等しくなる位置まで可動プラテンを後退する手段と、を備えを備えたことを特徴とする型締力調整機能を有するトグル式射出成形機である。
本発明により、あらかじめ設定された型開き量でトグル式射出成形機の型開き量を調整可能なトグル式射出成形機を提供できる。
以下、本発明の一実施形態を図面と共に説明する。
図1は、本発明の一実施形態の説明図である。図1において、符号1はトグル式型締装置であり、符号2はこのトグル式型締装置1を備えた射出成形機の制御装置である。固定プラテン10とリアプラテン11とは複数のタイバー15で連結されている。そして、可動プラテン12が、固定プラテン10とリアプラテン11との間にタイバー15にガイドされるように配置されている。
固定プラテン10には固定側金型13aが取り付けられ、可動プラテン12には可動側金型13bが取り付けられるようになっている。また、リアプラテン11と可動プラテン12との間には、トグル機構14が配置されている。
リアプラテン11には、トグル機構14を駆動する可動プラテン前後進モータ18、および、ボールねじ19が取り付けられている。可動プラテン前後進モータ18は型締用のサーボモータである。ボールねじ19は、リアプラテン11に回転自在で軸方向移動不能に取り付けられ、その後端(リアプラテン11の可動プラテン12と反対側)に従動プーリ21を備えている。可動プラテン前後進モータ18の出力軸には駆動プーリ22が取り付けられている。駆動プーリ22と従動プーリ21との間にタイミングベルト23が掛けられており、ボールねじ19は可動プラテン前後進モータ18で回転駆動されるようになっている。
ボールねじ19の先端部には、トグル機構14のクロスヘッド20に固定されたナットが螺合している。ボールねじ19の回転によってナット、クロスヘッド20が図中左右に移動しトグル機構14を伸縮させ、可動プラテン12をタイバー15に沿って前後進(図中左右方向)させて、型閉じ、型締め、型開き動作をさせるものである。なお、符号24は可動プラテン前後進モータの位置を検出する位置検出器である。
リアプラテン11の後端面側(リアプラテン11の可動プラテン12と反対側)には、タイバー15に設けられたねじと螺合するタイバーナットと歯車で構成された回転部材16が回転自在で軸方向移動不能にリアプラテン11に取り付けられている。さらに、リアプラテン11にはリアプラテン前後進モータ17が取り付けられている。リアプラテン前後進モータ17は、リアプラテン位置検出器25により回転位置が検出される。リアプラテン前後進モータ17の出力軸に設けられた歯車と各タイバー15に設けられた回転部材16の歯車は、図示省略した歯車電動機構により連結されている。
リアプラテン前後進モータ17は、型厚調整用モータである。リアプラテン前後進モータ17を駆動し回転部材16を回転させて、タイバー15に沿ってリアプラテン11を前進、または、後退させることにより、金型の厚さに応じて設定型締力が得られるように調整する。
制御装置2は、射出成形機を制御するプロセッサ30とシステムプログラムを記憶するROM37、データの一時記憶や各種制御プログラムを記憶するRAM38、サーボインタフェース33、入出力回路35、表示器/入力手段32のインタフェース31がバス39で接続されている。サーボインタフェース33にはサーボアンプ34を介してトグル式型締装置1を駆動する可動プラテン前後進モータ18が接続されている。なお、射出成形機の各種サーボモータも制御装置2に接続されるが、本発明と直接には関係しないことから、図1では記載を省略している。
また、入出力回路35には、リアプラテン前後進モータ17を駆動するインバータが接続されている。インタフェース31に接続された表示器/入力手段32は、例えば、液晶表示装置とキーボードなどで構成される。
トグル式型締装置1にあっては、タイバー15が伸びることによりその反力で型締力を発生させるものであり、このタイバー15の伸びと発生型締力は比例関係にある。また、タイバー15の伸びは、可動側金型13bが固定側金型13aに接触して閉鎖してから可動プラテン前後進モータ18が最前進位置まで移動して、トグル機構14が完全に伸びきる位置までの可動プラテンの移動量(可動側金型の移動量)に等しい。よって、金型タッチ位置から設定型締力に対応するタイバー15の伸び量分だけ可動プラテン12を前進(固定プラテン10側への移動)させれば、設定型締力が得られる。トグル機構14のクロスヘッド20の位置と可動プラテン12の位置の関係は、トグルリンクの寸法などにより数式で求めることができる。または、近似式で求める方法、クロスヘッド20の位置と可動プラテン12の位置の関係をグラフ化して記憶しておく方法など、各種方法がある。
以上の構成により、制御装置2のプロセッサ30は、リアプラテン前後進モータ17を駆動し、リアプラテン11等の型厚調整機構を前後進させて型締力を調整する。
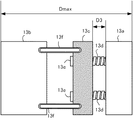
次に、上述したトグル式型締装置1に取り付けるバネ入り金型13を説明する。図2は、バネ入り金型の一例であるバネ入り3枚金型13の構造を説明する図である。バネ入り3枚金型13は、固定側金型13a、可動側金型13b、中間金型13cを有する。固定側金型13aは固定プラテン10に取り付けられ、可動側金型13bは可動プラテン12に取り付けられる。中間金型13cと固定側金型13aは、バネ13dがはめ込まれた所定長さを有するボルト13eを用いて連結される。連結部材13fは可動側金型13bと中間金型13cとを連結する部材である。なお、連結部材13fを有しないバネ入り3枚金型もある。
図2は、バネ入り3枚金型13が完全に開いた状態である。符号D3はバネ13dにより中間金型13cと固定側金型13aとが最大限に開かれた開き量を表す。完全に開ききった状態のバネ入り3枚金型13の幅をDmaxで表す。これ以上にバネ入り3枚金型13が開かれると連結部材13fに引張力が働き、バネ入り3枚金型13を壊す場合がある。
ここで、図3を用いて、図2に示されるバネ入り3枚金型13のバネ13dの部分の構造を説明する。中間金型13cにはボルト13eを挿通する貫通孔が金型の面の複数箇所に垂直に設けられている。中間金型13cは、ボルト13eの軸方向に移動可能となるように孔の内径とボルト13eの外径とが遊びをもつように構成されている。前述したように、符号D3はバネ13dで開かれる中間金型13cと固定側金型13aの最大開き量を表す。最大開き量D3はボルト13eで規定される長さである。符号D4はバネ13dが金型内で最大限に伸びきった時の長さを表す。上述した一実施形態の射出成形機にバネ入り3枚金型13を搭載する際には、最大開き量D3を射出成形機の制御装置2で設定する。なお、中間金型13cと固定側金型13aとの間に介在される弾性体としてバネを例示したが、弾性体はバネに限定されず、例えば、ゴムなどの弾性部材を用いる場合もある。
図4は、バネ13dが伸びきった状態のバネ入り3枚金型13を示している。このときのバネ入り3枚金型13の厚みをD1で表す。中間金型13cと固定側金型13aとの開き量は図2の場合と同様にD3である。図4に示されるバネ入り3枚金型13の状態は、トグル機構14あるいはリアプラテン11を移動させることにより、可動側金型13bが中間金型13cに接触させられた状態である。この状態では、バネ13dによる弾性力の反力が中間金型13cに作用しているが、可動プラテン12にはバネ13dの弾性力による反力は作用しない状態である。
図5はトグル機構14によって可動側金型13bが押され、完全にバネ入り3枚金型13が完全に閉じた状態である。この状態では、可動側金型13bは中間金型13cを介してバネ13dの弾性力による反発力を受ける。なお、この時のバネ入り3枚金型13の幅をD2で表す。
次に、図2、図4、および図5に示されるバネ入り3枚金型13をトグル式型締装置1に搭載する際の、リアプラテン後退量z、可動プラテン後退量y、プラテン開き量xの求め方を図6を用いて説明する。
リアプラテン11のリアプラテン後退量zは、固定プラテン10の固定側金型設置面を基準面とし、リアプラテン前後進モータ17に取り付けられた位置検出器25から得られる位置情報を用いて計算で算出できる。可動プラテン12の可動プラテン後退量yは、トグル機構14のトグルリンクが完全に伸びきった位置からの後退量として、可動プラテン前後進モータの位置を検出する位置検出器24からの位置情報を用いて幾何学的算術式により計算で算出できる。そして、可動プラテン12と固定プラテン10との対向する面間の距離であるプラテン開き量xは、可動プラテン後退量yとリアプラテン後退量zとの和として求めることができる。なお、プラテン開き量xや可動プラテン後退量yは、トグル式型締装置1に光電センサやリニアスケールなどの測定手段を備えることにより、それらを直接測定して制御装置2に入力する構成としてもよい。
次に、型開き調整装置を搭載した射出成形機の自動型締力調整について説明する。
(1)トグル機構14はあらかじめ曲げておき可動プラテン12を後退させておく。そして、リアプラテン11を、設定した型締力を発生することができる位置よりも十分に前進させた位置まで前進させる。
(2)可動プラテン12に可動側金型13bを取り付け、固定プラテン10に中間金型13cを有する固定側金型13aを取り付ける。
(3)可動プラテン12がバネ13dの弾性力による反力に抗してバネ入り3枚金型13を完全に閉じた状態にできる程度の低いトルクに抑え、中間金型13cを押圧するように、可動プラテン前後進モータ18を前進する。
(4)バネ13dが完全に縮みバネ入り金型13が完全に閉じる。そのときの金型の型開閉方向の厚みをD2で表す(図7を参照)。そして、可動プラテン12の前進が停止した時の仮の金型タッチ位置の時の可動プラテン12の後退量y1を求める。後退量y1はトグル機構14が完全に伸びきったときの可動プラテン12の位置から可動プラテンの後退量である。この後退量y1は、前述したとおり、クロスヘッド20の位置、すなわち可動プラテン前後進モータ18の位置よりトグルリンクの寸法などを用いて数式で求めることができる。または、近似式で求める方法、クロスヘッド20の位置と可動プラテン12の位置の関係をグラフ化して記憶しておく方法など、各種方法を用いて求めることができる。
(5)設定された型締力である設定型締力を発生することができる金型タッチ位置をあらかじめ求めておき、金型タッチ位置のときの可動プラテン12の後退量y2を後退量y1と同様の手法により求める。
(6)リアプラテン11の後退量y1−y2を算出する。
(7)現時点では、バネ入り3枚金型13は図7に示される状態にある。この状態では、バネ13dの弾性力による反力が可動プラテン12およびトグル機構14を介してリアプラテン11に作用していることから、リアプラテン11を後退させてはいけない。図8に示されるように、プラテン開き量xがバネ13dが伸びきった状態の金型の厚みD1より小さい間は、可動プラテン12はバネ13dからの弾性力による反力を受ける。そこで、まず、可動プラテン前後進モータ18を駆動してクロスヘッド20を後退させ、可動プラテン12をプラテン開き量xがバネ入り金型13の幅がD1(図9参照)になるように後退させる。
このようにすることにより、余分に可動側金型13bを後退させることがなく型開き調整にかかる時間を短縮することができる。また、可動側金型13bを後退させ過ぎてバネ入り3枚金型13を破損する危険がなくなる。なお、バネ13dが伸びきった状態の金型の厚みD1は射出成形機の制御装置2にあらかじめ設定し記憶されている。金型の厚みD1の設定方法としては、D1を測定して入力してもよいし、バネ13dが完全に縮んだ金型の厚みD2と、中間金型13cと固定側金型13aの最大開き量D3をそれぞれ別々に設定し、D1=D2+D3と算出してもよい。
(8)図9に示される状態では、可動プラテン12にはバネ13dからの弾性力による反力が作用していないので、(6)で算出した後退量y1−y2だけリアプラテン11を後退させる。これにより、設定型締力を発生する位置にリアプラテン11が移動する。
図10は本発明の型開き量調整制御の処理のアルゴリズムを示すフローチャートである。以下、各ステップに従って説明する。
●[ステップSA1]リアプラテン後退指令オンか否か判断し、オンである場合にはステップSA7へ移行し、オンでない場合にはステップSA2へ移行する。リアプラテンの後退指令は、手動あるいは自動による指令がある。なお、型締力調整中は前述のリアプラテンの後退量y1−y2に相当する指令を後退方向に出力することにより行える。
●[ステップSA2]リアプラテン前進指令オンか否か判断し、オンである場合にはステップSA3へ移行し、オンでない場合にはこの処理を終了する。リアプラテンの前進指令は、手動あるいは自動による指令がある。
●[ステップSA3]プラテン開き量xはバネが伸びきった状態のバネ入り3枚金型の幅D1より大きいか否か判断し、xがD1以上である場合にはステップSA5へ移行し、xがD1より小さい場合にはステップSA4へ移行する。
●[ステップSA4]プラテン開き量xがバネ入り3枚金型13の幅D1がより小さいと、
リアプラテン11には可動プラテン12、およびトグル機構14を介してバネ13dの弾性力による反力が作用している。従って、この状態でリアプラテン11を前進させると、前述したように、リアプラテン11に備えられているタイバーナットとタイバー15に設けられている台形ねじとの摩擦力が大きくなり、タイバーナットが回転しない場合がある。そのため、リアプラテン11の前進を停止し、リアプラテン後退の制御を終了する。この結果、リアプラテン11には金型13のバネ13dからの弾性力による反力が作用しない。
●[ステップSA5]リアプラテン11を前進させ、ステップSA6へ移行する。プラテン開き量xはバネが伸びきった状態のバネ入り3枚金型の幅D1より大きいので、リアプラテン11を前進させても、リアプラテン11に金型13のバネ13dによる反力は作用しない。
●[ステップSA6]リアプラテンの前進指令オンであるか否か判断し、前進指令がオンである場合にはステップSA3へ戻り処理を継続し、前進指令がオンでない場合にはリアプラテン後退制御を終了する。
●[ステップSA7]プラテン開き量xはバネ13dが伸びきった状態のバネ入り3枚金型13の幅D1以上であるか否か判断し、xがD1以上である場合にはステップSA9へ移行し、xがD1より小さい場合にはステップSA8へ移行する。
●[ステップSA8]ステップSA7でxがD1より小さいと判断された場合、リアプラテン11には金型13のバネ13dからの反力が作用している。この状態でリアプラテン11を移動させると、タイバーナットが回転しない場合がある。そのため、まず、可動プラテン前後進モータ18を駆動し、可動プラテン12をx=D1の位置まで後退させる。つまり、金型13のバネ13dによる反力がリアプラテン11に作用しない状態にする。あるいはステップSA4と同様にリアプラテン後退を停止してそのままリアプラテン後退制御を終了してもよい。
●[ステップSA9]リアプラテン11を後退動作させる。リアプラテン11には金型13のバネ13dからの弾性力による反力が作用していないので、タイバーナットは正常に回転する。
●[ステップSA10]リアプラテンの後退指令はオンか否か判断し、オンである場合にはステップSA9へ戻りリアプラテンの後退動作を継続し、オンでない場合にはリアプラテン後退の処理を終了する。
本発明の一実施形態の要部説明図である。 バネ入り金型の一例である3枚金型が完全に開いた状態を説明する図である。 バネ入り金型のバネの部分の構造を説明する図である。 バネ入り金型の一例である3枚金型のバネが伸びきった状態を説明する図である。 バネ入り金型の一例である3枚金型が完全に閉じた状態を説明する図である。 プラテン開き量x、可動プラテン後退量y、およびリアプラテン後退量zの関係を説明する図である。 トグル式型締装置で、バネ入り金型が完全に閉じた状態を説明する図である。 トグル式型締装置で、バネ入り金型のバネが収縮されて反発力が発生しているため、リアプラテンが前後進できない場合を説明する図である。 トグル式型締装置で、可動プラテン前後進用モータを可動プラテンが後退方向する方向に回転し、x=D1の位置にするとバネの反力がなくなり、リアプラテンを前後進することができることを説明する図である。 本発明の型開き量調整制御の処理のアルゴリズムを示すフローチャートである。
符号の説明
Dmax 金型が完全に開いた状態の金型の厚み
D1 バネが伸びきった状態の金型の厚み
D2 完全に金型が閉じた状態の金型の厚み
D3 バネが伸びきった状態での中間金型と固定側金型の隙間の長さ
D4 バネが伸びきった状態でのバネの長さ
x プラテン開き量
y 可動プラテン後退量
z リアプラテン後退量
10 固定プラテン
11 リアプラテン
12 可動プラテン
13 バネ入り3枚金型
13a 固定側金型
13b 可動側金型
13c 中間金型
13d バネ
13e ボルト
13f 連結部材
14 トグル機構

Claims (5)

  1. バネなどの弾性体によって金型間が開かれる金型を搭載したトグル式射出成形機において、
    金型内の弾性体の弾性力による影響を受けずにリアプラテンの前後進移動ができる位置まで金型を開いたときの金型の型開閉方向の厚みを記憶する金型厚記憶手段と、
    可動プラテンと固定プラテン間の型開き量を求める型開き量取得手段と、
    前記型開き量取得手段により取得された型開き量と前記金型厚記憶手段に記憶された金型の型開閉方向の厚みとを比較する比較手段と、
    前記比較手段から前記型開き量が前記金型の型開閉方向の厚みより小さいことを表す信号が出力された場合にはリアプラテンの移動を禁止する移動禁止手段と、
    を備えたことを特徴とするトグル式射出成形機の型開き量調整装置。
  2. バネなどの弾性体によって金型間が開かれる金型を搭載したトグル式射出成形機において、
    金型内の弾性体の弾性力による影響を受けずにリアプラテンの前後進移動ができる位置まで金型を開いたときの金型の型開閉方向の厚みを記憶する金型厚記憶手段と、
    可動プラテンと固定プラテン間の型開き量を求める型開き量取得手段と、
    前記型開き量取得手段により取得された型開き量と前記金型厚記憶手段に記憶された金型の型開閉方向の厚みとを比較する比較手段と、
    前記比較手段から前記型開き量が前記金型の型開閉方向の厚みより小さいことを表す信号が出力された場合にはリアプラテンを移動する前に前記型開き量が前記金型の型開閉方向の厚みと等しくなる位置まで可動プラテンを後退する手段と、
    を備えたことを特徴とするトグル式射出成形機の型開き量調整装置。
  3. 前記金型の型開閉方向の厚みは、リアプラテンあるいは可動プラテンが前記弾性体を完全に縮めたときの金型全体の型開閉方向の厚みと、前記弾性体が完全に縮んだ状態から金型内の弾性体の弾性力による影響を受けずにリアプラテンの前後進移動ができる位置まで金型を開いたときの開き量の和によって求める手段を備えた請求項1または2のいずれか一つに記載のトグル式射出成形機の型開き量調整装置。
  4. 前記金型の型開閉方向の厚みは、金型内の弾性体の弾性力による影響を受けずにリアプラテンの前後進移動ができる位置まで金型を開いたときの金型全体の型開閉方向の厚みとすることを特徴とする請求項1または2のいずれか一つに記載のトグル式射出成形機の型開き量調整装置。
  5. バネなどの弾性体によって金型間が開かれる金型を搭載した型締力調整機能を有するトグル式射出成形機において、
    金型内の弾性体の弾性力による影響を受けずにリアプラテンの前後進移動ができる位置まで金型を開いたときの金型の型開閉方向の厚みを記憶する金型厚記憶手段と、
    可動プラテンと固定プラテン間の型開き量を求める型開き量取得手段と、
    前記型開き量取得手段により取得された型開き量と前記金型厚記憶手段に記憶された金型の型開閉方向の厚みとを比較する比較手段と、
    前記比較手段から前記型開き量が前記金型の型開閉方向の厚みより小さいことを表す信号が出力された場合には、型締力を調整するために前記リアプラテンを移動する前に前記型開き量が前記金型の型開閉方向の厚みと等しくなる位置まで可動プラテンを後退する手段と、
    を備えを備えたことを特徴とする型締力調整機能を有するトグル式射出成形機。
JP2008254118A 2008-09-30 2008-09-30 トグル式射出成形機の型開き量調整装置 Expired - Fee Related JP5226448B2 (ja)

Priority Applications (1)

Application Number Priority Date Filing Date Title
JP2008254118A JP5226448B2 (ja) 2008-09-30 2008-09-30 トグル式射出成形機の型開き量調整装置

Applications Claiming Priority (1)

Application Number Priority Date Filing Date Title
JP2008254118A JP5226448B2 (ja) 2008-09-30 2008-09-30 トグル式射出成形機の型開き量調整装置

Publications (2)

Publication Number Publication Date
JP2010082961A true JP2010082961A (ja) 2010-04-15
JP5226448B2 JP5226448B2 (ja) 2013-07-03

Family

ID=42247405

Family Applications (1)

Application Number Title Priority Date Filing Date
JP2008254118A Expired - Fee Related JP5226448B2 (ja) 2008-09-30 2008-09-30 トグル式射出成形機の型開き量調整装置

Country Status (1)

Country Link
JP (1) JP5226448B2 (ja)

Cited By (1)

* Cited by examiner, † Cited by third party
Publication number Priority date Publication date Assignee Title
CN113787686A (zh) * 2021-07-28 2021-12-14 海天塑机集团有限公司 一种用于弹簧模的二板式注塑机开模方法与系统

Citations (5)

* Cited by examiner, † Cited by third party
Publication number Priority date Publication date Assignee Title
JPH07195470A (ja) * 1993-12-28 1995-08-01 Japan Steel Works Ltd:The トグル式型締装置の型締力設定方法
JPH0872112A (ja) * 1994-09-08 1996-03-19 Sumitomo Heavy Ind Ltd トグル式射出成形機の型締制御装置
JPH0957804A (ja) * 1995-08-23 1997-03-04 Fanuc Ltd トグル式およびクランク式型締装置の自動型厚調整方法
JPH11170321A (ja) * 1997-12-05 1999-06-29 Japan Steel Works Ltd:The トグル式射出成形機の型締力調整方法およびその装置
JP2007001049A (ja) * 2005-06-21 2007-01-11 Sumitomo Heavy Ind Ltd 成型条件設定方法

Patent Citations (5)

* Cited by examiner, † Cited by third party
Publication number Priority date Publication date Assignee Title
JPH07195470A (ja) * 1993-12-28 1995-08-01 Japan Steel Works Ltd:The トグル式型締装置の型締力設定方法
JPH0872112A (ja) * 1994-09-08 1996-03-19 Sumitomo Heavy Ind Ltd トグル式射出成形機の型締制御装置
JPH0957804A (ja) * 1995-08-23 1997-03-04 Fanuc Ltd トグル式およびクランク式型締装置の自動型厚調整方法
JPH11170321A (ja) * 1997-12-05 1999-06-29 Japan Steel Works Ltd:The トグル式射出成形機の型締力調整方法およびその装置
JP2007001049A (ja) * 2005-06-21 2007-01-11 Sumitomo Heavy Ind Ltd 成型条件設定方法

Cited By (2)

* Cited by examiner, † Cited by third party
Publication number Priority date Publication date Assignee Title
CN113787686A (zh) * 2021-07-28 2021-12-14 海天塑机集团有限公司 一种用于弹簧模的二板式注塑机开模方法与系统
CN113787686B (zh) * 2021-07-28 2023-10-17 海天塑机集团有限公司 一种用于弹簧模的二板式注塑机开模方法与系统

Also Published As

Publication number Publication date
JP5226448B2 (ja) 2013-07-03

Similar Documents

Publication Publication Date Title
JP3962725B2 (ja) トグル式射出成形機の型締力調整装置
JP3694684B2 (ja) 射出成形機
CN101360599B (zh) 射出成形机及射出成形机的控制方法
JP4249653B2 (ja) 射出成形機の制御装置
CN103429414B (zh) 注塑装置、成型机及注塑装置的控制方法
JP4477546B2 (ja) 成形条件設定方法
US6595766B2 (en) Die clamping apparatus, die clamping force measurement method and die clamping force adjustment method
JP2005262634A (ja) 射出成形機の射出装置
JP5363035B2 (ja) 射出成形機のエジェクタ異常検出装置
JP5226448B2 (ja) トグル式射出成形機の型開き量調整装置
JP5596105B2 (ja) 射出成形機の型厚調整装置
JP5000213B2 (ja) 型締力設定方法
JP3892852B2 (ja) 電動射出成形機の負荷検出装置
JP4410749B2 (ja) トグル式型締装置の型厚調整方法
JP3747425B2 (ja) トグル式射出成形機の型締力調整方法および調整装置
JP6034741B2 (ja) 型締力の低下を検出できる射出成形機
JP2009234144A (ja) トグル式型締装置を備えた射出成形機
JP4599331B2 (ja) 電動式射出成形機
JP4689559B2 (ja) 型締装置及び型締装置の制御方法
JP3828750B2 (ja) 型締装置、型締力測定方法および型締力調整方法
JP5485192B2 (ja) 型締力の適否判定方法および型締力調整方法
JP4039460B1 (ja) 射出成形機における計量方法
JPH04312825A (ja) 射出成形機の制御方法
JP2010105410A (ja) 成形条件設定方法
JP2006224561A (ja) 成形機の成形方法及び成形機

Legal Events

Date Code Title Description
A621 Written request for application examination

Free format text: JAPANESE INTERMEDIATE CODE: A621

Effective date: 20110523

A977 Report on retrieval

Free format text: JAPANESE INTERMEDIATE CODE: A971007

Effective date: 20130111

A131 Notification of reasons for refusal

Free format text: JAPANESE INTERMEDIATE CODE: A131

Effective date: 20130122

A521 Request for written amendment filed

Free format text: JAPANESE INTERMEDIATE CODE: A523

Effective date: 20130125

TRDD Decision of grant or rejection written
A01 Written decision to grant a patent or to grant a registration (utility model)

Free format text: JAPANESE INTERMEDIATE CODE: A01

Effective date: 20130219

A61 First payment of annual fees (during grant procedure)

Free format text: JAPANESE INTERMEDIATE CODE: A61

Effective date: 20130314

R150 Certificate of patent or registration of utility model

Ref document number: 5226448

Country of ref document: JP

Free format text: JAPANESE INTERMEDIATE CODE: R150

Free format text: JAPANESE INTERMEDIATE CODE: R150

FPAY Renewal fee payment (event date is renewal date of database)

Free format text: PAYMENT UNTIL: 20160322

Year of fee payment: 3

LAPS Cancellation because of no payment of annual fees