JP2010082772A - 食品スライサ - Google Patents

食品スライサ Download PDF

Info

Publication number
JP2010082772A
JP2010082772A JP2008256150A JP2008256150A JP2010082772A JP 2010082772 A JP2010082772 A JP 2010082772A JP 2008256150 A JP2008256150 A JP 2008256150A JP 2008256150 A JP2008256150 A JP 2008256150A JP 2010082772 A JP2010082772 A JP 2010082772A
Authority
JP
Japan
Prior art keywords
sliced
slice
food
blades
slicing
Prior art date
Legal status (The legal status is an assumption and is not a legal conclusion. Google has not performed a legal analysis and makes no representation as to the accuracy of the status listed.)
Granted
Application number
JP2008256150A
Other languages
English (en)
Other versions
JP5288978B2 (ja
Inventor
Sho Nakamura
升 中村
Katsuhiro Shiomi
勝宏 塩見
Current Assignee (The listed assignees may be inaccurate. Google has not performed a legal analysis and makes no representation or warranty as to the accuracy of the list.)
Nantsune Co Ltd
Original Assignee
Nantsune Co Ltd
Priority date (The priority date is an assumption and is not a legal conclusion. Google has not performed a legal analysis and makes no representation as to the accuracy of the date listed.)
Filing date
Publication date
Application filed by Nantsune Co Ltd filed Critical Nantsune Co Ltd
Priority to JP2008256150A priority Critical patent/JP5288978B2/ja
Publication of JP2010082772A publication Critical patent/JP2010082772A/ja
Application granted granted Critical
Publication of JP5288978B2 publication Critical patent/JP5288978B2/ja
Expired - Fee Related legal-status Critical Current
Anticipated expiration legal-status Critical

Links

Images

Landscapes

  • Food-Manufacturing Devices (AREA)
  • Processing Of Meat And Fish (AREA)

Abstract

【解決手段】平行に列をなす多数のスライス刃1,1が上下2組設けられ、一方の組の各スライス刃1,1間に他方の組の各スライス刃1,1が位置し、前記2組のスライス刃1,1は相互に反対方向に往復動する。各スライス刃1,1の間に差込まれてスライスすべき食品Bの送り込み側から送り出し側に起き上がり、スライスすべき食品Bを各スライス刃1,1の間から送り出すことができる押送部材17を備えている。
【効果】スライスすべき食品Bを最後まで確実にムラなく綺麗にスライスすることができ、スライス加工精度が大幅に向上する。また、スライス刃に手を近付けることなく、スライスされたスライス片B’,B’を安全に取り出すことができる。できるだけ薄いスライス片B’を一度に多数得ることができる。
【選択図】図8

Description

本発明は、ブロック状の肉塊や柱状のハムその他の食品を平行に列をなす多数のスライス刃でスライスして一度に多数のスライス片を得ることができる食品スライサに関し、さらに詳しくは、できるだけ薄いスライス片を得るために列をなす多数のスライス刃の間隔を極めて狭くしても、スライスすべき食品を最後まで綺麗にスライスすることができ、かつ、スライスされた食品を安全に取り出すことができるようにした食品スライサに関するものである。
平行に列をなす多数のスライス刃で食品をスライスして一度に多数のスライス片を得ることができる形式の食品スライサとして、多列ベルトコンベヤを上下に配置し、この多列ベルトコンベヤの巾の狭い各ベルトの送り方向先端部を、いずれも上下方向に配置されている多数の刃の間を通して出口側まで突出・延長することにより、スライスすべき食品が完全にスライスされるまで送り込むことができるようにしたものが提案されている(例えば、特許文献1参照)。
特開平1−92097号公報
このスライサを用いてできるだけ薄いスライス片を得るためには、スライスすべき食品を多数のスライス刃間に送り込むためのベルトの巾を、例えば2〜3mm程度と極めて細いものとしなければならないから、この極めて細いベルトを製造することは技術的にも強度的にも不可能に近い。
一方、このような極めて細いベルトを製造することが仮にできたとした場合において、この細いベルトが多数条並んでいる上下一対の多列コンベヤでスライスすべき食品を多数のスライス刃間に送り込もうとしても、スライス途中の食品が多数のスライス刃の間を通過するときの抵抗は極めて大きいから、スリップするなどの現象が生じ、巾の細い前記ベルトでは多数のスライス刃間に実質的に送り込むことができないか、あるいは、送り込むことができたとしても安定して送り込むことができない。したがって、結局のところ、スライスすべき食品の最後の部分に切り残しが生じて最後まで綺麗にスライスすることができず、最後まで確実にムラなく綺麗にスライスすることに対する安定性に欠けるという欠点があった。
特に、スライスすべき食品の形状や質あるいは柔らかさによっては、巾の細い前記ベルトでは多数のスライス刃間に送り込むことが極めて難しく、取り扱いが極めて厄介な食品の最後の部分に切り残しが生じ、結局のところ、最後まで綺麗にスライスすることができず、商品価値を損なうことになり、商品価値が低下する。
また、多数のスライス刃間に押し板のスリットを入れ、スライスされた食品を押し出す方法もある。この方法はスライス刃とスライス刃のピッチが粗い場合にのみ対応できるが、ピッチの細かい場合には、押し板のスリット全てを全てのスライス刃間に狂うことなく正確に挿入することは極めて難しい。
また、押し板のスリット寸法に狂いが生じている場合には、この押し板をスライス刃に近づけると、スライス刃に干渉して刃先を傷付ける一因にもなり兼ねない。
本発明は、多数のスライス刃の間にスライスすべき食品の送り込み側から送り出し側に起き上がる押送部材を差込むことができるようにし、上記欠点を解消するとともに、スライスされた食品を安全に取り出せるようにしたものである。
すなわち、本発明の食品スライサは、平行に列をなす多数のスライス刃が往復動するごとく配置され、前記スライス刃付近にはスライス刃の間に差込まれてスライスすべき食品の送り込み側から送り出し側に起き上がり、スライスすべき食品を各スライス刃の間から送り出すことができる押送部材を備えていることを特徴とする。
この食品スライサにより食品をスライスした場合には、前記押送部材がスライス刃の間に差込まれてスライスすべき食品の送り込み側から送り出し側に起き上がり、スライスすべき食品を各スライス刃の間から安定して確実に送り出すことができるので、スライスすべき食品を最後まで確実にムラなく綺麗にスライスすることができ、スライス加工精度が大幅に向上する。また、スライス刃に手を近付けることなく、スライスされた食品を安全に取り出すことができる。
平行に列をなす多数のスライス刃が2組設けられ、一方の組の各スライス刃間に他方の組の各スライス刃が位置し、前記2組のスライス刃は相互に反対方向に往復動するようにすることが望ましい。このようにした場合には、各スライス刃間の間隔をできるだけ狭くすることができるので、できるだけ薄いスライス片を得るのに好都合である。
押送部材は櫛歯状に連結され、その基部が1つの軸を中心として回動するようにすることが望ましい。このようにした場合には、スライス刃の間に差込まれてスライスすべき食品の送り込み側から送り出し側に押送部材を起き上がらせる動作を、正確に行わせることができる。そして、スライスされた食品をスライス刃より送り出し側に完全に送り出すことができるので、スライス刃に手を近付けることなく、スライスされた食品をより安全に取り出すことができる。
請求項1記載の発明によれば、スライスすべき食品を最後までムラなく綺麗にスライスすることができ、スライス加工精度が大幅に向上する。また、スライス刃に手を近付けることなく、スライスされた食品を安全に取り出すことができる。
請求項2記載の発明によれば、できるだけ薄いスライス片を得るのに好都合である。
請求項3記載の発明によれば、スライス刃の間に差込まれてスライスすべき食品の送り込み側から送り出し側に押送部材を起き上がらせる動作を、正確に行わせることができる。そして、スライスされた食品をスライス刃より送り出し側に完全に送り出すことができるので、スライス刃に手を近付けることなく、スライスされた食品をより安全に取り出すことができる。
本発明による食品スライサの一例を、図面に基いて詳細に説明する。
ここに例示する食品スライサAは、垂直方向に平行に列をなす多数のスライス刃1,1が上下方向に往復動するごとく配置され、これら多数のスライス刃1,1に向けてスライスすべき食品Bを送り込み、前記多数のスライス刃1,1でスライスすべき食品Bをスライスし、一度に多数のスライス片B’を得ることができる形式のものである。
多数のスライス刃1,1は1組のみ設けてもよいが、ここでは、上下に2組設けられ、上方の組の各スライス刃1,1間に下方の組の各スライス刃1,1が位置し、上下2組の前記スライス刃1,1は相互に反対方向に往復動するようになっている。
上下2組のスライス刃1,1を相互に反対方向に往復動させるために、ここでは図11及び図12に示すように、上方の組の各スライス刃1,1を上下一対の保持枠2,2で、下方の組の各スライス刃1,1を上下一対の保持枠3,3でそれぞれ保持し、上下一対の保持枠2,2を垂直方向に配置されている左右一対の外側のガイド杆2a,2aに、また、上下一対の保持枠3,3を垂直方向に配置されている左右一対の内側のガイド杆3a,3aに定着してある。
そして、左右一対の外側のガイド杆2a,2aは食品スライサAの本体aの下段と中段とに固定されているガイドベース4,5を貫通させてある。また、左右一対の内側のガイド杆3a,3aは前記2つのガイドベース4,5及び食品スライサAの本体aの上段に固定されている別のガイドベース6を貫通させるとともに、前記保持枠2,2をも貫通させてある。このようにすることにより、左右一対の外側のガイド杆2a,2a及び左右一対の内側のガイド杆3a,3aを前記ガイドベース4,5,6に対して上下動させることができるので、前記上下2組のスライス刃1,1を上下動させることができる。
前記上下2組のスライス刃1,1を上下動させるに当って、ここでは、食品スライサAの本体aの直下であるベースb内に左右一対のクランク機構7、8を外側と内側とに配置し、外側に位置する左右一対のクランク機構7,7は、モータ9により回転する水平方向のシャフト10に偏心カム7a,7aを取り付けることにより、また、内側に位置する左右一対のクランク機構8,8は、前記シャフト10に偏心カム8a,8aを取り付けることにより構成された場合が例示されている。偏心カム7a,7aと偏心カム8a,8aとは、1本のシャフト10に対して180度ずれた位置に取り付けられている。
なお、図11及び図12においては、前記上下2組のスライス刃1,1の配置状況及びこれらスライス刃1,1を上下動させるに当っての主要な機構や部材のみを表わし、後述するその他の機構や部材及び食品スライサAのカバーなどを全て省略してある。
図示してないスイッチを押してモータ9を駆動させると、このモータ9の軸に取り付けられているプーリ9a、前記シャフト10に取り付けられているプーリ10a、両プーリ9a,10aに掛架してあるベルト11を介して前記シャフト10を回転させることができ、この回転に伴って前記偏心カム7a,7a及び偏心カム8a,8aを回転させることができ、それらの回転による左右一対のクランク機構7,7、8,8の作動により、前記左右一対のガイド杆2a,2a及び3a,3aが相互に反対方向に上下動する。したがって、前記上下2組のスライス刃1,1を相互に反対方向に上下動させることができる。
なお、シリンダを用いて前記上下2組のスライス刃1,1を相互に反対方向に上下動させることも可能であるが、それを図示することは省略する。
上述したように、平行に列をなす上方の組の各スライス刃1,1間に、平行に列をなす下方の組の各スライス刃1,1が位置しているが、上下2組の各スライス刃1,1をこのような位置関係となるように配置することにより、できるだけ薄いスライス片B’を一度に多数得ることができる。
なお、下方の組の各スライス刃1,1を保持するための上下一対の前記保持枠3,3のうち上側の保持枠3の保持部材3bに、上方の組の各スライス刃1,1の刃数に等しい数のスリット(図示しない)を形成し、前記保持部材3bに形成された各スリットに上方の組の各スライス刃1,1の途中を嵌入し、また、上方の組の各スライス刃1,1を保持するための上下一対の前記保持枠2,2のうち下側の保持枠2の保持部材2bに、下方の組の各スライス刃1,1の刃数に等しい数のスリット(図示しない)を形成し、前記保持部材2bに形成された各スリットに下方の組の各スライス刃1,1の途中を嵌入することにより、上下2組のスライス刃1,1を相互に反対方向に上下動させることができる。
相互に反対方向に上下動する前記上下2組のスライス刃1,1に向けてスライスすべき食品を送り込めば、相互に反対方向に上下動する上下2組のスライス刃1,1で食品をスライスすることができ、一度に多数のスライス片を得ることができる。
上下2組のスライス刃1,1に向けてスライスすべき食品Bを送り込むため、ここでは図3〜図10に示すように、上下2組のスライス刃1,1の高さ方向のいずれかの位置に、前記食品Bの送り込み側から送り出し側に走行させ得る肉箱12が配置された場合が例示されている。
この肉箱12内の送り込み側端部には押し板13が備えられており、その上方を覆うとともに前記上下2組のスライス刃1,1の手前までを覆うカバー14が開閉自在に設けられている。また、前記上下2組のスライス刃1,1の送り出し側であって高さ方向におけるほぼ中間位置には、各スライス刃1,1の間に差し込み得る櫛歯状の上下動可能な上押さえ15が配置されている。上押さえ15は上押さえシリンダ15aにより上下動させることができる。
また、この肉箱12の底であってその長手方向にはラック12aが取り付けられ、このラック12aにはモータその他の回転手段で回転する歯車12bが噛み合わせてある。
前記歯車12bが図4の矢印方向に回転すると、この歯車12bと噛み合っているラック12aが同図の右側に動くので、ラック12aが取り付けられている肉箱12とそれに備えられている押し板13とが図3の位置から図4に示すように動き、スライスすべき食品Bを前記上下2組のスライス刃1,1の送り込み側まで送り込むことができる。
前記カバー14を開けてスライスすべき食品Bを肉箱12内に一個ないし複数個投入した後カバー14を閉じると、ロック装置16が作動し、カバー14がロックされる。そして、上押さえシリンダ15aを作動させると、上押さえ15が図10の位置から図3に示すように降下する。
この状態において押し板13が作動すると、上述したように相互に反対方向に上下動している前記上下2組のスライス刃1,1に向けてスライスすべき食品Bを図3の位置から図4を経て図5に示すように送り込むことができ、相互に反対方向に上下動する上下2組のスライス刃1,1でスライスすべき食品Bを概ねスライスすることができる。この場合において、スライスされる食品Bは降下している上押さえ15により押さえ付けられている。
このスライス作業が終了すると、前記歯車12bが先程の矢印方向とは逆の方向に回転し、前記ラック12aを介して肉箱12が図6に示すように旧位置に戻る。
ここに、概ねスライスすることができるとしたのは、上述したように、スライスすべき食品Bの最後の部分に切り残しが生じて最後まで綺麗にスライスすることができないことが起り得ることを配慮したからである。
すなわち、前記押し板13によりスライスすべき食品Bを図6に示すように送り込んだだけでは、スライスすべき食品Bの最後の部分に切り残しが生じる。そこで、この欠点を解消するために、本発明では、相互に反対方向に上下動する前記上下2組のスライス刃1,1付近に、前記上下2組のスライス刃1,1の間に差込まれてスライスすべき食品Bの送り込み側から送り出し側に起き上がり、スライスすべき食品Bを各スライス刃1,1の間から送り出すことができる押送部材17を備えている。
この押送部材17は図13、図14に示すように櫛歯状に連結され、その基部が左右一対の軸17a,17aを中心として回動するようになっている。すなわち、櫛歯状の押送部材17の下側の左右両側に左右一対の軸17a,17aを備え、両軸17a,17aを左右一対の軸保持体17b,17bでそれぞれ軸受けするとともに、この押送部材17の基部がコネクティングロッド17cを介してシリンダ18のロッド18aに連結されている。
図13の状態からシリンダ18が作動すると、図14に示すようにロッド18aが伸長し、前記コネクティングロッド17cを介して連結されている櫛歯状の押送部材17が回動する。したがって、図7、図8に示すように、櫛歯状の押送部材17の刃が前記上下2組のスライス刃1,1の間に差込まれ、スライスすべき食品Bの送り込み側から送り出し側に起き上がり、スライスすべき食品Bを各スライス刃1,1の間から確実に送り出すことができる。
押送部材17のこの作動により、スライスすべき食品Bの最後の部分に切り残しが生じて最後まで綺麗にスライスすることができないという事態を回避することができる。すなわち、スライスすべき食品Bを最後まで確実にムラなく綺麗にスライスすることができるので、ムラのない綺麗なスライス片B’,B’を一度に多数得ることができ、スライス加工精度が大幅に向上する。また、スライスされたスライス片B’,B’を各スライス刃1,1より送り出し側に完全に送り出すことができるので、各スライス刃1,1に手を近付けることなく、スライスされたスライス片B’,B’をより安全に取り出すことができる。しかも、商品価値を損なうことなく、スライスされたスライス片B’,B’を取り出すことができる。
そして、この押送部材17の動作は左右一対の軸保持体17b,17bで軸受けされている左右一対の軸17a,17aを中心として回動する動作であるから、各スライス刃1,1の間に差込まれてスライスすべき食品Bの送り込み側から送り出し側に押送部材17を起き上がらせる動作を、正確に行わせることができる。
シリンダ18が図8、図14の状態から元の状態に戻ると、櫛歯状の押送部材17も図9、図13に示すように元の状態に復帰する。そして、食品スライサAのベースb内に配置されているモータ9が停止し、このモータ9の軸に取り付けられているプーリ9a、前記シャフト10に取り付けられているプーリ10a、両プーリ9a,10aに掛架してある前記ベルト11を介して前記シャフト10も停止する。
かくして、上述したように相互に反対方向に上下動していた前記上下2組のスライス刃1,1も停止し、前記ロック装置16が解除となり、例えばガススプリング19(図10参照)の反力によりカバー14が押し開かれる。そして、上押さえシリンダ15aが作動し、上押さえ15が図10に示すように上昇し、一連のスライス作業が完了する。
図示してないスイッチを押すと、停止していた食品スライサAが再稼動し、上述した一連の動作を繰り返すので、次のスライス作業を実施することができる。
なお、カバー14を開閉するに当って、ここではガススプリング19(図10)を用いた場合を例示したが、これに代えてシリンダ(図示しない)を取り付けておき、このシリンダによりカバー14を開閉するようにしてもよい。
ここには、平行に列をなす上方の組の各スライス刃1,1の上下両端が、上方の1組の保持枠2,2の上側と下側の保持部材2b,2bに、また、平行に列をなす下方の組の各スライス刃1,1の上下両端が、下方の1組の保持枠3,3の上側と下側の保持部材3b,3bにそれぞれ取り付けられている場合が例示されている。
また、ここには、平行に列をなす多数のスライス刃1,1を垂直方向に配置し、それらを相互に反対方向に上下動させ、スライスすべき食品Bを水平方向に送り出すことによりスライスする場合を例示したが、多数のスライス刃1,1を水平方向に配置し、それらを相互に反対方向に水平移動させ、スライスすべき食品Bを垂直方向あるいは任意の方向に送り出すことによりスライスするようにしてもよい。
この場合においても、櫛歯状の押送部材17の刃が水平方向に配置されている前記2組のスライス刃1,1の間に差込まれ、スライスすべき食品Bの送り込み側から送り出し側に起き上がり、スライスすべき食品Bを各スライス刃1,1の間から送り出すことができるようになっておれば、スライスすべき食品Bの最後の部分に切り残しが生じて最後まで綺麗にスライスすることができないという事態を回避することができる。したがって、スライスすべき食品Bを最後までムラなく綺麗にスライスすることができ、厚みにムラのない綺麗なスライス片B’,B’を一度に多数得ることができる。そして、スライスされたスライス片B’,B’を各スライス刃1,1より送り出し側に完全に送り出すことができるので、各スライス刃1,1に手を近付けることなく、スライスされたスライス片B’,B’をより安全に取り出すことができる。しかも、商品価値を損なうことなく、スライスされたスライス片B’,B’を取り出すことができる。
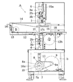
本発明による食品スライサの一例を示す全体の斜視図である。 図1の状態からカバーを開けた上体を示す全体の斜視図である。 内部構造を示す一部切断の側面図で、スタート時の状態を示す。 内部構造を示す一部切断の側面図で、スライスすべき食品を押し板で押し出し、多数のスライス刃に送り込む直前の状態を示す。 内部構造を示す一部切断の側面図で、スライスすべき食品を押し板で押し出し、多数のスライス刃間に送り込んだ状態を示す。 内部構造を示す一部切断の側面図で、スライスすべき食品が多数のスライス刃間に送り込まれた後、肉箱が元の位置まで戻った状態を示す。 内部構造を示す一部切断の側面図で、スライスすべき食品が多数のスライス刃間に送り込まれた後、押送部材が作動し始めた状態を示す。 内部構造を示す一部切断の側面図で、押送部材が完全に起き上がった状態を示す。 内部構造を示す一部切断の側面図で、押送部材が作動前の状態に戻った状態を示す。 内部構造を示す一部切断の側面図で、スライス作業を完了した時の状態を示す。 上下2組のスライス刃の配置状況及びこれらスライス刃を上下動させるに当っての主要な機構や部材のみを表わす斜視図で、その他の機構や部材及び食品スライサのカバーなどを全て省略して示す。 上下2組のスライス刃が図11の状態から相互に反対報告に動いた状態を示す。 押送部材の取付状態を示す斜視図で、作動前の状態を示す。 押送部材の取付状態を示す斜視図で、起き上がった作動後の状態を示す。
符号の説明
1…スライス刃、2,3…保持枠、2a,3a…ガイド杆、2b,3b…保持部材、4,5,6…ガイドベース、7,8…クランク機構、9…モータ、10…シャフト、12…肉箱、13…押し板、15…上押さえ、17…押送部材、17a…軸、17b…軸保持体、A…食品スライサ、B…スライスすべき食品、B’…スライス片。

Claims (3)

  1. 平行に列をなす多数のスライス刃が往復動するごとく配置され、前記スライス刃付近にはスライス刃の間に差込まれてスライスすべき食品の送り込み側から送り出し側に起き上がり、スライスすべき食品を各スライス刃の間から送り出すことができる押送部材を備えていることを特徴とする食品スライサ。
  2. 平行に列をなす多数のスライス刃が2組設けられ、一方の組の各スライス刃間に他方の組の各スライス刃が位置し、前記2組のスライス刃は相互に反対方向に往復動することを特徴とする請求項1記載の食品スライサ。
  3. 押送部材は櫛歯状に連結され、その基部が1つの軸を中心として回動することを特徴とする請求項1記載の食品スライサ。
JP2008256150A 2008-10-01 2008-10-01 食品スライサ Expired - Fee Related JP5288978B2 (ja)

Priority Applications (1)

Application Number Priority Date Filing Date Title
JP2008256150A JP5288978B2 (ja) 2008-10-01 2008-10-01 食品スライサ

Applications Claiming Priority (1)

Application Number Priority Date Filing Date Title
JP2008256150A JP5288978B2 (ja) 2008-10-01 2008-10-01 食品スライサ

Publications (2)

Publication Number Publication Date
JP2010082772A true JP2010082772A (ja) 2010-04-15
JP5288978B2 JP5288978B2 (ja) 2013-09-11

Family

ID=42247235

Family Applications (1)

Application Number Title Priority Date Filing Date
JP2008256150A Expired - Fee Related JP5288978B2 (ja) 2008-10-01 2008-10-01 食品スライサ

Country Status (1)

Country Link
JP (1) JP5288978B2 (ja)

Cited By (1)

* Cited by examiner, † Cited by third party
Publication number Priority date Publication date Assignee Title
JP2020032470A (ja) * 2018-08-27 2020-03-05 株式会社ニュートラル 食品用スライス装置

Citations (6)

* Cited by examiner, † Cited by third party
Publication number Priority date Publication date Assignee Title
JPS52144274U (ja) * 1976-04-26 1977-11-01
JPS55129799U (ja) * 1979-03-09 1980-09-13
JPS61279496A (ja) * 1985-06-05 1986-12-10 奥村 正則 野菜細断器
JPS6268297A (ja) * 1985-09-18 1987-03-28 株式会社ハイト 斜め切りスライサ−
JPH0192097A (ja) * 1987-10-01 1989-04-11 Haito:Kk 多刃スライサにおける被加工物送り装置
JPH09300287A (ja) * 1996-05-10 1997-11-25 Asahi Sangyo Kk スライサ

Patent Citations (6)

* Cited by examiner, † Cited by third party
Publication number Priority date Publication date Assignee Title
JPS52144274U (ja) * 1976-04-26 1977-11-01
JPS55129799U (ja) * 1979-03-09 1980-09-13
JPS61279496A (ja) * 1985-06-05 1986-12-10 奥村 正則 野菜細断器
JPS6268297A (ja) * 1985-09-18 1987-03-28 株式会社ハイト 斜め切りスライサ−
JPH0192097A (ja) * 1987-10-01 1989-04-11 Haito:Kk 多刃スライサにおける被加工物送り装置
JPH09300287A (ja) * 1996-05-10 1997-11-25 Asahi Sangyo Kk スライサ

Cited By (1)

* Cited by examiner, † Cited by third party
Publication number Priority date Publication date Assignee Title
JP2020032470A (ja) * 2018-08-27 2020-03-05 株式会社ニュートラル 食品用スライス装置

Also Published As

Publication number Publication date
JP5288978B2 (ja) 2013-09-11

Similar Documents

Publication Publication Date Title
USRE50727E1 (en) Food cutting device
KR101041470B1 (ko) 식품 슬라이서
EP2522225B1 (en) Meat cutting machine, in particular for cutting meat with bone
KR101025501B1 (ko) 수직형 식품 슬라이서
KR101745549B1 (ko) 꼬치 제조 시스템
JP5288978B2 (ja) 食品スライサ
CN111604969A (zh) 自动切花机
EP2144735B1 (de) Vorrichtung zum portionieren von lebensmitteln
US9636834B2 (en) Automated machine for slitting and wedge cutting whole fruits and vegetables
CN118119287A (zh) 水果特别是桃子的去核和切割方法以及相应的切割刀片和多通道机器
KR101836424B1 (ko) 근채류 절단장치
JP4035535B2 (ja) 食肉加工機
US1320294A (en) Potato-cutter
JP4190977B2 (ja) 野菜切截機
WO2013110688A1 (de) Schneidevorrichtung für brot
US1479469A (en) Fruit and vegetable slicer
US1948622A (en) Slicing machine
CN220499234U (zh) 一种食用菌切片装置
US682722A (en) Meat-cutter.
CN212635827U (zh) 一种手动式蔬菜切片机
CN115251125B (zh) 一种肉类产品的切片装置
KR200392008Y1 (ko) 바게트 절단기
JPS61178196A (ja) パンスライサ−
CN118559804A (zh) 一种预制菜原料加工用分切筛选机
US239118A (en) Jacob stbeicher and valentine hoehl

Legal Events

Date Code Title Description
A621 Written request for application examination

Free format text: JAPANESE INTERMEDIATE CODE: A621

Effective date: 20110708

A977 Report on retrieval

Free format text: JAPANESE INTERMEDIATE CODE: A971007

Effective date: 20130125

A131 Notification of reasons for refusal

Free format text: JAPANESE INTERMEDIATE CODE: A131

Effective date: 20130204

A521 Written amendment

Free format text: JAPANESE INTERMEDIATE CODE: A523

Effective date: 20130311

A01 Written decision to grant a patent or to grant a registration (utility model)

Free format text: JAPANESE INTERMEDIATE CODE: A01

Effective date: 20130408

A61 First payment of annual fees (during grant procedure)

Free format text: JAPANESE INTERMEDIATE CODE: A61

Effective date: 20130604

LAPS Cancellation because of no payment of annual fees