JP2010082467A - 電気炊飯器 - Google Patents

電気炊飯器 Download PDF

Info

Publication number
JP2010082467A
JP2010082467A JP2010007948A JP2010007948A JP2010082467A JP 2010082467 A JP2010082467 A JP 2010082467A JP 2010007948 A JP2010007948 A JP 2010007948A JP 2010007948 A JP2010007948 A JP 2010007948A JP 2010082467 A JP2010082467 A JP 2010082467A
Authority
JP
Japan
Prior art keywords
cooking
rice
heat
mode
rice cooking
Prior art date
Legal status (The legal status is an assumption and is not a legal conclusion. Google has not performed a legal analysis and makes no representation as to the accuracy of the status listed.)
Granted
Application number
JP2010007948A
Other languages
English (en)
Other versions
JP5077361B2 (ja
Inventor
Kenji Fujiwara
健二 藤原
Current Assignee (The listed assignees may be inaccurate. Google has not performed a legal analysis and makes no representation or warranty as to the accuracy of the list.)
Tiger Vacuum Bottle Co Ltd
Original Assignee
Tiger Vacuum Bottle Co Ltd
Priority date (The priority date is an assumption and is not a legal conclusion. Google has not performed a legal analysis and makes no representation as to the accuracy of the date listed.)
Filing date
Publication date
Application filed by Tiger Vacuum Bottle Co Ltd filed Critical Tiger Vacuum Bottle Co Ltd
Priority to JP2010007948A priority Critical patent/JP5077361B2/ja
Publication of JP2010082467A publication Critical patent/JP2010082467A/ja
Application granted granted Critical
Publication of JP5077361B2 publication Critical patent/JP5077361B2/ja
Anticipated expiration legal-status Critical
Expired - Fee Related legal-status Critical Current

Links

Images

Landscapes

  • Cookers (AREA)

Abstract

【課題】 炊飯制御モードとして、通常モードと該通常モードに比べて省エネ性が高い省エネモードとの2つの制御モードを備え、それらのモードを使い分けるようにしてなる電気炊飯器において、省エネモード選択時の加熱不足対策を解消し、省エネ性能と炊飯性能の両立を図る。
【解決手段】 炊飯加熱制御手段および保温加熱制御手段を備え、炊飯加熱制御手段による炊飯工程終了後、保温加熱制御手段による保温工程に移行するようにするとともに、炊飯制御モードとして、通常モードと該通常モードに比べて省エネ性が高い省エネモードとの2つの制御モードを備えてなる電気炊飯器であって、昇温および炊き上げ両工程における消費電力量を積算し、同積算量が昇温工程において合数判定された炊飯量に対して少ないか否かを判定し、少なかった場合には、炊き上げ検知後に所定の加熱を行った後に保温工程に移行させるようにした。
【選択図】 図15

Description

本願発明は、省エネモードおよび通常モードでの制御機能を備えた電気炊飯器に関するものである。
最近のマイコン制御式の電気炊飯器では、高い加熱出力で加熱効率良く炊飯を行ない、炊飯が完了すると、自動的に保温工程に移行し、ユーザーにより取消スイッチが押されるか又は保温設定時間が経過するまでの間は、ご飯の温度が予じめ設定した所望の保温温度に維持されるように、ご飯の温度を検出しながら保温ヒータ等保温加熱手段の加熱量を適切に制御するようになっている(特許文献1参照)。
特開2000−14541号公報(明細書第1−10頁、図1−11)
以上のように、これまでの電気炊飯器の場合、炊飯時の加熱効率が高く、したがって御飯が早く美味しく炊き上り、保温性能も良い点で、メリットが大きい。
しかし、一方消費電力が大きく、省エネ性に劣る欠点がある。
そこで、例えば炊飯性能を重視した通常制御モードに加え、予じめメーカー側で電力節減量を所定の値に設定した省エネモード(セーブモード)を設け、該省エネモードが選択された時には、吸水工程を省略するか、省略しないまでも通常モードよりも吸水時間や吸水温度を小さくし、またむらし工程を省略するか、むらし時間を短かくすることにより、省エネ性に優れた炊飯制御を行うようにすることが考えられている。
しかし、そのような構成の場合、冬季のように、使用される水の温度や室温が低すぎる場合には、そのまま省エネモードで炊飯すると、吸水時間および吸水温度が不足して、良好な御飯の炊き上げを行うことができない問題がある。
他方、通常モードが選択されている時であっても、使用される水の温度や室温が十分に高い時に、あえて吸水時間や吸水温度を高くすることは、電力の無駄を招く。
そこで、以上のような炊飯時の条件(水温/室温など)に応じて適切に省エネモード又は通常モードを使い分けることにより、炊飯性能および省エネ性能共に優れた電気炊飯器を提供することが考えられる。
ところが、そのような省エネモードで炊飯を行った場合、電力消費量は有効に節減することができるが、一方時として電力量不足のために炊き上がり不良となるケースが生じる。
そこで、本願発明では、このような問題に対する対策として、昇温および炊き上げ両工程における消費電力量を積算し、同積算量が昇温工程において合数判定された炊飯量に対して少ないか否かを判定し、少なかった場合には、通常モード時と同様の加熱を行った後に保温工程に移行させるようにすることにより、省エネ性能と炊飯性能の両立を図った電気炊飯器を提供することを目的とするものである。
本願の請求項1,2の発明は、各々以上のような課題を解決することを目的としてなされたものであり、それぞれ次のような課題解決手段を備えて構成されている。
(1) 請求項1記載の発明
この発明では、炊飯加熱制御手段および保温加熱制御手段を備え、炊飯加熱制御手段による炊飯工程終了後、保温加熱制御手段による保温工程に移行するようにするとともに、炊飯制御モードとして、通常モードと該通常モードに比べて省エネ性が高い省エネモードとの2つの制御モードを備えてなる電気炊飯器であって、昇温および炊き上げ両工程における消費電力量を積算し、同積算量が昇温工程において合数判定された炊飯量に対して少ないか否かを判定し、少なかった場合には、炊き上げ検知後に通常モード時と同様にむらし工程に移行させて、十分にむらし加熱を行った後に保温工程に移行させるようにしたことを特徴としている。
このような構成によれば、省エネモードで炊飯を行った場合であっても、昇温および炊き上げ両工程における消費電力量を積算し、同積算量が昇温工程において合数判定された炊飯量に対して少なかった場合には、炊き上げ検知後に通常モード時と同様にむらし工程に移行させて、十分にむらし加熱を行った後に保温工程に移行させるので、電力量不足のために炊き上がり不良となることを確実に回避することができ、省エネ性能と炊飯性能の両立を図ることができる。
(2) 請求項2記載の発明
この発明では、炊飯加熱制御手段および保温加熱制御手段を備え、炊飯加熱制御手段による炊飯工程終了後、保温加熱制御手段による保温工程に移行するようにするとともに、炊飯制御モードとして、通常モードと該通常モードに比べて省エネ性が高い省エネモードとの2つの制御モードを備えてなる電気炊飯器であって、昇温および炊き上げ両工程における消費電力量を積算し、同積算量が昇温工程において合数判定された炊飯量に対して少ないか否かを判定し、少なかった場合には、炊き上げ検知後に追い炊き工程に移行させて、再加熱を行った後に保温工程に移行させるようにしたことを特徴としている。
このような構成によれば、省エネモードで炊飯を行った場合であっても、昇温および炊き上げ両工程における消費電力量を積算し、同積算量が昇温工程において合数判定された炊飯量に対して少なかった場合には、炊き上げ検知後に、追い炊き工程に移行させて再加熱を行った後に保温工程に移行させるので、電力量不足のために炊き上がり不良となることを確実に回避することができ、省エネ性能と炊飯性能の両立を図ることができる。
以上の結果、本願発明によると、省エネ性能を活用しながら、良好な御飯の炊き上げを行うことができるようになり、省エネ性能と美味しい御飯の炊き上げ性能との両立を図ることができる。
本願発明の実施の形態1に係る電気炊飯器本体の構成を示す断面図である。 同電気炊飯器の操作パネル部分の正面図である。 同電気炊飯器の制御回路部分の構成を示すブロック図である。 同電気炊飯器のマイコン制御ユニットによる通常モードの基本的な炊飯〜保温制御の内容を示すフローチャートである。 同電気炊飯器のマイコン制御ユニットによる省エネモードの基本的な炊飯〜保温制御の内容を示すフローチャートである。 同電気炊飯器のマイコン制御ユニットによる初期水温をパラメータとする省エネモードから通常モードへの移行および省エネモードへの復帰制御を示すフローチャートである。 通常モードの炊飯〜保温制御工程を示すタイムチャートである。 省エネモードから通常モードに移行した後、再び省エネモードに復帰する制御モードの炊飯〜保温制御工程を示すタイムチャートである。 省エネモードの炊飯〜保温制御工程を示すタイムチャートである。 同電気炊飯器のマイコン制御ユニットによる室温をパラメータとする省エネモードから通常モードへの移行および省エネモードへの復帰制御を示すフローチャートである。 同電気炊飯器のマイコン制御ユニットによる低水温時の省エネモードにおける吸水時間の延長制御を示すフローチャートである。 同制御の炊飯〜保温制御工程を示すタイムチャートである。 同電気炊飯器のマイコン制御ユニットによる高水温時の通常モードにおける吸水時間の短縮制御を示すフローチャートである。 同制御の炊飯〜保温制御工程を示すタイムチャートである。 加熱不足対策として、むらし工程を加えた省エネモードの炊飯〜保温制御工程を示すタイムチャートである。 加熱不足対策として、追い炊き工程を加えた省エネモードの炊飯〜保温制御工程を示すタイムチャートである。 同電気炊飯器のマイコン制御ユニットによる省エネモードとリンクした冷却ファンの制御を示すフローチャートである。 同電気炊飯器のマイコン制御ユニットによる通常モードとリンクした冷却ファンの制御を示すフローチャートである。 本願発明の実施の形態2に係る電気炊飯器本体の構成を示す断面図である。 同電気炊飯器の要部の構成を示す断面図である。 本願発明の実施の形態3に係る電気炊飯器本体の要部の構成を示す断面図である。 本願発明の実施の形態4に係る電気炊飯器本体の要部の構成を示す断面図である。 本願発明の実施の形態5に係る電気炊飯器本体の要部の構成を示す断面図である。 本願発明の実施の形態6に係る電気炊飯器本体の要部の構成を示す断面図である。 本願発明の実施の形態1〜6に係る電気炊飯器本体の放熱板の構成を示す断面図である。 本願発明の実施の形態7に係る電気炊飯器本体の放熱板の構成を示す断面図である。
<実施の形態1>
図1〜図3は、省エネ制御機能を備えた本願発明の実施の形態1に係るマイコン式電気炊飯器の炊飯器本体の全体および要部の構成をそれぞれ示している。
(全体の概要)
先ず本願発明の実施の形態1における電気炊飯器は、例えば内鍋(飯器)3として電磁誘導の可能な磁性金属板よりなるものが採用されている一方、当該内鍋3に対する炊飯時の加熱手段として、合成樹脂製の内ケース4を介して当該内鍋3の底壁部3aから側壁部3bの略全体を包み込むように当該内鍋3の底壁部3aの中央部側と側方部側の2ケ所の全周に対応する2組のワークコイルC1,C2が設けられ、また当該内鍋3に対する保温時の加熱手段として、当該内鍋3の側壁部3bの全周に対応する保温ヒータH1が設けられている。そして、それらをマイコン制御ユニット32によって適切に駆動制御することによって適切な炊飯機能と保温機能とを実現できるようになっている。
一方、それらの各機能に対するタイマー予約や炊飯および保温メニューの選択、それら各メニューに対応した加熱量、加熱パターン、保温温度、保温時間などの操作設定は、当該電気炊飯器本体Aの前面側操作パネル部20に設けられた各種入力スイッチ群22a〜22iを介してユーザーにより行われ、その設定内容に応じて最終的に上記ワークコイルC1,C2および保温ヒータH1が制御されるようになっている。
また、上記操作パネル部20の中央部には、炊飯、保温の各メニュー、設定された保温温度、設定保温時間並びに現在時刻および炊飯完了までの残時間その他の必要事項を表示する液晶表示部21が設けられている。
そして、同電気炊飯器では、上述した炊飯又は保温制御を加熱性能を重視した通常モードと該通常モードとは別の省エネ性能を重視した省エネモードとの2つの炊飯又は保温制御モードを備えており、通常モードの場合には初期水温、室温が所定値以下であることを条件として予じめメーカー側で定めた所定値以上の加熱出力、加熱パターン、加熱時間で加熱制御が行われるが、省エネモードの場合には、初期水温、室温が所定値以上であることを条件として、予じめメーカー側で設定した(又はユーザーが設定した)省エネ性の高い加熱出力、加熱パターン、加熱時間で加熱制御が行われるようになっている。
そして、これら省エネ、通常各モードの選択は、例えば後述する省エネ/通常選択スイッチ22iを押すことにより、省エネ又は通常何れか一方のモードに設定されるようになっている。
しかし、本実施の形態の場合、上記省エネモード又は通常モードの何れかが選択設定されたからと言って、以後の炊飯工程の全ての工程を単純に当該モードにおける基本的な加熱出力、加熱時間で制御するわけではなく、少なくとも吸水工程やむらし工程では、次に述べるように、その時の炊飯条件、一例として「初期水温」又は「室温」如何によって、加熱出力、加熱時間が細かく可変制御(補正)されるようになっている。
すなわち、冬季のように、使用される水の温度や室温が所定値以下に低い場合には、そのまま省エネモードで炊飯すると、吸水時間および吸水温度が不足して、良好な御飯の炊き上げを行うことができない。
他方、通常モードが選択されている時であっても、使用される水の温度や室温が高い時に、あえて吸水時間や吸水温度を高くすることは、電力の無駄を招く。
そこで、本実施の形態では、このような炊飯時の条件(初期水温/室温など)に応じて適切に省エネモード又は通常モードの切換え、又は各々の制御レベルを修正することができるようにしてあり、それによって炊飯性能および省エネ性能の両立を図るようにしている。
(炊飯器本体部分の構成)
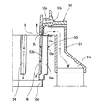
該電気炊飯器の炊飯器本体Aは、例えば図1に示すように、内部に誘起されるうず電流によって自己発熱が可能な例えばステンレス鋼板等の磁性金属板よりなる内鍋(飯器ないし保温容器)3と、該内鍋3を任意にセットし得るように形成された合成樹脂製の有底筒状の内ケース(保護枠)4と、該内ケース4を保持する外部筺体である有底筒状の外ケース1と、該外ケース1と上記内ケース4とを一体化して形成された炊飯器器体Aの上部に開閉可能に設けられた蓋ユニット(蓋)2とから構成されている。
上記内ケース4の底壁部(底部)4aの下方側にはコイル台7aが設けられ、その上部には、フェライトコア7bを介し、上記内鍋3の底壁部(底部)3aの中央部と側方部の各位置に対応して各々リッツ線が同心状に巻成された2組のワークコイルC1,C2が、それぞれ内鍋3の底壁部3aの中心部から側部に到る略全体を包み込むように設けられており、それにより通電時には内鍋3の略全体にうず電流を誘起して、その全体を略均一に加熱するようになっている。該ワークコイルC1,C2は、例えば相互に直列に接続されている(したがって、以下の動作説明および図3の制御回路図では単にワークコイルCとして示す)。
そして、その一端は、例えば図3の制御回路図に示すように整流回路35および平滑回路36を介した電源ラインに、また他端はIGBT(パワートランジスタ)37のコレクタにそれぞれ接続されている。
また、上記内ケース4の側壁部4bには、保温時において加熱手段として機能する保温ヒータH1が設けられており、保温時において上記内鍋3の全体を有効かつ均一に加熱するようになっている。
また、上記内ケース4の前面部側には、例えば図3に示されるような、ワークコイルC1,C2、保温ヒータH1、さらに後述する肩ヒータH2等を駆動制御する、上記IGBT37や保温ヒータ駆動回路33、肩ヒータ駆動回路45、電源電圧整流用のダイオードブリッジよりなる整流回路35、平滑回路36、マイコン制御ユニット32などを備えた制御回路基板9が上下方向に立設して設けられている。
この制御回路基板9の下部には、例えば上記IGBT37に接して放熱用のヒートシンク19が設けられ、その下部側には冷却ファン17が設けられている。冷却ファン17は、上記外ケース1の底部に形成された空気吸込グリル49aから吸入した空気を上記ヒートシンク19および制御基板9を介して内ケース4の外周囲に流し、必要な発熱部の冷却を行う。
一方、上記ヒートシンク19には、ヒートシンク19の上昇温度を検知するヒートシンクセンサ19aが設けられており、上記冷却ファン17の駆動回路16(図3参照)は、該ヒートシンクセンサ19aの検知温度が所定の設定値以上になると、作動して上記冷却ファン17を駆動する(詳細な制御については後述する)。
これにより、通常モードおよび省エネモードの何れの場合にも常時冷却ファン17を駆動する場合に比べて、可能な限り電力消費量を節減するようにしている。
また上記外ケース1は、例えば合成樹脂材で形成された上下方向に筒状のカバー部材1aと、該カバー部材1aの上端部に結合された合成樹脂製の肩部材11と、上記カバー部材1aの下端部に一体化された合成樹脂製の底部材1bとからなり、かつ上記内ケース4の底壁部4aとの間に所定の広さの断熱および通風空間部を形成した全体として有底の筒状体に構成されている。
該外ケース1の前面部上方には、例えば図2に示すような略半月形状の操作パネル部20が設けられている。該操作パネル部20面には、十分に広く大きな表示面積をもつ液晶表示部21と炊飯スイッチ22a、タイマー予約スイッチ22b、取消スイッチ22c、保温スイッチ22d、再加熱スイッチ22e、メニュー選択スイッチ22f、時スイッチ22g、分スイッチ22h、省通常エネモード選択手段である省エネ通常選択スイッチ22i等の各種入力スイッチが設けられている。そして、操作パネル部20の裏側には、操作基板5aとマイコン基板5bが設けられている。また、上記肩部材11の肩部内周側には、肩ヒータH2が設けられている。
さらに、上記内ケース4下方側のコイル台7aの中央部には、上下方向に同心状に貫通したセンタセンサ収納空間部が形成されており、該センタセンサ収納空間部中に上下方向に昇降自在な状態で、かつ常時コイルスプリングにより上方に上昇付勢された状態で図2に示す内鍋温度検知センサSおよび内鍋検知スイッチLSを備えたセンタセンサCSが設けられている。
一方、符号2は蓋ユニットであり、該蓋ユニット2は、その外周面を構成する合成樹脂製の外カバー12と、該外カバー12の内側に設けられた内カバー13と、該内カバー13の下方に蒸気パイプ15aを介して設けられた金属製の放熱板16とを備えて構成されている。また、放熱板16の外周縁部16cの内側には内鍋3の開口縁部3cに対応するパッキン14が設けられている一方、同外周縁部16cの外端は上述の肩ヒータH2の上面部に接触させられている。また、15は蒸気キャップである。
この蓋ユニット2は、上記外ケース1上部の肩部材11に対してヒンジ機構を介して回動自在に取付けられており、その開放端側には、該蓋ユニット2の所定位置に係合して該蓋ユニット2の上下方向への開閉を行うロック機構18が設けられている。
したがって、該構成では、先ず炊飯時には、上記内鍋3は、上記2組のワークコイルC1,C2の駆動により生じる渦電流によって、その底壁部3aから側壁部3b側にかけて略全体が均一に発熱し、例えば内鍋3内の水に浸された飯米が断熱部として作用する吸水工程などにおいても内鍋3の上部側をもムラなく加熱して略全体に均一な吸水性能を可能にするとともに、炊飯量が多い時などにも内鍋3の全体を略均一に加熱して加熱ムラなく効率良く炊き上げる。また、沸騰工程以降の水分がなくなった状態における内鍋3の底壁部3aの局部的な熱の集中を防止して焦げ付きの発生を防止することができる。
次に、保温時には、上記内鍋3の側壁部3bに対応して設けられた上記保温ヒータH1および開口縁部3cに設けられた肩ヒータH2の駆動により、内鍋3の底壁部3aから側壁部3bおよび上方部の全体が適切な加熱量で均一に加熱されて加熱ムラのない保温が実現される。
一方、上記制御回路基板9のマイコン制御ユニット32には、上記各入力スイッチ22a〜22iを介して入力されたユーザーの指示内容を判断する所望の認識手段が設けられており、該認識手段で認識されたユーザーの指示内容に応じて所望の炊飯又は保温機能、所望の炊飯又は保温メニュー、それら炊飯又は保温メニューに対応した所定の加熱パターンを設定して、その炊飯加熱制御手段又は保温加熱制御手段を適切に作動させて所望の炊飯又は保温を行うようになっている。
したがって、ユーザーは、上記各入力スイッチ22a〜22iを使って炊飯又は保温、タイマー予約、予約時刻設定、白米又は玄米、早炊、おかゆ、すしめし、炊き込み等の炊き分け、通常モード又は省エネモードその他の各種の炊飯又は保温機能の選択設定内容を入力すれば、それに対応した機能内容が当該マイコン制御ユニット32内の認識手段を介して炊飯および保温加熱パターン等設定部に自動的に設定入力され、対応する炊飯又は保温加熱制御が所望の制御パターン(通常/省エネ)で適切になされるようになる。
(炊飯器本体側制御回路部分の構成)
次に、図3は上述のように構成された炊飯器本体A側の炊飯および保温制御(通常/省エネ)、その他の制御を行うマイコン制御ユニット32を中心とする制御回路部分の構成を示す。
図中、符号32が上述のような炊飯加熱制御手段および保温加熱制御手段、内鍋温度判定手段、内鍋検知手段、ブザー報知手段等を備えた炊飯・保温・保温中止判定等制御用のマイコン制御ユニット(CPU)であり、該マイコン制御ユニット32はマイクロコンピュータを中心として構成され、例えば内鍋3の温度検知回路部、ワークコイル駆動制御回路部、内鍋3の検知回路部、発振回路部、リセット回路部、保温ヒータおよび肩ヒータ等駆動制御回路部、ブザー報知部、電源回路部等を各々有して構成されている。
そして、先ず上記内鍋3の底壁部3a側センタセンサCS部の内鍋温度検知センサS、内鍋検知スイッチLSに対応して設けられた温度検知回路43および鍋検知回路44には、例えば上記内鍋温度検知センサSによる内鍋3の底壁部3aの温度検知信号、内鍋検知スイッチLSによる鍋検知信号がそれぞれ入力されるようになっている。
また、上記ワークコイル駆動制御回路部は、例えばパルス幅変調回路41、同期トリガー回路40、IGBT駆動回路42、IGBT37、共振コンデンサ38によって形成されている。そして、上記マイコン制御ユニット32のワークコイル駆動制御回路部により、上記パルス幅変調回路41を制御することにより、例えば炊飯工程に応じて上記ワークコイルC(C1,C2)の出力値および同出力値でのONデューティー比(例えばn秒/16秒)をそれぞれ適切に変えることによって、炊飯工程の各工程における内鍋3の加熱温度と加熱パターンを炊飯量を考慮して適切に可変コントロールし、均一な吸水作用と加熱ムラのないご飯の炊き上げを実現するための適切な出力制御が行われるようになっている。
また同マイコン制御ユニット32の保温ヒータ駆動制御回路部および肩ヒータ駆動制御回路部により、それぞれ保温ヒータ駆動回路33および肩ヒータ駆動回路34を制御することにより、例えば保温又は炊飯工程に応じて上記保温ヒータH1、肩ヒータH2の出力値および同出力値でのONデューティー比(例えばn秒/16秒)をそれぞれ適切に変えることによって、保温又は炊飯工程の各工程における内鍋3の加熱温度と加熱パターンとを実際の炊飯量を考慮して適切に可変コントロールするための適切な出力制御が行われるようになっている。
また、符号22a〜22iは上述した各種入力スイッチ部であり、同スイッチの必要なものが適切に操作されると、上記マイコン制御ユニット32側の認識手段によってユーザーの指示内容が認識され、その認識内容に応じて所望の炊飯又は保温加熱パターンを設定して上記炊飯加熱制御手段又は保温加熱制御手段を適切に作動させて所望の炊飯又は保温(通常/省エネ)を行うようになっている。
したがって、ユーザーは、同入力スイッチ22a〜22iを使用して炊飯又は保温、タイマー予約、予約時刻設定、白米又は玄米、早炊、おかゆ、かため又はやわらかめ、すしめし、炊き込み等の炊き分け、通常モード又は省エネモード等の各種の炊飯又は保温機能の選択設定内容を入力すれば、それに対応した機能内容が当該マイコン制御ユニット32の上述した認識手段を介して炊飯又は保温加熱パターン設定部に自動的に設定入力され、対応する炊飯又は保温加熱制御が適切になされる。
なお、図2、図3中の符号23aは炊飯表示ランプ、23bは保温表示ランプ、23cは予約表示ランプ、23dは省エネ表示ランプ、また図3中の符号39は、上記IGBT37のフライホイールダイオード、35は、家庭用AC電源30との間に挿入された上記ワークコイル駆動用のダイオードブリッジを内蔵した電源側整流回路、36はその平滑回路である。
さらに、符号17は前述の冷却ファン、16は同冷却ファン17の駆動回路、19aはヒートシンクセンサ、21は液晶表示部である。この実施の形態の場合、上記液晶表示部21には、上記入力スイッチ22a〜22iのON操作に対応して所望のメニューや時刻等の必要事項が表示され、以後設定内容に応じた必要な表示がなされて行くようになっている。
なお、図3の制御回路では、繁雑さを避けるために、上記マイコン制御ユニット32側への定電圧電源回路は省略して示している。
(炊飯〜保温制御)
(1) 通常モード
先ず、図4のフローチャートは、本実施の形態1の通常モードにおける基本的な炊飯〜保温制御フロー(メインルーチン)を示すものである。
すなわち、該炊飯〜保温制御フローでは、先ず炊飯器本体側の炊飯スイッチ22aが押された時点で、上述のワークコイルCをONにして炊飯を開始し、その制御動作をスタートさせる。
そして、先ずステップS1で、吸水タイマーのタイマー動作をスタートさせて吸水工程に入る。
その後、吸水時間が経過すると、ステップS2の昇温工程に進んで、上記ワークコイルCのフルパワー出力で内鍋3を加熱し、飯米を速やかに昇温させる。その後、ステップS3に進み、昇温工程の途中において炊飯量を判定し、その判定結果に対応して、その量の炊飯に必要な以後の電力量を設定して、ステップS4の沸とう維持工程(炊き上げ工程)を実行する。
そして、以後、同ステップS4の沸とう維持工程(炊き上げ工程)を経てステップS5の炊き上げ検知判定に進み、上記温度検知センサSによって検知される内鍋3の温度が、炊き上げ検知温度以下であるか、それよりも高くなったかを判定し、YES(以下)の場合は沸とう維持(炊き上げ)を継続するが、NO(より高い)の時は炊き上げ完了と判断して、ステップS6のむらし工程に進む。
そして、同むらし工程が終了(むらし時間が経過)すると、それにより炊飯を完了し、以後ステップS7の保温工程に移行する。
(2) 省エネモード
次に、図5のフローチャートは、本実施の形態1の省エネモードにおける基本的な炊飯〜保温制御フロー(メインルーチン)を示すものである。
すなわち、該炊飯〜保温制御フローでは、先ず炊飯器本体側の炊飯スイッチ22aが押された時点で、上述のワークコイルCをONにして炊飯を開始し、その制御動作をスタートさせる。
そして、先ずステップS1で、吸水工程を省略し、最初から昇温工程に進んで、上記フルパワーよりも所定量小さい省エネ出力で内鍋3を加熱し、飯米を昇温させる。その後、ステップS2に進み、昇温工程の途中において炊飯量を判定し、その判定結果に対応して、その量の炊飯に必要な以後の電力量を設定して、ステップS3の沸とう維持工程(炊き上げ工程)を実行する。
そして、以後、同ステップS3の沸とう維持工程(炊き上げ工程)を経てステップS4の炊き上げ検知判定に進み、上記温度検知センサSによって検知される内鍋3の温度が、炊き上げ検知温度以下であるか、それよりも高くなったかを判定し、YES(以下)の場合は沸とう維持(炊き上げ)を継続するが、NO(より高い)の時は炊き上げ完了と判断して、むらし工程を省略して、そのままステップS5の保温工程に進む。
このように、本実施の形態では、炊飯制御モードとして省エネ性の高い省エネモードと炊飯性能の高い通常モードとの2つの基本制御モードを備えている。
しかし、先にも述べたように、使用される水の温度や室温が所定値以下に低い場合には、そのまま省エネモードで炊飯すると、吸水時間および吸水温度が不足して、良好な御飯の炊き上げを行うことができない。
他方、通常モードが選択されていてる時であっても、使用される水の温度や室温が所定値よりも十分に高い時に、あえて吸水時間や吸水温度を高くすることは、消費電力の無駄である。
そこで、本実施の形態では、このような炊飯時の条件(初期水温/室温など)に応じて適切に省エネモードから通常モードへの切換え(吸水工程への移行)、又は省エネモード、通常モード各々の制御レベル(吸水時間/吸水温度)を+−(長短/高低)両方向に修正することができるようにしてあり、それらの方法によって炊飯性能および省エネ性能の両立を図るようにしている。
これらの観点から行われる本実施の形態における各種の制御形態について、以下詳細に説明する。
(省エネモードから通常モードへの移行および省エネモードへの復帰制御)
上述の省エネモードを選択して、吸水工程を省略(又は吸水時間を短かくするか、吸水温度を低く)した場合、例えば冬季のように、使用される水の温度や室温が低すぎる場合には、そのまま省エネモードで炊飯すると、良好な御飯の炊き上げを行うことができない問題が生じる。
したがって、本制御では、例えば図6又は図10のフローチャートに示すように、そのような初期水温又は室温が所定の基準値よりも低い場合には、吸水時間又は吸水温度が高い通常モードの吸水制御に切り換えることによって、炊飯性能を確保するようにしている。
(1) 初期水温をパラメータとする場合(図6のフローチャートを参照)
すなわち、該制御では、先ずステップS1で、現在設定されている炊飯制御モードが省エネモードであるか否かを判定する。その結果、NOの通常モード(非省エネモード)である場合には、ステップS2に進んで、当該通常モード(図7のタイムチャートを参照)での炊飯制御を行って保温工程に移行する。
他方、YESの省エネモードの場合には、ステップS3に進んで、上記内鍋温度検知センサSの出力から初期水温が所定の基準値α以下であるか否かを判定する。その結果、NOの初期水温が基準値αよりも高い場合には、そのままステップS6に進み、吸水工程およびむらし工程を省略した本来の省エネモード(図9のタイムチャートを参照)を実行する。
他方、YESの初期水温が所定の基準値α以下である低水温の場合には、ステップS4に進み、通常モードの場合と同様に吸水工程に移行して吸水工程を実行し、ステップS5で吸水時間の経過が判定されて吸水工程が終了すると、以後はステップS6に進み、再び元の予じめ設定されている省エネモードでの制御(むらし工程省略)に戻って省エネ性の高い炊飯を実行する(図8のタイムチャートを参照)。
(2) 室温をパラメータとする場合(図10のフローチャートを参照)
すなわち、該制御では、先ずステップS1で、現在設定されている炊飯制御モードが省エネモードであるか否かを判定する。その結果、NOの通常モード(非省エネモード)である場合には、ステップS2に進んで、当該通常モード(図7のタイムチャートを参照)での炊飯制御を行って保温工程に移行する。
他方、YESの省エネモードの場合には、ステップS3に進んで、所定の室温センサの出力から室温が所定の基準値α以下であるか否かを判定する。その結果、NOの実際の室温が基準値αよりも高い場合には、そのままステップS6に進み、吸水工程およびむらし工程を省略した本来の省エネモード(図9のタイムチャートを参照)を実行する。
他方、YESの室温が所定の基準値α以下である低室温の場合には、ステップS4に進み、通常モードの場合と同様に吸水工程に移行して吸水工程を実行し、ステップS5で吸水時間の経過が判定されて吸水工程が終了すると、以後はステップS6に進み、再び元の予じめ設定されている省エネモードでの制御(むらし工程省略)に戻って省エネ性の高い炊飯を実行する(図8のタイムチャートを参照)。
(低水温時の省エネモードにおける吸水時間の延長制御)
上述のように、省エネモードでは基本的に吸水工程を省略し、初期水温又は室温が所定の基準値よりも低い場合にのみ、例外として吸水工程に移行させるという方法が採用されている。
しかし、このような方法以外に、例えば図12のタイムチャートのように、省エネモードにおいても極めて短かい吸水時間(例えば2分)の吸水工程をもたせておき、初期水温(又は室温)が所定の基準温度よりも低くなる毎に所定のレベルで吸水時間を長くして行くという方法も考えられる。
このような方法によると、炊飯時の条件(水温/室温など)に応じて、適切に省エネモードの制御レベル(吸水時間)を修正することができ、炊飯性能および省エネ性能共に優れた電気炊飯器を提供することができる。
図11のフローチャートは、このような観点から構成されている。
すなわち、該制御では、先ずステップS1で、現在設定されている炊飯制御モードが省エネモードであるか否かをを判定する。
その結果、NOの通常モードである場合には、ステップS2〜ステップS5に進んで、吸水、昇温、炊き上げ、むらしの各工程を実行した後、ステップS6の保温工程に進む。
他方、YESの省エネモードの場合には、先ずステップS7で内鍋3内の水の温度、すなわち初期水温を検知する。
そして、続いてステップS8、S12、S15、S18、S21の各々で、同検知された初期水温が、20℃以上、15〜20℃、10〜15℃、5〜10℃、5℃以下の5段階の何れのレベルのものであるかを順次判定する。
その結果、初期水温が20℃以上の高温度である場合には、ステップS9に進んで最も短かい吸水時間2分に設定して吸水制御を行う。そして、その後、ステップS10の昇温工程、ステップS11の炊き上げ工程を経て、むらしを行うことなくステップS6の保温工程に進む。
また、15〜20℃の場合には、ステップS13で上記基本となる最も短かい吸水時間2分を、さらに2分間長く延長し、ステップS14で吸水時間4分の吸水制御を行う。
そして、その後、ステップS10の昇温工程、ステップS11の炊き上げ工程を経て、むらしを行うことなくステップS6の保温工程に進む。
また、10〜15℃の場合には、ステップS10で上記基本となる最も短かい吸水時間2分を、さらに4分間長く延長し、ステップS17で吸水時間6分の吸水制御を行う。
そして、その後、ステップS10の昇温工程、ステップS11の炊き上げ工程を経て、むらしを行うことなくステップS6の保温工程に進む。
また、5〜10℃の場合には、ステップS19で上記基本となる最も短かい吸水時間2分を、さらに6分間長く延長し、ステップS20で吸水時間8分の吸水制御を行う。
そして、その後、ステップS10の昇温工程、ステップS11の炊き上げ工程を経て、むらしを行うことなくステップS6の保温工程に進む。
また、5℃以下の場合には、ステップS22で上記基本となる最も短かい吸水時間2分を、さらに8分間長く延長し、ステップS23で吸水時間10分の吸水制御を行う。
そして、その後、ステップS10の昇温工程、ステップS11の炊き上げ工程を経て、むらしを行うことなくステップS6の保温工程に進む。
このような方法によると、炊飯時の条件(水温/室温など)に応じて、適切に省エネモードの制御レベル(吸水時間)を修正することができ、炊飯性能および省エネ性能共に優れた電気炊飯器を提供することができる。
(高水温時の通常モードにおける吸水時間の短縮制御)
上記低水温時の省エネモードでは、省エネモードにおいても極めて短かい吸水時間(例えば2分)の吸水工程をもたせ、これをベースとして初期水温(又は室温)が所定の基準温度よりも低くなる毎に所定の段階で吸水時間を長くして行くことにより炊飯性能の低下を補うという方法を採用した。
これに対し、例えば通常モードが選択されていてる時であっても、使用される水の温度や室温が所定温度よりも高い時に、あえて通常モード本来の固定値で吸水時間や吸水温度を高くすることは、電力の無駄を招く。
そこで、本制御形態では、例えば図14のタイムチャートに示すように、当該初期水温の高さに応じ、初期水温が高い時には低い時よりも吸水時間を短かくすることによって、通常モードにおいても、可能な限り省エネを図ることができるようにしている。
すなわち、該制御では、先ずステップS1で、現在設定されている炊飯制御モードが通常モードであるか否かをを判定する。
その結果、NOの省エネモードである場合には、ステップS2、ステップS3に進んで、昇温、炊き上げの各工程を実行した後、そのままステップS4の保温工程に進む。
他方、YESの通常モードの場合には、先ずステップS5で内鍋3内の水の温度、すなわち初期水温を検知する。
そして、続いてステップS6、S11、S14、S17、S20の各々で、同検知された初期水温が、25℃以下、25〜30℃、30〜35℃、35〜40℃、40℃以上の5段階の何れのレベルのものであるかを順次判定する。
その結果、先ず25℃以下の低温度である場合には、ステップS7に進んで最も長い吸水時間12分に設定して吸水制御を行う。そして、その後、ステップS4の昇温工程、ステップS9の炊き上げ工程、ステップS10のむらし工程を経て、ステップS4の保温工程に進む。
また、25〜30℃の場合には、ステップS11で上記基本となる最も長い吸水時間12分を、さらに2分間短かくカットし、ステップS13で吸水時間10分の吸水制御を行う。 そして、その後、ステップS8の昇温工程、ステップS9の炊き上げ工程、ステップS10のむらし工程を経て、ステップS4の保温工程に進む。
また、30〜35℃の場合には、ステップS15で上記基本となる最も長い吸水時間12分を、6分間短かくカットし、ステップS19で吸水時間6分の吸水制御を行う。
そして、その後、ステップS8の昇温工程、ステップS9の炊き上げ工程、ステップS10のむらし工程を経て、ステップS4の保温工程に進む。
また、40℃以下の場合には、ステップS21で上記基本となる最も長い吸水時間12分を、8分間短かくカットし、ステップS22で吸水時間4分の吸水制御を行う。
そして、その後、ステップS8の昇温工程、ステップS9の炊き上げ工程、ステップS10のむらし工程を経て、ステップS4の保温工程に進む。
このような構成によれば、初期水温が高いほど吸水時間を短かくすることができるので、通常モードにおいても、十分な省エネ性能の向上を図ることができる。
(省エネモードにおける加熱不足対策制御)
上述のような省エネモードで炊飯を行った場合、電力消費量は有効に節減できるが、時として電力量不足のために炊き上がり不良となるケースが生じる。
そこで、本制御では、これに対する対策として、例えば図15のタイムチャートに示すように、昇温および炊き上げ両工程における消費電力量を積算し、同積算量が昇温工程において合数判定された炊飯量に対して少ないか否かを判定し、少なかった場合には、炊き上げ検知後に通常モード時と同様に「むらし」工程に移行させて十分にむらし加熱を行った後に保温工程に移行させる。
また同様の対策として、例えば図16のタイムチャートに示すように、昇温および炊き上げ両工程における消費電力量を積算し、同積算量が昇温工程において合数判定された炊飯量に対して少ないか否かを判定し、少なかった場合には、炊き上げ検知後に、特に「追い炊き」工程に移行させて再加熱を行った後に保温工程に移行させる。
このようにすると、略炊飯量に対応した加熱量が確保され、可及的に炊飯不良を避けることができる。
(省エネモードとリンクした冷却ファンの制御)
一般に通常モードではフルパワーで炊飯するので、消費電力量が大きく、IGBT37等の発熱部の発熱量も大きい。したがって、通常冷却ファン17は炊飯開始時から連続的に駆動される一方、省エネモード時にはヒートシンクセンサ19aの検知温度が所定値以上に上昇した時に初めて冷却ファン17を駆動することによって、可及的に消費電力を節減するようにしている。
本制御形態では、これに対して、さらに室温をもパラメータに加え、その時の設定モードが省エネモードであるか、通常モードであるかの何れかに応じて、次のような制御を行う。
すなわち、先ず設定モードが省エネモードである場合において、室温がある温度α以上の場合には、例えば図17のフローチャートに示すように、通常モードへ移行して(S1→S2→S3→S5)、冷却ファン17を連続的に作動させる一方、室温がαよりも低い時にはヒートシンクセンサ19aの温度が所定値α以上になるまでは冷却ファンを駆動せず、可及的に省エネを図る(S1→S2→S3→S4→S6)。
次に設定モードが通常モードである場合において、室温がある温度α以下の場合には、図18のフローチャートのように省エネモードへ移行し(S1→S2→S3→S4)、冷却ファンOFFの状態を継続して可及的に省エネを図る。そして、その後、ヒートシンクセンサ19aが所定値以上の温度を検知した後に初めて冷却ファン17を連続的に作動させる(S5→S6)。
これらの結果、何れの場合においても、室温が低いか、ヒートシンク19の温度が低い限り、ファンは駆動されないので、それだけ省エネ性が向上する。
<実施の形態2>
次に図19および図20は、本願発明の実施の形態2に係る電気炊飯器の炊飯器本体および要部の構成を示している。
すでに述べたように、本願発明では通常モードと共に省エネモードを設け、省エネ性能向上の観点から制御上各種の省エネ対策を講じている。
しかし、より効果的な省エネ対策は、同制御システムが適用される炊飯器本体についてもなされなければならない。
本実施の形態は、このような見地からなされたものであり、炊飯器本体の内ケース4の上端4b部分に、側面断熱部材53嵌合用の溝を設け、該溝と肩部材11の内縁部52内周側の先端52aとの間に、真空二重壁構造の側面断熱部材53を挟み込んで構成されている。
このため、炊飯又は保温時何れの場合にあっても内鍋3外周の保熱性、断熱性が高くなり、省エネ性能の向上に寄与する。
側面断熱部材53は、例えば図20に詳細に示すように、内外2枚の金属プレート53a,53bの間に真空断熱空間53eを形成し、それらの上下両端53c,53d側を接合一体化して全体として筒状に構成されている。
そして、その内周面側には、上端側から下端側にかけて所定の深さのリブ溝(縦溝)54,54・・・が周方向に一定の間隔をおいて設けられている。
一方、同側面断熱部材53の上端53c側所定幅の接合縁部は、半径方向外側に水平に折り曲げられ、その上面側には冷却風供給ダクト51の冷却風供給通路51aの下流側冷却風吹出口51bが開口せしめられている。この冷却風吹出口51bは、肩部材11の内縁部材52の鉤状の先端52a(具体的には、その下端側に開口された開口部)と上記側面断熱部材53の上端53c側接合縁部との間で、内鍋3側への冷却風導入路55を形成しており、同冷却風導入路55を介して導入される冷却風(図20中の矢印参照)が上記複数のリブ溝54,54・・・を通してスムーズに内鍋3の外周面に均等に供給されるようになっている。
上記冷却風供給ダクト51の下部側は、漏斗形状に下方側ほど開口面積が大きく開口されており、その下には第2の冷却ファン50が設けられている。
第2の冷却ファン50は、外ケース1のカバー部材1a部分に設けられた空気吸込グリル49b部分から吸い込んだ空気を上記冷却風供給ダクト51内の冷却風供給通路51a、冷却風吹出口51b、肩部材11の内縁部52側冷却風導入通路55を介してリブ溝54,54・・・部分に効率良く供給する。
これにより、通常モードでのむらし工程から保温工程への移行、省エネモードでの炊き上げ検知から保温工程への移行が、短時間でスムーズに行われる。
また内鍋3外周面への冷却風ガイド通路を形成する上記リブ溝54,54・・・は、補強リブとしても機能し、側面断熱部材53の変形を防止する。
<実施の形態3>
上述の実施の形態2のように側面断熱部材53を使用すると、内鍋3の保熱性、外部との断熱性が高くなり、省エネ機能が向上する。
そして、上述のように、それを内鍋3側への冷却風ガイドとしても活用することができる。
これに対し、本実施の形態では、同側面断熱部材53のリブ溝54,54・・・を、例えば図21に示すように、肩部材11の内縁部52の先端52a側から侵入する侵入水の内鍋3側への排出ガイドとして利用するようにしたものである。
すなわち、上述した本願発明の各実施の形態のように、肩部材11の内縁部52の内周側先端52aの上部に肩リング(環状の肩ヒータ取付部材)56を介して肩ヒータH2を取り付ける構造の場合、肩リング56の下面側に設けた爪部材56bを上記先端52aの取付面に形成した無理嵌め孔内に嵌合して固定するようになっている。そして、肩リング56の肩ヒータ設置面には放熱用の開口56aが形成されている。
したがって、蓋側放熱板16の外周縁部16c等から侵入する結露水等が、同開口56aや無理嵌め孔を介して下方に流れ落ちてきて、そのままでは内ケース4の外側からワークコイルC1,C2部等に侵入する恐れがある。
そこで、本実施の形態では、上述した側面断熱部材53の上端53c側接合縁部を上方に起立させて図示のような縦壁構造に形成し、同部分で侵入水を受け止める一方、内鍋3側への水導入用開口55(前述の冷却風導入通路に相当)を介してリブ溝54,54・・・内に流す(矢印参照)。
この結果、上記侵入水は確実に内ケース4内に集められる。
<実施の形態4>
上述の実施の形態2,3のように側面断熱部材53を使用すると、内鍋3の保熱性、外部との断熱性が高くなり、省エネ機能が向上する。
そして、それを内鍋3側への冷却風ガイドや水ガイドとしても活用することができる。
本実施の形態では、それらの各構成に加えて、さらに断熱性能、保熱性能を向上させるために、例えば図22に示すように内ケース4の側壁部に設置された保温ヒータH1の外周を覆う断熱プレート(熱反射板)57を上記側面断熱部材53の下部側からスカート状に連続させて設けたことを特徴とするものである。
取り付け方としては、その上端側所定幅の小径部分57aを側面断熱部材53の下部にスポット溶接して一体化し、その下部側スリーブ部57bを保温ヒータH1の外周に対応させて配置するようにする。
このような構成によると、特に保温時に保温ヒータH1の熱が外部に逃げることなく内鍋3側に有効に作用する。また、冷却時には逆に放熱フィンとして機能するので、好都合である。
<実施の形態5>
上述のように内鍋3の外周部に側面断熱部材53を設けたり、保温ヒータH1の外周に断熱プレート57を設けると、内鍋3の断熱性、保熱性が有効に向上する。
これと同様の考え方は、ワークコイル設置部についても同様に適用することができる。
例えば図23は、上述した保温ヒータH1に変えて側面ワークコイルC3を採用した電気炊飯器であり、第1の内ケース4の側壁部の上端部4b上に、さらに第2の内ケース4cを設け、その外周側に断熱空間60を介して側面ワークコイルC3を巻成している。また、その外周には、さらに磁気シールド機能を有した遮熱板62が配置されている。遮熱板62には、ワークコイル冷却用の通気孔が形成されている。
このような構成によると、断熱空間60によりワークコイル設置部の断熱性能が向上する。しかも、断熱空間60の外周側にワークコイルC3があるため、炊飯時等におけるワークコイルC3の冷却は容易である。
<実施の形態6>
上記実施の形態5の構成では、第2の内ケース4cの断熱空間60を介して側面ワークコイルC3を設置するようにした。これに対して、本実施の形態では、例えば図24に示すように、断熱空間60に変えてシリコンシートなどの透磁性のあるシート状の断熱材61を介して側面ワークコイルC3を設置したことを特徴としている。
電磁誘導加熱はワークコイルに高周波電流を印加し、その電磁誘導作用による発熱で内鍋を加熱している。そのため、ワークコイル自体も自己発熱を避けることはできない。
そして、ワークコイルに使用している線材には材質に応じた温度上限がある。また、法規上も、その材質に応じた温度上限が設けられている。
このような事情から、電磁誘導加熱式の電気炊飯器では、一般に冷却用のファンを設け、炊飯中はIH回路を冷却すると同時にワークコイルも同時に冷却している。したがって、どうしても電力消費量が大きくなる。
しかるに、最近では、電気炊飯器の省エネ性能の向上が課題となっている。
したがって、炊飯時には上記のようなワークコイルの冷却を十分に行うことができ、逆に保温時には断熱効果が高い炊飯器構造が必要となる。
そこで、上述のように、透磁性のあるシート状の断熱材61をワークコイルC3と第2の内ケース4dとの間に設けるようにすると、炊飯中にはワークコイルC3の冷却を行いやすく、逆に保温時には断熱効果を高くすることが可能となる。
(変形例)
上記の説明では、側面ワークコイルC3の場合についてのみ説明した。
しかし、炊飯時には冷却を十分に行うことができ、逆に保温時には断熱効果を高くしたいという要求は、むしろ底部側ワークコイルC1,C2の方が大きい。
一般に内鍋底部側のワークコイルC1,C2形状はお椀形状をしている。したがって、断熱材も同様の形状にすることが効果的な断熱をするために必要となる。
しかし、断熱材をお椀形状(半球形状)にすると、コスト的に高価なものとなってしまう。
そこで、底部の場合にも、上述の図24のようなシート状(平面)の断熱材形状とし、底部側ワークコイルC1,C2部にセットすると、ちょうどワークコイルC1,C2の全体を覆うような適切な形状となる。
このような構成によると、安価な費用で内鍋3の底部全体を覆い、有効に断熱効果を発揮させることができる。
<実施の形態7>
以上の各実施の形態において一貫して述べて来たように、最近の電気炊飯器には高い省エネ性能が要求されている。
本実施の形態では、蓋ユニット2側放熱板16の構造を改良することによって、その要求に応えようとするものである。
すなわち、上述の図1および図19に示す電気炊飯器Aでは、例えば図25に示すような構造の放熱板16が使用されている。
該放熱板16は、上面側が開口した皿状の放熱板本体16aを中心とし、その外周にパッキン14嵌合用の凹部16fと肩ヒータH2への当接部16dとを備えた外周縁部16cが設けられている。また皿状の放熱板本体16aの側面部には、パッキン固定用の凸状のリブ16eが、さらに同本体16aの底壁面には複数の蒸気抜き穴16b,16b・・・が、それぞれ設けられている。
したがって、このような構成の放熱板16の場合、内鍋3内の蒸気Bは、上記蒸気抜き穴16b,16b・・・を介して直に上方側蒸気パイプ15a側に出て行く。また、同部分における断熱効果は低い。
そこで、本実施の形態では、例えば図26に示すように、上記皿状の放熱板本体16aの凹部内に逆方向に開口した同じく皿状の断熱カバー70を嵌合固定し、それらの間に所定の間隔の断熱空間71を形成するとともに、断熱カバー70側の複数の蒸気抜き穴70b,70b・・・を放熱板16側の蒸気抜き穴16b,16b・・・とは半径方向および周方向の位置を変えて設けることにより、蒸気Bが大きく迂回しながら蒸気パイプ15a側へ出て行くようにしている。
断熱カバー70は、ポリプロピレン等の耐熱性合成樹脂材よりなり、所定の板厚を有して構成されている。該断熱カバー70の外側面部には、上記放熱板本体16a側面部のリブ16eの内側凹部に嵌合する凸状のリブ70dが設けられており、それらを相互に嵌合させることにより固定されている。
このような構成によると、放熱板16部分の断熱性能が大きく向上し、さらに省エネ性能が向上する。
また放熱板16部分に生じる結露量が大きく減少し、蒸気の放出経路が長くなるため、ふきこぼれ防止性能が向上する。
Aは炊飯器本体、C1〜C3,Cはワークコイル、H1は保温ヒータ、H2は肩ヒータ、1は外ケース、2は蓋ユニット、3は内鍋、16は放熱板、17は冷却ファン、19はヒートシンク、19aはヒートシンクセンサ、22iは省エネ/通常選択スイッチ、23dは省エネ表示ランプ、30はAC電源、32はマイコン制御ユニット、50は第2の冷却ファンである。

Claims (2)

  1. 炊飯加熱制御手段および保温加熱制御手段を備え、炊飯加熱制御手段による炊飯工程終了後、保温加熱制御手段による保温工程に移行するようにするとともに、炊飯制御モードとして、通常モードと該通常モードに比べて省エネ性が高い省エネモードとの2つの制御モードを備えてなる電気炊飯器であって、昇温および炊き上げ両工程における消費電力量を積算し、同積算量が昇温工程において合数判定された炊飯量に対して少ないか否かを判定し、少なかった場合には、炊き上げ検知後に通常モード時と同様にむらし工程に移行させて、十分にむらし加熱を行った後に保温工程に移行させるようにしたことを特徴とする電気炊飯器。
  2. 炊飯加熱制御手段および保温加熱制御手段を備え、炊飯加熱制御手段による炊飯工程終了後、保温加熱制御手段による保温工程に移行するようにするとともに、炊飯制御モードとして、通常モードと該通常モードに比べて省エネ性が高い省エネモードとの2つの制御モードを備えてなる電気炊飯器であって、昇温および炊き上げ両工程における消費電力量を積算し、同積算量が昇温工程において合数判定された炊飯量に対して少ないか否かを判定し、少なかった場合には、炊き上げ検知後に追い炊き工程に移行させて、再加熱を行った後に保温工程に移行させるようにしたことを特徴とする電気炊飯器。
JP2010007948A 2010-01-18 2010-01-18 電気炊飯器 Expired - Fee Related JP5077361B2 (ja)

Priority Applications (1)

Application Number Priority Date Filing Date Title
JP2010007948A JP5077361B2 (ja) 2010-01-18 2010-01-18 電気炊飯器

Applications Claiming Priority (1)

Application Number Priority Date Filing Date Title
JP2010007948A JP5077361B2 (ja) 2010-01-18 2010-01-18 電気炊飯器

Related Parent Applications (1)

Application Number Title Priority Date Filing Date
JP2005213639A Division JP4577133B2 (ja) 2005-07-25 2005-07-25 電気炊飯器

Publications (2)

Publication Number Publication Date
JP2010082467A true JP2010082467A (ja) 2010-04-15
JP5077361B2 JP5077361B2 (ja) 2012-11-21

Family

ID=42246960

Family Applications (1)

Application Number Title Priority Date Filing Date
JP2010007948A Expired - Fee Related JP5077361B2 (ja) 2010-01-18 2010-01-18 電気炊飯器

Country Status (1)

Country Link
JP (1) JP5077361B2 (ja)

Cited By (3)

* Cited by examiner, † Cited by third party
Publication number Priority date Publication date Assignee Title
JP2012200273A (ja) * 2011-03-23 2012-10-22 Zojirushi Corp 炊飯器
JP2013042773A (ja) * 2011-08-22 2013-03-04 Takaaki Tanaka 炊飯方法及び炊飯器のプログラム
JP2019170429A (ja) * 2018-03-27 2019-10-10 株式会社ハーマン 加熱調理器

Citations (4)

* Cited by examiner, † Cited by third party
Publication number Priority date Publication date Assignee Title
JPS5849123A (ja) * 1981-09-18 1983-03-23 三洋電機株式会社 炊飯器
JPH0221821A (ja) * 1988-07-08 1990-01-24 Zojirushi Corp 炊分け炊飯方法
JPH1189712A (ja) * 1997-09-25 1999-04-06 Zojirushi Vacuum Bottle Co 炊飯器
JP2005046492A (ja) * 2003-07-31 2005-02-24 Toshiba Home Technology Corp 炊飯器

Patent Citations (4)

* Cited by examiner, † Cited by third party
Publication number Priority date Publication date Assignee Title
JPS5849123A (ja) * 1981-09-18 1983-03-23 三洋電機株式会社 炊飯器
JPH0221821A (ja) * 1988-07-08 1990-01-24 Zojirushi Corp 炊分け炊飯方法
JPH1189712A (ja) * 1997-09-25 1999-04-06 Zojirushi Vacuum Bottle Co 炊飯器
JP2005046492A (ja) * 2003-07-31 2005-02-24 Toshiba Home Technology Corp 炊飯器

Cited By (4)

* Cited by examiner, † Cited by third party
Publication number Priority date Publication date Assignee Title
JP2012200273A (ja) * 2011-03-23 2012-10-22 Zojirushi Corp 炊飯器
JP2013042773A (ja) * 2011-08-22 2013-03-04 Takaaki Tanaka 炊飯方法及び炊飯器のプログラム
JP2019170429A (ja) * 2018-03-27 2019-10-10 株式会社ハーマン 加熱調理器
JP7173743B2 (ja) 2018-03-27 2022-11-16 株式会社ハーマン 加熱調理器

Also Published As

Publication number Publication date
JP5077361B2 (ja) 2012-11-21

Similar Documents

Publication Publication Date Title
JP5077361B2 (ja) 電気炊飯器
JP5233095B2 (ja) 電気炊飯器
JP4577133B2 (ja) 電気炊飯器
JP2011217874A (ja) 電気炊飯器
JP2003325331A (ja) 誘導加熱式電気炊飯器
JP5050441B2 (ja) 電気炊飯器
JP4910441B2 (ja) 電気炊飯器
JP3627714B2 (ja) 電気炊飯器
JP5040155B2 (ja) 電気炊飯器
JP3187320B2 (ja) 電気炊飯器
JP2004321215A (ja) 電気調理器
JP5494683B2 (ja) 電気炊飯器
JP4923286B2 (ja) 電気炊飯器
JP3985789B2 (ja) 電気炊飯器
JP4821517B2 (ja) 電気炊飯器
JP4577081B2 (ja) 電気炊飯器
JP5338942B2 (ja) 電気炊飯器
JP3772844B2 (ja) 電気炊飯器
JP2011189036A (ja) 電気炊飯器
JP3610965B2 (ja) 電気炊飯器
JP3977755B2 (ja) 電気炊飯器
JP2009268844A (ja) 電気炊飯器
JPH07278A (ja) 誘導加熱炊飯器
JP3055459B2 (ja) 電気炊飯器
JP5154774B2 (ja) 電気炊飯器

Legal Events

Date Code Title Description
A621 Written request for application examination

Free format text: JAPANESE INTERMEDIATE CODE: A621

Effective date: 20100118

A977 Report on retrieval

Free format text: JAPANESE INTERMEDIATE CODE: A971007

Effective date: 20111219

A131 Notification of reasons for refusal

Free format text: JAPANESE INTERMEDIATE CODE: A131

Effective date: 20120104

RD02 Notification of acceptance of power of attorney

Free format text: JAPANESE INTERMEDIATE CODE: A7422

Effective date: 20120106

A521 Request for written amendment filed

Free format text: JAPANESE INTERMEDIATE CODE: A523

Effective date: 20120213

RD02 Notification of acceptance of power of attorney

Free format text: JAPANESE INTERMEDIATE CODE: A7422

Effective date: 20120220

TRDD Decision of grant or rejection written
A01 Written decision to grant a patent or to grant a registration (utility model)

Free format text: JAPANESE INTERMEDIATE CODE: A01

Effective date: 20120731

A01 Written decision to grant a patent or to grant a registration (utility model)

Free format text: JAPANESE INTERMEDIATE CODE: A01

A61 First payment of annual fees (during grant procedure)

Free format text: JAPANESE INTERMEDIATE CODE: A61

Effective date: 20120813

FPAY Renewal fee payment (event date is renewal date of database)

Free format text: PAYMENT UNTIL: 20150907

Year of fee payment: 3

R150 Certificate of patent or registration of utility model

Ref document number: 5077361

Country of ref document: JP

Free format text: JAPANESE INTERMEDIATE CODE: R150

Free format text: JAPANESE INTERMEDIATE CODE: R150

S531 Written request for registration of change of domicile

Free format text: JAPANESE INTERMEDIATE CODE: R313531

R350 Written notification of registration of transfer

Free format text: JAPANESE INTERMEDIATE CODE: R350

LAPS Cancellation because of no payment of annual fees