JP2010082249A - 枠構造及び遊技機 - Google Patents

枠構造及び遊技機 Download PDF

Info

Publication number
JP2010082249A
JP2010082249A JP2008255467A JP2008255467A JP2010082249A JP 2010082249 A JP2010082249 A JP 2010082249A JP 2008255467 A JP2008255467 A JP 2008255467A JP 2008255467 A JP2008255467 A JP 2008255467A JP 2010082249 A JP2010082249 A JP 2010082249A
Authority
JP
Japan
Prior art keywords
frame
gaming machine
machine
frame structure
support position
Prior art date
Legal status (The legal status is an assumption and is not a legal conclusion. Google has not performed a legal analysis and makes no representation as to the accuracy of the status listed.)
Granted
Application number
JP2008255467A
Other languages
English (en)
Other versions
JP5131768B2 (ja
Inventor
Norio Mori
教郎 森
Keiichi Shimada
恵一 島田
Current Assignee (The listed assignees may be inaccurate. Google has not performed a legal analysis and makes no representation or warranty as to the accuracy of the list.)
Sammy Corp
Original Assignee
Sammy Corp
Priority date (The priority date is an assumption and is not a legal conclusion. Google has not performed a legal analysis and makes no representation as to the accuracy of the date listed.)
Filing date
Publication date
Application filed by Sammy Corp filed Critical Sammy Corp
Priority to JP2008255467A priority Critical patent/JP5131768B2/ja
Publication of JP2010082249A publication Critical patent/JP2010082249A/ja
Application granted granted Critical
Publication of JP5131768B2 publication Critical patent/JP5131768B2/ja
Expired - Fee Related legal-status Critical Current
Anticipated expiration legal-status Critical

Links

Images

Landscapes

  • Pinball Game Machines (AREA)

Abstract

【課題】遊技機の背面側に背面体が設置される場合であっても、その背面体を大きく前方に開放することができて遊技機の背面側へのアクセス性を向上させることができると共に、背面側からの不正行為の防止を図ることができる枠構造及び遊技機を提供すること。
【解決手段】この枠構造51は、パチンコ機52の周囲を囲む筐体枠53と、筐体枠53の一側縁における軸J1において前面開閉可能に揺動支持された機枠54と、筐体枠53の後方に配置されてパチンコ機52の背面を実質的に閉鎖すると共に、軸J1よりも後方であって、かつ、軸J1よりもパチンコ機52の内側の位置を軸J2として、筐体枠53に前面開閉可能に揺動支持される背面板55とを有する枠構造であって、背面板55の上面55aに、軸J2において少なくとも部分的に切り欠かれた切欠部55bが形成され、筐体枠53が、切欠部55bを実質的に覆う覆蓋部56を有する。
【選択図】図8

Description

本発明は、枠構造及び遊技機に係り、特に、遊技機の周囲を囲む筐体枠の背面を実質的に閉鎖する背面体と、筐体枠に対して前面開閉可能に揺動支持された機枠とを有する枠構造及び遊技機に関する。
パチンコ機等の遊技機では、弾出された遊技媒体(以下、球という。)が遊技盤面上を流下して、その流下の過程で球が遊技盤面上のゲージ(釘ともいう。)や羽根車に衝突しつつ転回して流下方向が変化する。その結果、遊技盤面上に配置された各種入賞口に球が入賞すれば所定の景品球払出しがされ、一方いずれの入賞口にも入賞せずアウト口に球が流入すれば景品球払出しはされない。遊技者は、弾球における自らの技量を発揮して、又は球の流下における偶然性を利用しつつ球の入賞及び景品球払出しを期待し、遊技を楽しむことができる。
従来、このようなパチンコ機は筐体枠によって周囲が囲まれ、その筐体枠内部に収容されるように遊技盤が配置されている。そしてその遊技盤は、筐体枠に対して前面開閉可能に揺動支持された機枠に保持されており、その機枠や遊技盤の裏側に様々な球経路や各種機構部品、回路基板等が取り付けられている。
つまり、遊技を構成し演出する重要な部品である球経路、景品球払出装置や入賞球処理装置等の各種機構部品、それら各種機構部品の動作を制御するための払出制御基板、図柄表示装置等の演出動作を制御するための遊技制御基板や図柄制御基板等が、前方を遊技盤や機枠によって、上下方及び左右側方を筐体枠によって覆われるように構成されている。
しかしながら、パチンコ機の後方、すなわち背面側は覆われておらず、上記の重要部品が略剥き出しの状態となっている。したがって、パチンコ機の背面側は不正アクセスに対して無防備であり、ここから重要部品に対して不正が行われる虞があった。
そこで近年、背面側を背面体(以下、背面板という。)によって覆うことにより、背面側からの重要部品に対する不正アクセスを防止可能なパチンコ機も提案されている。これによれば、パチンコ機の背面が実質的に閉鎖されるので、例えば、隣接するパチンコ機同士の隙間から背面側にピアノ線を挿入して行う不正遊技等も防止することができる(例えば、特許文献1参照。)。
特開2004−105572号公報
ところで、遊技機が備えられる一般的な遊技機島の内部には、球の供給施設や紙幣の搬送設備などが配置されており、これらのメンテナンスを行うために筐体枠を介して遊技機裏側へとアクセスする必要がある。
しかしながら、遊技機の背面側を背面板で覆った場合には、背面板の存在によって遊技機の背面にアクセスすることが困難となり、島内部のメンテナンス作業が煩雑になるという問題があった。
本発明は上記の事情に鑑みて為されたもので、遊技機の背面側に背面体が設置される場合であっても、その背面体を大きく前方に開放することができて遊技機の背面側へのアクセス性を向上させることができると共に、背面側からの不正行為の防止を図ることができる枠構造及び遊技機を提供することを例示的課題とする。
上記の課題を解決するために、本発明の例示的側面としての枠構造は、遊技機の周囲を囲む第1枠体と、第1枠体の一側縁における側縁揺動指示位置において前面開閉可能に揺動支持された第2枠体と、第1枠体の後方に配置されて遊技機の背面を実質的に閉鎖すると共に、側縁揺動支持位置よりも後方であって、かつ、側縁揺動支持位置よりも遊技機の内側の位置を内側揺動支持位置として、第1枠体に前面開閉可能に揺動支持される背面体と、を有する枠構造であって、背面体の上面に、内側揺動支持位置近傍において少なくとも部分的に切り欠かれた切欠部が形成され、第1枠体が、切欠部を実質的に覆う覆蓋部を有することを特徴とする。
本発明に係る枠構造では、背面体が第1枠体(例えば、筐体枠。)に対して前面開閉可能に揺動支持されるので、背面体を前方に開放させることによって、遊技機の背面体よりも更に後方側へのアクセスを容易に行うことができる。このため、遊技機の最背面に配置される背面体により遊技機の背面側からの不正アクセスの抑制と、球の供給施設や紙幣の搬送設備等のメンテナンス性の向上との両立を実現することができる。
背面体の揺動支持位置(内側揺動支持位置)が第2枠体(例えば、機枠。)の揺動支持位置(側縁揺動支持位置)よりも後方に配置されているため、背面体の左右方向(すなわち、遊技機の幅方向。)の寸法を大きくすることができ、結果として背面体の面積を拡大することができて設計上の自由度やスペース効率が増大する。
第2枠体の側縁揺動支持位置が、第2枠体より前方か又は前後方向における第1枠体内に位置する場合において、背面体の内側揺動支持位置が第2枠体の側縁揺動支持位置と一致又はそれより前方にあると、背面体の前方開放の際にその回転軌跡が外方へと大きく膨らみ、第1枠体の内壁と干渉してしまう虞がある。
しかしながら、本発明においては背面体の内側揺動支持位置が第2枠体の側縁揺動支持位置よりも後方に配置されているため、換言すれば、背面体の内側揺動支持位置が実質的に第1枠体よりも後方に配置されているため、背面体の回転軌跡が外方へと大きく膨らまない。したがって、背面体の左右方向寸法を第1枠体の内壁寸法いっぱいまで大きくしても、その開閉時に第1枠体内壁に干渉する虞が殆どない。結果として、背面体の左右方向寸法を大きくしてその面積を拡大しても、開閉動作を円滑に行うことができる。
さらに、背面体の内側揺動支持位置を、第2枠体の側縁揺動支持位置よりも遊技機内側の位置に配設することによって、第2枠体及び背面体の開放時に、背面体を大きく開放することができ、その後方へのアクセス性を一層向上させることができる。
背面体を開放する際には、事前に第2枠体を開放しておく必要がある。その第2枠体の開放時において、背面体の内側揺動支持位置が第2枠体の側縁揺動支持位置よりも外側に配置されている場合には、背面体の開放角度を大きく取ることができない。しかし、本発明によれば、背面体の内側揺動支持位置が第2枠体の側縁揺動支持位置よりも内側に配置されているので、外側に配置されている場合に比較して、第2枠体の開放角度が同じ場合に背面体の開放角度を大きく取ることができる。
結果として、開放時における第2枠体の背面側と背面体の前面側との干渉の可能性を低減することができる。それにより、背面体の開放角度を大きく取ることができてその後方へのアクセス性を向上させたり、第2枠体の後面側(背面側、又は裏面側ともいう。)、背面体の前面側への部品配置やその大きさの自由度を増大させることができる。
特に、第2枠体の背面側や背面体の前面側には、景品球払出装置や入賞球処理装置等の各種機構部品、それら各種機構部品の動作を制御するための主基板(遊技制御基板)、図柄制御基板、電源基板等が設けられることが多い。このため、第2枠体と背面体との開放時の干渉によるこれらの機構部品や制御基板等の破損の可能性を低減することができる。
さらに、背面体の揺動支持位置を、第2枠体の揺動支持位置よりも遊技機内側の位置に配設することによって、背面体の可動範囲を第2枠体の可動範囲よりもコンパクトにすることができる。このため、第2枠体が開放した状態における背面体の回動動作を容易にすることができ、島内部のメンテナンス時における背面体の取扱いの負担を軽減することが可能となる。
背面体の上面には、内側揺動支持部近傍において切欠部が形成されている。この切欠部は、背面体を前方へ開放したときに背面体と第1枠体の側面内壁との干渉を防止するために切り欠かれたものである。切欠部が形成されていることにより、背面体を大きく(例えば、前方へ約90°)開放した際に、第1枠体の側面内壁と背面体の前面側との干渉の虞を低減することができ、背面体の前方への開放角度を充分に大きく確保することができる。背面体と第1枠体との干渉に起因する破損等の防止にも寄与することができる。
背面体に切欠部が形成されていることにより、背面体と第1枠体との干渉の虞が低減され、背面体を前方に大きく開放することができて遊技機のメンテナンス性に優れるが、一方、背面体が部分的に切り欠かれることにより、遊技機外部からその切欠部を介して異物等を遊技機内部に侵入させることが容易となる虞がある。しかしながら、第1枠体の覆蓋部が切欠部を実質的に覆っているので、遊技機外部からの異物の侵入が防止され、結果的に不正行為に対して耐性の高い遊技機とすることができる。
ここで、遊技媒体とは、例えばパチンコ機等の遊技機においては、その遊技に用いられる球を意味し、遊技装置体とは、その球が流下するための遊技盤等が該当する。また、「前面」とは遊技装置体がパチンコ機等の遊技機に設置された際に、遊技者側に向いた面であり、前方は遊技盤面から遊技者に向かう方向、すなわち遊技盤裏面から表面に向かう方向を意味する。「背面」はその反対に遊技機の裏側の面であり、後方は遊技盤表面から裏面に向かう方向を意味している。左右方向は、遊技者から遊技機を見たときの幅方向における左右を意味する。更に、「内側」とは第1枠体の中央方向を示している。
枠構造において、内側揺動支持位置が、背面体の前面側かつ側縁近傍に配置されていてもよい。
背面体の揺動支持位置が前面側に配置されているので、背面体を略90°に前方開放しても背面体の一部が揺動支持位置より遊技機外側へ突出することがない。したがって、第1枠体のすぐ外側に遊技機島用の柱部材等が設置されている場合でも、それに干渉することなく背面体を大きく開放することができる。
また、背面体の揺動支持位置がその側縁近傍に配置されているので、背面体の前方開放時に実質的に背面体全体が前方へと回転移動し、その一部が後方へと回転移動することがない。したがって、背面体の後方に遊技機島の設置用柱部材等があっても、背面体の開閉動作による干渉を生じることがない。
枠構造において、覆蓋部が、遊技機に関連する配線を挿通させる配線挿通部を有してもよい。
覆蓋部が配線挿通部を有しているので、遊技機に関連する配線を覆蓋部の配線挿通部に沿って挿通させることができる。そのため、遊技機後方において配線のためのスペースを充分に確保することができる。一般に、遊技機は遊技機店(ホールとも言う。)において、遊技機島に設置される。遊技機島は、複数の遊技機が列状に配列設置されたものであって、そこには各遊技機の他に島設備として遊技媒体貸出機、遊技媒体供給及び排出用の循環装置等が設置されている。そして、各遊技機が、幅方向に一列に配置される他、遊技機島の両側面に背中合わせとなるようにも配置されている。
この背中合わせに配置される遊技機同士の間隔は、島内部に配置される島設備のサイズや、ホールに設置すべき遊技機の全体数等に応じて適宜調整されるが、省スペースの観点からあまり大きくとることはできず、一般に、背中合わせ状態の遊技機同士における第1枠体前面同士の間隔は460mm〜500mm程度とされている。その結果、背中合わせ状態の遊技機同士における両背面体間の間隔は、120mm〜160mmと非常に狭いものとなっている。
両背面体間のスペースには島設備等が設置されており、また、このスペースは遊技機や島設備のメンテナンスのために必要であることから、遊技機に関連する配線を引き回すための充分なスペースをここに確保することが難しい。しかしながら、この発明においては、遊技機における背面体の上面近傍に位置している覆蓋部が配線挿通部を有しているので、遊技機に関連する配線を覆蓋部の配線挿通部に挿通させることができる。したがって、配線を背面体の上面近傍に挿通させることができ、背中合わせ状態の遊技機同士における背面体間のスペースに挿通させる必要がない。
なお、遊技機に関連する配線とは、遊技機と他の装置(例えば、島設備、ホールコンピュータ等)とを接続するための配線や、島設備同士の配線、島設備とホールコンピュータとを接続するための配線等を含む。
覆蓋部における配線挿通部は、例えば、配線を挿通させるための配線通路であってもよいし、配線の経路を規制する経路規制部であってもよい。引き回される配線を受けるための配線受け面であって通路状に構成されていないものであってもよい。また、配線挿通部が配線を固定するための配線固定部を有し、覆蓋部上を挿通される配線が結束部材や固定部材等によって配線固定部に固定されるものであってもよい。
枠構造において、背面体の上面、下面及び左右側面が、第1枠体の上面、下面及び左右側面における各内壁よりもそれぞれ内側となるように配置され、かつ、覆蓋部が、第1枠体の上面内壁より低くなるように第1枠体の上面から第1枠体の後面に沿って垂下する垂下部と、該垂下部から屈曲して後方に延出する延出部とを有して略L字形状とされていてもよい。
遊技機における第1枠体、背面体及び覆蓋部をこのように構成することで、第1枠体に対し、上下左右の全周において背面体を一回り小さく構成することができる。そのため、第1枠体と背面体との間で、全周に亘って段差部が形成されることとなる。
この段差部の存在により、背面体と第1枠体とが組み付けられた状態のもの同士を互いに嵌り合うように積層させることができる。この背面体と第1枠体とが組み付けられた状態のものは、例えば遊技機の組立工場における途中の工程において存在する。なお、この背面体と第1枠体とが組み付けられたものを中間組み枠ということとする。
積層状態で前後に隣接する中間組み枠同士において、前方の中間組み枠の背面体が後方の中間組み枠の第1枠体の内部にすっぽりと嵌って重複積層され、整然と両中間組み枠が積層されるようになっている。したがって、複数の中間組み枠を整然と積層して保管や搬送をすることができるので、積層が崩れることによる中間組み枠の破損を防止したり、保管スペースの省スペース化を図ることができる。
延出部が、背面体の上方移動を阻害する形状とされており、かつ、背面体の下面での内側揺動支持位置において背面体を揺動支持する軸が、背面体の下面を受ける下方受け面から上方に突出する突出長さが、覆該部前記背面体の上面と延出部との隙間よりも大きく設定されていてもよい。
延出部が背面体の上方移動を阻害する形状とされているので、背面体の上方移動量は、背面体上面と延出部との隙間の距離に制限される。そして背面体の揺動回転を下方で受ける下方受け面からの軸の突出量がその隙間より大きく設定されているので、背面体を上方移動させて軸から取り外すことができないようになっている。したがって、背面体を筐体枠から不正に取り外すような不正行為を有効に防止することができる。
ここで、背面体の上方移動を阻害する形状とは、典型的には、延出部の面積が切欠部の面積よりも実質的に大面積とされる形状を意味するが、単に面積の大小関係に限られず、背面体の上方移動によって、切欠部の一部が延出部に干渉する形状であってもよい。また、下方受け面と背面体の下面とは、実質的に同一高さに位置するので、下方受け面からの軸の突出長さは、実質的に背面対下面からの軸の突出長さと同義である。
本発明の他の例示的側面としての遊技機は、上記の枠構造と、遊技媒体による遊技を実現する遊技装置体と、遊技装置体に対して一定距離以上離間して配置された前面透明板と、を有することを特徴とする。
上述したような枠構造を遊技機が備えることによって、第1枠体を島に設置したままの状態で背面体を前方に開放することができる。このため、遊技機が設置される島内部に対するメンテナンスを、遊技機が島に設置された状態で前面側より直接行うことができ、従来よりもメンテナンス性を向上することが可能となる。また、背面体が遊技機の背面側に設置されているため、遊技機の背面側からの不正アクセスを効果的に抑制することができ、ユーザによる不正遊技等を防止することができる。このように、本発明に係る枠構造を遊技機に設けることによって、不正遊技を効果的に阻止することができ、更に、パチンコホールにおけるメンテナンス性に優れた遊技機を提供することが可能となる。
更に、背面体の上面に切欠部が形成されており、背面体の前方への開放時に第1枠体の側面内壁と干渉する虞が低減されているので、背面体、第1枠体及び第2枠体の破損防止が図られ、この遊技機は耐久性や信頼性が高いものとなっている。背面体の前方開放角度の増大も図ることができるので、メンテナンス性も向上している。
そして、覆蓋部がその切欠部を実質的に覆っているので、切欠部を介して遊技機外部から遊技機内部へと不正に異物を侵入させることが防止されている。したがって、充分な不正防止対策が講じられて安心かつ安全な遊技機とすることができる。その覆蓋部が配線挿通部を有していれば、遊技機後方に別途配線のためのスペースを確保せずに済み、この遊技機によって遊技機島内の省スペース化を実現することができる。
本発明の更なる目的又はその他の特徴は、以下添付図面を参照して説明される好ましい実施の形態によって明らかにされるであろう。
本発明によれば、第1枠体に背面体を設けることによって遊技機に対する不正遊技等を防止することができる。さらに、第1枠体に対して背面体を前方に大きく開放させることができるので、遊技機の前面側から背面体の後方へのアクセスを容易とすることができ、遊技機が設置される島内部のメンテナンス性を向上させることが可能となる。
また、切欠部の存在により、背面体の前方への開放角度の一層の増大を図ることができ、背面体と第1枠体との干渉による破損を防止し、一層のメンテナンス性向上が図られている。覆蓋部の存在により、切欠部を利用した不正行為の防止が図られ、また、配線スペースのスペース効率向上も図られている。
[実施の形態1]
以下、本発明の実施の形態1について図面を用いて説明する。図1は、本発明の実施の形態1に係る枠構造を備えた枠構造体1を有する遊技機としてのパチンコ機2の外観を示す外観斜視図である。パチンコ機2は、筐体枠(第1枠体)3、機枠(第2枠体)4、背面板(背面体)5、遊技盤ユニット(遊技装置体)6、前面ガラス(前面透明板)7、装飾枠8、球発射ユニット(発射ユニット、図示せず。)、上皿9を有して概略構成されている。枠構造体1は、筐体枠3と機枠4と背面板5とによって構成される。
パチンコ機2は、組合せ式パチンコ機、封入循環式パチンコ機等を含む。また、遊技機としてはパチンコ機の他に、遊技媒体としてコインを使用するパチンコ式スロットマシン機やスロットマシン、各種ゲーム機やアーケードマシン等が概念できる。
筐体枠3は、このパチンコ機2の周囲を囲むための枠体であり、平面視略長方形に構成されている。材料としては、木材が用いられることが多いが、他に樹脂やアルミ等の金属が用いられることもある。筐体枠3は、パチンコ機2の上下面及び左右側面を囲い、前面(すなわち、遊技者側。)から見て左側面側には機枠4及び装飾枠8を揺動支持するためのヒンジ部11が設けられている。また、筐体枠の背面側(すなわち、パチンコ機2の裏面側、遊技機島側。)であって、前面(正面)から見て左側面側には背面板5を揺動支持するためのヒンジ部12(図2、図4参照)が形成されている。
機枠4は、遊技盤ユニット6を保持するための枠体であり、その中央近傍に遊技盤ユニット6を取り付けるための取付け開口が形成されている。取付け開口の周囲に遊技盤ユニット6を着脱可能に取り付けるための取付け部を有し、機枠4は遊技盤ユニット6の周囲を囲むように構成されている。その機枠4は、筐体枠3の前面側に配置されてヒンジ部11において筐体枠3に軸支され、図2に示すように、筐体枠3に対して前面開閉可能に揺動支持されている。機枠4は、樹脂又は金属によって形成され、その裏面側には裏機構盤(図示せず。)が配置される。その裏機構盤には、入賞球を計数して排出処理する入賞球処理装置(図示せず。)、景品球を計数して払い出す景品球払出し装置(図示せず。)等が配置されている。
背面板5は、筐体枠3の後方を略密閉し、パチンコ機2の背面を実質的に閉鎖する板状部材である。背面板5の設置により、パチンコ機2の背面側から行われ得る不正アクセスを効果的に防止することができるようになっている。
背面板5は、前面側が開放された箱体形状を呈しており、前面側内部には、画像制御基板15、パチンコ機2全体の制御を行うための主基板(遊技制御基板)16、電源基板17等が収納されている。背面板5は、正面から見て左側前端部において、ヒンジ部12によって筐体枠3に揺動支持されている。このヒンジ部12を揺動軸として背面板5を回転移動させることによって、図3に示すように、背面板5を筐体枠3の開放開口3aを案内して前面側へと回転させることが可能となっている。
図4は、筐体枠3に対して機枠4と筐体枠3とが揺動支持されたパチンコ機2の平面拡大図である。機枠4は、筐体枠3の前面側に設けられるヒンジ部11の軸G1を揺動支持位置(側縁揺動支持位置)として、図2に示すように、前面開閉可能な構造となっている。ヒンジ部11の軸G1は、図4に示すように、筐体枠3の左端部であって、筐体枠3の少し前方位置に配設され、機枠4の一側縁近傍に位置している。
一方で、背面板5は、筐体枠3の背面側に設けられるヒンジ部12の軸G2を揺動支持位置(内側揺動支持位置)として、図3に示すように、前面開閉可能な構造となっている。ヒンジ部12の軸G2は、図4に示すように、断面Γ状に形成されるヒンジ支持部12aの端部に形成されており、ヒンジ部11の配設位置よりも筐体枠3の背面側であって、さらに、距離L1だけ筐体枠3の内側寄り(正面視で右側寄り、筐体枠の中央方向寄り。)の位置に配設されている。そして、この軸G2の配設位置は、背面板5の側縁近傍に相当している。
一般的なパチンコ機では、機枠のヒンジ部の軸が、筐体枠より前方か又は前後方向において筐体枠内に位置している。したがって、背面板5の軸G2が機枠4の軸G1の位置と一致又はそれより前方にあると、背面板5の前方開放の際にその回転軌跡が外方(すなわち、筐体枠3の幅方向外側であって正面視右側に向かう方向。)に膨らんでしまい、筐体枠3の内壁と干渉する虞がある。
しかしながら、本実施の形態1に示す枠構造体1では、背面板5の軸G2の位置が機枠4の軸G1の位置よりも後方に配置されているため、換言すれば、背面板5の揺動支持位置が実質的に筐体枠3よりも後方に配置されているため、背面板5の反対側縁5aの回転軌跡が背面板5の開放動作に伴って外方に大きく膨らむことがなく、結果として背面板5の左右寸法を大きくとってもその反対側縁5aと筐体枠3の他側縁内壁3bとの干渉を容易に防止することができる(図5参照)。したがって、背面板5の左右方向寸法を大きくとって配置スペースの自由度を増大しつつ、背面板5の円滑な開閉を実現することができる。
さらに、背面板5の軸G2を、機枠4の軸G1よりもパチンコ機2の内側位置に配設することによって、機枠4及び背面板5の開放時に、背面板5を大きく開放することができ、その後方へのアクセス性を一層向上させることができる。
背面板5を開放する際には、事前に機枠4を開放しておく必要がある。その機枠4の開放時において、背面板5の軸G2の位置が機枠4の軸G1の位置よりも外側に配置されている場合には背面板5の開放角度を大きく取ることができない。しかし、本実施の形態1に示す枠構造体1によれば、背面板5の軸G2の位置が機枠4の軸G1の位置よりも内側に配置されているので、外側に配置されている場合に比較して、機枠4の開放角度が同じ場合に背面板5の開放角度を大きく取ることができる。
図5は、筐体枠3に対して機枠4を前面側に全開させ、更に背面板5を前方に略90度回転移動させた状態を示している。機枠4の軸G1に比べて背面板5の軸G2は距離L1だけ筐体枠3の内側に配設されており、この配設位置の違いによって背面板5の開放角度を従来よりも大きく取ることができる。
また、結果として、開放時における機枠4の背面側と背面板5の前面側との干渉の可能性を低減することができる。特に、機枠4の背面側には裏機構盤(図示せず。)等が配置され、背面板5の前面側には、主基板16や電源基板17等が設けられるため、これらの設置機器が接触して破損・故障等が生じることを防止でき、さらに、部品配置やその大きさの自由度を増大させることが可能となる。
さらに、背面板5は、背面板5を正面から見て左側前端部(背面体の前面側かつ側縁近傍。)において、ヒンジ部12によって筐体枠3に揺動支持されているため、背面板5の左方には、図4に示すように、筐体枠3の左端部から距離L2の空間が確保されている。
パチンコ機2がパチンコホールに設置される場合、パチンコ機2が設置される遊技機島の設置用の柱部材が、隣接するパチンコ機2同士の間の位置18に存在する場合がある(図4中の破線参照。)。しかしながら、本実施の形態1に示す枠構造体1では、筐体枠3の左方に距離L2の空間が確保されるので、この位置18に柱部材があってもこのパチンコ機2を問題なく設置することができる。
また、柱部材が位置18a(図4中の2点鎖線参照。)に存在する場合もあるが、この実施の形態1においては、ヒンジ支持部12aが断面Γ状となっていて位置18aを回避している上に、背面板5のヒンジ部12の軸G2が、背面板5の前面側に配置されているので、背面板を大きく略90°に開放しても背面板5の一部がヒンジ支持部12aに干渉することがない。つまり、柱部材を位置18に設置しても位置18aに設置しても、背面板5を充分に大きく前方開放することができるようになっている。
また、背面板5の軸G2の位置がその側縁近傍に配置されているので、背面板5の前方開放時に実質的に背面板5全体が前方へと回転移動し、その一部が後方へと回転移動することがない。したがって、背面板5の後方に遊技機島用の柱部材等が位置18,18aにあっても、背面板5の開閉動作による干渉を生じることがない。
遊技盤ユニット6は、遊技盤20、レール飾り21、図柄表示装置22を有してユニット構成されている。遊技盤20の前面には、遊技媒体としての球24の流下によって遊技を実現する遊技盤面20aが形成されている。遊技盤面20aには、略円形状に周囲を囲むようにレール飾り21が取り付けられており、このレール飾り21の内側面21aが遊技盤面20aに対して立設することにより遊技領域6bが画定されている。
遊技盤20の遊技領域6bには、多数のゲージ(釘)25、羽根車26、入賞口28、始動入賞口29、大入賞口30、アウト口31、図柄表示装置22等が配置されている。ここで、ゲージ25とは、球24の流下方向を変化させたり球24を誘導するために、遊技領域6b内に植設される釘のことをいう。また、連続的又は集合的に配置される一連の釘の配列をゲージという場合もある。
ゲージ25や羽根車26は、流下してきた球24に衝突して球24の流下方向を変化させるためのものである。入賞口28は、球24の入賞に基づいて所定個数の景品球を払い出すための入賞口である。なお、遊技領域6bには、払出し景品球数が入賞口28の場合と異なる特定入賞口が配置される場合もある。また、球24の入賞し易さを可変とするために、入賞開口を狭めたり広げたりする電動開閉羽根が設けられた電動入賞口が設けられる場合もある。始動入賞口29は、入賞口28の一種ではあるが、球24の入賞に基づき図柄表示装置22の図柄回転を開始させる機能を有している。
大入賞口30は、開閉扉30aによって開閉可能な入賞口である。図柄表示装置22が所定の態様、例えば「7・7・7」等の態様で停止表示した場合に、開閉扉30aが開放して多量の球24が入賞する。そして、それに伴い多量の景品球が払い出されるようになっている。アウト口31は、いずれの入賞口28,29,30にも入賞せず、遊技領域6bの最下端まで流下した球を流入させてパチンコ機2の外部へと排出するためのもので、遊技領域6bの略最下端に配置されている。
図柄表示装置22は、センター飾り22aと液晶表示装置22bとを有している。センター飾り22aは、キャラクター等の造形が施された樹脂成形部品で構成されており、遊技領域6b内における遊技を装飾的に演出するためのものである。液晶表示装置22bは、センター飾り22aの中央部分に設けられており、センター飾り22aに設けられたキャラクター等によって液晶表示装置22bの画面周囲が装飾的に囲まれた構造となっている。
液晶表示装置22bは、3桁の数字を変動表示する表示図柄22cとアニメキャラクターによるストーリー表示等の演出表示を行う演出映像22dとを表示するためのものである。その表示図柄22cの変動表示は、球24の動作に基づいて行われる。すなわち、始動入賞口29への球の入賞、又は遊技領域6bに形成された図示しない始動口や始動ゲートへの球の通過等に基づき、表示図柄22cが変動表示されるようになっている。そして、3桁の数字が所定の態様(例えば、当たりに相当する「7・7・7」。)で停止すると、開閉扉30aが開放し、多量の球24が大入賞口30へと入賞するように構成されている。
図示しない球発射装置により球24が遊技領域6b内の上部に向けて発射されると、球24がゲージ25に衝突してその流下方向を変えつつ遊技領域6b内を流下するようになっている。その流下の途中で、あるものは入賞口28に入賞して景品球払出しの契機となり、あるものは始動入賞口29に入賞して図柄表示装置22による図柄変動遊技開始の契機となり、また、あるものはいずれの入賞口28等にも入賞せずにアウト口31からパチンコ機2の外部へと排出される。このように、遊技盤20上を球24が流下する際に、様々な遊技が実現されるようになっている。
なお、本実施の形態1においては、アウト口31の直上に大入賞口30が形成されているが、大入賞口30の形成位置はこれに限定されず、遊技領域6b内のいずれの箇所に形成されていてもよい。また、遊技領域6b内に大入賞口30を形成しなくともよい。
前面ガラス7は、遊技盤20に対して一定距離以上離間して配置された透明板である。前面ガラス7は透明平板ガラスで形成され、遊技盤20との間に球24が流下する流下空間を形成する機能、遊技者が前面ガラス7を通して遊技盤20を視認できるように視認性を確保する機能、遊技者が遊技盤20に不正にアクセス(接触)できないように不正アクセスを防止する機能を発揮する。
前面透明板としてはガラス素材の前面ガラス7の他に、透明アクリル等の樹脂材料を使用するものであってもよい。また、本実施の形態1においては、前面ガラス7が装飾枠8に保持されるが、前面ガラス7が遊技盤20の前面に取り付けられて、遊技盤20と共に機枠4に保持されるように構成されていてもよい。
装飾枠8は、前面ガラス7又はその周囲を囲む装飾部材36を保持するための枠体である。本実施の形態1において、装飾枠8は、前面ガラス7及び装飾部材36の両方を保持している。その装飾枠8は、機枠4の前面側に配置されてヒンジ部11において機枠4と共に筐体枠3に揺動支持され、機枠4に対して前面開閉可能な構造となっている。
装飾枠8は樹脂又は金属によって形成され、その中央部に遊技者が遊技盤20を視認するための透視孔が形成されており、その透視孔を覆うように前面ガラス7が取り付けられている。その前面ガラス7の周囲には、パチンコ機2を装飾するための造形・色彩・ランプが付された装飾部材36が取り付けられ、パチンコ機2の遊技演出に寄与している。
なお、本実施の形態1では、筐体枠3に設けられたヒンジ部11に機枠4及び装飾枠8の両方が揺動支持される構成となっている。しかしながら、機枠4と装飾枠8とがそれぞれ異なるヒンジ部によって揺動支持されていてもよい。例えば、筐体枠3に機枠4を揺動支持するヒンジ部が設けられ、機枠4に装飾枠8を揺動支持する別のヒンジ部が設けられていてもよい。
図示しない球発射ユニットは、球供給装置によって上皿9から発射位置に送り込まれた球24を遊技領域6bの上部に向けて発射(弾球)するためのものである。遊技者は発射ユニットを構成するハンドル10を手で操作することによって、球発射装置による弾球強度を調整する。球発射装置は、例えば発射位置に送り出された球24を遊技領域6bに向けて弾球する発射杆、その発射杆を駆動して弾球往復動を行わせる発射モータ、発射杆を付勢して弾球のための力を発生させる発射バネ等を有してユニット構成され、機枠4に取り付けられている。遊技者は、略円筒形状を呈するハンドル10を手で保持しつつ、円筒周面に沿って強度調整杆10aを回転させることにより、球24の発射強度を調整することが可能となっている。
上皿9は、球24を球発射装置に導くべく貯留するためのもので、下皿9aと共に遊技者の持ち球を貯留する機能を有する。上皿9は、パチンコ機2の前面であって遊技盤20の下方、すなわち装飾枠8の下方部分に配置され、下皿9aは、その上皿9の更に下方に配置されている。本実施の形態1においては、上皿9と下皿9aとを別々に構成しているが、もちろん上皿9と下皿9aとが一体となって1つの球皿が構成されていてもよい。
上皿9は、景品球としてパチンコ機2から払い出された球24を受け取る機能や、その球24を球供給装置(図示せず。)を介して球発射装置に導くべく貯留する機能を有している。遊技終了時には、遊技者が球排出ボタン9bを操作することにより、球24を上皿9から下皿9aへと排出することができるようになっている。
なお、本実施の形態1においては、遊技機としてのパチンコ機2について説明したが、もちろん上述のように、遊技機としてはパチスロ機やスロットマシン、各種ゲーム機やアーケードマシン等が概念できる。ここで、パチスロ機やスロットマシンの場合は、コインが遊技媒体に相当し、回胴体が遊技装置体に相当する。そしてその場合、遊技装置体は筐体枠(第1枠体)内に備えられ、その前面に第2枠体としての前面枠(上記実施の形態1における装飾枠に相当。)が開閉可能に揺動支持されることとなる。
[実施の形態2]
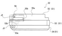
図6及び図7は、本発明の実施の形態2に係る枠構造51を備えたパチンコ機(遊技機)52を上方から見た平面図である。このパチンコ機52は、筐体枠53、機枠54、背面板(背面体)55を備えた枠構造51を有しており、そのうち筐体枠53と背面体55とが組み付けられた状態(すなわち、機枠54がまだ組み付けられていない状態)のものを中間組み枠という。また、このパチンコ機52は、遊技盤ユニット(遊技装置体)、前面ガラス(前面透明板)、装飾枠、球発射ユニット(発射ユニット)、上皿を有しているが、これらについては実施の形態1の場合と同様であるので、その説明を省略する。
図6は、筐体枠53に対して背面板55が閉鎖された状態(すなわち、背面板55が最後方にセットされた状態)を示しており、図7は、筐体枠53に対して背面板55が前方に略90°開放した状態を示している。なお、図7においては機枠54も前方に開放しているが、説明の簡単のため図示を省略している。また、図8は、このパチンコ機52の要部を背面から見て部分的に拡大した部分拡大図である。図8においても、機枠の図示を省略している。
パチンコ機52において、機枠54は筐体枠53に対して側縁揺動支持位置の軸J1において揺動支持されている。それにより、機枠54は、筐体枠53に対して前方に揺動開閉可能となっている。また、背面板55は筐体枠53に対して内側揺動支持位置の軸J2において揺動支持されている。それにより、背面板55は、筐体枠53に対して前方に揺動開閉可能となっている。
図6及び図7に示すように、軸J1は、パチンコ機52を正面視したときの左側縁近傍であって、かつ、筐体枠53よりも前方に突出した位置に配置されている。そして、軸J2は、軸J1よりも後方であって、パチンコ機52の内側となる位置に配置されている。その軸J2は、背面体55における左側縁近傍に位置している。
背面体55の上面55aにおける軸J2の近傍には、切欠部55bが形成されている。この切欠部55bは、上面55aの前方部分に切り欠き形成されており、背面板55bが前方開放されたときに背面板55bが筐体枠53の側面内壁53aと干渉してしまうのを防止する逃げ部としての機能を発揮している。切欠部55bが形成されることにより、背面体55を前方に大きく開放しても筐体枠53の側面内壁53aと干渉しないので、背面体55は、略90°まで前方に開放することができるようになっている。
切欠部55bの切り欠き形状は、本実施の形態2においては、大略長方形状とされているが、もちろん側面内壁53aの形状に合わせて適宜設定可能である。
この切欠部55bを覆うように、筐体枠53に覆蓋部56が取り付けられている。覆蓋部56は、例えば、断面L字形状とされた板金部材であって、筐体枠53の裏面側において筐体枠53の上面53bから後面に沿って垂下部56aが垂下した後に、その垂下部から屈曲して延出部56bが後方へ延出するように取り付けられている。そして、この延出部56bがパチンコ機52の通常使用状態(すなわち、背面体55が筐体枠53の最後方にセットされた状態)において実質的に切欠部55bを覆っており、切欠部55bを介した異物の侵入を防止している。
なお、延出部56bの形状は、切欠部55bの切り欠き形状に合わせて適宜設定可能である。もちろん、延出部56bの形状は、切欠部55bを包含するように切り欠き形状より大きい形状とされていることが望ましい。なお、本実施の形態2においては、覆蓋部56が筐体枠53と別部材であるとして説明しているが、もちろん筐体枠53自体に覆蓋部としての機能を発揮する部分が形成されることにより、筐体枠53と覆蓋部とが一体とされていてもよい。
覆蓋部56の延出部56bは切欠部55bの直上方に位置し、しかも延出部56bの大きさが切欠部55bの大きさよりも実質的に大きく形成されている。したがって、パチンコ機52の通常使用状態(すなわち、背面板55が筐体枠53の最後方にセットされている状態)において背面板55を上方に移動させようとしても、背面板55の上面55aと延出部56bとが干渉してしまい、背面板55の上方移動が阻害されて背面板55を下側の軸J2から不正に取り外すことができないようになっている。
例えば、後述する図9に示すように、背面板55が揺動開閉する際に筐体枠53側の下面55cを受ける下方受け面であって下側の軸J2が突出している面からの下側の軸J2の突出長さX(下側の軸J2が筐体枠53の下面内壁53dから突出しており、背面板55が下面内壁53dを下方受け面として揺動開閉する場合には、その下面内壁53dから突出する下側の軸J2の突出長さX。)と背面板55の上面55a〜延出部56d下面の隙間Yとの関係が、X>Yとされていれば、背面板55を上方に持ち上げようとしても隙間Yだけしか上方移動できず、背面板下面55cが下側の軸J2から抜けない。よって、通常使用状態において不正行為者が背面板55を持ち上げて軸J2から取り外してしまうという不正行為を、覆蓋部56によって防止することができる。
この覆蓋部56の延出部56bは、配線挿通のための受け面を兼ねており、延出部56bには、配線Mを挿通させるための挿通路(配線挿通部)56cと配線Mをパチンコ機52外部から内部へと引き込むための挿通孔56dとが形成されている。延出部56bには挿通路56cに沿って起立部56eが立設され、その起立部56eと垂下部56aとによって挟まれるように挿通路56cが構成される。例えば、パチンコ機52と外部機器(遊技機島の島設備やホールコンピュータ等、図示せず。)とを接続する配線(遊技機関連配線)Mは、挿通路56cを通って挿通孔56dからパチンコ機52内部へと至るようになっている。
もちろん、挿通路56cの代わりに延出部56bに固定孔が形成され、その固定孔に配線結束用の結束部材が固定されて、配線Mが延出部56b上を挿通するようになっていてもよい。配線Mを覆蓋部56の上面に挿通させるので、背面板55よりも後方に配線Mを挿通させるためのスペースを別途確保する必要がない。又は、背面板55よりも後方の配線挿通スペースを縮小することができる。
図9は、このパチンコ機52を後方から見た背面図である。背面体55は、その全周において筐体枠53よりも一回り小さく構成されている。すなわち、背面体55の上面55a、下面55c及び側面55dが、筐体枠53の上面内壁53c、下面内壁53d及び側面内壁53aよりも内側となるように構成されている。ここで、筐体枠53の各内壁は、筐体枠53の上下面及び側面(各辺)を構成する部材の厚み方向における内面である。つまり、背面体55の上下方向及び左右方向における外寸が、各々筐体枠53の上下方向及び左右方向における各内寸よりも小さく設定されている。
更に、覆蓋部56の垂下部56aの上下方向の長さが、実質的に筐体枠53の上面53bを構成する部材の厚みよりも長くなるように設定され、覆蓋部56は筐体枠53の上面内壁53cよりも低い位置で屈曲している。これにより、図10に示すように、複数の中間組み枠を重ね合わせた際に、前方の中間組み枠の背面板55が後方の中間組み枠の筐体枠53の内部へと嵌り込んで、整然と積層することができるようになっている。工場内での中間組み枠の取扱い時において、保管スペースの省スペース化や搬送の際の荷崩れ防止に寄与している。
以上、本発明の好ましい実施の形態を説明したが、本発明はこれらに限定されるものではなく、その要旨の範囲内で様々な変形や変更が可能である。
本発明の実施の形態1に係る枠構造を備えたパチンコ機を示した外観斜視図である。 本発明の実施の形態1に係るパチンコ機において、機枠が筐体枠に対して前方開放した状態を示した外観斜視図である。 本発明の実施の形態1に係るパチンコ機において、背面板が筐体枠に対して全面開放した状態を示した外観斜視図である。 本発明の実施の形態1に係るパチンコ機の筐体枠における、機枠の軸G1の位置と背面板の軸G2の位置との関係を示した平面拡大図である。 本発明の実施の形態1に係るパチンコ機において機枠及び背面板が開放した状態を示した平面図である。 本発明の実施の形態2に係る枠構造を備えたパチンコ機の平面図であって、背面板が閉鎖した状態を示す図である。 図6に示すパチンコ機の平面図であって、背面板が前方に開放した状態を示す図である。 図6に示すパチンコ機の要部を背面から見て部分的に拡大した部分拡大図である。 図6に示すパチンコ機を後方から見た背面図である。 図9に示すパチンコ機の中間組み枠を前後に積層した状態を示す図である。
符号の説明
G1,J1:側縁揺動支持位置の軸
G2,J2:内側揺動支持位置の軸
L1,L2:距離
M:配線(遊技機関連配線)
X:突出長さ
Y:隙間
1,51:枠構造体(枠構造)
2,52:パチンコ機(遊技機)
3,53:筐体枠(第1枠体)
3a:開放開口
3b:他側縁内壁
4,54:機枠(第2枠体)
5,55:背面板(背面体)
5a:反対側縁
6:遊技盤ユニット(遊技装置体)
6b:遊技領域
7:前面ガラス(前面透明板)
8:装飾枠
9:上皿
9a:下皿
9b:球排出ボタン
10:ハンドル
10a:強度調整杆
11,12:ヒンジ部
12a:ヒンジ支持部
15:画像制御基板
16:主基板(遊技制御基板)
17:電源基板
18,18a:位置
20:遊技盤
20a:遊技盤面
21:レール飾り
21a:内側面
22:図柄表示装置
22a:センター飾り
22b:液晶表示装置
22c:表示図柄
22d:演出映像
24:球(遊技媒体)
25:ゲージ(釘)
26:羽根車
28:入賞口
29:始動入賞口
30:大入賞口
30a:開閉扉
31:アウト口
36:装飾部材
53a:側面内壁
53b:上面
53c:上面内壁
53d:下面内壁
55a:上面
55b:切欠部
55c:下面
55d:側面
56:覆蓋部
56a:垂下部
56b:延出部
56c:挿通路(配線挿通部)
56d:挿通孔
56e:起立部

Claims (6)

  1. 遊技機の周囲を囲む第1枠体と、
    該第1枠体の一側縁における側縁揺動支持位置において前面開閉可能に揺動支持された第2枠体と、
    前記第1枠体の後方に配置されて前記遊技機の背面を実質的に閉鎖すると共に、前記側縁揺動支持位置よりも後方であって、かつ、該側縁揺動支持位置よりも前記遊技機の内側の位置を内側揺動支持位置として、前記第1枠体に前面開閉可能に揺動支持される背面体と、を有する枠構造であって、
    前記背面体の上面に、前記内側揺動支持位置近傍において少なくとも部分的に切り欠かれた切欠部が形成され、
    前記第1枠体が、該切欠部を実質的に覆う覆蓋部を有する枠構造。
  2. 前記内側揺動支持位置が、該背面体の前面側かつ側縁近傍に配置される請求項1に記載の枠構造。
  3. 前記覆蓋部が、前記遊技機に関連する配線を挿通させる配線挿通部を有する請求項1又は請求項2に記載の枠構造。
  4. 前記背面体の上面、下面及び左右側面が、前記第1枠体の上面、下面及び左右側面における各内壁よりもそれぞれ内側となるように配置され、かつ、
    前記覆蓋部が、前記第1枠体の上面内壁より低くなるように該第1枠体の上面から該第1枠体の後面に沿って垂下する垂下部と、該垂下部から屈曲して後方に延出する延出部とを有して略L字形状とされている請求項1から請求項3のうちいずれか1項に記載の枠構造。
  5. 前記延出部が、前記背面体の上方移動を阻害する形状とされており、かつ、
    前記背面体の下面での内側揺動支持位置において該背面体を揺動支持する軸が、該背面体の下面を受ける下方受け面から上方に突出する突出長さが、前記覆該部前記背面体の上面と前記延出部との隙間よりも大きく設定されている請求項4に記載の枠構造。
  6. 請求項1から請求項5のうちいずれか1項に記載の枠構造と、
    遊技媒体による遊技を実現する遊技装置体と、
    該遊技装置体に対して一定距離以上離間して配置された前面透明板と、を有する遊技機。
JP2008255467A 2008-09-30 2008-09-30 枠構造 Expired - Fee Related JP5131768B2 (ja)

Priority Applications (1)

Application Number Priority Date Filing Date Title
JP2008255467A JP5131768B2 (ja) 2008-09-30 2008-09-30 枠構造

Applications Claiming Priority (1)

Application Number Priority Date Filing Date Title
JP2008255467A JP5131768B2 (ja) 2008-09-30 2008-09-30 枠構造

Publications (2)

Publication Number Publication Date
JP2010082249A true JP2010082249A (ja) 2010-04-15
JP5131768B2 JP5131768B2 (ja) 2013-01-30

Family

ID=42246789

Family Applications (1)

Application Number Title Priority Date Filing Date
JP2008255467A Expired - Fee Related JP5131768B2 (ja) 2008-09-30 2008-09-30 枠構造

Country Status (1)

Country Link
JP (1) JP5131768B2 (ja)

Citations (3)

* Cited by examiner, † Cited by third party
Publication number Priority date Publication date Assignee Title
JP2003340080A (ja) * 2002-05-31 2003-12-02 Abilit Corp 遊技機
JP2005245710A (ja) * 2004-03-03 2005-09-15 Olympia:Kk 弾球遊技機
JP2008237807A (ja) * 2007-03-29 2008-10-09 Samii Kk 枠構造及び遊技機

Patent Citations (3)

* Cited by examiner, † Cited by third party
Publication number Priority date Publication date Assignee Title
JP2003340080A (ja) * 2002-05-31 2003-12-02 Abilit Corp 遊技機
JP2005245710A (ja) * 2004-03-03 2005-09-15 Olympia:Kk 弾球遊技機
JP2008237807A (ja) * 2007-03-29 2008-10-09 Samii Kk 枠構造及び遊技機

Also Published As

Publication number Publication date
JP5131768B2 (ja) 2013-01-30

Similar Documents

Publication Publication Date Title
JP6089279B2 (ja) 遊技台
JP5365801B2 (ja) 遊技台
JP2011067496A (ja) 遊技台
JP5879578B2 (ja) 遊技台
JP4860767B1 (ja) 遊技台
JP2004008331A (ja) 遊技機
JP5131768B2 (ja) 枠構造
JP4919417B2 (ja) 枠構造及び遊技機
JP2006223504A5 (ja)
JP2009017934A (ja) 弾球遊技機
JP2008173304A (ja) 枠体ユニット及び遊技機
JP5131875B1 (ja) 遊技台
JP2008194287A (ja) 遊技機
JP5152763B2 (ja) 遊技機
JP7672715B2 (ja) 遊技機
JP6195742B2 (ja) パチンコ機
JP7672714B2 (ja) 遊技機
JP7672713B2 (ja) 遊技機
JP6102107B2 (ja) 遊技機
JP2008125844A (ja) 前面透明板の取付け構造及び遊技機
JP6145625B2 (ja) 遊技台
JP6546610B2 (ja) 遊技台
JP2010082250A (ja) 枠構造及び遊技機
JP6014843B2 (ja) 遊技台
JP6103399B2 (ja) 遊技台

Legal Events

Date Code Title Description
A621 Written request for application examination

Free format text: JAPANESE INTERMEDIATE CODE: A621

Effective date: 20110704

A131 Notification of reasons for refusal

Free format text: JAPANESE INTERMEDIATE CODE: A131

Effective date: 20120807

A977 Report on retrieval

Free format text: JAPANESE INTERMEDIATE CODE: A971007

Effective date: 20120809

A521 Written amendment

Free format text: JAPANESE INTERMEDIATE CODE: A523

Effective date: 20120928

TRDD Decision of grant or rejection written
A01 Written decision to grant a patent or to grant a registration (utility model)

Free format text: JAPANESE INTERMEDIATE CODE: A01

Effective date: 20121023

A01 Written decision to grant a patent or to grant a registration (utility model)

Free format text: JAPANESE INTERMEDIATE CODE: A01

A61 First payment of annual fees (during grant procedure)

Free format text: JAPANESE INTERMEDIATE CODE: A61

Effective date: 20121031

FPAY Renewal fee payment (event date is renewal date of database)

Free format text: PAYMENT UNTIL: 20151116

Year of fee payment: 3

R150 Certificate of patent or registration of utility model

Free format text: JAPANESE INTERMEDIATE CODE: R150

R250 Receipt of annual fees

Free format text: JAPANESE INTERMEDIATE CODE: R250

R250 Receipt of annual fees

Free format text: JAPANESE INTERMEDIATE CODE: R250

LAPS Cancellation because of no payment of annual fees