JP2010081853A - 連続鉢苗移植機 - Google Patents

連続鉢苗移植機 Download PDF

Info

Publication number
JP2010081853A
JP2010081853A JP2008253675A JP2008253675A JP2010081853A JP 2010081853 A JP2010081853 A JP 2010081853A JP 2008253675 A JP2008253675 A JP 2008253675A JP 2008253675 A JP2008253675 A JP 2008253675A JP 2010081853 A JP2010081853 A JP 2010081853A
Authority
JP
Japan
Prior art keywords
potted seedling
potted
continuous
seedling
seedlings
Prior art date
Legal status (The legal status is an assumption and is not a legal conclusion. Google has not performed a legal analysis and makes no representation as to the accuracy of the status listed.)
Granted
Application number
JP2008253675A
Other languages
English (en)
Other versions
JP5215801B2 (ja
Inventor
Yasunobu Kawamoto
靖信 川本
Hiroyuki Sakai
啓之 坂井
Current Assignee (The listed assignees may be inaccurate. Google has not performed a legal analysis and makes no representation or warranty as to the accuracy of the list.)
Nippon Beet Sugar Manufacturing Co Ltd
Original Assignee
Nippon Beet Sugar Manufacturing Co Ltd
Priority date (The priority date is an assumption and is not a legal conclusion. Google has not performed a legal analysis and makes no representation as to the accuracy of the date listed.)
Filing date
Publication date
Application filed by Nippon Beet Sugar Manufacturing Co Ltd filed Critical Nippon Beet Sugar Manufacturing Co Ltd
Priority to JP2008253675A priority Critical patent/JP5215801B2/ja
Publication of JP2010081853A publication Critical patent/JP2010081853A/ja
Application granted granted Critical
Publication of JP5215801B2 publication Critical patent/JP5215801B2/ja
Active legal-status Critical Current
Anticipated expiration legal-status Critical

Links

Images

Landscapes

  • Transplanting Machines (AREA)

Abstract

【課題】1条の植付け溝に連続鉢苗を複数列で移植することが可能な連続鉢苗移植機および連続鉢苗移植方法を提供する。
【解決手段】鉢苗載置台5に2つ鉢苗台9a,9bを機台幅方向へ並べて載置し、各鉢苗台9a,9bから引き出した各連続鉢苗6a,6bを鉢苗案内部7により集約しつつ整列させ、該整列させた各連続鉢苗6a,6bを鉢苗繰出し部8から繰り出して1条の植付け溝へ移植する。
【選択図】図5

Description

本発明は、連続鉢苗をその集合体から引き出して整列させて圃場に移植する連続鉢苗移植機および連続鉢苗移植方法の改良に関する。
従来、進行方向後側の下面を接地面とした機台上に、その進行方向前側から順次、連続鉢苗を載置する鉢苗載置部と、該鉢苗載置部から引き出した連続鉢苗を1列に整列させて案内する鉢苗案内部と、該鉢苗案内部から植付け面に連続鉢苗を繰り出す鉢苗繰出し部と、を設け、さらに、圃場に植付け溝を形成する溝切部を機台の接地面に設けると共に該機台の進行方向前端部にハンドルを備える連続鉢苗移植機が知られている(例えば、特許文献1参照)。この連続鉢苗移植機では、作業者がハンドルを牽いて当該移植機を前進させると、溝切部により圃場の植付け面に1条の植付け溝が形成され、該植付け溝に、鉢苗載置部から引き出されて鉢苗案内部により1列に整列させた連続鉢苗が、鉢苗繰出し部から繰り出されて移植される。
ところで、長ネギは、苗を比較的大きく成長させてから圃場に移植する作型(春撒き栽培)が知られている。この作型に上述した連続鉢苗を適用する場合、1つの鉢体に1粒で播種することが好ましい。1つの鉢体に1粒で播種する場合、苗を大きく(太く)成長させる点で有利であるが、畦に移植される苗の数が少なく採算が合わないことから、連続鉢苗移植機を使用して移植することができず、移植は手作業により行われていたが、作業に多大な時間を要するのに加え、作業者への負担も大きかった。しかしながら、1つの鉢体に複数粒を播種した場合、苗が大きく育たず商品価値が低下してしまう。そこで、2つの連続鉢苗集合体を鉢苗載置部に並置し、各集合体から引き出された各連続鉢苗を合一させて1列にすることで、畦に形成した1条の植付け溝に連続鉢苗を複数列で移植することが試みられたが、苗が倒れてしまったり連続鉢苗が絡んでしまう不具合を生じることから実用化が困難であった。
特開平8−89028号公報
そこで本発明は、上記事情に鑑みてなされたもので、1条の植付け溝に連続鉢苗を複数列で移植することが可能な連続鉢苗移植機および連続鉢苗移植方法を提供することを課題としてなされたものである。
上記課題を解決するために、本発明のうち請求項1に記載の発明は、進行方向後側の下面を接地面とした機台上に、その進行方向前側から順次、連続鉢苗を載置する鉢苗載置部と、該鉢苗載置部から引き出された前記連続鉢苗を1列に整列させて案内する鉢苗案内部と、該鉢苗案内部から植付け面へ前記連続鉢苗を繰り出す鉢苗繰出し部と、が設けられ、さらに、前記機台の接地面に、圃場に植付け溝を形成する溝切部が設けられる連続鉢苗移植機であって、前記鉢苗載置部が機台幅方向へ並ぶ複数の鉢苗載置領域に区画され、さらに、前記鉢苗案内部に設けられ、各鉢苗載置領域から引き出された各連続鉢苗を集約しつつ整列させる鉢苗整列手段を有することを特徴とする。
請求項2に記載の発明は、請求項1に記載の連続鉢苗移植機において、さらに、前記鉢苗案内部から前記鉢苗繰出し部まで延び、前記鉢苗整列手段により整列させた前記連続鉢苗の隣り合う前記連続鉢苗間を仕切る仕切手段を有することを特徴とする。
請求項3に記載の発明は、請求項1または2に記載の連続鉢苗移植機において、前記鉢苗整列手段は、集約された前記連続鉢苗の通過を許容する間隔をあけて対向配置される1対の鉢苗整列部材を有することを特徴とする。
請求項4に記載の発明は、請求項1−3のいずれかに記載の連続鉢苗移植機において、前記鉢苗整列手段の各鉢苗整列部材は、前記連続鉢苗の姿勢を矯正する姿勢矯正部と、姿勢が矯正された前記連続鉢苗を整列させて前記鉢苗繰出し部へ向けて案内する案内部と、を有することを特徴とする。
請求項5に記載の発明は、請求項1−4のいずれかに記載の連続鉢苗移植機において、さらに、前記1対の鉢苗整列部材が前記鉢苗繰出し部に設けられることを特徴とする。
上記課題を解決するために、本発明のうち請求項6に記載の発明は、連続鉢苗移植機を移動させて該移植機の溝切部により圃場に植付け溝を形成しつつ鉢苗載置部から引き出された連続鉢苗を前記植付け溝へ繰り出して移植する方法であって、前記鉢苗載置部を機台幅方向へ並ぶ複数の鉢苗載置領域に区画しておいて、各鉢苗載置領域から引き出された各連続鉢苗を集約しつつ整列させ、該整列させた各連続鉢苗を前記植付け溝へ繰出して移植することを特徴とする。
請求項7に記載の発明は、請求項6に記載の連続鉢苗移植方法において、整列させた前記連続鉢苗の隣り合う前記連続鉢苗間を仕切板により仕切りつつ、各連続鉢苗を前記植付け溝へ繰出して移植することを特徴とする。
請求項1に記載の連続鉢苗移植機によれば、各鉢苗載置領域から引き出された各連続鉢苗を鉢苗整列手段により集約しつつ整列させ、該整列させた連続鉢苗の隣り合う連続鉢苗間を仕切手段により仕切りつつ、各連続鉢苗を植付け溝へ繰り出して移植することができる。
請求項2に記載の連続鉢苗移植機によれば、整列させた各連続鉢苗間を仕切板により仕切ることで、各連続鉢苗が絡むことを防止し、各連続鉢苗を整然と移植することができる。
請求項3に記載の連続鉢苗移植機によれば、各鉢苗載置領域から引き出された各連続鉢苗は、隣り合う連続鉢苗との距離を徐々に縮めるように集約しつつ整列する。
請求項4に記載の連続鉢苗移植機によれば、鉢苗整列手段は、集約しつつ進行する連続鉢苗を姿勢矯正部により誘導して起立させ、さらに、起立させた連続鉢苗を案内部により整列させて鉢苗繰出し部へ向けて案内する。
請求項5に記載の連続鉢苗移植機によれば、鉢苗繰出し部から繰り出される直前の各連続鉢苗を整列させることができる。これにより、各連続鉢苗をより整然と圃場へ移植することができる。
請求項6に記載の連続鉢苗移植方法によれば、各鉢苗載置領域から引き出された各連続鉢苗を集約しつつ整列させ、整列させた各連続鉢苗を植付け溝へ繰り出して移植することができる。
請求項7に記載の連続鉢苗移植方法によれば、整列させた連続鉢苗の各連続鉢苗間を仕切板により仕切ることで、各連続鉢苗の絡みを防止し、各連続鉢苗を整然と繰り出して植付け溝へ移植することができる。
1条の植付け溝に連続鉢苗を複数列で移植することが可能な連続鉢苗移植機および連続鉢苗移植方法を提供することができる。
(第1実施形態)
本発明の第1実施形態を図1〜図6に基いて説明する。なお、説明の便宜上、連続鉢苗移植機1の進行方向(図1、図2、図5および図6における右方向)を前方と規定する。
第1実施形態の連続鉢苗移植機1は、圃場を前進するに伴い、溝切部4(溝切部)により圃場2の植付け面に植付け溝を形成しつつ、鉢苗載置部5から引き出された連続鉢苗6(6a,6b)を鉢苗案内部7により後方へ案内しながら鉢苗繰出し部8から該植付け溝内へ繰り出して移植するように構成される。また、連続鉢苗移植機1は、鉢苗載置部5が機台幅方向(図1における上下方向)へ並ぶ2つの鉢苗載置領域5a,5bに区画され、図5および図6に示されるように、各鉢苗載置領域5a,5bから引き出された各連続鉢苗6a,6bを集約しつつ整列させ、整列させた各連続鉢苗6a,6bを1条の植付け溝へ繰り出して移植するように構成したものである。
連続鉢苗移植機1は、進行方向の後側(図1および図2における左側)の下面を接地面とする機台3を有する。機台3上には、前から順に、鉢苗載置部5と、該鉢苗載置部5の各鉢苗載置領域5a,5bから引き出された各連続鉢苗6a,6bを集約しつつ整列させ、整列させた各連続鉢苗6a,6bを後方へ向けて案内する鉢苗案内部7と、該鉢苗案内部7により案内した各連続鉢苗6a,6bを連続に繰り出す鉢苗繰出し部8と、が設けられる。なお、図5に示されるように、鉢苗載置部5の各鉢苗載置領域5a,5bには、各連続鉢苗6a,6bを収容する各鉢苗台9a,9bが載置される。鉢苗載置部5は、仕切板等により厳格に区画する必要はなく、鉢苗載置部5に各鉢苗台9a,9bを並べて載置することで、鉢苗載置部5を各鉢苗載置領域5a,5bに区画したものとする。
図1および図2に示されるように、鉢苗案内部7は、各連続鉢苗6a,6bの滑動面を提供する底板12と、該底板12上に突設した左右1対の案内板13とを備えるフレーム11を有する。該フレーム11は、機台3上に固定され、1対の鉢苗案内板13間に仕切用のアングル材14(仕切手段)が設けられる。該アングル材14は、底板12の上面を各鉢苗載置領域5a,5bに相対する2つの領域12a,12bに区画する。各領域12a,12bは、各連続鉢苗6a,6bを円滑に案内できるように各鉢苗載置領域5a,5b側へV字形に拡張されている。また、鉢苗案内部7は、各鉢苗案内板13とアングル材14との間を通過して集約された各連続鉢苗6a,6bを誘導して起立させる姿勢矯正部15と、起立した各連続鉢苗6a,6bを整列させて鉢苗繰出し部8へ向けて案内する案内部16と、を有する。
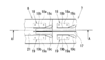
図1に示されるように、鉢苗案内部7は、フレーム11上に立設されてアングル材14の後端部から鉢苗繰出し部8へ前後へ延びる仕切板17(仕切手段)を有する。フレーム11には、左右対称(図1における上下対称)に形成された1対の鉢苗整列部材18,19(鉢苗整列手段)が、仕切板17の前側部分を挟んで機台幅方向(図1における上下方向)両側に対向して設けられる。図3および図4に示されるように、鉢苗整列部材18は、フレームに固定される取付片18aと、該取付片18aに曲げ部を介して連続して仕切板17に対して平行な垂直片18bと、該垂直片18bに曲げ部(稜)18dを介して連続して垂直片18bに対して外側へ傾倒させた傾倒片18cと、からなる。
そして、連続鉢苗移植機1では、鉢苗整列部材18の傾倒片18cが上述した姿勢矯正部15をなし、垂直片18bが上述した案内部16をなす。同様に、鉢苗整列部材19の傾倒片19cが上述した姿勢矯正部15をなし、垂直片19bが上述した案内部16をなす。なお、鉢苗整列部材18の垂直片18aと仕切板17との間隔および鉢苗整列部材19の垂直片19aと仕切板17との間隔は、通過する各連続鉢苗6a,6bの幅に合わせて設定される。
図1に示されるように、鉢苗繰出し部8は、フレーム20の底面を切欠いて形成した切欠部21を有する。フレーム20には、上述した1対の鉢苗整列部材18,19(鉢苗整列手段)が、仕切板17の後側部分を挟んで機台幅方向(図1における上下方向)両側に対向して設けられる。図1を参照してもわかるように、連続鉢苗移植機1には、連続鉢苗6aが通る経路と連続鉢苗6bが通る経路とが独立しており、鉢苗載置部5から引き出された各連続鉢苗6a,6bは、鉢苗繰出し部8から繰り出される時点まで接触することがないように構成される。なお、鉢苗繰出し部8に設けられる1対の鉢苗整列部材18,19は、上述した鉢苗案内部7に設けられる1対の鉢苗整列部材18,19と、部材18,19間の取付間隔を含めて同一であるので、その詳細な説明を省略する。
機台3の接地面には、圃場に植付け溝を形成する上述した溝切部4が設けられる。該溝切部4は、先端部を鋭角に閉じると共に後端部を開放した箱形をなし、後部が鉢苗繰出し部8の下まで延ばされる。また、溝切部4は、左右壁の間隔が、切欠部21の幅よりやや広く形成されており、鉢苗繰出し部58から繰り出された各連続鉢苗6a,6bは、この溝切部4の側壁にも案内されながら、植付け溝へ繰り出される。また、機台3の後端部には、植付け溝に繰り出された各連続鉢苗6a,6bに周辺の土を掻き寄せる1対の培土板30と、該培土板30によって掻き寄せられた土を鎮圧する1対の鎮圧ローラ23と、が設けられる。1対の掻き寄せ板22は、さらに土の掻き寄せを行いたい場合(深植等の場合)に設けられる。なお、機台3の先端部には、ハンドル24を有するスタンド25が設けられ、該スタンド25の下端部には、圃場を滑走可能な車輪26が設けられる。
次に、第1実施形態の作用を説明する。なお、図5および図6に示されるように、第1実施形態では、鉢苗載置部5に長ネギの各鉢苗台9a,9bを並べて載置し、各鉢苗台9a,9bから引き出された各連続鉢苗6a,6bを圃場に形成した1条の植付け溝へ繰り出して移植する場合を説明する。
まず、ハンドル24を牽いて連続鉢苗移植機1を前進させる(図1における右方向へ移動させる)。この連続鉢苗移植機1の前進に伴い、当該移植機1の溝切部4により圃場の植付け面に植付け溝が形成される。同時に、図1に示されるように、移植機1の鉢苗載置部5の各鉢苗台9a,9bから各連続鉢苗6a,6bが引き出される。
各鉢苗台9a,9bから引き出された各連続鉢苗6a,6bは、底板12上の各領域12a,12bを移動する過程で集約されるが、アングル材14(仕切手段)により各連続鉢苗6a,6bが接触することはない。鉢苗案内部7の1対の鉢苗整列部材18,19(鉢苗整列手段)の各姿勢矯正部15(各傾倒片18c,19c)は、各領域12a,12bを通過した各連続鉢苗6a,6bを起き上がらせるように誘導して起立させる。さらに、鉢苗案内部7の1対の鉢苗整列部材18,19の各案内部16(各垂直片18b,19b)は、起立した各連続鉢苗6a,6bを整列させて鉢苗絞り部8へ向けて案内する。この時、鉢苗案内部7の1対の鉢苗整列部材18,19間を通過する連続鉢苗6a,6b間は仕切板17(仕切手段)により仕切られているので、各連続鉢苗6a,6bが接触することはない。
鉢苗案内部7を通過して整列された各連続鉢苗6a,6bは、鉢苗繰出し部8の1対の鉢苗整列部材18,19(鉢苗整列手段)の各案内部16(各垂直片18b,19b)に案内されつつ、当該鉢苗繰出し部8の切欠部21から植付け溝へ繰り出されて移植される。ここで、1対の鉢苗整列部材18,19間を通過する連続鉢苗6a,6b間は仕切板17(仕切手段)により仕切られているため、各連続鉢苗6a,6bが接触することはない。この時、切欠部21から繰り出される連続鉢苗6a,6b間は仕切板17(仕切手段)により仕切られているので、各連続鉢苗6a,6bが接触することはない。
なお、鉢苗繰出し部8における1対の鉢苗整列部材18,19の各姿勢矯正部15(各傾倒片18c,19c)は、各連続鉢苗6a,6bの姿勢を矯正する作用の他、各連続鉢苗6a,6bを円滑に1対の鉢苗整列部材18,19間に導き入れる作用を有する。
第1実施形態では以下の効果を奏する。
第1実施形態によれば、鉢苗載置台5に2つ鉢苗台9a,9bを機台幅方向へ並べて載置し、各鉢苗台9a,9bから引き出した各連続鉢苗6a,6bを鉢苗案内部7により集約しつつ整列させ、該整列させた各連続鉢苗6a,6bを鉢苗繰出し部8から繰り出して1条の植付け溝へ移植することができる。また、各鉢苗台9a,9bから引き出された各連続鉢苗6a,6bは、アングル材14および仕切板14(仕切手段)により、植付け面へ繰り出される時点まで仕切られているので、各連続鉢苗6a,6bが接触することはない。これにより、連続鉢苗6a,6bが絡むようなことがなく、整列した状態を保持したままで連続鉢苗6a,6bを植付け面へ繰り出すことができ、連続鉢苗6a,6bを圃場へ整然と移植することができる。
例えば、長ネギの苗を比較的大きく成長させてから圃場に移植する作型に連続鉢苗6(6a,6b)を適用する場合、畦(1条の植付け溝)に移植することができる苗の数が少なく採算が合わないことから、従来、連続鉢苗移植機による移植が見送られていたが、第1実施形態の連続鉢苗移植機1を使用することで、各鉢体の長ネギの苗が比較的大きく成長した状態の複数列(本実施形態では、2列)の連続鉢苗6a,6bを1条の植付け溝へ整然と移植することができる。これにより、採算性および商品価値を確保しつつ、長ネギの各連続鉢苗6a,6bの移植作業を機械化することが可能になり、移植作業が大幅に効率化されると共に作業者への負担を大幅に軽減することができる。
また、畦に多くの苗を移植するのが有利である場合、1つの鉢体に複数粒で播種した連続鉢苗6a,6bを第1実施形態の連続鉢苗移植機1を使用して複数列(本実施形態では、2列)で畦に移植することで、畦に多くの苗を効率的に移植することができる。
さらに、複数列(本実施形態では、2列)の連続鉢苗6a,6bが同時に覆土、鎮圧されるので、複数列で移植した苗の活着、生育が良好である。
なお、実施形態は、上述した第1実施形態に限定されるのもではなく、例えば、次のように構成してもよい。
第1実施形態では、連続鉢苗移植機1を使用して長ネギの苗を移植する場合を説明したが、例えば、葉ネギ、水菜あるいは花の苗等の移植に連続鉢苗移植機1を適用することができる。
第1実施形態では、ハンドル24を牽いて連続鉢苗移植機1を前進させたが、例えば、当該移植機1をトラクタに連結して牽引させることができる。
(第2実施形態)
次に、図7に基いて第2実施形態を説明する。ここでは、明細書の記載を簡潔にするために、上述した第1実施形態と同一あるいは相当の構成要素については、同一の名称及び符号を付与すると共にその詳細な説明を省略する。
図7に示されるように、第2実施形態の連続鉢苗移植機31は、鉢苗載置部5が機台幅方向(図7における上下方向)へ並ぶ3つの鉢苗載置領域5a,5b,5cに区画され、各鉢苗載置領域5a,5b,5cから引き出された各連続鉢苗6a,6b,6cを集約しつつ整列させ、整列させた各連続鉢苗6a,6b,6cを1条の植付け溝へ繰り出して移植するように構成したものである。
なお、鉢苗載置部5の各鉢苗載置領域5a,5b,5cには、各連続鉢苗6a,6b,6cを収容する各鉢苗台9a,9b,9cが載置される。鉢苗載置部5は、仕切板等により厳格に区画する必要はなく、鉢苗載置部5に各鉢苗台9a,9b,9cを並べて載置することで、鉢苗載置部5を各鉢苗載置領域5a,5b,5cに区画したものとする。鉢苗案内部7のフレーム11には、1対の鉢苗案内板13間に仕切用のアングル材32,33(仕切手段)が設けられる。これらアングル材32,33は、底板12の上面を各鉢苗載置領域5a,5b,5cに相対する3つの領域12a,12b,12cに区画する。
鉢苗案内部7は、各鉢苗案内板13と各アングル材32,33との間およびアングル材32,33間を通過して集約された各連続鉢苗6a,6b,6cを誘導して起立させる姿勢矯正部15と、起立した各連続鉢苗6a,6bを整列させて鉢苗繰出し部8へ向けて案内する案内部16と、を有する。また、鉢苗案内部7は、フレーム11上に立設されて各アングル材32,33の後方から鉢苗繰出し部8へ前後へ延びる仕切板34,35(仕切手段)を有する。さらに、フレーム11には、1対の鉢苗整列部材18,19(鉢苗整列手段)が、仕切板34,35の前側部分を挟んで対向して設けられる。なお、鉢苗整列部材18の垂直片18aと仕切板34との間隔、仕切板34,35間の間隔ならびに鉢苗整列部材19の垂直片19aと仕切板35との間隔は、通過する各連続鉢苗6a,6b,6cの幅に合わせて設定される。
鉢苗繰出し部8のフレーム20には、上述した1対の鉢苗整列部材18,19(鉢苗整列手段)が、仕切板34,35の後側部分を挟んで対向して設けられる。図6を参照してもわかるように、連続鉢苗移植機31には、連続鉢苗6aが通る経路、連続鉢苗6bが通る経路ならびに連続鉢苗6cが通る経路が独立しており、鉢苗載置部5から引き出された各連続鉢苗6a,6b,6cは、鉢苗繰出し部8から繰り出される時点まで接触することがないように構成される。
第2実施形態の連続鉢苗移植機31によれば、第1実施形態の連続鉢苗移植機1と同一の作用効果を得ることができる。
また、第2実施形態の連続鉢苗移植機31は、3つの各鉢苗台9a,9b,9cから引き出した各連続鉢苗6a,6b,6cを鉢苗案内部7により集約しつつ整列させ、該整列させた各連続鉢苗6a,6b,6cを鉢苗繰出し部8から繰り出して1条の植付け溝へ移植することができるので、畦により多くの苗を効率的に移植することができる。
(第3実施形態)
次に、図8に基いて第3実施形態を説明する。ここでは、明細書の記載を簡潔にするために、上述した第1実施形態及び第2実施形態と同一あるいは相当の構成要素については、同一の名称及び符号を付与すると共にその詳細な説明を省略する。
図8に示されるように、第3実施形態の連続鉢苗移植機33は、鉢苗載置部5が機台幅方向(図8における上下方向)へ並ぶ2つの鉢苗載置領域5a,5bに区画され、各鉢苗載置領域5a,5bから引き出された各連続鉢苗6a,6bを集約しつつ整列させ、整列させた各連続鉢苗6a,6bを1条の植付け溝へ繰り出して移植するように構成したものである。なお、鉢苗載置部5の各鉢苗載置領域5a,5bには、各連続鉢苗6a,6bを収容する各鉢苗台9a,9bが載置される。
第3実施形態において、鉢苗載置部5は、仕切板等により厳格に区画する必要はなく、鉢苗載置部5に各鉢苗台9a,9bを並べて載置することで、鉢苗載置部5を各鉢苗載置領域5a,5bに区画したものとする。鉢苗案内部7のフレーム11には、1対の鉢苗案内板13間に仕切用のアングル材14(仕切手段)が設けられる。アングル材14は、底板12の上面を各鉢苗載置領域5a,5bに相対する3つの領域12a,12bに区画する。
鉢苗案内部7は、各鉢苗案内板13とアングル材14との間を通過して集約された各連続鉢苗6a,6bを誘導して起立させる。起立直後に、苗は整列されて鉢苗繰出し部8へ向けて案内する案内部16から植溝へ繰り出される。
鉢苗繰出し部8のフレーム20には、上述した1対の鉢苗整列部材18,19(鉢苗整列手段)が、切欠部21を挟んで対向して設けられる。図9を参照してもわかるように、連続鉢苗移植機33には、連続鉢苗6aが通る経路、連続鉢苗6bが通る経路が独立しており、鉢苗載置部5から引き出された各連続鉢苗6a,6bは、鉢苗繰出し部8から繰り出される時点まで接触することがないように構成される。
第3実施形態の連続鉢苗移植機33によれば、第1実施形態の連続鉢苗移植機1と同一の作用効果を得ることができる。
第1実施形態の連続鉢苗移植機の平面図である。 第1実施形態の連続鉢苗移植機の右側面図である。 図1における鉢苗整列手段を拡大して示した図である。 図3におけるA−A矢視図である。 第1実施形態の連続鉢苗移植機を使用して、長ネギを育苗した連続鉢苗を移植する態様を示す平面図である。 第1実施形態の連続鉢苗移植機を使用して、長ネギを育苗した連続鉢苗を移植する態様を示す右側面図である。 第2実施形態の連続鉢苗移植機を使用して、長ネギを育苗した連続鉢苗を移植する態様を示す平面図である。 第3実施形態の連続鉢苗移植機の平面図である。 第3実施形態の連続鉢苗移植機を使用して、長ネギを育苗した連続鉢苗を移植する態様を示す平面図である。
符号の説明
1 連続鉢苗移植機、2 圃場、3 機台、4 溝切部、5 鉢苗載置部、5a,5b 鉢苗載置領域、6a,6b 連続鉢苗、7 鉢苗案内部、8 鉢苗繰出し部、14 アングル材(仕切手段)、15 姿勢矯正部、16 案内部、17 仕切板(仕切手段)、18,19 鉢苗整列部材

Claims (7)

  1. 進行方向後側の下面を接地面とした機台上に、その進行方向前側から順次、連続鉢苗を載置する鉢苗載置部と、該鉢苗載置部から引き出された前記連続鉢苗を1列に整列させて案内する鉢苗案内部と、該鉢苗案内部から植付け面へ前記連続鉢苗を繰り出す鉢苗繰出し部と、が設けられ、さらに、前記機台の接地面に、圃場に植付け溝を形成する溝切部が設けられる連続鉢苗移植機であって、
    前記鉢苗載置部が機台幅方向へ並ぶ複数の鉢苗載置領域に区画され、
    さらに、前記鉢苗案内部に設けられ、各鉢苗載置領域から引き出された各連続鉢苗を集約しつつ整列させる鉢苗整列手段と、
    を有することを特徴とする連続鉢苗移植機。
  2. さらに、前記鉢苗案内部から前記鉢苗繰出し部まで延び、前記鉢苗整列手段により整列させた前記連続鉢苗の隣り合う前記連続鉢苗間を仕切る仕切手段を有することを特徴とする連続鉢苗移植機。
  3. 前記鉢苗整列手段は、集約された前記連続鉢苗の通過を許容する間隔をあけて対向配置される1対の鉢苗整列部材を有することを特徴とする請求項1に記載の連続鉢苗移植機。
  4. 前記鉢苗整列手段の各鉢苗整列部材は、前記連続鉢苗の姿勢を矯正する姿勢矯正部と、姿勢が矯正された前記連続鉢苗を整列させて前記鉢苗繰出し部へ向けて案内する案内部と、を有することを特徴とする請求項1−3に記載の連続鉢苗移植機。
  5. さらに、前記1対の鉢苗整列部材が前記鉢苗繰出し部に設けられることを特徴とする請求項1−4のいずれかに記載の連続鉢苗移植機。
  6. 連続鉢苗移植機を移動させて該移植機の溝切部により圃場に植付け溝を形成しつつ鉢苗載置部から引き出された連続鉢苗を前記植付け溝へ繰り出して移植する方法であって、
    前記鉢苗載置部を機台幅方向へ並ぶ複数の鉢苗載置領域に区画しておいて、
    各鉢苗載置領域から引き出された各連続鉢苗を集約しつつ整列させ、該整列させた各連続鉢苗を前記植付け溝へ繰出して移植することを特徴とする連続鉢苗移植方法。
  7. 整列させた前記連続鉢苗の隣り合う前記連続鉢苗間を仕切板により仕切りつつ、各連続鉢苗を前記植付け溝へ繰出して移植することを特徴とする請求項6に記載の連続鉢苗移植方法。
JP2008253675A 2008-09-30 2008-09-30 連続鉢苗移植機 Active JP5215801B2 (ja)

Priority Applications (1)

Application Number Priority Date Filing Date Title
JP2008253675A JP5215801B2 (ja) 2008-09-30 2008-09-30 連続鉢苗移植機

Applications Claiming Priority (1)

Application Number Priority Date Filing Date Title
JP2008253675A JP5215801B2 (ja) 2008-09-30 2008-09-30 連続鉢苗移植機

Publications (2)

Publication Number Publication Date
JP2010081853A true JP2010081853A (ja) 2010-04-15
JP5215801B2 JP5215801B2 (ja) 2013-06-19

Family

ID=42246439

Family Applications (1)

Application Number Title Priority Date Filing Date
JP2008253675A Active JP5215801B2 (ja) 2008-09-30 2008-09-30 連続鉢苗移植機

Country Status (1)

Country Link
JP (1) JP5215801B2 (ja)

Cited By (1)

* Cited by examiner, † Cited by third party
Publication number Priority date Publication date Assignee Title
JP2016171787A (ja) * 2015-03-17 2016-09-29 大分県 根深ネギの大苗育成方法

Citations (5)

* Cited by examiner, † Cited by third party
Publication number Priority date Publication date Assignee Title
JPS5681609U (ja) * 1979-11-30 1981-07-02
JPH07213115A (ja) * 1994-02-03 1995-08-15 Nippon Beet Sugar Mfg Co Ltd 多条連続集合鉢体苗移植機及びこれ等移植機による連続集合鉢体苗移植方法
JP3016320U (ja) * 1995-03-29 1995-10-03 清貴 鈴木 野菜等の苗移植機
JPH09285210A (ja) * 1996-04-22 1997-11-04 Wadou Sangyo Kk 畑の苗植え機
JP3092397U (ja) * 2002-08-28 2003-03-07 日本甜菜製糖株式会社 接地型移植機

Patent Citations (5)

* Cited by examiner, † Cited by third party
Publication number Priority date Publication date Assignee Title
JPS5681609U (ja) * 1979-11-30 1981-07-02
JPH07213115A (ja) * 1994-02-03 1995-08-15 Nippon Beet Sugar Mfg Co Ltd 多条連続集合鉢体苗移植機及びこれ等移植機による連続集合鉢体苗移植方法
JP3016320U (ja) * 1995-03-29 1995-10-03 清貴 鈴木 野菜等の苗移植機
JPH09285210A (ja) * 1996-04-22 1997-11-04 Wadou Sangyo Kk 畑の苗植え機
JP3092397U (ja) * 2002-08-28 2003-03-07 日本甜菜製糖株式会社 接地型移植機

Cited By (1)

* Cited by examiner, † Cited by third party
Publication number Priority date Publication date Assignee Title
JP2016171787A (ja) * 2015-03-17 2016-09-29 大分県 根深ネギの大苗育成方法

Also Published As

Publication number Publication date
JP5215801B2 (ja) 2013-06-19

Similar Documents

Publication Publication Date Title
US9980428B2 (en) Molded ribs for an agricultural implement tank
JP2016526902A (ja) 農作植物の苗を定植及び処理するための装置
KR101557365B1 (ko) 감자 파종기
US20080308025A1 (en) Method and apparatus for seeding canola and flax
CN106973590A (zh) 多功能大蒜种植机
JP5215801B2 (ja) 連続鉢苗移植機
CN1822762B (zh) 栽培植物的设备
JP5209335B2 (ja) 膨軟圃場への密植用連続鉢苗移植機
KR101360222B1 (ko) 수경재배용 연결포트 및 이를 이용한 육묘방법
EP2773177B1 (en) An agricultural machine provided with a displaceable implement section
JP6126486B2 (ja) 連続鉢苗移植機および作物の生産方法
KR102274592B1 (ko) 파종기
CN202385480U (zh) 平地播种铺膜机
JP7136989B2 (ja) 連続鉢苗移植機及び作物の生産方法
JP5035989B2 (ja) 栽培ベンチへの移植方法及び移植機
CN203040165U (zh) 一种农作物插播机
JP5212831B2 (ja) 植付け方法および装置
JP3242976U (ja) 種の筋蒔き定規
JP3016320U (ja) 野菜等の苗移植機
KR102792374B1 (ko) 스마트 고구마 순 이식기
RU2604290C1 (ru) Способ посадки картофеля
JP7226231B2 (ja) 育苗培土
RU2437267C1 (ru) Комбинированный сошник
JP6720782B2 (ja) 混植苗の作成方法
JP6689086B2 (ja) 植付溝同時成形苗移植機

Legal Events

Date Code Title Description
A621 Written request for application examination

Free format text: JAPANESE INTERMEDIATE CODE: A621

Effective date: 20100430

A977 Report on retrieval

Free format text: JAPANESE INTERMEDIATE CODE: A971007

Effective date: 20111117

A131 Notification of reasons for refusal

Free format text: JAPANESE INTERMEDIATE CODE: A131

Effective date: 20111207

A521 Request for written amendment filed

Free format text: JAPANESE INTERMEDIATE CODE: A523

Effective date: 20120131

A131 Notification of reasons for refusal

Free format text: JAPANESE INTERMEDIATE CODE: A131

Effective date: 20120606

A521 Request for written amendment filed

Free format text: JAPANESE INTERMEDIATE CODE: A523

Effective date: 20120731

TRDD Decision of grant or rejection written
A01 Written decision to grant a patent or to grant a registration (utility model)

Free format text: JAPANESE INTERMEDIATE CODE: A01

Effective date: 20130206

A61 First payment of annual fees (during grant procedure)

Free format text: JAPANESE INTERMEDIATE CODE: A61

Effective date: 20130301

R150 Certificate of patent or registration of utility model

Ref document number: 5215801

Country of ref document: JP

Free format text: JAPANESE INTERMEDIATE CODE: R150

Free format text: JAPANESE INTERMEDIATE CODE: R150

FPAY Renewal fee payment (event date is renewal date of database)

Free format text: PAYMENT UNTIL: 20160308

Year of fee payment: 3

S531 Written request for registration of change of domicile

Free format text: JAPANESE INTERMEDIATE CODE: R313531

R350 Written notification of registration of transfer

Free format text: JAPANESE INTERMEDIATE CODE: R350