JP2010076725A - リザーバタンクおよびこれを用いたブレーキ装置 - Google Patents

リザーバタンクおよびこれを用いたブレーキ装置 Download PDF

Info

Publication number
JP2010076725A
JP2010076725A JP2008250437A JP2008250437A JP2010076725A JP 2010076725 A JP2010076725 A JP 2010076725A JP 2008250437 A JP2008250437 A JP 2008250437A JP 2008250437 A JP2008250437 A JP 2008250437A JP 2010076725 A JP2010076725 A JP 2010076725A
Authority
JP
Japan
Prior art keywords
float
reservoir tank
guide
magnet
liquid level
Prior art date
Legal status (The legal status is an assumption and is not a legal conclusion. Google has not performed a legal analysis and makes no representation as to the accuracy of the status listed.)
Granted
Application number
JP2008250437A
Other languages
English (en)
Other versions
JP5207534B2 (ja
Inventor
Toshiyuki Takahashi
高橋俊幸
Current Assignee (The listed assignees may be inaccurate. Google has not performed a legal analysis and makes no representation or warranty as to the accuracy of the list.)
Bosch Corp
Original Assignee
Bosch Corp
Priority date (The priority date is an assumption and is not a legal conclusion. Google has not performed a legal analysis and makes no representation as to the accuracy of the date listed.)
Filing date
Publication date
Application filed by Bosch Corp filed Critical Bosch Corp
Priority to JP2008250437A priority Critical patent/JP5207534B2/ja
Priority to PCT/JP2009/067296 priority patent/WO2010035907A1/ja
Publication of JP2010076725A publication Critical patent/JP2010076725A/ja
Application granted granted Critical
Publication of JP5207534B2 publication Critical patent/JP5207534B2/ja
Active legal-status Critical Current
Anticipated expiration legal-status Critical

Links

Images

Landscapes

  • Transmission Of Braking Force In Braking Systems (AREA)

Abstract

【課題】フロートを確実に上下動させつつ、消灯液面をリミットスイッチからより一層遠ざけることのできる安価なリザーバタンクを提供する。
【解決手段】リミットスイッチ24をオン・オフするマグネット22がフロート23の上端部に取り付けられる。また、フロート2は、その上部で、上端内面から垂下された円柱状のガイド25にフロート23のガイド孔23dが嵌合されてガイドされながら上下移動するとともに、その下部で、リザーバタンク5の底面から上方に向かって突設された円筒状隔壁20の内周面でガイドされながら上下移動する。これにより、フロート23がより確実に上下動するようになる。
【選択図】 図3

Description

本発明は、油圧等の液圧を利用した液圧ブレーキ装置や液圧クラッチ装置に用いられ、作動液を貯留するリザーバタンクの技術分野およびこれを用いたブレーキ装置の技術分野に関するものである。
従来、自動車等の車両においては、液圧を利用した液圧ブレーキ装置や液圧クラッチ装置を採用した車両がある。これらの液圧ブレーキ装置や液圧クラッチ装置には、液圧を発生させるマスタシリンダおよびこのマスタシリンダに供給する作動液を貯留するリザーバタンクが用いられている。
マスタシリンダが液圧必要時に液圧を発生するためには、リザーバタンク内に所定液量の作動液が貯留されている必要がある。このため、一般にリザーバタンクには液量検知センサが設けられており、リザーバタンク内の液量が所定液量より下回ると、この液量検知センサがこれを検知して液量表示装置に表示させるようになっている。この液量表示装置の表示により、リザーバタンク内に作動液が補給されてリザーバタンク内の液量が所定液量以上に確保される。
従来のリザーバタンクの液量検知センサとして、リザーバタンクの上面に、ノーマルクローズド型のリミットスイッチを設置するとともにリザーバタンク内の作動液の液面の高さに応じて上下動するフロートにマグネットを設けた液量検知センサが知られている(例えば、特許文献1参照)。
この特許文献1に記載の液量検知センサでは、フロートがリザーバタンクの上端内面から垂下されたガイドにガイドされて上下動するようになっている。そして、リザーバタンク内の作動液の液面が高いときはフロートが上動して、マグネットがリミットスイッチに接近しその磁力でリミットスイッチをオフ(開)にする。これにより、警告灯は消灯する。また、リザーバタンク内の作動液の液面が消灯液面以下の低いときはフロートが下動して、マグネットがリミットスイッチから離間しその磁力がリミットスイッチに影響しなくなり、リミットスイッチは自力でオン(閉)となる。これにより、警告灯が点灯する。
特表2006−519728号公報。
ところで、特許文献1に開示のリザーバタンクの液量検知センサでは、マグネットがフロートの上下方向のほぼ中心位置に設けられていることから、フロートの上下方向の寸法が比較的小さく設定されている。しかしながら、フロートの上下方向の寸法が小さいと、車両傾動時等の液面変動によりフロートが傾くと、フロートとガイドとの間の摩擦抵抗が大きくなってフロートがガイドに引っ掛かりやすくなる。このため、フロートは液面の変化に連動してスムーズにかつ確実に上下動することが難しくなるおそれが考えられる。
そこで、フロートの上下方向の寸法を大きくすることが考えられるが、フロートの上下方向の寸法を単純に大きくすると、マグネットがリミットスイッチから遠ざかってしまう。このため、消灯液面でマグネットによりリミットスイッチをオン・オフさせる、つまりリミットスイッチの作動確実性を高めるためには、消灯液面をリミットスイッチに接近させる必要がある。しかし、消灯液面をリミットスイッチに接近させたのでは、リザーバタンクの作動液の貯留容量を大きく設定することが難しいという問題がある。リザーバタン
クの作動液の貯留容量を大きく設定するために、消灯液面をリミットスイッチから遠ざけると、リミットスイッチのオン・オフ時にマグネットもリミットスイッチから大きく遠ざかってしまう。このため、リミットスイッチを確実にオン・オフさせるためには、マグネットの磁力を大きくしなければならなく、コストが高いものとなる。
本発明はこのような事情に鑑みてなされたものであって、その目的は、フロートを確実に上下動させつつ、消灯液面をリミットスイッチからより一層遠ざけることのできる安価なリザーバタンクおよびこれを用いたブレーキ装置を提供することである。
前述の課題を解決するために、本発明のリザーバタンクは、貯留された作動液を検出する液量検出部を備え、前記液量検出部が、貯留された作動液の液面が所定液面以下のときオンするとともに前記液面が所定液面より高いときオフするリミットスイッチと、前記リミットスイッチをオン・オフするマグネットが設けられるとともに前記作動液の液面に応じて上下動するフロートとを有し、前記リミットスイッチが前記マグネットの上方に設けられるリザーバタンクにおいて、前記マグネットが前記フロートの上端部に取り付けられ、前記フロートが、その上部が上端内面から垂下された第1のガイドにより上下移動可能にガイドされるとともに、その下部が底面から上方に向かって突設された第2のガイドにより上下移動可能にガイドされるようになっていることを特徴としている。
また、本発明のリザーバタンクは、前記第1のガイドが、上端内面から下方に突設された円柱状のガイドと、前記フロートの中心に上下方向に設けられかつ前記ガイドに嵌合されるガイド孔とを有し、前記第2のガイドが、底面から上方に向かって突設されかつ内部に前記フロートが上下動するフロート室を形成する円筒状隔壁を有し、前記フロートが、その上部が前記ガイド孔および前記ガイドにより上下移動可能にガイドされるとともに、その下部が前記円筒状隔壁の内周面により上下移動可能にガイドされるようになっていることを特徴としている。
更に、本発明のリザーバタンクは、貯留された作動液を検出する液量検出部を備え、前記液量検出部が、貯留された作動液の液面が所定液面以下のときオンするとともに前記液面が所定液面より高いときオフするリミットスイッチと、前記リミットスイッチをオン・オフするマグネットが設けられるとともに前記作動液の液面に応じて上下動する前記フロートとを有し、前記リミットスイッチが前記マグネットの上方に設けられるリザーバタンクにおいて、前記マグネットが前記フロートの上端部に取り付けられ、前記フロートが、上動時その上部が上端内面に設けられた水平保持部により水平に保持されるとともに、その下部がガイドにより上下移動可能にガイドされるようになっていることを特徴としている。
更に、本発明のリザーバタンクは、前記水平保持部が、上端内面から垂下された環状のリブと、前記フロートの上面に設けられかつ前記環状のリブの下端に当接可能な環状のストッパとを有し、前記ガイドが、前記フロートの下面の中心から垂下された棒状の第1のガイドと、底面に設けられかつ前記第1のガイドが嵌合する筒状の第2のガイドとを有し、
前記フロートはその下部で前記第1および第2のガイドにより上下移動可能にガイドされるとともに、上動時に前記環状のリブに前記環状のストッパが当接することで、その上部で水平が保持されるようになっていることを特徴としている。
更に、本発明のリザーバタンクは、前記フロートが、フロート本体と、このフロート本体の上面から上方に突設されたマグネット支柱とを有し、前記マグネットが前記マグネット支柱の上端部に取り付けられていることを特徴としている。
更に、本発明のブレーキ装置は、作動液を貯留するリザーバタンクと、前記リザーバタンク内の作動液が供給されるとともに作動時にブレーキ圧を発生するマスタシリンダと、前記マスタシリンダからの液圧で作動するブレーキシリンダとを少なくとも備え、前記リザーバタンクが前述の本発明のリザーバタンクのいずれか1つであることを特徴としている。
このように構成された本発明のリザーバタンクによれば、フロートを、その上部で上端内面から垂下された第1のガイドによりガイドしながら上下移動しているとともに、その下部で底面から上方に向かって突設された第2のガイドによりガイドしながら上下移動している。したがって、フロートをよりスムーズにかつより確実に上下動させることができる。また、このようにリザーバタンクのフロートがより確実に上下動することができることから、液量検出部の誤作動による警告灯の誤点灯をより効果的に防止することができる。
そして、フロートをリザーバタンクの上端内面から垂下された第1のガイドによりガイドしているので、上動したフロートを確実にガイドしてマグネットをリミットスイッチに対して位置規制しセンタリングすることができる。これにより、マグネットをフロートの上端部に取り付けることでフロートの重心位置が上方に位置しても、フロートおよびマグネットの傾動をより確実に抑制することができる。したがって、フロートおよびマグネットをそれらの自重でリミットスイッチのオン・オフ作動をより確実に行うことができる。
その場合、第1のガイドを、上端内面から下方に突設された円柱状のガイドと、フロートの中心に上下方向に設けられかつこのガイドに嵌合されるガイド孔とで構成している。また、第2のガイドを、リザーバタンクの底面から上方に向かって突設されかつ内部にフロートが上下動するフロート室を形成する円筒状隔壁で構成している。したがって、フロートを、その上部でガイド孔およびガイドによりガイドしながら上下移動するとともに、その下部で円筒状隔壁の内周面によりガイドしながら上下移動することにより、フロートをよりスムーズにかつより確実に上下動させることができる。
そして、第2のガイドを、フロートが上下動するフロート室を形成する円筒状隔壁で構成した場合、前述のように上動したフロートをフロートを上方のガイドによりガイドすることで、下方の円環状隔壁を補強するリブ等の補強部材が不要となる。これにより、補強部材を設けなくても、樹脂モール成形時に円環状隔壁の横断面形状をより真円にすることができる。
更に、本発明のリザーバタンクによれば、マグネットをフロートの上端部に取り付け、フロートを、上動時その上部で上端内面に設けられた水平保持部により水平に保持するとともに、その下部でガイドによりガイドしながら上下移動させている。したがって、フロートが上動して、フロート下部のガイドによるガイド量が少なくなっても、フロートを水平保持部で確実に水平に保持することができる。しかも、車両傾動時等によりリザーバタンクが傾動しても、フロートをこの水平保持部で確実に水平に保持できる。これにより、フロートの上動時にフロートの上下動をよりスムーズにかつより確実に行うことができ、フロートの作動確実性を向上することができるようになる。その結果、リミットスイッチの誤作動を抑制することができ、警告灯の誤点灯を防止することができる。
その場合、水平保持部をリザーバタンクの上端内面から垂下された環状のリブで構成する。そして、フロートの上面に環状のストッパを設けて、この環状のストッパの上端を環状のリブの下端に当接させる。これにより、フロートの上動時にフロートをより確実に水
平に保持することができる。しかも、フロートの上面に環状のストッパを設けることで、フロートの径を大きく設定している。これにより、リザーバタンク内の作動液の液面の波打ちによるフロートへの影響を抑制することができ、フロートをより安定して水平に保持することができる。
また、マグネットをフロート本体の上面に設けたマグネット支柱の上端に設けることで、フロートの上下方向寸法を大きくすることができる。したがって、フロートを作動液の液面に応じてスムーズにかつ確実に上下動することができる。このとき、上端部にマグネットが設けられたフロートの重心位置が更に上方に位置するようになるが、このように重心位置が上方に位置しても、フロートおよびマグネットをそれらの自重でほとんど傾くことなく、スムーズに上下動させることができる。
更に、マグネットをフロートの上端に設けているので、マグネットをリミットスイッチに接近させることができる。これにより、消灯液面をリミットスイッチから遠ざけることができる。したがって、リザーバタンクの作動液の貯留容量をより大きく設定することが可能となる。しかも、消灯液面をリミットスイッチから遠ざけても、フロートの消灯液面でのマグネットの位置をリミットスイッチにより近づけることができる。これにより、リミットスイッチの作動確実性を高めることができる。その結果、マグネットの磁力を小さくでき、コストを低減することができる。
更に、フロートの上方部をマグネット支柱で構成しているので、マグネット支柱の作動液の受圧面積を小さくできる。これにより、例えば車両の急制動や急旋回等により、リザーバタンク内の作動液が急激に移動しても、移動する作動液によってマグネット支柱に加えられる力を抑制できる。したがって、作動液の急激な移動によるフロートへの影響を少なくでき、リミットスイッチの誤作動を一層効果的に防止でき、警告灯の誤点灯をより確実に防止できる。
更に、マグネット支柱の長さや径を種々変更することで、フロート室内の体積を種々変更することが可能となる。したがって、リザーバタンクが搭載される車両の車種によって種々異なるリザーバタンクに、より柔軟にかつより確実に対応することができる。
一方、本発明のリザーバタンクを用いたブレーキ装置によれば、液量検出部によりリザーバタンク内の作動液の液量をより確実に検知できるので、ブレーキ作動をより確実に行うことができる。
以下、図面を用いて、本発明を実施するための最良の形態について説明する。
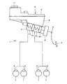
図1は本発明に係るリザーバタンクの実施の形態の一例を備えるブレーキ装置を、模式的に示す図である。
図1に示すように、この例の液圧ブレーキ装置1は、基本的には従来公知の一般的な2系統の液圧ブレーキ装置と同じである。すなわち、液圧ブレーキ装置1は、ブレーキペダル2、倍力装置3、タンデムマスタシリンダ4、リザーバタンク5、およびブレーキシリンダ6を備えている。
そして、運転者がブレーキペダル2を踏み込むと、倍力装置3が作動してペダル踏力を所定のサーボ比で倍力して出力する。この倍力装置3の出力でタンデムマスタシリンダ4のプライマリピストン4aが作動してプライマリ作動液室4bの作動液を一方の系統のブレーキシリンダ6に送給するとともに、セカンダリピストン4cが作動いてセカンダリ作動液室4dの作動液を他方の系統のブレーキシリンダ6に送給する。各ブレーキ系統のロ
スストロークが消滅すると、タンデムマスタシリンダ4が液圧を発生する。このタンデムマスタシリンダ4の液圧が各ブレーキシリンダ6に伝達され、各ブレーキシリンダ6がブレーキ力を発生して、各車輪7にブレーキがかけられる。
図2(a)は、この例のリザーバタンクを部分的に切り欠いて示す図、図2(b)は、この例のリザーバタンクの長手方向の縦断面図である。なお、以下の説明において、各部位の底の高さの高低は、リザーバタンクが車体に取り付けられかつ車両が水平にされた状態での高低をいう。
図2(a)および(b)に示すように、この例のブレーキ装置1に用いられているリザーバタンク5は、タンデムマスタシリンダ4へ送給する作動液を貯留しかつ上方に開口した容器状の下半体8と、この下半体8の上端開口部を閉塞する上半体9とを有している。上半体9には作動液注入口10が設けられており、この作動液注入口10はキャップ11(図1に図示)によって開閉されるようになっている。
この例の下半体8は、作動液供給部12と、作動液貯留室13と、これらの作動液供給部12および作動液貯留室13間に設けられた作動液通路14とを有している。通常時は、下半体8は上半体9がかけられて、下半体8の上端開口部は閉塞されている。したがって、作動液は上半体9の作動液注入口10を通して作動液供給部12に供給されるようになる。
作動液貯留室13は、液量検出室15、プライマリ作動液貯留室16、セカンダリ作動液貯留室17を有している。そして、リザーバタンク5がタンデムマスタシリンダ4を介して車体に取り付けられた状態では、作動液注入口10、作動液供給部12、液量検出室15、セカンダリ作動液貯留室17、およびプライマリ作動液貯留室16は、車両前方(図2(b)において左方)から車両後方(図2(b)において右方)に向かってこれらの順に配設されている。
作動液供給部12は作動液通路14を介して液量検出室15とは常時連通されている。また、液量検出室15はセカンダリ作動液貯留室17と常時連通されている。更に、作動液供給部12は作動液通路14の他の経路を介してプライマリ作動液貯留室16に常時連通されている。プライマリ作動液貯留室16とセカンダリ作動液貯留室17は隔壁18によって仕切られているが、隔壁18の上端18aより上方では互い常時連通されている。プライマリ作動液貯留室16内の作動液はプライマリ作動液供給口16aを通してマスタシリンダ4のプライマリ作動液室4bに供給されるとともに、セカンダリ作動液貯留室17内の作動液はセカンダリ作動液供給口17aを通してマスタシリンダ4のセカンダリ作動液室4dに供給される。
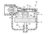
液量検出室15に対応する位置には液量検出部19が設けられている。この液量検出部19は下半体8の前後方向(車両前後方向)のほぼ中心に設けられて、リザーバタンク5
内に貯留される作動液の液量を検出するものである。図3に拡大して示すように、液量検出部19は、円筒状隔壁20(本発明の第2のガイドに相当)によって囲まれたフロート室21内に配設されかつ上端部にマグネット22を有するフロート23と、液量検出部19の上方部で上半体9の外側に設けられてマグネット22で作動されるリミットスイッチ24と、円柱状(丸棒状)のガイド25(本発明の第1のガイドに相当)と、吸着防止突起26とを備えている。
フロート室21は円筒状隔壁20に形成された比較的小径の連通孔20aにより円筒状隔壁20の外周側の液量検出室15と常時連通している。したがって、液面が連通孔20aより上方に位置するまで作動液がリザーバタンク5内に貯留されると、この作動液が連
通孔20aを通してフロート室21内に浸入するようになっている。その場合、フロート室21内の作動液の液面の高さと液量検出室15内の作動液の液面の高さが常時同じになる。また、例えば車両の急制動や急旋回等により円筒状隔壁20の外部のリザーバタンク5内の作動液が急激に移動しても、連通孔20aの絞り作用により、フロート室21内の作動液の液面変動が抑制される。これにより、リミットスイッチ24の誤作動が防止される。
フロート23は、円形外周面を有するフロート本体23aと、このフロート本体23aの上端に上方に向かって突設された断面四角形あるいは断面円形のマグネット支柱23bと、このマグネット支柱23bの上端に設けられたマグネット支持部23cとを有している。マグネット支柱23bの中心には、上下方向に延設されかつ上方に開放する横断面円形のガイド孔23dが穿設されている。これらのフロート本体23a、マグネット支柱23b,23c、マグネット支持部23c、およびガイド孔23dは発泡樹脂により一体モ
ールド成形される。マグネット支持部23cには環状のマグネット22が固定支持されている。この環状のマグネット22の中心には上下方向に貫通する貫通孔22aが設けられているとともに、この貫通孔22aの中心軸はガイド孔23dの中心軸と同軸上に設定されている。また、マグネット22は上部の径が下部の径より小径の段付き形状に形成されている。この段付き形状により、マグネット22とフロート23とを一体モールド成形する際、マグネット22の抜け止めがされる。
上半体9の外面に角筒状のリミットスイッチ取付部27が上半体9と一体に設けられている。リミットスイッチ24はこのリミットスイッチ取付部27に、図2(a)の図面の手前からこの図面と直交する方向(車両左右方向)に(図3では左方か右方に)挿入されて取り付けられている。その場合、リミットスイッチ24の車両前後方向(図2(b)において左右方向)の中心が、マグネット22の中心から前後方向に偏心(オフセット)している。リミットスイッチ24は、自力で閉じるノーマルクローズド(常閉)スイッチとして構成されている。フロート室21内の作動液の液面の高さに応じて、図3に実線および二点鎖線で示すようにフロート23がフロート室21内を上下動することで、マグネット22も上下動する。
作動液の液面の高さが予め規定された最小限のMIN位置より若干高い位置になるまで作動液がリザーバタンク5内に貯留されると、フロート室21内の作動液の液面も、このリザーバタンク5内の液面のと同じ位置となる。このため、フロート23もこの液面の高さに対応した高さ位置となる。このときのフロート室21内の液面がリミットスイッチ24のオン・オフ切換液面(つまり、警告灯の消灯液面)に設定されている。したがって、フロート室21内の液面がこの消灯液面より高いと、フロート23がマグネット22とともにこれに対応して上動し、マグネット22がリミットスイッチ24に接近してこのリミットスイッチ24をオフ(開)にする。すなわち、リザーバタンク5内の作動液の液面が消灯液面より高いときは、リミットスイッチ24がオフとなり、警告灯は点灯しない。
また、リザーバタンク5内の作動液が少なくなって、フロート室21内の作動液の液面が低くなると、フロート23がマグネット22とともにこれに対応して下動し、マグネット22がリミットスイッチ24から離間する。フロート室21内の作動液の液面の高さが消灯液面になるまでは、マグネット22が下動してもリミットスイッチ24はマグネット22の磁力によりオフ状態が維持される。そして、フロート室21内の作動液の液面の高さが消灯液面になると、マグネット22によるリミットスイッチ24のオフ状態維持が解除される。したがって、リミットスイッチ24が自力でオンして(閉じて)警告灯が点灯する。
円柱状(丸棒状)のガイド25は上半体9の上端内面(リザーバタンク5の天井内面)
から下方に向かって垂下されている。このガイド25は、その中心軸が円環状隔壁20の中心軸と同軸上になるようにして上半体9と一体に設けられている。ガイド25にはフロート23のガイド孔23dが貫通されている。したがって、フロート23はガイド25および円筒状隔壁20の内周面にガイドされて上下動するようになっている。その場合、上端部にマグネット22が設けられたフロート23の重心位置が上方に位置しているが、このように重心位置が上方に位置しても、ガイド25および円筒状隔壁20の内周面(特にガイド25)によりフロート23およびマグネット22はそれらの自重でほとんど傾くことなく、スムーズに上下動するようになる。
その場合、図3に実線で示す消灯液面に対応する位置にフロート23が位置するとき、マグネット22の上端面と上半体9の上端内面との距離S1が、ガイドの25の下端とガイド孔23dの底面との距離S2より小さくなるように設定されている(S1<S2)。したがって、図3に二点鎖線で示すようにフロート23の上動によりマグネット22の上端面が上半体9の上端内面に確実に当接するようにされている。
吸着防止突起26は半球状に形成されてフロート本体23aの下面に所定数設けられている。その場合、各吸着防止突起26は、フロート本体23aの中心を中心とする同心円に沿って円周方向に等間隔を置いて突設されている。そして、各吸着防止突起26は、フロート室21の底面に当接することでフロート本体23aの下面とフロート室21の底面との間で所定の隙間を形成するようになっている。これにより、フロート23が最大に下動したとき、フロート本体23aの下面がフロート室21の底面に密に吸着されるのが防止される。したがって、リザーバタンク5内に作動液が供給されたとき、作動液の液面上昇とともにフロート23が容易に上動するようなり、フロート23の浮き上がり確実性(作動確実性)が向上されている。
この例のリザーバタンク5によれば、フロート23をその下部のフロート本体23aにおいて円環状隔壁20の内周面によりガイドするとともに、フロート23をその上部のマグネット支柱23bにおいて、リザーバタンク5の上端内面の所定位置から垂下されたガイド25およびマグネット支柱23bに設けたガイド孔23dによりガイドしながら上下動させている。したがって、フロート23をよりスムーズにかつより確実に上下動させることができる。
また、ノーマルクローズドスイッチであるリミットスイッチ24をマグネット22の上方に配設するとともに、このマグネット22をマグネット支柱23bによりフロート23の上端に設けている。このように、マグネット支柱23b,23cによりマグネット22
をフロート23の上端に支持することで、フロート23の上下方向寸法を大きくすることができる。したがって、フロート23を作動液の液面に応じてスムーズにかつ確実に上下動することができる。このとき、上端部にマグネット22が設けられたフロート23の重心位置が上方に位置するようになるが、このように重心位置が上方に位置しても、フロート23およびマグネット22をそれらの自重でほとんど傾くことなく、スムーズに上下動させることができる。
しかも、ガイド25により上動したフロート23をガイドしているので、フロート23を確実にガイドしてマグネット22をリミットスイッチ24に対して位置規制してセンタリングすることができる。これにより、フロート23の重心位置が上方に位置しても、フロート23およびマグネット22の傾動をより確実に抑制することができる。したがって、フロート23およびマグネット22をそれらの自重でリミットスイッチ24のオン・オフ作動をより確実に行うことができる。このように、フロート23を上方のガイド25によりガイドすることで、下方の円環状隔壁20の内周面によるガイドのための円環状隔壁20を補強するリブ等が不要となる。これにより、樹脂モール成形時に円環状隔壁20の
横断面形状をより真円にすることができる。
また、マグネット22をフロート23の上端に設けているので、マグネット22をリミットスイッチ24に接近させることができる。これにより、消灯液面をリミットスイッチ24から遠ざけることができる。したがって、リザーバタンク5の作動液の貯留容量をより大きく設定することが可能となる。しかも、消灯液面をリミットスイッチ24から遠ざけても、フロート23の消灯液面でのマグネット22の位置はリミットスイッチ24により近づけることができる。これにより、リミットスイッチ24の作動確実性を高めることができる。その結果、マグネットの磁力を小さくでき、コストを低減することができる。
更に、円筒状隔壁20内のフロート室21と円筒状隔壁20外の液量検出室15とを連通孔20aにより常時連通させているので、例えば車両の急制動や急旋回等により円筒状隔壁20の外部のリザーバタンク5内の作動液が急激に移動しても、連通孔20aの絞り作用により、フロート室21内の作動液の液面変動を抑制することができる。これにより、リミットスイッチ24の誤作動を防止でき、警告灯の誤点灯を防止できる。
更に、フロート23の上方部をマグネット支柱23bで構成しているので、マグネット支柱23bの作動液の受圧面積を小さくできる。これにより、例えば車両の急制動や急旋回等により、リザーバタンク5内の作動液が急激に移動しても、移動する作動液によってマグネット支柱23bに加えられる力を抑制できる。したがって、作動液の急激な移動によるフロート23への影響を少なくでき、リミットスイッチ24の誤作動を一層効果的に防止でき、警告灯の誤点灯をより確実に防止できる。
更に、マグネット支柱23bの長さや径を種々変更することで、フロート室21内の体積を種々変更することが可能となる。したがって、リザーバタンク5が搭載される車両の車種によって種々異なるリザーバタンク5に、より柔軟にかつより確実に対応することができる。
図4は本発明のリザーバタンクの実施の形態の他の例を示し、(a)は正面図、(b)は長手方向の縦断面図、図5は拡大横断面図である。なお、以後の説明において前述の例と同じ構成要素には同じ符号を付すことで、その詳細な説明は省略する。
前述の例では、ガイド25がリザーバタンク5の上端内面から垂下されているが、図4(a),(b)および図5に示すように、この例のリザーバタンク5ではガイド25は設
けられていない。代わりに、リザーバタンク5の上端内面から円環状のリブ28(本発明の水平保持部に相当)が垂下されている。この円環状のリブ28の中心は、フロート23およびマグネット22の中心と一致されている。
また、この例のリザーバタンク5では、前述の例の円環状隔壁20も設けられていない。更に、この例のリザーバタンク5では、フロート本体23aの径が前述の例よりはるかに大きく設定されているとともに、フロート本体23aの上面に円環状のストッパ29が設けられている。この円環状のストッパ29の中心も、フロート23およびマグネット22の中心と一致されている。そして、円環状のストッパ29は、フロート23が上動したとき、円環状のリブ28の当接可能となっている。その場合、円環状のリブ28の下端面が水平面となっているとともに、円環状のストッパ29の上端面も水平面となっている。したがって、円環状のストッパ29が円環状のリブ28の当接したとき、フロート本体23aは水平に保持されるようになっている。
更に、フロート本体23aの下面の中心には、円柱状(丸棒状)のガイド30が垂下されている。そして、下半体8の底面には、ガイド30が嵌合する円筒状のガイド31が上
方に向かって突設されている。フロート本体23aのガイド30が下半体8の円筒状のガイド31に嵌合されることで、フロート本体23aが上下方向にガイドされるようになっている。
更に、この例のリザーバタンク5では、マグネット22の左右方向の中心とリミットスイッチ24の左右方向の中心とがオフセットされているとともに、マグネット22の前後方向の中心とリミットスイッチ24の前後方向の中心とが一致されている。
このように、この例のリザーバタンク5によれば、フロート23の下部がガイド30,
31でガイドされるとともに、フロート23の上動時に、フロート23の上部が円環状のリブ28および円環状のストッパ29で水平に保持される。したがって、フロート23が上動して、ガイド30,31によるガイド量が少なくなっても、フロート23を円環状の
リブ28および円環状のストッパ29で確実に水平に保持することができる。しかも、車両傾動時等によりリザーバタンク5が傾動しても、フロート23を円環状のリブ28および円環状のストッパ29で確実に水平に保持できる。これにより、フロート23の上動時にフロート23の上下動をよりスムーズにかつより確実に行うことができ、フロート23の作動確実性を向上することができるようになる。その結果、リミットスイッチ24の誤作動を抑制することができ、警告灯の誤点灯を防止することができる。
また、フロート本体23aの径を大きく設定しているので、リザーバタンク5内の作動液の液面の波打ちによるフロート23への影響を抑制することができ、フロート23をより安定して水平に保持することができる。
この例のリザーバタンク5およびブレーキ装置1の他の構成は、前述の例と実質的に同じである。
なお、本発明は、前述の例に限定されることはなく、特許請求の範囲に記載された事項の範囲内で、種々の設計変更が可能である。
本発明に係るリザーバタンクは、油圧等の液圧を利用した液圧ブレーキ装置や液圧クラッチ装置に用いられて、作動液を貯留するリザーバタンクに好適に利用することができる。
また、本発明に係るブレーキ装置は、リザーバタンクに貯留された作動液を用いて車輪にブレーキをかけるブレーキ装置に好適に利用することができる。
本発明に係るリザーバタンクの実施の形態の一例を備えるブレーキ装置を、模式的に示す図である。 (a)はこの例のリザーバタンクを示す正面図、(b)は、この例のリザーバタンクの長手方向の縦断面図である。 図2(b)における液量検出部の部分拡大縦断面図である。 (a)は本発明に係るリザーバタンクの実施の形態の他の例を示す正面図、(b)は、この例のリザーバタンクの長手方向の縦断面図である。 図4(b)に示すリザーバタンクの液量検出部の部分拡大横断面図である。
符号の説明
1…液圧ブレーキ装置、2…ブレーキペダル、3…倍力装置、4…タンデムマスタシリンダ、5…リザーバタンク、6…ブレーキシリンダ、8…下半体、9…上半体、10…作動液注入口、11…キャップ、12…作動液供給部、13…作動液貯留室、15…液量検出室、16…プライマリ作動液貯留室、17…セカンダリ作動液貯留室、18…隔壁、18a…上端、19…液量検出部、20…円筒状隔壁、20a…連通孔、21…フロート室、22…マグネット、23…フロート、23a…フロート本体、23b…マグネット支柱、
23c…マグネット支持部、23d…ガイド孔、24…リミットスイッチ、25…ガイド、26…吸着防止突起、27…リミットスイッチ取付部、28…円環状のリブ、29…円環状のストッパ、30…円柱状のガイド、31…円筒状のガイド

Claims (6)

  1. 貯留された作動液を検出する液量検出部を備え、
    前記液量検出部が、貯留された作動液の液面が所定液面以下のときオンするとともに前記液面が所定液面より高いときオフするリミットスイッチと、前記リミットスイッチをオン・オフするマグネットが設けられるとともに前記作動液の液面に応じて上下動するフロートとを有し、前記リミットスイッチが前記マグネットの上方に設けられるリザーバタンクにおいて、
    前記マグネットは前記フロートの上端部に取り付けられ、
    前記フロートは、その上部が上端内面から垂下された第1のガイドにより上下移動可能にガイドされるとともに、その下部が底面から上方に向かって突設された第2のガイドにより上下移動可能にガイドされるようになっていることを特徴とするリザーバタンク。
  2. 前記第1のガイドは、上端内面から下方に突設された円柱状のガイドと、前記フロートの中心に上下方向に設けられかつ前記ガイドに嵌合されるガイド孔とを有し、
    前記第2のガイドは、底面から上方に向かって突設されかつ内部に前記フロートが上下動するフロート室を形成する円筒状隔壁を有し、
    前記フロートは、その上部が前記ガイド孔および前記ガイドにより上下移動可能にガイドされるとともに、その下部が前記円筒状隔壁の内周面により上下移動可能にガイドされるようになっていることを特徴とする請求項2に記載のリザーバタンク。
  3. 貯留された作動液を検出する液量検出部を備え、
    前記液量検出部が、貯留された作動液の液面が所定液面以下のときオンするとともに前記液面が所定液面より高いときオフするリミットスイッチと、前記リミットスイッチをオン・オフするマグネットが設けられるとともに前記作動液の液面に応じて上下動する前記フロートとを有し、前記リミットスイッチが前記マグネットの上方に設けられるリザーバタンクにおいて、
    前記マグネットは前記フロートの上端部に取り付けられ、
    前記フロートは、上動時その上部が上端内面に設けられた水平保持部により水平に保持されるとともに、その下部がガイドにより上下移動可能にガイドされるようになっていることを特徴とするリザーバタンク。
  4. 前記水平保持部は、上端内面から垂下された環状のリブと、前記フロートの上面に設けられかつ前記環状のリブの下端に当接可能な環状のストッパとを有し、
    前記ガイドは、前記フロートの下面の中心から垂下された棒状の第1のガイドと、底面に設けられかつ前記第1のガイドが嵌合する筒状の第2のガイドとを有し、
    前記フロートはその下部で前記第1および第2のガイドにより上下移動可能にガイドされるとともに、上動時に前記環状のリブに前記環状のストッパが当接することで、その上部で水平が保持されるようになっていることを特徴とする請求項3に記載のリザーバタンク。
  5. 前記フロートは、フロート本体と、このフロート本体の上面から上方に突設されたマグネット支柱とを有し、
    前記マグネットは前記マグネット支柱の上端部に取り付けられていることを特徴とする請求項1ないし4のいずれか1に記載のリザーバタンク。
  6. 作動液を貯留するリザーバタンクと、前記リザーバタンク内の作動液が供給されるとともに作動時にブレーキ圧を発生するマスタシリンダと、前記マスタシリンダからの液圧で作動するブレーキシリンダとを少なくとも備え、
    前記リザーバタンクが請求項1ないし5のいずれか1に記載のリザーバタンクであるこ
    とを特徴とするブレーキ装置。
JP2008250437A 2008-09-29 2008-09-29 リザーバタンクおよびこれを用いたブレーキ装置 Active JP5207534B2 (ja)

Priority Applications (2)

Application Number Priority Date Filing Date Title
JP2008250437A JP5207534B2 (ja) 2008-09-29 2008-09-29 リザーバタンクおよびこれを用いたブレーキ装置
PCT/JP2009/067296 WO2010035907A1 (ja) 2008-09-29 2009-09-28 リザーバタンクおよびこれを用いたブレーキ装置

Applications Claiming Priority (1)

Application Number Priority Date Filing Date Title
JP2008250437A JP5207534B2 (ja) 2008-09-29 2008-09-29 リザーバタンクおよびこれを用いたブレーキ装置

Publications (2)

Publication Number Publication Date
JP2010076725A true JP2010076725A (ja) 2010-04-08
JP5207534B2 JP5207534B2 (ja) 2013-06-12

Family

ID=42207654

Family Applications (1)

Application Number Title Priority Date Filing Date
JP2008250437A Active JP5207534B2 (ja) 2008-09-29 2008-09-29 リザーバタンクおよびこれを用いたブレーキ装置

Country Status (1)

Country Link
JP (1) JP5207534B2 (ja)

Citations (4)

* Cited by examiner, † Cited by third party
Publication number Priority date Publication date Assignee Title
JPS50110664U (ja) * 1974-02-19 1975-09-09
JPS62193526U (ja) * 1986-05-29 1987-12-09
JPS63115016A (ja) * 1986-10-31 1988-05-19 Toyoda Gosei Co Ltd 液面レベルセンサ
JPH028678U (ja) * 1988-07-01 1990-01-19

Patent Citations (4)

* Cited by examiner, † Cited by third party
Publication number Priority date Publication date Assignee Title
JPS50110664U (ja) * 1974-02-19 1975-09-09
JPS62193526U (ja) * 1986-05-29 1987-12-09
JPS63115016A (ja) * 1986-10-31 1988-05-19 Toyoda Gosei Co Ltd 液面レベルセンサ
JPH028678U (ja) * 1988-07-01 1990-01-19

Also Published As

Publication number Publication date
JP5207534B2 (ja) 2013-06-12

Similar Documents

Publication Publication Date Title
US6105611A (en) Reservoir tank
US8607563B2 (en) Reservoir tank and brake device using the reservoir tank
WO2010035907A1 (ja) リザーバタンクおよびこれを用いたブレーキ装置
JP5497073B2 (ja) リザーバタンクおよびこれを用いたブレーキ装置
US20100231031A1 (en) Reservoir tank and brake device using the reservoir tank
JP5207534B2 (ja) リザーバタンクおよびこれを用いたブレーキ装置
JP5199191B2 (ja) リザーバタンクおよびこれを用いたブレーキ装置
JP5207552B2 (ja) リザーバタンクおよびこれを用いたブレーキ装置
JPS5844499B2 (ja) ジドウシヤヨウ2ケイトウシキエキアツブレ−キノリザ−バ
JP2010076724A (ja) リザーバタンクおよびこれを用いたブレーキ装置
JP2011025737A (ja) リザーバタンクおよびこれを用いたブレーキ装置
JP2010064680A (ja) リザーバタンクおよびこれを用いたブレーキ装置
JP5334723B2 (ja) リザーバタンクおよびこれを用いたブレーキ装置
JP5201728B2 (ja) リザーバタンクおよびこれを用いたブレーキ装置
JPH0445974Y2 (ja)
JP2007205749A (ja) 液面検知装置、及び、液体貯留容器
JP2015039966A (ja) リザーバタンクおよびこれを用いたブレーキ装置
JP4060025B2 (ja) 液面検知装置
JPH035869Y2 (ja)
JP6172747B2 (ja) リザーバタンク及びこれを用いたブレーキシステム
JPH09221020A (ja) リザーバ装置
JP3540135B2 (ja) 車両用作動液リザーバ
KR20110035037A (ko) 브레이크액 리저버
JP2002206960A (ja) 液面検知装置
JPS6130936Y2 (ja)

Legal Events

Date Code Title Description
A621 Written request for application examination

Free format text: JAPANESE INTERMEDIATE CODE: A621

Effective date: 20110613

A131 Notification of reasons for refusal

Free format text: JAPANESE INTERMEDIATE CODE: A131

Effective date: 20120919

A521 Request for written amendment filed

Free format text: JAPANESE INTERMEDIATE CODE: A523

Effective date: 20121107

TRDD Decision of grant or rejection written
A01 Written decision to grant a patent or to grant a registration (utility model)

Free format text: JAPANESE INTERMEDIATE CODE: A01

Effective date: 20130213

A61 First payment of annual fees (during grant procedure)

Free format text: JAPANESE INTERMEDIATE CODE: A61

Effective date: 20130218

FPAY Renewal fee payment (event date is renewal date of database)

Free format text: PAYMENT UNTIL: 20160301

Year of fee payment: 3

R150 Certificate of patent or registration of utility model

Free format text: JAPANESE INTERMEDIATE CODE: R150

Ref document number: 5207534

Country of ref document: JP

Free format text: JAPANESE INTERMEDIATE CODE: R150

R250 Receipt of annual fees

Free format text: JAPANESE INTERMEDIATE CODE: R250

R250 Receipt of annual fees

Free format text: JAPANESE INTERMEDIATE CODE: R250

R250 Receipt of annual fees

Free format text: JAPANESE INTERMEDIATE CODE: R250

R250 Receipt of annual fees

Free format text: JAPANESE INTERMEDIATE CODE: R250

R250 Receipt of annual fees

Free format text: JAPANESE INTERMEDIATE CODE: R250

R250 Receipt of annual fees

Free format text: JAPANESE INTERMEDIATE CODE: R250

R250 Receipt of annual fees

Free format text: JAPANESE INTERMEDIATE CODE: R250

R250 Receipt of annual fees

Free format text: JAPANESE INTERMEDIATE CODE: R250

R250 Receipt of annual fees

Free format text: JAPANESE INTERMEDIATE CODE: R250

R250 Receipt of annual fees

Free format text: JAPANESE INTERMEDIATE CODE: R250

R250 Receipt of annual fees

Free format text: JAPANESE INTERMEDIATE CODE: R250