JP2010076061A - パレットクランプ状態監視装置 - Google Patents

パレットクランプ状態監視装置 Download PDF

Info

Publication number
JP2010076061A
JP2010076061A JP2008248214A JP2008248214A JP2010076061A JP 2010076061 A JP2010076061 A JP 2010076061A JP 2008248214 A JP2008248214 A JP 2008248214A JP 2008248214 A JP2008248214 A JP 2008248214A JP 2010076061 A JP2010076061 A JP 2010076061A
Authority
JP
Japan
Prior art keywords
pallet
piston
clamp
monitoring device
state monitoring
Prior art date
Legal status (The legal status is an assumption and is not a legal conclusion. Google has not performed a legal analysis and makes no representation as to the accuracy of the status listed.)
Granted
Application number
JP2008248214A
Other languages
English (en)
Other versions
JP5358149B2 (ja
Inventor
Katsumi Fujita
克巳 藤田
Current Assignee (The listed assignees may be inaccurate. Google has not performed a legal analysis and makes no representation or warranty as to the accuracy of the list.)
Okuma Corp
Original Assignee
Okuma Corp
Okuma Machinery Works Ltd
Priority date (The priority date is an assumption and is not a legal conclusion. Google has not performed a legal analysis and makes no representation as to the accuracy of the date listed.)
Filing date
Publication date
Application filed by Okuma Corp, Okuma Machinery Works Ltd filed Critical Okuma Corp
Priority to JP2008248214A priority Critical patent/JP5358149B2/ja
Publication of JP2010076061A publication Critical patent/JP2010076061A/ja
Application granted granted Critical
Publication of JP5358149B2 publication Critical patent/JP5358149B2/ja
Active legal-status Critical Current
Anticipated expiration legal-status Critical

Links

Images

Landscapes

  • Jigs For Machine Tools (AREA)

Abstract

【課題】パレットのクランプの異常状態を早期に検出する。
【解決手段】工作機械は、テーブル11上にパレット12をクランプするためのクランプ機構が、テーブル11に設けられたシリンダ23に内蔵されかつシリンダ23内に発生させられる圧力を、パレット12のクランプ力としてパレット12に伝達しうるようにパレット12に連結されているピストン24を備えている。この工作機械において、パレット12クランプ状態監視装置は、ピストン24のストローク位置を検出するセンサ61、62を備えている。
【選択図】図1

Description

この発明は、パレット交換機能を有するテーブルを搭載する工作機械において、テーブルに対するパレットのクランプ状態を監視するパレットクランプ状態監視装置に関する。
パレット交換機能を有するテーブルにおいては、パレット側に設けられたプルスタッドボルトを、テーブル側に設けられた開閉式コレットを油圧シリンダのピストンによって引き込むクランプ機構が用いられている。通常、テーブルにはこのクランプ機構をパレット位置決め機構と組み合わせて、複数ユニット設置し、その発生する合算力でクランプを行っている。
工作機械の切削加工中等において、主軸−ワーク間において、過大な切削負荷や衝突、あるいは部品の金属疲労等によって、このクランプ機構を構成する部品の一部が破損した場合等には、パレットのクランプ力が低下させられた状態で加工が続行されることがある。その場合、ビビリ発生によるワーク不良やパレットの浮上りによる工具折損、さらには複数ユニットのクランプ機構のうち、1つのクランプ機構の破損により、残りのクランプ機構の負荷が増大させられることによって、これらの構成部品にまで被害が拡大し、パレット転倒等の機械本体その他にも重大な損害を与えてしまう懸念がある。
そのため、従来、パレットクランプ状態監視装置として、テーブルおよびパレットの着座間に圧力エアを供給し、パレットの浮上り等による、その着座部分からのエアのリークを、供給するエアの圧力を検知することにより、パレットのクランプ状態を監視し、必要に応じて、機械を停止させるようにしているものが知られている(例えば、特許文献1、特許文献2参照。)。
ところが、この従来装置では、パレットが、エアをリークする程度、浮き上がる状態になるまで、着座部分からのエアのリークを検知することができず、パレットクランプの異常状態を初期段階で検知することができなかった。
また、パレットを交換する際には、先ずプルスタッドボルトなどがテーブル側と干渉しないようにパレットを持ち上げるが、クランプ機構が気温変動による圧油の粘度の変化などの理由により確実にアンクランプされていないと、持ち上がるパレットのプルスタッドボルトに引っ掛かってクランプ機構やパレットのプルスタッド或いは工作機械そのものを破損してしまうことがあった。このため、従来はピストンへ圧油を供給する経路上の切換弁の位置や圧油の圧力または上記のエアリークのエア圧などを用いてクランプ機構がアンクランプされているかを間接的に検知しなければならなかった。
実用新案登録第2503946号 特許第3168159号
この発明の目的は、パレットのクランプの異常状態を早期に検出し、その被害を初期段階で食い止めることにある。
この発明によるパレットクランプ状態監視装置は、テーブル上にパレットをクランプするためのクランプ機構が、テーブルに設けられたシリンダに内蔵されかつシリンダ内に発生させられる圧力を、パレットのクランプ力としてパレットに伝達しうるようにパレットに連結されているピストンを備えている工作機械において、ピストンのストローク位置を検出する検出手段を備えているものである。
この発明によるパレットクランプ状態監視装置では、パレットのクランプに異常が発生すると、ピストンがストローク変位を来たすため、この変位を検出することによって、パレットのクランプの異常状態を早期に検出することができる。
また、クランプ機構がパレットをアンクランプした状態も検知できるので、他の検知機構を用いることなく、クランプ機構の動作不良に基づくパレット搬送時の工作機械などの損傷を防止することができる。
さらに、テーブルが、垂直状支持軸に固定されており、テーブルの、支持軸の軸線を中心とする円周上に複数のクランプ機構が装備されており、各クランプ機構のピストンのストローク方向が垂直であり、検出手段が、支持軸に回転自在に取付られかつ各クランプ機構のピストンのストロークによって回転させられる水平状割り出し盤と、割り出し盤の回転角度を検出するセンサとを備えていると、複数のクランプ機構のいずれか1つのピストンが移動させられた場合であっても、割り出し盤が回転させられ、これをセンサが検出する。したがって、各クランプ機構の異常を個々に検出する場合と比較して、複数のクランプ機構に対して、1つのセンサによって対応することができる。
また、割り出し盤の外周面に複数の切欠が所定のパターンで形成されており、センサが、割り出し盤の外周面と相対させられるように配置されかつ切欠の有無を検出してON・OFF信号を出力する複数の近接センサよりなると、切欠および近接センサの組合わによって、簡便かつ正確な検出が可能となる。
また、テーブル上にパレットが正常にクランプされているときに、同近接センサが出力する信号のON・OFFのパターンを基準信号として、基準信号以外の信号を同近接センサが出力したときに、パレットのクランプが異常であると判定しうるように同切欠および同近接センサの配列パターンが設定されていると、配列パターンの設定を変更することによって、検出手段による検出精度を高めることが可能である。
この発明によれば、パレットのクランプの異常状態を早期に検出し、その被害を初期段階で食い止めることのできるパレットクランプ状態監視装置が提供される。
この発明の実施の形態を図面を参照しながらつぎに説明する。
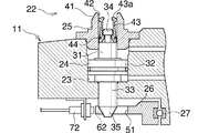
図1および図2を参照すると、テーブル11と、これの上面にクランプされているパレット12とが示されている。
テーブル11は、水平円盤状のもので、垂直状支持軸21に固定されている。テーブル11の、支持軸21軸線を中心とする円周を当分する4か所にはクランプ機構22がそれぞれ装備されている。4つのクランプ機構22は、同一構造のものである。
テーブル11の、各クランプ機構22を装備したか所には、上方開放および有底の垂直状シリンダ23が形成されている。シリンダ23にはピストン24が内蔵されている。シリンダ23の上端開口には位置決めピン25が固定状にはめ込まれている。
テーブル11の下方の位置において、支持軸21に円板状割り出し盤26が軸受27によって回転自在に取付られている。
ピストン24は、上から順次連なる上小径部31、中間大径部32および下小径部33よりなる。上小径部31の上端面には先端拡大状連結突起34が設けられている。中間大径部32の外面がシリンダ23内面に摺接させられている。下小径部33は、シリンダ23の底壁に貫通させられてその下方に突出させられている。下小径部33の突出部には下向きテーパ状割り出し軸部35が形成されている。
位置決めピン25は、外面上端部に上向きテーパ状位置決め面41を有しかつ軸孔42を有している。軸孔42の下部にはピストン24の上小径部31が、その上部にはコレット43がそれぞれはめ入れられている。コレット43は、複数の分割片43aよりなる。分割片43aの下端部は、連結突起34を包み込むように保持している。分割片43aの外面下端部にはリング状収縮バネ44が取り付けられている。このバネによって、分割片43aに外力が作用させられない状態では、分割片43aの上端が開かれる。連結突起34を中心として、分割片43aはその上端を接近・離隔させるように揺動し、これにより、分割片43aの上端が開閉される。
割り出し盤26の外周面を当分する4か所には輪郭U字状をなす外方開放割り出し溝51が4つクランプ機構22のピストン24とそれぞれ対応するように形成されている。割り出し盤26の外周面の一か所には係止棒52が設けられている。係止棒52には引っ張りコイルバネ53の一端が係止されている。コイルバネ53の他端は、テーブル11の下面に固定された係止片54に係止されている。コイルバネ53によって、割り出し盤26は、図2中、時計方向に回転するように付勢されている。
各割り出し溝51は、相対する平行二側面を有している。平行2側面のうち、割り出し盤26の回転方向下流側の一側面に、割り出し軸部35が当接させられている。
割り出し盤26の外周面の、隣り合う2つの割り出し溝51間に、幅広状第1切欠61および幅狭状第2切欠62が間隔をおいて形成されている。第1切欠61に対応させられるように第1近接センサ71が、第2切欠62に対応させられるように第2近接センサ72がそれぞれ配置されている。
シリンダ23内におけるピストン中間大径部32の上方スペースに圧力油を供給するためのAポート81と、その下方スペースに圧力油を供給するためのBポート82とが、支持軸21からテーブル11にかけて形成されている。
パレット12下面の、4つのクランプ機構22と対応するか所には、垂直筒状位置決めガイド91が固定されている。位置決めガイド91の内面下部には、位置決め面41と合致させられた下向きテーパ状ガイド面92が形成されている。位置決めガイド91に取り囲まれてその軸線と一致させられるようにプルスタッドボルト93がテーブル11下面に植込まれている。
図1および図2は、テーブル11にパレット12がクランプされている状態を示すものである。ピストン24は、昇降ストロークの上限および下限の中間に位置させられている。コレット43の分割片43aの上端部は、プルスタッドボルト93の頭部を包み込むように保持している。Aポート81を通じてシリンダ23には圧力油が供給され、その油圧でもって、ピストン24には下向きのクランプ力が作用させられ、そのクランプ力は、テーブル11から、コレット43およびプルスタッドボルト93を通じて、パレット12に伝達されている。
このときに、ピストン24の割り出し軸部35の上下端の中間が割り出し盤26の割り出し溝51の一側面と当接させられている。この状態で、図2を参照すると、第1切欠61に第1近接センサ71が、第2切欠62に第2近接センサ72がそれぞれ正対させられている。第1近接センサ71および第2近接センサ72は、ともに、ON信号を出力している。
図3および図4に、パレット・アンクランプの状態が示されている。Bポート82を通じてシリンダ23には圧力油が供給され、ピストン24は、昇降ストロークの上限に位置させられている。コレット43の分割片43aの上端部は、開かれ、プルスタッドボルト93の頭部を解放している。
ピストン24の割り出し軸部35の下端の小径部分が割り出し盤26の割り出し溝51の一側面と当接させられている。図4を参照すると、割り出し盤26は、図2に示す状態よりも、時計方向に回転させられている。その回転角度は、ピストン24の割り出し軸部35の上下端の中間の径と、その下端の径との差に相当する。第1切欠61および第1近接センサ71は、割り出し盤26の回転角度分だけずれているが、第1近接センサ71は、第1切欠61を検出可能であり、ON信号を出力している。第2切欠62および第2近接センサ72はその回転角度分だけずれることによって、第2近接センサ72は、第2切欠62を検出不可能であり、OFF信号を出力している。
図5および図6は、クランプ異常状態を示すものである。クランプ力伝達経路、すなわち、ピストン24−コレット43−プルスタッドボルト93間の少なくともいずれか1つの部品が破損し、異常クランプ状態が発生したときである。テーブル11上のパレット12の図示は省略している。Aポート81には圧力油を供給されているままであり、ピストン24は、昇降ストロークの下限まで下降させられている。コレット43の分割片43aの上端部は、閉じられているが、プルスタッドボルト93の頭部は保持していない。
ピストン24の割り出し軸部35の上端の大径部分が割り出し盤26の割り出し溝51の一側面と当接させられている。図6を参照すると、割り出し盤26は、図2に示す状態よりも、図4に示す状態とは逆に、反時計方向に回転させられている。第1切欠61および第1近接センサ71と、第2切欠62および第2近接センサ72とは、いずれも、検出可能範囲から互いにずれている。第1近接センサ71および第2近接センサ72は、ともに、OFF信号を出力している。
上記の通り、ピストン24の昇降ストローク間における各位置によって、第1近接センサ71および第2近接センサ72のON・OFF信号の組み合わせのパターンが相違する。このパターンの相違は、上記2つの切欠61、62の幅および間隔を相違させるように設定されるパターンと関係する。したがって、切欠61、62のパターンおよび近接センサ71、72のON・OFF信号のパターンの組み合わせによって、ピストン24の位置を検知し、それに基づいて、クランプの正常および異常に係るクランプ状態監視情報が得られる。
本発明は、上記のクランプの正常および異常に係る状態監視情報に加えて、他の用途に用いる事もできる。例えば、テーブル11上にパレット12が有るか否かの情報と共に用いて、パレット交換動作開始時にテーブルからパレットを持ち上げるのに先立ち、本発明の状態監視情報によりクランプ機構が全てアンクランプ状態になっていることを確認し、この確認信号をパレット持ち上げ動作のトリガーとして利用することができ工作機械の損傷を未然に防止することができる。
上記において、ピストン24の往復直線運動を割り出し盤26の回転運動に変換する手段として、ピストン24の割り出し軸部35のテーパを利用している。テーパに代わり、軸方向に移動するにしたがって径を変化させるもの、例えば、ボール、ローラ等を利用することも可能である。
さらに、切欠61、62および近接センサ71、72を2つずつ用いているが、双方のそれぞれの数は、任意で、また、双方が互いに同数であっても良く、異数であってもよい。
センサとしては、割り出し盤のパターンを検出できるものであれば近接スイッチに限定されず、リミットスイッチなど接触式のセンサや、光学式あるいは磁気を利用したセンサなどを用いても良い。
この発明によるパレットクランプ状態監視装置のパレットクランプ時の垂直断面図である。 図1のII-II線にそう断面図である。 同パレットクアンランプ時の図1相当垂直断面図である。 同パレットクアンランプ時の図2相当垂直断面図である。 同クランプフリー時の図1相当垂直断面図である。 同クランプフリー時の図2相当垂直断面図である。
符号の説明
11 テーブル
12 パレット
23 シリンダ
24 ピストン
61、62 センサ

Claims (4)

  1. テーブル上にパレットをクランプするためのクランプ機構が、テーブルに設けられたシリンダに内蔵されかつシリンダ内に発生させられる圧力を、パレットのクランプ力としてパレットに伝達しうるようにパレットに連結されているピストンを備えている工作機械において、ピストンのストローク位置を検出する検出手段を備えているパレットクランプ状態監視装置。
  2. テーブルが、垂直状支持軸に固定されており、テーブルの、支持軸の軸線を中心とする円周上に複数のクランプ機構が装備されており、各クランプ機構のピストンのストローク方向が垂直であり、検出手段が、支持軸に回転自在に取付られかつ各クランプ機構のピストンのストロークによって回転させられる水平状割り出し盤と、割り出し盤の回転角度を検出するセンサとを備えている請求項1に記載のパレットクランプ状態監視装置。
  3. 割り出し盤の外周面に複数の切欠が所定のパターンで形成されており、センサが、割り出し盤の外周面と相対させられるように配置されかつ同切欠の有無を検出してON・OFF信号を出力する複数の近接センサよりなる請求項2に記載のパレットクランプ状態監視装置。
  4. テーブル上にパレットが正常にクランプされているときに、同近接センサが出力する信号のON・OFFのパターンを基準信号として、基準信号以外の信号を同近接センサが出力したときに、パレットのクランプが異常であると判定しうるように同切欠および同近接センサの配列パターンが設定されている請求項3に記載のパレットクランプ状態監視装置。
JP2008248214A 2008-09-26 2008-09-26 パレットクランプ状態監視装置 Active JP5358149B2 (ja)

Priority Applications (1)

Application Number Priority Date Filing Date Title
JP2008248214A JP5358149B2 (ja) 2008-09-26 2008-09-26 パレットクランプ状態監視装置

Applications Claiming Priority (1)

Application Number Priority Date Filing Date Title
JP2008248214A JP5358149B2 (ja) 2008-09-26 2008-09-26 パレットクランプ状態監視装置

Publications (2)

Publication Number Publication Date
JP2010076061A true JP2010076061A (ja) 2010-04-08
JP5358149B2 JP5358149B2 (ja) 2013-12-04

Family

ID=42207094

Family Applications (1)

Application Number Title Priority Date Filing Date
JP2008248214A Active JP5358149B2 (ja) 2008-09-26 2008-09-26 パレットクランプ状態監視装置

Country Status (1)

Country Link
JP (1) JP5358149B2 (ja)

Cited By (4)

* Cited by examiner, † Cited by third party
Publication number Priority date Publication date Assignee Title
JP2018183863A (ja) * 2017-04-21 2018-11-22 エロワ アーゲーErowa Ag クランプチャック
WO2020098854A1 (de) * 2018-11-16 2020-05-22 Martin Zimmer Spannsystem mit einer hubüberwachten spannvorrichtung
CN113386068A (zh) * 2021-07-30 2021-09-14 苏州中科行智智能科技有限公司 一种用于活塞孔视觉检测的定位夹紧机构
CN115945949A (zh) * 2023-02-23 2023-04-11 广东普拉迪科技股份有限公司 零点定位装置及零点定位套件

Citations (3)

* Cited by examiner, † Cited by third party
Publication number Priority date Publication date Assignee Title
JPH0219440U (ja) * 1988-07-20 1990-02-08
JPH03287336A (ja) * 1990-03-30 1991-12-18 Kosumetsuku:Kk 油圧クランプ
JPH08187637A (ja) * 1994-12-28 1996-07-23 Toshiba Mach Co Ltd パレットクランプ装置

Patent Citations (3)

* Cited by examiner, † Cited by third party
Publication number Priority date Publication date Assignee Title
JPH0219440U (ja) * 1988-07-20 1990-02-08
JPH03287336A (ja) * 1990-03-30 1991-12-18 Kosumetsuku:Kk 油圧クランプ
JPH08187637A (ja) * 1994-12-28 1996-07-23 Toshiba Mach Co Ltd パレットクランプ装置

Cited By (5)

* Cited by examiner, † Cited by third party
Publication number Priority date Publication date Assignee Title
JP2018183863A (ja) * 2017-04-21 2018-11-22 エロワ アーゲーErowa Ag クランプチャック
JP7055678B2 (ja) 2017-04-21 2022-04-18 エロワ アーゲー クランプチャック
WO2020098854A1 (de) * 2018-11-16 2020-05-22 Martin Zimmer Spannsystem mit einer hubüberwachten spannvorrichtung
CN113386068A (zh) * 2021-07-30 2021-09-14 苏州中科行智智能科技有限公司 一种用于活塞孔视觉检测的定位夹紧机构
CN115945949A (zh) * 2023-02-23 2023-04-11 广东普拉迪科技股份有限公司 零点定位装置及零点定位套件

Also Published As

Publication number Publication date
JP5358149B2 (ja) 2013-12-04

Similar Documents

Publication Publication Date Title
US8256773B2 (en) Clamping fixture including a chuck for releasably locating a workpiece pallet
EP2921718B1 (en) Fluid pressure cylinder and revolving clamp device
JP5358149B2 (ja) パレットクランプ状態監視装置
KR20110041546A (ko) 클램프 장치
US8176616B2 (en) Method for error-proofing a reconfigurable clamp
JP4818947B2 (ja) クランプ装置およびその装置のオーバーストローク検出システム
JP6211851B2 (ja) クランプ装置
JP4912120B2 (ja) 主軸装置
JP5399958B2 (ja) 自動芯出し装置および自動芯出し方法
EP0559424B1 (en) Tool clamping/unclamping device
JP6218308B2 (ja) ワークパレット
KR101345024B1 (ko) 공작기계의 스핀들 공구 클램프 확인장치
JP2008006543A (ja) 工作機械におけるワークのクランプ異常検出方法、及び工作機械
JP5430710B2 (ja) クランプ装置
US20230088695A1 (en) Chuck
KR20150121507A (ko) 자동 팔레트 교환장치의 팔레트 클램핑/언클램핑 확인 장치
WO2023007291A1 (en) Device for clamping workpieces on machine tools
JP2015003346A (ja) クランプ装置
KR20240165598A (ko) 공작기계의 센싱장치
WO2023275687A1 (en) Apparatus for clamping workpieces on machine tools
JP6130686B2 (ja) 加工機
JPWO2013031375A1 (ja) ワーク傾き検出機能付きローダ
US12145246B1 (en) Workpiece processing system
JP2007229896A (ja) 工作機械の制御方法及び工作機械
GB2403677A (en) Fixture interface sensor

Legal Events

Date Code Title Description
A621 Written request for application examination

Free format text: JAPANESE INTERMEDIATE CODE: A621

Effective date: 20110527

A977 Report on retrieval

Free format text: JAPANESE INTERMEDIATE CODE: A971007

Effective date: 20130117

A131 Notification of reasons for refusal

Free format text: JAPANESE INTERMEDIATE CODE: A131

Effective date: 20130129

A521 Written amendment

Free format text: JAPANESE INTERMEDIATE CODE: A523

Effective date: 20130321

A131 Notification of reasons for refusal

Free format text: JAPANESE INTERMEDIATE CODE: A131

Effective date: 20130521

A521 Written amendment

Free format text: JAPANESE INTERMEDIATE CODE: A523

Effective date: 20130718

TRDD Decision of grant or rejection written
A01 Written decision to grant a patent or to grant a registration (utility model)

Free format text: JAPANESE INTERMEDIATE CODE: A01

Effective date: 20130827

A61 First payment of annual fees (during grant procedure)

Free format text: JAPANESE INTERMEDIATE CODE: A61

Effective date: 20130902

R150 Certificate of patent or registration of utility model

Ref document number: 5358149

Country of ref document: JP

Free format text: JAPANESE INTERMEDIATE CODE: R150

Free format text: JAPANESE INTERMEDIATE CODE: R150