JP2010073057A - スキャナ共有器 - Google Patents

スキャナ共有器 Download PDF

Info

Publication number
JP2010073057A
JP2010073057A JP2008241540A JP2008241540A JP2010073057A JP 2010073057 A JP2010073057 A JP 2010073057A JP 2008241540 A JP2008241540 A JP 2008241540A JP 2008241540 A JP2008241540 A JP 2008241540A JP 2010073057 A JP2010073057 A JP 2010073057A
Authority
JP
Japan
Prior art keywords
scanner
computer
connection terminal
connection
mode
Prior art date
Legal status (The legal status is an assumption and is not a legal conclusion. Google has not performed a legal analysis and makes no representation as to the accuracy of the status listed.)
Granted
Application number
JP2008241540A
Other languages
English (en)
Other versions
JP5371348B2 (ja
Inventor
Naoto Konishi
直人 小西
Toshiki Nakajima
俊樹 中島
Yutaka Koshino
裕 越納
Current Assignee (The listed assignees may be inaccurate. Google has not performed a legal analysis and makes no representation or warranty as to the accuracy of the list.)
PFU Ltd
Original Assignee
PFU Ltd
Priority date (The priority date is an assumption and is not a legal conclusion. Google has not performed a legal analysis and makes no representation as to the accuracy of the date listed.)
Filing date
Publication date
Application filed by PFU Ltd filed Critical PFU Ltd
Priority to JP2008241540A priority Critical patent/JP5371348B2/ja
Priority to US12/507,514 priority patent/US8266236B2/en
Priority to CN2009101670315A priority patent/CN101677349B/zh
Publication of JP2010073057A publication Critical patent/JP2010073057A/ja
Application granted granted Critical
Publication of JP5371348B2 publication Critical patent/JP5371348B2/ja
Expired - Fee Related legal-status Critical Current
Anticipated expiration legal-status Critical

Links

Images

Classifications

    • HELECTRICITY
    • H04ELECTRIC COMMUNICATION TECHNIQUE
    • H04NPICTORIAL COMMUNICATION, e.g. TELEVISION
    • H04N1/00Scanning, transmission or reproduction of documents or the like, e.g. facsimile transmission; Details thereof
    • H04N1/00127Connection or combination of a still picture apparatus with another apparatus, e.g. for storage, processing or transmission of still picture signals or of information associated with a still picture
    • H04N1/00204Connection or combination of a still picture apparatus with another apparatus, e.g. for storage, processing or transmission of still picture signals or of information associated with a still picture with a digital computer or a digital computer system, e.g. an internet server
    • HELECTRICITY
    • H04ELECTRIC COMMUNICATION TECHNIQUE
    • H04NPICTORIAL COMMUNICATION, e.g. TELEVISION
    • H04N1/00Scanning, transmission or reproduction of documents or the like, e.g. facsimile transmission; Details thereof
    • H04N1/32Circuits or arrangements for control or supervision between transmitter and receiver or between image input and image output device, e.g. between a still-image camera and its memory or between a still-image camera and a printer device
    • H04N1/32502Circuits or arrangements for control or supervision between transmitter and receiver or between image input and image output device, e.g. between a still-image camera and its memory or between a still-image camera and a printer device in systems having a plurality of input or output devices
    • HELECTRICITY
    • H04ELECTRIC COMMUNICATION TECHNIQUE
    • H04NPICTORIAL COMMUNICATION, e.g. TELEVISION
    • H04N1/00Scanning, transmission or reproduction of documents or the like, e.g. facsimile transmission; Details thereof
    • H04N1/32Circuits or arrangements for control or supervision between transmitter and receiver or between image input and image output device, e.g. between a still-image camera and its memory or between a still-image camera and a printer device
    • H04N1/32502Circuits or arrangements for control or supervision between transmitter and receiver or between image input and image output device, e.g. between a still-image camera and its memory or between a still-image camera and a printer device in systems having a plurality of input or output devices
    • H04N1/32523Circuits or arrangements for control or supervision between transmitter and receiver or between image input and image output device, e.g. between a still-image camera and its memory or between a still-image camera and a printer device in systems having a plurality of input or output devices a plurality of output devices
    • H04N1/32529Circuits or arrangements for control or supervision between transmitter and receiver or between image input and image output device, e.g. between a still-image camera and its memory or between a still-image camera and a printer device in systems having a plurality of input or output devices a plurality of output devices of different type, e.g. internal and external devices
    • H04N1/32534Circuits or arrangements for control or supervision between transmitter and receiver or between image input and image output device, e.g. between a still-image camera and its memory or between a still-image camera and a printer device in systems having a plurality of input or output devices a plurality of output devices of different type, e.g. internal and external devices details of interfacing
    • HELECTRICITY
    • H04ELECTRIC COMMUNICATION TECHNIQUE
    • H04NPICTORIAL COMMUNICATION, e.g. TELEVISION
    • H04N1/00Scanning, transmission or reproduction of documents or the like, e.g. facsimile transmission; Details thereof
    • H04N1/32Circuits or arrangements for control or supervision between transmitter and receiver or between image input and image output device, e.g. between a still-image camera and its memory or between a still-image camera and a printer device
    • H04N1/327Initiating, continuing or ending a single-mode communication; Handshaking therefor
    • H04N1/32795Arrangements for keeping the communication line open
    • HELECTRICITY
    • H04ELECTRIC COMMUNICATION TECHNIQUE
    • H04NPICTORIAL COMMUNICATION, e.g. TELEVISION
    • H04N2201/00Indexing scheme relating to scanning, transmission or reproduction of documents or the like, and to details thereof
    • H04N2201/0008Connection or combination of a still picture apparatus with another apparatus
    • H04N2201/0034Details of the connection, e.g. connector, interface
    • H04N2201/0037Topological details of the connection
    • H04N2201/0039Connection via a network
    • HELECTRICITY
    • H04ELECTRIC COMMUNICATION TECHNIQUE
    • H04NPICTORIAL COMMUNICATION, e.g. TELEVISION
    • H04N2201/00Indexing scheme relating to scanning, transmission or reproduction of documents or the like, and to details thereof
    • H04N2201/0008Connection or combination of a still picture apparatus with another apparatus
    • H04N2201/0034Details of the connection, e.g. connector, interface
    • H04N2201/0044Connecting to a plurality of different apparatus; Using a plurality of different connectors
    • HELECTRICITY
    • H04ELECTRIC COMMUNICATION TECHNIQUE
    • H04NPICTORIAL COMMUNICATION, e.g. TELEVISION
    • H04N2201/00Indexing scheme relating to scanning, transmission or reproduction of documents or the like, and to details thereof
    • H04N2201/0008Connection or combination of a still picture apparatus with another apparatus
    • H04N2201/0034Details of the connection, e.g. connector, interface
    • H04N2201/0048Type of connection
    • H04N2201/0049By wire, cable or the like
    • HELECTRICITY
    • H04ELECTRIC COMMUNICATION TECHNIQUE
    • H04NPICTORIAL COMMUNICATION, e.g. TELEVISION
    • H04N2201/00Indexing scheme relating to scanning, transmission or reproduction of documents or the like, and to details thereof
    • H04N2201/0008Connection or combination of a still picture apparatus with another apparatus
    • H04N2201/0034Details of the connection, e.g. connector, interface
    • H04N2201/0048Type of connection
    • H04N2201/0055By radio
    • HELECTRICITY
    • H04ELECTRIC COMMUNICATION TECHNIQUE
    • H04NPICTORIAL COMMUNICATION, e.g. TELEVISION
    • H04N2201/00Indexing scheme relating to scanning, transmission or reproduction of documents or the like, and to details thereof
    • H04N2201/0077Types of the still picture apparatus
    • H04N2201/0081Image reader

Landscapes

  • Engineering & Computer Science (AREA)
  • Multimedia (AREA)
  • Signal Processing (AREA)
  • Computing Systems (AREA)
  • General Engineering & Computer Science (AREA)
  • Facsimiles In General (AREA)
  • Small-Scale Networks (AREA)

Abstract

【課題】複数のコンピュータで一台のスキャナ装置を共有する場合に接続の切り換えを確実に且つ自動的に行うこと可能にする。
【解決手段】スキャナ共有器10は、スキャナ装置16が接続されるように構成されたスキャナ装置用接続端子18と、複数のコンピュータ12−1、12−2がそれぞれ接続されるように構成された複数のコンピュータ用接続端子14−1、14−2と、複数のコンピュータ用接続端子の中の一つとスキャナ装置用接続端子とを選択的に接続する接続切換器20と、接続切換器の動作を制御する切換制御器22とを備える。スキャナ共有器が自動切換モードになっているとき、切換制御器は、処理完了信号を受信するまで、一つのコンピュータに対応付けられたコンピュータ用接続端子とスキャナ装置用接続端子との接続を維持する。
【選択図】図1

Description

本発明は、複数のコンピュータによって一つのスキャナ装置を共有するためのスキャナ共有器に関する。
オフィスなどの環境では、複数のパーソナルコンピュータの間でプリンタやスキャナ装置のような一つの周辺機器を共有することを要求される場合がある。このような場合、複数のパーソナルコンピュータを一台のサーバーに接続しサーバーを介して周辺機器を接続する方法や、複数のパーソナルコンピュータで構成するネットワークにネットワーク対応プリンタ等を接続する方法や、USB切換器を介して複数のパーソナルコンピュータと周辺機器とを接続する方法などが用いられる。特に、USB切換器を用いる方法が安価で容易に要求を実現できるものとして利用されることも多い。
複数のパーソナルコンピュータによって周辺機器を共有することを可能にするUSB切換器としては、例えば特許文献1に開示されるUSBホスト切り替え装置がある。このUSBホスト切り替え装置は、USBデバイスを接続するUSBデバイス用コネクタと、パーソナルコンピュータなどのUSBホストを接続する複数のUSBホスト用コネクタと、複数のUSBホスト用コネクタの何れか一つを選択し、選択したUSBホスト用コネクタとUSBデバイス用コネクタとを接続する切り替えスイッチとを備え、切り替えスイッチを手動で操作するか、電源の入ったUSBホストが接続されたUSBホスト用コネクタを自動的に検出して電源の入ったUSBホストが接続されたUSBホスト用コネクタとUSBデバイス用コネクタとを接続させるようにする。なお、電源の入ったUSBコネクタが複数存在する場合は、予め定められた優先順位に従って一つのUSBホスト用コネクタを選択する。
また、電源の入ったパーソナルコンピュータが複数接続されている場合でも自動的に切り換えを行うことができる自動USB切換器もある。このようなUSB切換器では、USBコントローラが、USB切換器を通してUSBデバイスに接続されたパーソナルコンピュータとUSBデバイスとの間のデータ信号の有無を監視しており、一定時間(例えば10秒程度)信号データの通信がなされないとUSBデバイスに対する接続を開放可能と判断し、USBデバイスへの接続が開放可能になっているときに他のパーソナルコンピュータからの接続要求があるとそのパーソナルコンピュータをUSBデバイスに接続するように接続を切り換えるようにしている。
特開2003−195991号公報
電源の入った複数のパーソナルコンピュータで一台のプリンタを共有する場合、パーソナルコンピュータからプリンタへの一つのジョブについてのデータ信号は連続的に送られるので、自動USB切換器を用いても一つのジョブの途中でプリンタに接続されるパーソナルコンピュータが切り換わることはない。
ところが、スキャナ装置の場合、スキャン開始を指令してからスキャナ装置が読み込みを開始するまでにある程度の時間を要し、この間読み取りデータの信号の通信が行われない。また、ジャムが発生したり原稿補給の関係で一つのジョブの間でもデータ信号の通信がある程度の時間途切れたりすることもある。このように、スキャナ装置の場合、ある程度の時間、データ信号の通信が途切れていても一つのジョブが完了したと判断できない場合がある。このため、自動USB切換器を用いて複数のパーソナルコンピュータで一台のスキャナ装置を共有している場合、データ信号の通信が行われていない状態下で別のパーソナルコンピュータから接続要求が発せられて、USBコントローラが、パーソナルコンピュータとスキャナ装置との現在の接続が開放可能であると判断し、一つのジョブが終了していないのにもかかわらずジョブの途中でスキャナ装置との接続を別のパーソナルコンピュータに開放してしまうことがある。この結果、接続の切り換えを行った直後の再切り換え時にUSB切換器の動作が不安定になったり、一つのジョブの実行中の切り換えからの保護が不確実になったりする問題が生じていた。
よって、本発明の目的は、従来技術に存する問題を解決して、複数のコンピュータで一台のスキャナ装置を共有する場合に接続の切り換えを確実に且つ自動的に行うこと可能にすることにある。
上記目的を解決するために、本発明によれば、複数のコンピュータによって一つのスキャナ装置を共有するためのスキャナ共有器であって、前記スキャナ装置が接続されるように構成されており前記スキャナ装置と前記スキャナ共有器との間で信号を送受信するためのスキャナ装置用接続端子と、前記複数のコンピュータがそれぞれ接続されるように構成されており前記複数のコンピュータの各々と前記スキャナ共有器との間で信号を送受信するための複数のコンピュータ用接続端子と、前記複数のコンピュータ用接続端子の中の一つと前記スキャナ装置用接続端子とを選択的に接続する接続切換器と、前記接続切換器の動作を制御する切換制御器とを備え、前記スキャナ共有器が自動切換モードになっているとき、前記切換制御器が、前記複数のコンピュータの各々から前記コンピュータ用接続端子を通して処理要求信号を受信すると、処理要求信号を受信した順番に従って順次、当該処理要求信号を発した一つのコンピュータに対応付けられたコンピュータ用接続端子と前記スキャナ装置用接続端子とを前記接続切換器によって接続させ、前記一つのコンピュータから前記コンピュータ用接続端子を通して処理完了信号を受信するまで、当該一つのコンピュータに対応付けられたコンピュータ用接続端子と前記スキャナ装置用接続端子との接続を維持するようにしたスキャナ共有器が提供される。
上記スキャナ共有器では、切換制御器は、一つのコンピュータから処理要求に従ってそのコンピュータに対応付けられたコンピュータ用接続端子とスキャナ装置用接続端子とを接続してスキャン処理を開始させると、一つのジョブ(すなわち、一連の処理)が終わって当該コンピュータから処理終了信号を受信するまで接続を維持してその接続を他のコンピュータに開放しない。このため、一つのジョブが完了するまで確実に一つのコンピュータとスキャナ装置との接続が維持されるので、ジョブの途中で他のコンピュータに対してスキャナ装置との接続が開放されることはない。
前記スキャナ共有器は、前記スキャナ装置用接続端子に接続される前記コンピュータ用接続端子を手動で切り換えることを可能にする手動切換モードと自動切換モードとを切り換えるためのモード切換スイッチと、手動切換モードになっているときに前記複数のコンピュータ用接続端子の中から前記スキャナ装置用接続端子と接続されるコンピュータ用接続端子を手動で選択するためのコンピュータ選択ボタンとをさらに備えることが好ましい。
また、前記スキャナ共有器は、自動切換モードと手動切換モードの何れが選択されているかを表示するためのモード表示器をさらに備えることがさらに好ましい。
上記スキャナ共有器において、前記モード切換スイッチが、自動切換モードを選択するための第1の位置と手動切換モードを選択するための第2の位置との間で移動可能なスライドカバーであり、前記スライドカバーは、前記第1の位置にあるときにコンピュータ選択ボタンを覆い、前記第2の位置にあるときに前記スライドカバーの外側にコンピュータ選択ボタンを露出させるようにすることができる。
前記コンピュータ選択ボタンは前記複数のコンピュータのそれぞれに対応付けられた複数のコンピュータ選択ボタンからなり、前記複数のコンピュータ選択ボタンは選択されたときに点灯するようになっていることが好ましい。
前記スキャナ共有器はスキャナ装置に内蔵されていてもよい。
本発明のスキャナ共有器によれば、一つのジョブ(すなわち、一連の処理)が完了するまで確実に一つのコンピュータとスキャナ装置との接続が維持され、ジョブの途中で他のコンピュータに対してスキャナ装置との接続が開放されることはない。したがって、単にコンピュータとスキャナ装置との間の通信の有無を監視する場合と異なり、一つのジョブが開始された直後やジョブの途中でジャム等が発生したときに他のコンピュータからスキャナ装置との接続が要求されても接続が開放されることはなく、要求された一つのジョブが完了するように接続の切り換えが確実に且つ自動的に行われるようになる。
以下、図面を参照して本発明のスキャナ共有器の好ましい実施形態を説明する。
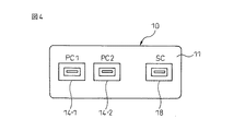
最初に図1〜図4を参照して、本発明のスキャナ共有器の基本構成を説明する。図1を参照すると、スキャナ共有器10は、本体11と、複数のコンピュータ12−1、12−2をそれぞれ接続するための複数のコンピュータ用接続端子14−1、14−2と、スキャナ装置16を接続するためのスキャナ装置用接続端子18と、スキャナ装置用接続端子18と接続されるコンピュータ用接続端子14−1、14−2を切り換え、複数のコンピュータ用接続端子14−1、14−2の中の一つとスキャナ装置用接続端子18とを選択的に接続する接続切換器20と、接続切換器20の動作を制御する切換制御器22とを備え、複数のコンピュータ12−1、12−2で一台のスキャナ装置16を共有できるようにする。図1〜図4に示されている実施形態では、二台のコンピュータ12−1、12−2で一台のスキャナ装置16を共有するようにしているが、スキャナ共有器10に設けられるコンピュータ用接続端子14−1、14−2の数を増やせば、三台以上のコンピュータで一台のスキャナ装置16を共有することが可能となる。
複数のコンピュータ用接続端子14−1、14−2やスキャナ装置用接続端子18は、本体11上の任意の位置に設けることができるが、図1〜図4に示されている実施形態では、図4に示されているようにスキャナ共有器10の本体11の背面に設けられている。また、コンピュータ用接続端子14−1、14−2やスキャナ装置用接続端子18は、図4に示されているように、USBケーブルを接続するためのUSB端子とすることができる。しかしながら、コンピュータ用接続端子14−1、14−2やスキャナ装置用接続端子18は、コンピュータ12−1、12−2とスキャナ共有器10との間又はスキャナ装置16とスキャナ共有器10との間を信号の通信が可能となるように接続できる接続端子であればよい。例えば、コンピュータ用接続端子14−1、14−2やスキャナ装置用接続端子18は、SCSIケーブルやその他の専用ケーブルを接続できる接続端子や、コンピュータ12−1、12−2やスキャナ装置16との間で無線通信を行うことを可能にする接続端子とすることも可能である。
接続切換器20は、切換制御器22からの指令に従って、一つの接点とこれとは別に並列して設けられた複数の接点のうちの何れか一つとを選択的に接続できるものであればよく、例えばスイッチICや機械式の自動切換スイッチなどとすることができる。接続切換器20では、一方側の接点にスキャナ装置用接続端子18から延びるラインが接続されていると共に、他方側の接点に各コンピュータ用接続端子14−1、14−2から延びるラインがハブ24−1、24−2を経て並列して接続されており、切換制御器22からの指令に従って接続を切り換え、スキャナ装置用接続端子18から延びるラインを複数のコンピュータ用接続端子14−1、14−2から延びるラインのうちの一つと選択的に接続する。
切換制御器22は、接続切換器20の動作を制御するものであり、接続切換器20の動作を自動的に制御してスキャナ装置16に対応付けられるスキャナ装置用接続端子18と各コンピュータ12−1、12−2に対応付けられるコンピュータ用接続端子14−1、14−2との接続を切り換える自動切換モードと、接続切換器20の動作を手動で制御してスキャナ装置16に対応付けられるスキャナ装置用接続端子18と各コンピュータ12−1、12−2に対応付けられるコンピュータ用接続端子14−1、14−2の接続を切り換える手動切換モードとを有する。切換制御器22は、自動切換モードになっているとき、接続切換器20を通してスキャナ装置用接続端子18(詳細には、スキャナ装置用接続端子18と接続切換器20との間に延びるライン)に接続されているコンピュータ用接続端子14−1又は14−2に対応付けられたコンピュータ12−1又は12−2から、スキャナ装置16を用いて行っているジョブすなわち一連の処理についての処理完了信号を受信しているかを確認し、処理完了信号を受信しているならばスキャナ装置用接続端子18への接続が他のコンピュータ用接続端子14−2又は14−1に開放可能であると判断する。なお、本願におけるスキャナ装置16を用いたジョブとは、コンピュータ12−1又は12−2が処理開始指令を出してから処理完了信号を出すまでに行われるべき一連の処理を指す。
さらに、切換制御器22は、各コンピュータ12−1、12−2からスキャナ装置16を用いたジョブ又は一連の処理の処理要求を受け付けると、スキャナ装置16に対応付けられたスキャナ装置用接続端子18が開放可能であるかを確認し、開放可能であれば接続切換器20の動作を制御して、そのコンピュータ12−1又は12−2に対応付けられたコンピュータ用接続端子14−1又は14−2(詳細には、そのコンピュータ12−1又は12−2に対応付けられたコンピュータ用接続端子14−1又は14−2から接続切換器20へ延びるライン)とスキャナ装置用接続端子18(詳細には、スキャナ装置用接続端子18から接続切換器20へ延びるライン)とを接続させる。また、切換制御器22は、複数のコンピュータ12−1、12−2からジョブ又は一連の処理の処理要求の予約のための処理要求信号を受信したときには、最初の処理要求信号を発したコンピュータ12−1又は12−2に対応付けられたコンピュータ用接続端子14−1又は14−2をスキャナ装置用接続端子18に接続してジョブ又は一連の処理を実行させ、スキャナ装置用接続端子18への接続が開放可能になるまで待った後、接続切換器20の動作を制御して、処理要求の予約のための処理要求信号を受け取った順番に従って他のコンピュータ用接続端子14−2又は14−1をスキャナ装置用接続端子18に接続させる。
すなわち、切換制御器22は、自動切換モードになっているときには、一つのコンピュータ12−1又は12−2からスキャナ装置16を用いた処理を要求されてそのコンピュータ12−1又は12−2に対応付けられたコンピュータ用接続端子14−1又は14−2から延びるラインとスキャナ装置16に対応付けられたスキャナ装置用接続端子18から延びるラインとを一たび接続しスキャナ装置16を使用したジョブ又は一連の処理を開始させると、そのコンピュータ12−1又は12−2から処理完了信号を受信するまでその接続を維持して他のコンピュータ用接続端子14−2又は14−1から延びるラインへの接続切換を許容しない。したがって、一つのジョブ又は一連の処理が行われている間にスキャナ装置16とコンピュータ12−1又は12−2との間の通信が中断しても、そのジョブ又は処理が完了しない限りスキャナ装置16への接続が切り換わって他のコンピュータ12−2又は12−1と接続されることはなく、要求された一つのジョブ又は一連の処理が完了するように接続の切り換えが確実に且つ自動的に行われるようになる。
図示されている実施形態では、切換制御器22は、各コンピュータ用接続端子14−1、14−2にハブ24−1、24−2を介して接続されている複数のコントローラ26−1、26−2から構成されており、複数のコントローラ26−1、26−2のうちの一つを主コントローラ26−1、他を副コントローラ26−2としている。そして、各コントローラ26−1、26−2が対応付けられているコンピュータ用接続端子14−1、14−2を通じてコンピュータ12−1、12−2からの処理要求信号や処理完了信号を受信し、各副コントローラ26−2が主コントローラ26−1と通信を行って、これらの情報を主コントローラ26−1に伝達し、最終的に主コントローラ26−1が伝達された情報に基づいて接続切換器20の動作を制御するようになっている。すなわち、主コントローラ26−1が、各コンピュータ用接続端子14−1、14−2、ハブ24−1、24−2、副コントローラ26−2を介して各コンピュータ12−1、12−2からの処理要求信号や処理完了信号を集約して受信し、一つのコンピュータ12−1又は12−2からスキャナ装置16を用いたジョブ又は一連の処理の処理完了信号を受信してスキャナ装置用接続端子18へのラインが開放可能になったと判断すると、接続切換器20の動作を制御して、処理要求信号の受付順に従って他のコンピュータ12−2又は12−1に対応付けられたコンピュータ用接続端子14−2又は14−1とスキャナ装置用接続端子18とを接続させるようにする。
このような切換制御器22の構成をとっていれば、三台以上のコンピュータで一台のスキャナ装置16を共有するためにコンピュータ用接続端子を増設する必要がある場合に、付加的なコンピュータ用接続端子とこれに対応した付加的なハブ及び副コントローラを設け、設けた副コントローラを主コントローラ26−1に接続するだけで、容易に対応できるようになる。
手動切換モードのときにスキャナ装置用接続端子18に接続されるコンピュータ用接続端子14−1、14−2を手動で切り換えるために、スキャナ共有器10は、コンピュータ選択ボタンをさらに備える。手動切換モードになっているとき、コンピュータ選択ボタンによってコンピュータが選択されると、切換制御器22は、接続切換器20の動作を制御して、選択されたコンピュータ12−1又は12−2に対応付けられたコンピュータ用接続端子14−1又は14−2をスキャナ装置用接続端子18に強制的に接続させる。
コンピュータ選択ボタンは、図1に示されているように、各コンピュータ選択ボタン28−1、28−2を押すことによってそれぞれに対応付けられたコンピュータが選択されるように構成された複数のコンピュータ選択ボタン28−1、28−2としてもよく、コンピュータ選択ボタンを押す回数によってコンピュータを切り換えるようにした一つのコンピュータ選択ボタンとしてもよい。前者の場合、選択されたコンピュータ12−1又は12−2を視覚的に把握しやすいように、各ボタンにLEDやランプのような表示灯をコンピュータ選択ボタン28−1、28−2に内蔵させ、選択されたコンピュータ12−1、12−2に対応するコンピュータ選択ボタン28−1、28−2自体が点灯するようにすることが好ましい。一方、後者の場合、選択されたコンピュータ12−1又は12−2が視覚的に分かるようにするために、各コンピュータ12−1又は12−2に対応付けられた複数の表示灯(例えば、LEDやランプ:図示せず))をスキャナ共有器10上に設け、選択されたコンピュータ12−1又は12−2に対応付けられた表示灯を点灯させるようにすることが好ましい。
さらに、スキャナ共有器10は、自動切換モードと手動切換モードとを切り換えるためのモード切換スイッチと、自動切換モードと手動切換モードの何れが選択されているかを表示するためのモード表示器をさらに備える。
図1〜図4に示されている実施形態では、スキャナ共有器10の本体11の上面の前側に、各コンピュータ12−1、12−2に対応付けられた複数のコンピュータ選択ボタン28−1、28−2が設けられる一方、スキャナ共有器10の本体11の上面の後側に、自動切換モードが選択されているときに点灯するLEDやランプなどの自動切換モード表示灯30が設けられており、自動切換モード表示灯30と、表示灯を内蔵したコンピュータ選択ボタン28−1、23−2とによってモード表示器を構成している。また、スキャナ共有器10の本体11の上面で自動切換モードを選択するための第1の位置と手動切換モードを選択するための第2の位置との間でスライド可能に設けられたスライドカバー32によってモード切換スイッチを構成している。スライドカバー32は、図2に示されている第1の位置に移動しているときに、自動切換モードに切り換えられ、スライドカバー32で手動切換モードの選択時に使用されるコンピュータ選択ボタン28を覆い、図3に示されている第2の位置に移動しているときに、スライドカバー32の外側にコンピュータ選択ボタン28−1、28−2を露出させるようになっている。スライドカバー32は、スライドカバー32によって覆われているときでもコンピュータ選択ボタン28−1、28−2や自動切換モード表示灯30が視認できるように、透明な材料から作成されていることが好ましい。
このようにモード切換スイッチをスライドカバー32によって構成すれば、手動切換モードに切り換えられたときに、コンピュータ選択ボタン28−1、28−2がスライドカバー32の外側に露出され、コンピュータ選択ボタン28−1、28−2の使用が可能になる一方、自動切換モードに切り換えられたときには、自動切換モードでは使用しないコンピュータ選択ボタン28−1、28−2をスライドカバー32によって覆って使用できなくなり、使用者による誤操作を防止することができる。
しかしながら、モード切換スイッチは、自動切換モードと手動切換モードとを切り換えることができるようになっていればよく、一般的な切換スイッチや押しボタンなどとしてもよい。また、手動切換モードが選択されていることを表示する表示器は、コンピュータ選択ボタン28−1、28−2と独立して本体11上に設けられたLEDやランプのような表示灯としてもよい。
次に、図5を参照して、本発明のスキャナ共有器10の動作を説明する。
まず、自動切換モードにしたときのスキャナ共有器10の動作を説明する。スキャナ共有器10を自動切換モードにするためには、モード切換スイッチによって切換モードを自動切換モードに切り換える。図1〜図4に示されている実施形態では、スキャナ共有器10の上面でスライドカバー32を図2に示されている第1の位置まで前方へ向かって移動させることによって、自動切換モードに切り換えられ、スキャナ共有器10の上面の自動切換モード表示器30が点灯して自動切換モードになっていることを表示する。この状態では、スライドカバー32によってコンピュータ選択ボタン28−1、28−2が覆われ、操作者が誤ってコンピュータ選択ボタン28−1、28−2を押すことが防止される。
スキャナ共有器10に接続される複数のコンピュータ12−1、12−2では、スキャナ装置16を用いたジョブ又は一連の処理を行うとき、スキャナ装置16を操作するためのアプリケーションを起動してアプリケーション上からスキャン開始を指示し、アプリケーションの機能によってコンピュータ12−1、12−2からスキャナ共有器10へ自動的にジョブ又は一連の処理の処理要求の予約のための処理要求信号が送信される。スキャナ共有器10は、スキャナ共有器10の複数のコンピュータ用接続端子14−1、14−2にそれぞれ接続される複数のコンピュータ12−1、12−2からスキャナ装置16を使用した処理要求の予約を受け付けると(ステップS100)、接続切換器20からスキャナ装置用接続端子18への接続(詳細には、スキャナ装置16が接続されているスキャナ装置用接続端子18と接続切換器20との間に延びるライン)が開放可能になっているかを確認し、開放可能になっていなければ後述するようにスキャナ装置16を使用中のコンピュータ12−1又は12−2から処理完了信号を受信して接続が開放可能になるまで待つ(ステップS102)。スキャナ装置用接続端子18への接続が開放可能になると、切換制御器22は、接続切換器20の動作を制御して接続を切り換え、受け付けたジョブ又は一連の処理の処理要求の予約順(すなわち処理要求信号の受信順)に従ってその処理要求を発したコンピュータ12−1又は12−2に対応付けられたコンピュータ用接続端子14−1又は14−2(詳細には、そのコンピュータ12−1又は12−2に対応付けられたコンピュータ用接続端子14−1又は14−2と接続切換器20との間に延びるライン)をスキャナ装置用接続端子18に接続し(ステップS104)、ジョブ又は一連の処理が開始される(ステップS106)。
ジョブ又は一連の処理が開始されると、スキャナ装置16によって原稿の読み取りが行われ(ステップS108)、読み取りデータがスキャナ装置16からスキャナ装置用接続端子18、接続切換器20、コンピュータ用接続端子14−1又は14−2を経てコンピュータ12−1又は12−2に送信される(ステップS110)。このとき、切換制御器22は、そのジョブ又は一連の処理のための処理要求信号を発したコンピュータ12−1又は12−2から処理完了信号を受け取るまでそのコンピュータ12−1又は12−2に対応付けられたコンピュータ用接続端子14−1又は14−2とスキャナ装置用接続端子18との接続を維持するので、処理やジョブの最初に読み取りデータの通信がない状態が続いたり、処理又はジョブの途中で読み取りデータなどの通信が途切れたりしても、スキャナ装置用接続端子18への接続を他のコンピュータ12−2又は12−1に対応付けられたコンピュータ用接続端子14−2又は14−1に開放することがない。したがって、要求された一つのジョブ又は一連の処理が完了するように接続の切り換えが確実に且つ自動的に行われる。
ジョブ又は一連の処理が終了して(ステップS112)、コンピュータ12−1又は12−2上で実行されているアプリケーションによってジョブ又は一連の処理が完了したと判断されると、アプリケーションの機能によって処理完了信号が切換制御器22へ送信される。切換制御器22は、処理完了信号を受信すると(ステップS114)、スキャナ装置用接続端子18への接続が開放可能になったと判断し、スキャナ装置用接続端子18への接続を開放する(ステップS116)。次に、他のコンピュータ12−2又は12−1からの処理要求の予約があるときには、切換制御器22は、ステップS104に戻り、接続切換器20の動作を制御して接続を切り換え、処理要求の予約順に従って他のコンピュータ12−2又は12−1に対応付けられたコンピュータ用接続端子14−2又は14−1とスキャナ装置用接続端子18とを接続させる。
一方、スキャナ共有器10を手動切換モードにするためには、モード切換スイッチによって切換モードを手動切換モードに切り換える。図1〜図4に示されている実施形態では、スキャナ共有器10の上面でスライドカバー32を図3に示されている第2の位置まで後方へ向かって移動させることによって、手動切換モードに切り換えられる。この状態では、コンピュータ選択ボタン28−1、28−2がスライドカバー32の外側に露出され、コンピュータ選択ボタン28−1、28−2の操作が可能になる。そして、コンピュータ選択ボタンによって複数のコンピュータ12−1、12−2の何れをスキャナ装置16に接続させるかを手動で選択する。例えば、図1〜図4に示されている実施形態のように複数のコンピュータ12−1、12−2に対応付けられた複数のコンピュータ選択ボタン28−1、28−2が設けられている場合、複数のコンピュータ選択ボタン28−1、28−2の何れかを押すことによって、複数のコンピュータ12−1、12−2の何れをスキャナ装置16に接続するかを手動で決定し、切換制御器22は、接続切換器20の動作を制御し、その決定に従って、押されたコンピュータ選択ボタン28−1、28−2に対応付けられたコンピュータ12−1、12−2に対応付けられたコンピュータ用接続端子14−1、14−2をスキャナ装置用接続端子18に接続させる。
このように手動切換モードを備えることによって、スキャナ装置16側のスキャンボタンの操作により特定のコンピュータ12−1又は12−2に読み取りデータを送信する利用形態に適応できるようになる。
図1〜図4に示されている実施形態では、スキャナ共有器10がスキャナ装置16とは独立した装置として構成されているが、図6に示されている実施形態のようにスキャナ共有器10´がスキャナ装置16に内蔵されていてもよい。この場合、スキャナ共有器10´はスキャナ装置16の内部でスキャナ装置16と接続されるので、スキャナ装置用接続端子18が不要になる。図5の実施形態において図1〜図4の実施形態と対応する部分には同じ参照符号が付されている。図5に示されている実施形態のスキャナ装置16におけるスキャナ共有器10´の構成及び動作は、スキャナ装置用接続端子18が不要になっていることを除いて、基本的に図1〜図4に示されているスキャナ共有器10と同一であるので、ここでは説明しない。
以上、図示された実施形態に基づいて、本発明のスキャナ共有器を説明したが、本発明のスキャナ共有器は図示される実施形態に限定されるものではない。
本発明のスキャナ共有器の基本構成を示す機能ブロック図である。 自動切換モードになるようにスライドカバーを移動した状態のスキャナ共有器を示す斜視図である。 手動切換モードになるようにスライドカバーを移動した状態のスキャナ共有器を示す斜視図である。 図2及び図3に示されるスキャナ共有器の背面図である。 自動切換モードにおける本発明のスキャナ共有器の動作を示すフローチャートである。 本発明のスキャナ共有器を内蔵するスキャナ装置の全体構成を示す機能ブロック図である。
符号の説明
10 スキャナ共有器
12−1、12−2 コンピュータ
14−1、14−2 コンピュータ用接続端子
16 スキャナ装置
18 スキャナ装置用接続端子
20 接続切換器
22 切換制御器
28 コンピュータ選択ボタン
30 自動切換モード表示器
32 スライドカバー

Claims (6)

  1. 複数のコンピュータによって一つのスキャナ装置を共有するためのスキャナ共有器であって、
    前記スキャナ装置が接続されるように構成されており前記スキャナ装置と前記スキャナ共有器との間で信号を送受信するためのスキャナ装置用接続端子と、
    前記複数のコンピュータがそれぞれ接続されるように構成されており前記複数のコンピュータの各々と前記スキャナ共有器との間で信号を送受信するための複数のコンピュータ用接続端子と、
    前記複数のコンピュータ用接続端子の中の一つと前記スキャナ装置用接続端子とを選択的に接続する接続切換器と、
    前記接続切換器の動作を制御する切換制御器と、
    を備え、前記スキャナ共有器が自動切換モードになっているとき、前記切換制御器が、前記複数のコンピュータの各々から前記コンピュータ用接続端子を通して処理要求信号を受信すると、処理要求信号を受信した順番に従って順次、当該処理要求信号を発した一つのコンピュータに対応付けられたコンピュータ用接続端子と前記スキャナ装置用接続端子とを前記接続切換器によって接続させ、前記一つのコンピュータから前記コンピュータ用接続端子を通して処理完了信号を受信するまで、当該一つのコンピュータに対応付けられたコンピュータ用接続端子と前記スキャナ装置用接続端子との接続を維持することを特徴とするスキャナ共有器。
  2. 前記スキャナ共有器は、前記スキャナ装置用接続端子に接続される前記コンピュータ用接続端子を手動で切り換えることを可能にする手動切換モードと自動切換モードとを切り換えるためのモード切換スイッチと、手動切換モードになっているときに前記複数のコンピュータ用接続端子の中から前記スキャナ装置用接続端子に接続されるコンピュータ用接続端子を手動で選択するためのコンピュータ選択ボタンとをさらに備える、請求項1に記載のスキャナ共有器。
  3. 前記スキャナ共有器は、自動切換モードと手動切換モードの何れが選択されているかを表示するためのモード表示器をさらに備える、請求項2に記載のスキャナ共有器。
  4. 前記モード切換スイッチが、自動切換モードを選択するための第1の位置と手動切換モードを選択するための第2の位置との間で移動可能なスライドカバーであり、前記スライドカバーは、前記第1の位置にあるときにコンピュータ選択ボタンを覆い、前記第2の位置にあるときに前記スライドカバーの外側にコンピュータ選択ボタンを露出させる、請求項2又は請求項3に記載のスキャナ共有器。
  5. 前記コンピュータ選択ボタンは前記複数のコンピュータのそれぞれに対応付けられる複数のコンピュータ選択ボタンからなり、前記複数のコンピュータ選択ボタンは選択されたときに点灯するようになっている、請求項2から請求項4の何れか一項に記載のスキャナ共有器。
  6. 前記スキャナ共有器がスキャナ装置に内蔵されている、請求項1から請求項5の何れか一項に記載のスキャナ共有器。
JP2008241540A 2008-09-19 2008-09-19 スキャナ共有器 Expired - Fee Related JP5371348B2 (ja)

Priority Applications (3)

Application Number Priority Date Filing Date Title
JP2008241540A JP5371348B2 (ja) 2008-09-19 2008-09-19 スキャナ共有器
US12/507,514 US8266236B2 (en) 2008-09-19 2009-07-22 Scanner sharing device
CN2009101670315A CN101677349B (zh) 2008-09-19 2009-08-14 扫描仪共享装置

Applications Claiming Priority (1)

Application Number Priority Date Filing Date Title
JP2008241540A JP5371348B2 (ja) 2008-09-19 2008-09-19 スキャナ共有器

Publications (2)

Publication Number Publication Date
JP2010073057A true JP2010073057A (ja) 2010-04-02
JP5371348B2 JP5371348B2 (ja) 2013-12-18

Family

ID=42029755

Family Applications (1)

Application Number Title Priority Date Filing Date
JP2008241540A Expired - Fee Related JP5371348B2 (ja) 2008-09-19 2008-09-19 スキャナ共有器

Country Status (3)

Country Link
US (1) US8266236B2 (ja)
JP (1) JP5371348B2 (ja)
CN (1) CN101677349B (ja)

Cited By (1)

* Cited by examiner, † Cited by third party
Publication number Priority date Publication date Assignee Title
JP2015520956A (ja) * 2012-04-11 2015-07-23 珠海賽納打印科技股分有限公司 情報保護機能付きの画像形成装置

Families Citing this family (4)

* Cited by examiner, † Cited by third party
Publication number Priority date Publication date Assignee Title
US7886106B2 (en) * 2008-11-11 2011-02-08 Aten International Co., Ltd. USB sharing switch with automatic switching capabilities
TWD166688S (zh) * 2014-03-10 2015-03-21 虹光精密工業股份有限公司 掃描器
CN103997830B (zh) * 2014-05-22 2016-03-02 珠海优特电力科技股份有限公司 开关设备及其控制方法
JP7784858B2 (ja) * 2021-10-13 2025-12-12 株式会社Pfu 画像読取装置、制御方法及び制御プログラム

Citations (9)

* Cited by examiner, † Cited by third party
Publication number Priority date Publication date Assignee Title
JPH1198170A (ja) * 1997-09-18 1999-04-09 Hitachi Telecom Technol Ltd リモートアクセスルータ
JP2001325044A (ja) * 2000-05-16 2001-11-22 Sharp Corp 携帯情報端末装置
GB2352540B (en) * 1999-04-28 2003-12-17 Adder Tech Ltd USB switching device & system
JP2004069830A (ja) * 2002-08-02 2004-03-04 Fuji Photo Film Co Ltd カメラ
US20070136293A1 (en) * 2005-11-29 2007-06-14 Wataru Mizumukai Peripheral device
US20070263252A1 (en) * 2006-05-12 2007-11-15 Kyocera Mita Corporation Multiple-port print device
JP2008134701A (ja) * 2006-11-27 2008-06-12 Renesas Technology Corp 半導体装置
JP3144737U (ja) * 2008-06-02 2008-09-11 安國國際科技股▲ふん▼有限公司 コンピュータ間データ伝送機能を具備するコンピュータ切換え器
US20080235303A1 (en) * 2006-09-14 2008-09-25 Sharp Kabushiki Kaisha Image readout system, server apparatus, image readout apparatus, and terminal apparatus

Family Cites Families (4)

* Cited by examiner, † Cited by third party
Publication number Priority date Publication date Assignee Title
JP2003195991A (ja) 2001-12-26 2003-07-11 Matsushita Electric Ind Co Ltd Usbホスト切り替え装置
JP3811085B2 (ja) 2002-03-18 2006-08-16 株式会社Pfu スキャナシステム
US8072630B2 (en) * 2006-05-10 2011-12-06 Ricoh Production Print Solutions LLC Integration of job control and synchronization with printer controller data exchanges
KR100844072B1 (ko) * 2007-06-20 2008-07-04 엘지전자 주식회사 이동통신 단말기 및 그 제어방법

Patent Citations (11)

* Cited by examiner, † Cited by third party
Publication number Priority date Publication date Assignee Title
JPH1198170A (ja) * 1997-09-18 1999-04-09 Hitachi Telecom Technol Ltd リモートアクセスルータ
GB2352540B (en) * 1999-04-28 2003-12-17 Adder Tech Ltd USB switching device & system
JP2001325044A (ja) * 2000-05-16 2001-11-22 Sharp Corp 携帯情報端末装置
JP2004069830A (ja) * 2002-08-02 2004-03-04 Fuji Photo Film Co Ltd カメラ
US20070136293A1 (en) * 2005-11-29 2007-06-14 Wataru Mizumukai Peripheral device
JP2007150873A (ja) * 2005-11-29 2007-06-14 Brother Ind Ltd 周辺装置
US20070263252A1 (en) * 2006-05-12 2007-11-15 Kyocera Mita Corporation Multiple-port print device
JP2007301881A (ja) * 2006-05-12 2007-11-22 Kyocera Mita Corp マルチポート印刷装置
US20080235303A1 (en) * 2006-09-14 2008-09-25 Sharp Kabushiki Kaisha Image readout system, server apparatus, image readout apparatus, and terminal apparatus
JP2008134701A (ja) * 2006-11-27 2008-06-12 Renesas Technology Corp 半導体装置
JP3144737U (ja) * 2008-06-02 2008-09-11 安國國際科技股▲ふん▼有限公司 コンピュータ間データ伝送機能を具備するコンピュータ切換え器

Cited By (1)

* Cited by examiner, † Cited by third party
Publication number Priority date Publication date Assignee Title
JP2015520956A (ja) * 2012-04-11 2015-07-23 珠海賽納打印科技股分有限公司 情報保護機能付きの画像形成装置

Also Published As

Publication number Publication date
US8266236B2 (en) 2012-09-11
CN101677349A (zh) 2010-03-24
JP5371348B2 (ja) 2013-12-18
CN101677349B (zh) 2012-07-18
US20100077089A1 (en) 2010-03-25

Similar Documents

Publication Publication Date Title
JP5371348B2 (ja) スキャナ共有器
US5049863A (en) Cursor key unit for a computer having a mouse function removably mounted on a keyboard section of a base
CN101739377B (zh) 具有自动切换能力的通用串行总线共享切换器
CN102063390B (zh) 电子设备和电子设备的控制方法
JP2001306495A (ja) 携帯通信端末
US20040179135A1 (en) Illuminated user interface
JP2001216251A (ja) コンピュータ切替器
CN102043744B (zh) 电子设备及电子设备的控制方法
JP5502511B2 (ja) 検体処理システム
JP2000148316A (ja) 携帯端末装置、携帯端末装置のインタフェース切替方法および記録媒体
KR20190121255A (ko) 단말 장치 및 통신 시스템
EP1295728B1 (en) Image forming device
CN101364177A (zh) 处理执行方法和处理执行设备
US20100265533A1 (en) Image transmitting device and method of transmitting image
US20060250363A1 (en) Mouse with image system and method for using the same
JP2009087178A (ja) オーダエントリシステムおよびハンディターミナル
JP5200261B2 (ja) レーザポインタシステム
JPH08275266A (ja) 遠隔制御システムおよび遠隔制御方法
JP2008059165A (ja) 可搬性記憶装置
JP4408348B2 (ja) 情報処理装置の入出力切替方式
JP4016908B2 (ja) 画像形成装置
KR20140026562A (ko) 조명 제어 시스템
JP2003134288A (ja) 操作ガイド装置、操作ガイド方法および記録媒体
JP4019862B2 (ja) 光学情報読取装置
JP2010186311A (ja) 情報処理装置及びその制御方法

Legal Events

Date Code Title Description
A621 Written request for application examination

Free format text: JAPANESE INTERMEDIATE CODE: A621

Effective date: 20110302

A131 Notification of reasons for refusal

Free format text: JAPANESE INTERMEDIATE CODE: A131

Effective date: 20130507

A521 Request for written amendment filed

Free format text: JAPANESE INTERMEDIATE CODE: A523

Effective date: 20130701

TRDD Decision of grant or rejection written
A01 Written decision to grant a patent or to grant a registration (utility model)

Free format text: JAPANESE INTERMEDIATE CODE: A01

Effective date: 20130820

A61 First payment of annual fees (during grant procedure)

Free format text: JAPANESE INTERMEDIATE CODE: A61

Effective date: 20130917

R150 Certificate of patent or registration of utility model

Free format text: JAPANESE INTERMEDIATE CODE: R150

LAPS Cancellation because of no payment of annual fees