JP2010072851A - 光電式煙感知器 - Google Patents

光電式煙感知器 Download PDF

Info

Publication number
JP2010072851A
JP2010072851A JP2008238358A JP2008238358A JP2010072851A JP 2010072851 A JP2010072851 A JP 2010072851A JP 2008238358 A JP2008238358 A JP 2008238358A JP 2008238358 A JP2008238358 A JP 2008238358A JP 2010072851 A JP2010072851 A JP 2010072851A
Authority
JP
Japan
Prior art keywords
light
housing
smoke
smoke detector
wall
Prior art date
Legal status (The legal status is an assumption and is not a legal conclusion. Google has not performed a legal analysis and makes no representation as to the accuracy of the status listed.)
Granted
Application number
JP2008238358A
Other languages
English (en)
Other versions
JP5438294B2 (ja
Inventor
Mitsuteru Nishida
光輝 西田
Hironori Tatsumi
裕紀 辰巳
Shuhei Kuroda
修平 黒田
Current Assignee (The listed assignees may be inaccurate. Google has not performed a legal analysis and makes no representation or warranty as to the accuracy of the list.)
New Cosmos Electric Co Ltd
Original Assignee
New Cosmos Electric Co Ltd
Priority date (The priority date is an assumption and is not a legal conclusion. Google has not performed a legal analysis and makes no representation as to the accuracy of the date listed.)
Filing date
Publication date
Application filed by New Cosmos Electric Co Ltd filed Critical New Cosmos Electric Co Ltd
Priority to JP2008238358A priority Critical patent/JP5438294B2/ja
Publication of JP2010072851A publication Critical patent/JP2010072851A/ja
Application granted granted Critical
Publication of JP5438294B2 publication Critical patent/JP5438294B2/ja
Expired - Fee Related legal-status Critical Current
Anticipated expiration legal-status Critical

Links

Images

Landscapes

  • Fire-Detection Mechanisms (AREA)

Abstract

【課題】誤検知を防止できる光電式煙感知器を提供する。
【解決手段】外部からの煙を流入させると共に外部からの直接光を遮断する複数の壁部を有するハウジング21と、当該ハウジング21の内部に光を照射する発光部と、ハウジング21の内部に流入した煙による光の散乱光を受光する受光部と、ハウジング21を壁に取り付けた状態において、複数の壁部のうち少なくとも下側に位置する壁部に上方に向けて開口するように設けられ、ハウジング21の内部に侵入した異物を捕捉するポケット部と、ハウジング21を振動させる振動発生手段3と、を備える。
【選択図】図3

Description

本発明は、外部からの煙を流入させると共に外部からの直接光を遮断する複数の壁部を有するハウジングと、当該ハウジングの内部に光を照射する発光部と、前記ハウジングの内部に流入した煙による前記光の散乱光を受光する受光部と、を備えた光電式煙感知器に関する。
かかる光電式煙感知器は、ハウジングによって形成される煙検知室に、当該煙検知室内に光を照射する発光部と光を受光する受光部とを設け、煙によって光が散乱することを利用して煙を検知する。つまり、通常時には、発光部から照射された直接光が受光部に向かうことが無いので、受光部にて光が検出されない。一方、火災発生時には、火災によって生じた煙がハウジング内に流入し、発光部から照射された直接光が煙によって散乱されるので、受光部にて散乱光が検出される。
従来、この種の光電式煙感知器では、壁部の外側に防虫網を設けて、煙検知室に虫等が入り込むことによる誤検知を防止しているものがあった(例えば、特許文献1参照。)。
特開平9−231485号公報
ところで、従来の光電式煙感知器に用いられる防虫網には、煙検知性能に支障がないように煙の流入に影響がない程度の隙間が設けられている。このため、小さな埃等の異物が当該隙間を通って煙検知室内に侵入する場合がある。このとき、異物が煙検知室内に付着して、発光部から照射された直接光が異物によって乱反射される場合があり、乱反射した光の強度は煙による散乱光の強度と同程度であるため、誤検知を引き起こすという問題があった。
本発明は、上記実状に鑑みて為されたものであって、その目的は、誤検知を防止できる光電式煙感知器を提供する点にある。
本発明の光電式煙感知器の第1特徴構成は、外部からの煙を流入させると共に外部からの直接光を遮断する複数の壁部を有するハウジングと、当該ハウジングの内部に光を照射する発光部と、前記ハウジングの内部に流入した煙による前記光の散乱光を受光する受光部と、前記ハウジングを壁に取り付けた状態において、前記複数の壁部のうち少なくとも下側に位置する壁部に上方に向けて開口するように設けられ、前記ハウジングの内部に侵入した異物を捕捉するポケット部と、前記ハウジングを振動させる振動発生手段と、を備えた点にある。
本構成によれば、異物がハウジングによって形成される煙検知室内に侵入し、煙検知室内における発光部から照射された直接光が当たる箇所に付着したとしても、振動発生手段による振動によって異物が煙検知室における該箇所から脱落し、上方に向けて開口するポケット部によって捕捉される。このため、異物による光の乱反射を防止して誤検知を防止できる。加えて、ポケット部が捕捉した異物は、外部からの空気等がハウジングの内部に流入した場合でも、ポケット部によって空気等から遮断できる。このため、異物がハウジングの内部に舞い上がって、異物が煙検知室内に再付着することを防止できる。
本発明の第2特徴構成は、前記ハウジングは、前記発光部から前記受光部に向かう直接光を遮断する遮光部を備えると共に、当該遮光部の下方に前記ポケット部を設けた点にある。
一般に、光電式煙感知器においては、発光部からの直接光を遮断する遮光部に異物が付着すると、発光部から照射された直接光が異物によって乱反射されて誤検知を起こし易い。このため、本構成のように遮光部を設けた場合には、発光部から受光部に向かう直接光を遮断する遮光部に異物が付着したとしても、振動発生手段による振動によって異物が遮光部から脱落し、遮光部の下方に設けられたポケット部によって捕捉される。したがって、異物による光の乱反射を防止して誤検知を防止できる。しかも、遮光部の下方にポケット部を設けてあるので、遮光部から落下した異物を捕捉し易い。
本発明の第3特徴構成は、前記振動発生手段の作動を制御する制御手段をさらに備え、
当該制御手段は、予め設定された条件が満たされたときに、前記振動発生手段を一定期間作動させる点にある。
本構成によれば、予め設定された条件が満たされたときに、振動発生手段を一定期間作動させるので、適切なタイミングで振動発生手段を一定期間作動させることにより、振動発生手段を常時作動させるに較べて光電式煙感知器を作動させる電池の長寿命化を図りながらも、異物による光の乱反射を防止して誤検知を防止できる。
本発明の第4特徴構成は、前記制御手段は、前記振動発生手段を作動させたのち所定の期間が経過すると、前記条件が満たされたと判別する点にある。
本構成によれば、振動発生手段を一定期間作動させたのちに、所定の期間が経過すると、煙感知器の使用により小さな埃等の異物が煙検知室内に侵入して堆積し、煙検知室内に付着した異物によって乱反射される可能性が高いと考えられる。そこで、振動発生手段を作動させたのち所定の期間が経過すると、再び振動発生手段を作動させることにより、異物による光の乱反射を防止して誤検知を防止できる。
本発明の第5特徴構成は、前記制御手段は、前記受光部にて受光された前記散乱光の光量が所定値以上であると、前記条件が満たされたと判別する点にある。
本構成によれば、受光部にて受光された前記散乱光の光量が所定値以上であると、異物が煙検知室内に付着して異物によって乱反射される場合、及び、煙によって散乱される場合のいずれかであると考えられる。そこで、受光部にて受光された散乱光の光量が所定値以上であると、一旦、振動発生手段を作動させる。その後、再び受光部にて受光された散乱光の光量が所定値以上であれば、煙によって散乱される可能性が高く、散乱光の光量が所定値以下であれば、異物によって乱反射される可能性が高いと考えられる。このため、異物による乱反射と煙による散乱とを区別して誤検知を防止できる。
本発明の第6特徴構成は、前記振動発生手段は、前記ハウジングに一体的に取り付けられたスピーカである点にある。
本構成によれば、警報音を発するスピーカを振動発生手段に兼用して構成の簡素化を図ることができる。加えて、スピーカをハウジングに一体的に取り付けてあるので、スピーカの振動をハウジングに伝達させ易い。
〔第1実施の形態〕
以下に、本発明に係る光電式煙感知器の一実施形態について図面を参照して説明する。ここでは、本発明を火災警報器1における煙検知部2に適用した場合について説明する。
本実施形態に係る壁掛け式の火災警報器1は、図2に示すように、正面に、煙を検知する煙検知部2と、音声やブザー等の警報音を発する警報スピーカ3と、LED等による光を点灯または点滅する警報ランプ4とを備える。火災警報器1は、煙検知部2が煙を検知した時に、例えば、煙の濃度が予め設定した閾値より高いか低いかを判断し、煙の濃度が閾値を超えている場合に火災と判定して、警報スピーカ3から警報音を発し、警報ランプ4を点灯させる。火災警報器1には、警報停止ボタン5が設けてあり、これを操作することにより警報スピーカ3からの警報音を停止し、警報ランプ4を消灯することができるようになっている。また、火災警報器1の背面には、火災警報器1を壁材等に固定する取り付け部(図示しない)や、火災警報器1を駆動させる電池を収納する電池収納部(図示しない)等が設けてある。
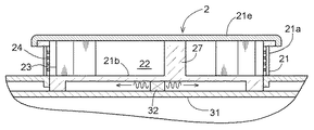
前記煙検知部2は、図1〜図3に示すように、ハウジング21を備えている。ハウジング21は、基板31に取り付けられており、底面部21b、仕切り部21c、蓋部21e、底面部21bと仕切り部21c、及び、仕切り部21cと蓋部21eとの間に設けられた棒状部材21a等を備えている。仕切り部21cの上方には、警報スピーカ3を収容するスピーカ収容空間が形成されている。仕切り部21cには、警報スピーカ3に係合する係合部21dが形成されている。これにより、警報スピーカ3がハウジング21に一体的に取り付けられている。底面部21bと仕切り部21cとの間には、内部に煙を検知する煙検知室22が形成されている。
前記ハウジング21には、複数の鉤状の壁部23が煙検知室22の高さ方向の全長に亘って、煙検知室22の周りを取り囲むように設けてある。これにより、煙検知室22に外部から光を遮断しつつ外部からの煙が流入できるようになっている。それぞれの壁部23はその端部を同一周方向に向けて設けてあり、壁部23のうち火災警報器1を壁に取り付けた状態とした時に最下部となる位置に設けた壁部23aには、他の壁部23と同じ高さの壁で形成され、上方に向けて開口するポケット部23bが設けてある。壁部23の外側には、金網等で構成される防虫網24が設けてあり、煙検知室22に虫等が入らないようにしてある。
本実施形態のような壁掛け式の火災警報器1では、煙検知室22に侵入した埃(異物の一例)は下方に堆積する。このため、このようなポケット部23bを設けることにより煙検知室22に侵入した埃を効率よく捕捉することができる。また、ポケット部23bを形成する壁部23aの煙検知室22の側の端部は他の煙検知室22の側の壁部23の端部と同一周方向を向くように設けてあり、図1における壁部23aの左側の壁部23との間から流入する空気等はポケット部23bとは反対の方向に流れ、図1における壁部23aの右側の壁部23との間から流入する空気等はポケット部23bの上方を通って流れるように構成してある。このため、外部から流入する空気等がポケット部23bの内部に流入することがなく、一旦ポケット部23bに捕捉した埃を舞い上がらせることはない。尚、ポケット部23bの開口幅は、煙の煙検知室22への流入を妨げない範囲内で大きく形成することが好ましく、これにより埃を捕捉し易くなる。
前記ハウジング21の内部には、煙検知室22に近赤外線等の光を照射する発光部としての発光ダイオード等の発光素子25と、煙検知室22の光を受光する受光部としてのフォトダイオード等の受光素子26とが、それぞれの光軸が煙検知室22の内部で交差するように設けてある。また、発光素子25と受光素子26との間には遮光部としての遮光壁27が設けてあり、発光素子25から受光素子26へ向かう直接光を遮断できるようになっている。このため、受光素子26は、通常時には発光素子25が発する光を受光することはなく、煙検知室22に煙が流入した時にのみ煙による発光素子25が発する光の散乱光を受光できるようになる。煙検知部2は、この散乱光を検出することで煙の存在を検知できるようになっている。
前記受光素子26は、遮光壁27及びポケット部23bに対し上方に位置するように配置してある。本実施形態のような壁掛け式の火災警報器1では埃は上方からハウジング21の内部に侵入し易い。このため、受光素子26とポケット部23bとをこのように設けることにより、埃が煙検知室22の内部に侵入し難くなる。又、遮光壁27の下方にポケット部23bを設けてあるので、遮光壁27から落下した埃を捕捉し易い。
前記警報スピーカ3は、火災のときには、警報音を発するものであるが、ハウジング21を振動させるのにも用いられる。つまり、可聴域よりも低いあるいは高い周波数の音を発することにより、埃が煙検知室22内に侵入し、埃が遮光壁27内に付着したとしても、警報スピーカ3による振動によって埃が遮光壁27内から脱着して落下し、上方に向けて開口するポケット部23bが埃を捕捉するので、埃による光の乱反射を防止して誤検知を防止できる。従って、警報スピーカ3はハウジング21を振動させる振動発生手段を兼用している。尚、その他の煙検知部2を備えた火災警報器1の構成、機能については、従来公知の火災警報器と同様である。
次に、本発明に係る光電式煙感知器の制御構成について説明する。
警報スピーカ3の振動発生手段としての作動を制御するマイコン等の制御手段(図示しない)が備えられており、制御手段が、警報スピーカ3を一定期間作動させてハウジング21を振動させたのち所定の期間が経過すると、条件が満たされたと判別して、警報スピーカ3を作動させるように構成されている。
具体的には、図4に示すように、10秒毎に発光素子25が光をパルス照射して、受光素子26が発光素子25から発する光を受光する。そして、発光素子25が光をパルス照射する1秒前に警報スピーカ3を一定期間作動させてハウジング21を振動させる。警報スピーカ3を作動させるタイミングや作動時間は、適宜設定及び設定変更が可能である。例えば、図4のように、1回のパルス照射に対して1回作動させたり、複数回のパルス照射に対して1回作動させる等、埃の堆積度合いに応じて設定・変更可能である。又、警報スピーカ3を定期的(時、日、週、月、年)に作動させてもよい。警報スピーカ3を定期的に作動させる間隔は、適宜設定及び設定変更が可能である。さらに、温度センサ(図示しない)を設けて、温度センサの温度が所定温度になったときに警報スピーカ3を作動させてハウジング21を振動させてもよい。これにより、所定温度を適切に設定することにより、夜と昼の間、あるいは、冬と夏との間で警報スピーカ3を作動させてハウジング21を振動させることができる。
〔第2実施の形態〕
この実施形態では、第1実施形態の構成と異なる制御構成について説明する。
前記制御手段が、受光素子26にて受光された散乱光の光量が所定値以上であると、条件が満たされたと判別して、警報スピーカ3を一定期間作動させるように構成されている。
具体的には、10秒毎に発光素子25が光をパルス照射して、受光素子26が発光素子25から発する光を受光する。そして、受光素子26にて受光された散乱光の光量が警報音を発する閾値以上であると、警報スピーカ3を一定期間作動させてハウジング21を振動させる。次に、発光素子25が光をパルス照射して、受光素子26にて受光された散乱光の光量が依然として該閾値以上である場合には、煙によって散乱される可能性が高いと考えられるので、警報スピーカ3から警報音を発し、警報ランプ4を点灯させる。受光素子26にて受光された散乱光の光量が該閾値より下がった場合には、埃による可能性が高いと考えられるので、警報スピーカ3から警報音を発せず、警報ランプ4を点灯させない。これにより、埃による乱反射と煙による散乱とを区別して誤検知を防止できる。
さらに、警報音を発する閾値よりも小さい閾値を設定し、受光素子26にて受光された散乱光の光量が該閾値以上である場合に、警報スピーカ3を一定期間作動させてハウジング21を振動させてもよい。つまり、受光素子26にて受光された散乱光の光量が該閾値以上となった場合に、警報スピーカ3を一定期間作動させてハウジング21を振動させる。次に、発光素子25が光をパルス照射して、受光素子26にて受光された散乱光の光量が依然として該閾値以上であると、再び警報スピーカ3を一定期間作動させてハウジング21を振動させ、該閾値を下回るまでハウジング21の振動を繰り返す。
〔別実施形態〕
上記の実施形態においては、ポケット部23bを1つ設けた例を説明したが、複数設けてもよい。この場合、最下部の位置に加え、壁部23の形状等によって生じる気流から埃がより堆積し易い任意の位置に設けることができる。
上記の実施形態においては、ポケット部23bを壁部23と同一の素材で形成した例を説明したがこれに限定されない。例えば、ポケット部23bを粘着性部材や帯電性部材等の埃を吸着し易い部材で構成することもできる。これによって、埃をより捕捉し易くなる。
上記の実施形態においては、ポケット部23bが壁部23のうち火災警報器1を壁に取り付けた状態とした時に最下部となる位置に設ける構成を例示したが、これに限られるものではなく、ポケット部23bが壁部23のうち火災警報器1を壁に取り付けた状態とした時に下側となる位置に設けてもよい。
上記の実施形態においては、振動発生手段としての警報スピーカ3がハウジング21を振動させる構成を例示したが、振動発生手段として警報スピーカ3とは別にバイブレータ32を設けてもよい。具体的には、図5のように基板31の上面でハウジング21の側脇にバイブレータ32を設けてハウジング21を振動させたり、図6のように基板31と底面部21bとの間にバイブレータ32を設けてハウジング21を振動させることが考えられる。
上記の実施形態においては、受光素子26をポケット部23bの上方に設ける構成を例示したが、発光素子25をポケット部23bの上方に設けてもよい。また、発光素子25及び受光素子26をポケット部23bの上方に設けなくてもよい。
上記の実施形態においては、ハウジング21とは別に金網等で構成される防虫網24を設ける構成を例示したが、ハウジング21と防虫網とを一体成形してもよい。
本発明に係る光電式煙感知器は、煙を検知する煙センサ、煙を検知して警報を発する警報器、煙の濃度を測定する測定器等に適用することができる。
本実施形態に係る煙検知部の横断面図 本実施形態に係る火災警報器の模式図 本実施形態に係る煙検知部の縦断面図。 本実施形態に係る光のパルス照射とハウジングの振動のタイミングを示す図 別実施形態に係るハウジングと振動発生手段との関係を示す図 別実施形態に係るハウジングと振動発生手段との関係を示す図
符号の説明
1 火災警報器
2 煙検知部
3 振動発生手段
21 ハウジング
23 壁部
23a 壁部
23b ポケット部
25 発光素子(発光部)
26 受光素子(受光部)

Claims (6)

  1. 外部からの煙を流入させると共に外部からの直接光を遮断する複数の壁部を有するハウジングと、
    当該ハウジングの内部に光を照射する発光部と、
    前記ハウジングの内部に流入した煙による前記光の散乱光を受光する受光部と、
    前記ハウジングを壁に取り付けた状態において、前記複数の壁部のうち少なくとも下側に位置する壁部に上方に向けて開口するように設けられ、前記ハウジングの内部に侵入した異物を捕捉するポケット部と、
    前記ハウジングを振動させる振動発生手段と、を備えた光電式煙感知器。
  2. 前記ハウジングは、前記発光部から前記受光部に向かう直接光を遮断する遮光部を備えると共に、当該遮光部の下方に前記ポケット部を設けてある請求項1に記載の光電式煙感知器。
  3. 前記振動発生手段の作動を制御する制御手段をさらに備え、
    当該制御手段は、予め設定された条件が満たされたときに、前記振動発生手段を一定期間作動させるように構成してある請求項1又は2に記載の光電式煙感知器。
  4. 前記制御手段は、前記振動発生手段を作動させたのち所定の期間が経過すると、前記条件が満たされたと判別する請求項3に記載の光電式煙感知器。
  5. 前記制御手段は、前記受光部にて受光された前記散乱光の光量が所定値以上であると、前記条件が満たされたと判別する請求項3に記載の光電式煙感知器。
  6. 前記振動発生手段は、前記ハウジングに一体的に取り付けられたスピーカである請求項1〜5のいずれか1項に記載の光電式煙感知器。
JP2008238358A 2008-09-17 2008-09-17 光電式煙感知器 Expired - Fee Related JP5438294B2 (ja)

Priority Applications (1)

Application Number Priority Date Filing Date Title
JP2008238358A JP5438294B2 (ja) 2008-09-17 2008-09-17 光電式煙感知器

Applications Claiming Priority (1)

Application Number Priority Date Filing Date Title
JP2008238358A JP5438294B2 (ja) 2008-09-17 2008-09-17 光電式煙感知器

Publications (2)

Publication Number Publication Date
JP2010072851A true JP2010072851A (ja) 2010-04-02
JP5438294B2 JP5438294B2 (ja) 2014-03-12

Family

ID=42204581

Family Applications (1)

Application Number Title Priority Date Filing Date
JP2008238358A Expired - Fee Related JP5438294B2 (ja) 2008-09-17 2008-09-17 光電式煙感知器

Country Status (1)

Country Link
JP (1) JP5438294B2 (ja)

Cited By (3)

* Cited by examiner, † Cited by third party
Publication number Priority date Publication date Assignee Title
JP2016128989A (ja) * 2015-01-09 2016-07-14 パナソニックIpマネジメント株式会社 火災感知器
KR20180113737A (ko) * 2017-04-07 2018-10-17 주식회사 엑스엘 초박형 미세먼지 측정 센서
CN111080958A (zh) * 2020-01-20 2020-04-28 上海中环科仪消防报警设备有限公司 一种内嵌锥形结构的烟感传感器迷宫

Families Citing this family (1)

* Cited by examiner, † Cited by third party
Publication number Priority date Publication date Assignee Title
DE112024000647T5 (de) * 2023-01-26 2025-11-13 Microchip Technology Incorporated Selbstreinigendes sicherheitssystem

Citations (7)

* Cited by examiner, † Cited by third party
Publication number Priority date Publication date Assignee Title
JP2000235000A (ja) * 1999-02-15 2000-08-29 Matsushita Electric Works Ltd 光散乱式粒子検知センサ
JP2008027321A (ja) * 2006-07-25 2008-02-07 Tempearl Ind Co Ltd 住宅用火災警報器
JP2008077473A (ja) * 2006-09-22 2008-04-03 Hochiki Corp 煙感知器
JP2008102575A (ja) * 2006-10-17 2008-05-01 Yazaki Corp 火災警報器
JP2008134876A (ja) * 2006-11-29 2008-06-12 Matsushita Electric Works Ltd 火災感知器
JP2009087247A (ja) * 2007-10-02 2009-04-23 Osaka Gas Co Ltd 警報装置
JP2009110433A (ja) * 2007-10-31 2009-05-21 New Cosmos Electric Corp 光電式煙感知器

Patent Citations (7)

* Cited by examiner, † Cited by third party
Publication number Priority date Publication date Assignee Title
JP2000235000A (ja) * 1999-02-15 2000-08-29 Matsushita Electric Works Ltd 光散乱式粒子検知センサ
JP2008027321A (ja) * 2006-07-25 2008-02-07 Tempearl Ind Co Ltd 住宅用火災警報器
JP2008077473A (ja) * 2006-09-22 2008-04-03 Hochiki Corp 煙感知器
JP2008102575A (ja) * 2006-10-17 2008-05-01 Yazaki Corp 火災警報器
JP2008134876A (ja) * 2006-11-29 2008-06-12 Matsushita Electric Works Ltd 火災感知器
JP2009087247A (ja) * 2007-10-02 2009-04-23 Osaka Gas Co Ltd 警報装置
JP2009110433A (ja) * 2007-10-31 2009-05-21 New Cosmos Electric Corp 光電式煙感知器

Cited By (4)

* Cited by examiner, † Cited by third party
Publication number Priority date Publication date Assignee Title
JP2016128989A (ja) * 2015-01-09 2016-07-14 パナソニックIpマネジメント株式会社 火災感知器
KR20180113737A (ko) * 2017-04-07 2018-10-17 주식회사 엑스엘 초박형 미세먼지 측정 센서
KR101976058B1 (ko) * 2017-04-07 2019-08-28 주식회사 엑스엘 초박형 미세먼지 측정 센서
CN111080958A (zh) * 2020-01-20 2020-04-28 上海中环科仪消防报警设备有限公司 一种内嵌锥形结构的烟感传感器迷宫

Also Published As

Publication number Publication date
JP5438294B2 (ja) 2014-03-12

Similar Documents

Publication Publication Date Title
US8773272B2 (en) Light scattering type smoke detector
JP2013235609A (ja) 煙検出器
JP5438294B2 (ja) 光電式煙感知器
CN105849787A (zh) 具有外部采样体积和环境光抑制的烟雾探测器
JP2013171364A (ja) 光学式火災警報装置
JP2010238095A (ja) 光電式煙感知器
JP2006136276A (ja) 捕虫装置
JP5117820B2 (ja) 光電式煙感知器
JP5046552B2 (ja) 光電式煙感知器
JP2010277139A (ja) 煙検知器
JP5038112B2 (ja) 光電式煙感知器
JP2010086378A (ja) 光電式煙感知器
JP5534696B2 (ja) 光電式煙感知器
JP5237004B2 (ja) 光電式煙感知器
JP5133157B2 (ja) 光電式煙感知器
JP5426929B2 (ja) 光電式煙検知器
KR20150107130A (ko) 화재 감지기
JP5097597B2 (ja) 火災警報器
JP5041866B2 (ja) 火災警報器
JP5379369B2 (ja) 光電式煙感知器
JP4999812B2 (ja) 火災警報器
JP2009245260A (ja) 火災警報器
TWI338870B (en) Scattering light smoke detector
JP2524653B2 (ja) 煙感知器
JP2011210212A (ja) 煙感知器の防虫網及び光電式煙感知器

Legal Events

Date Code Title Description
A621 Written request for application examination

Free format text: JAPANESE INTERMEDIATE CODE: A621

Effective date: 20110301

A977 Report on retrieval

Free format text: JAPANESE INTERMEDIATE CODE: A971007

Effective date: 20120627

A131 Notification of reasons for refusal

Free format text: JAPANESE INTERMEDIATE CODE: A131

Effective date: 20120705

A131 Notification of reasons for refusal

Free format text: JAPANESE INTERMEDIATE CODE: A131

Effective date: 20130328

A521 Request for written amendment filed

Free format text: JAPANESE INTERMEDIATE CODE: A523

Effective date: 20130527

TRDD Decision of grant or rejection written
A01 Written decision to grant a patent or to grant a registration (utility model)

Free format text: JAPANESE INTERMEDIATE CODE: A01

Effective date: 20131114

A61 First payment of annual fees (during grant procedure)

Free format text: JAPANESE INTERMEDIATE CODE: A61

Effective date: 20131213

R150 Certificate of patent or registration of utility model

Ref document number: 5438294

Country of ref document: JP

Free format text: JAPANESE INTERMEDIATE CODE: R150

Free format text: JAPANESE INTERMEDIATE CODE: R150

R250 Receipt of annual fees

Free format text: JAPANESE INTERMEDIATE CODE: R250

R250 Receipt of annual fees

Free format text: JAPANESE INTERMEDIATE CODE: R250

R250 Receipt of annual fees

Free format text: JAPANESE INTERMEDIATE CODE: R250

R250 Receipt of annual fees

Free format text: JAPANESE INTERMEDIATE CODE: R250

R250 Receipt of annual fees

Free format text: JAPANESE INTERMEDIATE CODE: R250

LAPS Cancellation because of no payment of annual fees