JP2010072037A - フルカラー電子写真用トナーとこれを用いたトナーキット、フルカラー画像形成方法、フルカラー画像形成装置およびプロセスカートリッジ - Google Patents
フルカラー電子写真用トナーとこれを用いたトナーキット、フルカラー画像形成方法、フルカラー画像形成装置およびプロセスカートリッジ Download PDFInfo
- Publication number
- JP2010072037A JP2010072037A JP2008236154A JP2008236154A JP2010072037A JP 2010072037 A JP2010072037 A JP 2010072037A JP 2008236154 A JP2008236154 A JP 2008236154A JP 2008236154 A JP2008236154 A JP 2008236154A JP 2010072037 A JP2010072037 A JP 2010072037A
- Authority
- JP
- Japan
- Prior art keywords
- toner
- full
- avr
- wax
- avw
- Prior art date
- Legal status (The legal status is an assumption and is not a legal conclusion. Google has not performed a legal analysis and makes no representation as to the accuracy of the status listed.)
- Granted
Links
Images
Landscapes
- Developing Agents For Electrophotography (AREA)
Abstract
【解決手段】少なくとも、主成分がポリエステル樹脂である結着樹脂と、チアカリックスアレーン化合物を含む帯電制御剤と、90℃における粘度が5センチポアズ以上50センチポアズ以下であるワックス(離型剤)とを含むとともに、前記結着樹脂の酸価(AVr)とワックスの酸価(AVw)との差の絶対値|AVr−AVw|が、5≦|AVr−AVw|≦12を満たす組成分のフルカラー電子写真用トナーとする。このトナーを用いた、トナーキット、フルカラー画像形成方法および画像形成装置ならびにプロセスカートリッジとする。
【選択図】図1
Description
フルカラー電子写真用トナーの電荷制御剤としては、色再現性に影響を与えないよう白色の電荷制御剤が用いられる。白色の帯電制御剤としては、例えば、特許文献1、特許文献2および特許文献3に記載のアルキルサリチル酸やオキシナフトエ酸の金属錯体が使用される。しかしながら、これらサリチル酸金属塩は、バインダー樹脂(結着樹脂)に対する分散性が困難であり、さらに錯体に用いられるクロムや亜鉛等の金属は廃棄物規制に関して問題があることから必ずしも安全であるとは言えない。
しかし、この帯電制御剤は帯電立ち上がり性が悪く、また表面に露出する帯電制御剤がトナーの流動性を著しく悪化させるため、粉砕や分級工程での収率が低下したり、二成分現像剤でのトナーの混ざり込みや、一成分現像でのブレード固着などの不具合が生じる。
前記結着樹脂の主成分がポリエステル樹脂であり、前記帯電制御剤としてチアカリックスアレーン化合物を含み、前記離型剤がワックスでその90℃における粘度が5センチポアズ以上50センチポアズ以下であり、かつ前記結着樹脂の酸価(AVr)とワックスの酸価(AVw)との差の絶対値|AVr−AVw|が、5≦|AVr−AVw|≦12を満たすことを特徴とするフルカラー電子写真用トナーにより解決される。
前記現像手段により静電潜像に付着されるトナーが、少なくとも主成分がポリエステル樹脂である結着樹脂、着色剤、90℃における粘度が5センチポアズ以上50センチポアズ以下であるワックスおよびチアカリックスアレーン化合物を含む帯電制御剤を含有し、前記結着樹脂の酸価(AVr)とワックスの酸価(AVw)との差の絶対値|AVr−AVw|が、5≦|AVr−AVw|≦12を満たすものであることを特徴とするフルカラー画像形成方法により解決される。
前記現像手段により静電潜像に付着されるトナーが、少なくとも主成分がポリエステル樹脂である結着樹脂、着色剤、90℃における粘度が5センチポアズ以上50センチポアズ以下であるワックスおよびチアカリックスアレーン化合物を含む帯電制御剤を含有し、前記結着樹脂の酸価(AVr)とワックスの酸価(AVw)との差の絶対値|AVr−AVw|が、5≦|AVr−AVw|≦12を満たすものであることを特徴とするフルカラー画像形成装置により解決される。
前記複数の現像部に充填されるトナーが、少なくとも主成分がポリエステル樹脂である結着樹脂、着色剤、90℃における粘度が5センチポアズ以上50センチポアズ以下であるワックスおよびチアカリックスアレーン化合物を含む帯電制御剤を含有し、前記結着樹脂の酸価(AVr)とワックスの酸価(AVw)との差の絶対値|AVr−AVw|が、5≦|AVr−AVw|≦12を満たすものであることを特徴とするタンデム方式のフルカラー画像形成装置により解決される。
前記複数の現像部に充填されるトナーが、少なくとも主成分がポリエステル樹脂である結着樹脂、着色剤、90℃における粘度が5センチポアズ以上50センチポアズ以下であるワックスおよびチアカリックスアレーン化合物を含む帯電制御剤を含有し、前記結着樹脂の酸価(AVr)とワックスの酸価(AVw)との差の絶対値|AVr−AVw|が、5≦|AVr−AVw|≦12を満たすものであることを特徴とするフルカラー画像形成装置用プロセスカートリッジにより解決される。
本発明のトナーキットによれば、カラー画像形成用トナーが複数色配備されて一体構成とされるので、機械の整備が簡単に行える利点がある。
本発明のフルカラー画像形成方法およびフルカラー画像形成装置によれば、帯電の立ち上がり性、環境安定性、帯電性、透明性の優れたフルカラー電子写真用トナーを使用するので、プロセス線速が高速でも異常画像の発生がなく安定した画像を出力することができる。タンデム方式のフルカラー画像形成装置とすれば、さらに高速で高画質の画像出力ができる。本発明のフルカラー画像形成方法およびフルカラー画像形成装置を用いれば、電子写真法を用いた電子写真応用分野(例えば、静電式複写機やレーザービームプリンタ等)に広く適用することができる。
本発明のフルカラー画像形成装置用プロセスカートリッジによれば、各プロセス手段が一体となり、相対的な位置精度が高い構成とされ、現像手段から本発明のフルカラー電子写真用トナーが供給されるため、プロセス線速が高速でも異常画像の発生がなく安定した画像を出力することができる。また、保存、搬送等が容易であり、交換を短時間に行うことができるなど取扱性にも優れている。
前記結着樹脂の主成分がポリエステル樹脂であり、前記帯電制御剤としてチアカリックスアレーン化合物を含み、前記離型剤がワックスでその90℃における粘度が5センチポアズ以上50センチポアズ以下であり、かつ前記結着樹脂の酸価(AVr)とワックスの酸価(AVw)との差の絶対値|AVr−AVw|が、5≦|AVr−AVw|≦12を満たすことを特徴とするものである。
本発明のフルカラー電子写真用トナー(以降、「トナー」と略称することがある。)において、帯電制御剤としてチアカリックスアレーン化合物(以降、「チアカリックスアレーン」と略称することがある。)を用いるのは、チアカリックスアレーンは白色であるためにカラートナーへの色の影響も無く、帯電性に優れることから結着樹脂の酸価を比較的低くしたものが使用でき、環境安定性にも優れたトナーを得ることができる。また、結着樹脂として、ポリエステル樹脂を用いるのは、ポリエステル樹脂の酸価を比較的容易に制御することが可能であり、また透明性が高くフルカラートナー用の結着樹脂として優れているためである。
一方、|AVr−AVw|が12より大きいとワックスの分散性は向上するが、ここで、ワックスと帯電制御剤、特にチアカリックスアレーン化合物のスルホン基の部分が電気的に吸引し、ワックスの分散性向上と共に、帯電制御剤の分散性も向上する。この帯電制御剤の分散性が向上することにより、トナー表面に露出する帯電制御剤量は低下するため、電荷を授受する所謂帯電サイトが低下するため、帯電立ち上がり性は低下する。
また、ワックスの90℃での粘度が5センチポアズを下回ると、ワックスの粘度が低いほどトナー表面にブリードしやすいため、ワックス成分によってトナー表面が汚染されてしまい、帯電性が低下することになる。一方、ワックスの90℃での粘度が50センチポアズを超えると、ワックス成分がトナー表面に全く出てこなくなるため、ワックス成分によるトナー表面滑性が低下し摩擦帯電しにくくなる。
[結着樹脂]
本発明において、用いられる結着樹脂の主成分はポリエステル樹脂である。ポリエステル樹脂は、酸価の好ましい樹脂を容易に選択することができる。また、熱特性の制御の観点からも、フルカラー用として好ましく用いられている。なお、本発明のトナー特性に影響しない範囲で特に制約されない他の公知の樹脂成分を併用しても構わない。
上記ポリエステル系樹脂としては、具体的に、下記の多価アルコールと多価カルボン酸成分とから合成することができる。
また、ポリマーをテトラヒドロフラン不溶分が発生しない程度に非線状化するために3価以上の多価アルコールを使用することができる。3価以上のアルコール成分としては、グリセリン、ソルビトール、1,2,3,6−へキサンテトラオール、1,4−ソルビタン、ペンタエリスリトール、1,2,4−ブタントリオール、1,2,5−ペンタントリオール、2−メチルプロパントリオール、2−メチル−1,2,4−ブタントリオール、トリメチロールエタン、トリメチロールプロパン、1,3,5−トリヒドロキシメチルベンゼン等が挙げられる。
前述のように、本発明に用いられる結着樹脂の酸価は、帯電性や添加剤の分散性の観点から5mgKOH/g以上35mgKOH/g以下であることが好ましい。
トナーの着色剤としては顔料が好ましく、このような顔料としては、イエロー、マゼンタ、シアンおよびブラックの各色について、公知のものを種々用いることができる。
〔イエロートナーの着色剤〕
イエロートナーの着色剤としては、例えば、カラーインデックスにより分類ささるC.I.ピグメントイエロー1、C.I.ピグメントイエロー5、C.I.ピグメントイエロー12、C.I.ピグメントイエロー15若しくはC.I.ピグメントイエロー17等のアゾ系顔料、又は、黄色酸化鉄若しくは黄土等の無機系顔料を用いることができる。また、染料としては、例えば、C.I.アジットイエロー1等のニトロ系染料、又は、C.I.ソルベントイエロー2、C.I.ソルベントイエロー6、C.I.ソルベントイエロー14、C.I.ソルベントイエロー15、C.I.ソルベントイエロー19若しくはC.I.ソルベントイエロー21等の油溶性染料を用いることができる。特に、C.I.ピグメントイエロー17等のベンジジン系顔料が色味の点から好ましい。
〔マゼンタトナーの着色剤〕
マゼンタトナーの着色剤としては、例えば、C.I.ピグメントレッド49、C.I.ピグメントレッド57、C.I.ピグメントレッド81、C.I.ピグメントレッド122、C.I.ソルベントレッド19、C.I.ソルベントレッド49、C.I.ソルベントレッド52、C.I.ベーシックレッド10又はC.I.ディスパーズレッド15等を用いることができ、特に、C.I.ピグメントレッド122等のキナクリドン系顔料が色味の点から好ましい。
〔シアントナーの着色剤〕
シアントナーの着色剤としては、C.I.ピグメントブルー15、C.I.ピグメントブルー16、C.I.ソルベントブルー55、C.I.ソルベントブルー70、C.I.ダイレクトブルー25又はC.I.ダイレクトブルー86等を用いることができ、特に、C.I.ピグメントブルー15等の銅フタロシアニン顔料が色味の点から好ましい。
〔ブラックトナーの着色剤〕
ブラックトナーの着色剤としては、カーボンブラックが好適である。カーボンブラックとしては、チャンネルブラック、ロースブラック、ディスクブラック、ガスファーネスブラック、オイルファーネスブラック、アセチレンブラックなどの、従来公知の様々なカーボンブラックの中から、適宜選択すればよい。
また、帯電制御剤の分散性を補助することを目的として、前記結着樹脂の酸価(AVr)とワックスの酸価(AVw)との差の絶対値|AVr−AVw|が、5≦|AVr−AVw|≦12を満たすことも必須である。
チアカリックスアレーン化合物(チアカリックスアレーン)は、公知のように環状フェノール硫化物からなる構造を有するものであり、例えば、小分子を包接することができるためホスト分子として近年注目されている。前述のように特開2003−295522号公報に電荷制御剤として用いたトナーについて記載されているが、ワックスを添加することが必須であるトナーにおいては、帯電性が変化するという課題があった。
本発明に用いるチアカリックスアレーン化合物は、前記本発明のトナー構成とした際に、帯電の立ち上がり特性と帯電性を両立し、併せて環境安定性や透明性が阻害されないものであれば構造式などの制約はない。なお一般には、置換または無置換のフェノール核が硫黄原子を介して(例えば、2,6位)、数個(例えば、4,6,8個)環状に結合したものが有用とされる。チアカリックスアレーン化合物に関しては、諸橋直弥ら、「新規ホスト分子チアカリックスアレーン」、有機合成化学協会誌、6月号、550、2002/01/01に記載されているほか、多くの文献等において紹介されているものが挙げられ、本発明の前記諸特性を満たすものであれば、特に制約は無く適宜構造を選択して使用することができ、例えば、特開2003−295522号公報の一般式[1]に記載の環状フェノール硫化物が使用できる。
本発明のトナーの製造方法は粉砕法、重合法に限定されるものではない。ここで粉砕法によるトナー製造方法について説明する。
粉砕法による製造方法は原料を混合、溶融混練、冷却、粗砕、粉砕、分級および外添の各工程からなる。また、顔料や帯電制御剤の分散性を向上させるためマスターバッチの工程を有してもよい。原料混合工程では、一括で混ぜてもよいが、帯電制御剤の分散性を向上させるため例えばワックスと同時に先に混合した後、その他の原料を投入し混合することができる。
また、トナーの流動性や保存性、現像性、転写性、耐久性を高めるために、前記トナー(トナー母体粒子)に外添剤を添加してもよい。外添剤としては、酸化物微粒子、疎水性シリカ微粉末等の無機微粒子や、高分子系の樹脂微粒子を添加混合してもよい。無機微粒子としては、例えば、脂肪酸金属塩、ステアリン酸亜鉛、ステアリン酸カルシウム、ステアリン酸鉛、酸化亜鉛粉末、酸化アルミ粉末、酸化チタン粉末または微粉末シリカ等を用いることができる。また、樹脂微粒子としては、例えば、メラミン系樹脂を用いることができる。
〈キャリア〉
キャリアとしては、特に制限はなく、目的に応じて適宜選択することができるが、芯材と、該芯材を被覆する樹脂層とを有するものが好ましい。
前記芯材の材料としては、特に制限はなく、公知のものの中から適宜選択することができ、例えば、鉄粉キャリア、マンガンフェライトキャリア、マンガン-マグネタイトキャリア、銅-亜鉛キャリアなどと混合して用いられる。これらは、1種単独で使用してもよいし、2種以上を併用してもよい。
本発明のフルカラー電子写真用トナーを色ごとに収容した容器を複数色配備し、トナーキットとして用いることができる。複数色配備するトナーの色としては、それぞれ、イエロー、シアン、マゼンタ、ブラックの4色であるものが基本である。このようなキットとすれば、機械の整備が簡単に行える利点がある。
本発明のフルカラー画像形成方法は、少なくとも静電潜像担持体表面を帯電手段により帯電させる工程と、該静電潜像担持体表面に露光手段により静電潜像を形成する工程と、該静電潜像に現像手段によりトナーを付着させてトナー像として現像する工程と、該現像されたトナー像を転写手段により記録媒体に転写する工程と、該転写されたトナー像を定着手段により定着する工程とを備えており、前記現像手段により静電潜像に付着されるトナーが、少なくとも主成分がポリエステル樹脂である結着樹脂、顔料、90℃における粘度が5センチポアズ以上50センチポアズ以下であるワックスおよびチアカリックスアレーン化合物を含む帯電制御剤を含有し、前記結着樹脂の酸価(AVr)とワックスの酸価(AVw)との差の絶対値|AVr−AVw|が、5≦|AVr−AVw|≦12を満たすものであることを特徴とするものである。
また、本発明のフルカラー画像形成装置は、静電潜像担持体と、この静電潜像担持体の表面を一様に帯電する帯電手段と、一様帯電された静電潜像担持体表面に像露光を行い静電潜像を形成する露光手段と、形成された静電潜像にトナーを付着させて現像する現像手段と、現像されたトナー像を記録媒体に転写させる転写手段とを少なくとも具備してなる画像形成要素を複数配列しており、前記現像手段により静電潜像に付着されるトナーが、少なくとも主成分がポリエステル樹脂である結着樹脂、顔料、90℃における粘度が5センチポアズ以上50センチポアズ以下であるワックスおよびチアカリックスアレーン化合物を含む帯電制御剤を含有し、前記結着樹脂の酸価(AVr)とワックスの酸価(AVw)との差の絶対値|AVr−AVw|が、5≦|AVr−AVw|≦12を満たすものであることを特徴とするものである。
下記に本発明のタンデム方式のフルカラー画像形成装置を例に挙げ、図を参照して説明する。
上記のタンデム方式による画像形成装置は、複数のトナー像を一度に転写できるため高速フルカラー印刷が実現される。
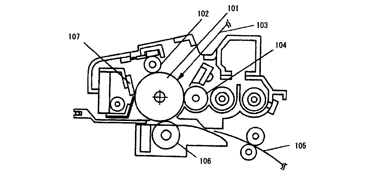
プロセスカートリッジとは、静電潜像担持体(感光体)を内蔵し、他に帯電手段、露光手段、現像手段、転写手段、クリーニング手段、除電手段から選ばれた手段を含んだ1つの装置(部品)である。プロセスカートリッジの形状等は多く挙げられるが、一般的な例として、図2に示すものが挙げられる。
ここで、上記プロセスカートリッジは、感光体(101)を内蔵し、帯電手段(102)、露光手段(103)、現像手段(104)、クリーニング手段(107)を含み、さらに必要に応じてその他の手段を有してなる。図中、105は記録媒体(転写体)、106は転写手段である。
本発明のフルカラー画像形成装置用プロセスカートリッジは、現像手段から本発明のフルカラー電子写真用トナーが供給されるため、高速の画像形成においても異常画像の発生がなく安定した画像を出力することができる。また、保存、搬送等が容易で取扱性にも優れている。
以下の材料を準備し、下記製造方法により実施例1〜16および比較例1〜6の評価用トナーを作製した。
結着樹脂:下記表1に記載の酸価を有するポリエステル樹脂(略「ポリエステル」)、およびスチレン・アクリル樹脂(略「スチレンアクリル」)
顔料:シアン顔料(C.I. PigmentBlue15)〔実施例1〜16、比較例1〜6、共通〕
離型剤:下記表1に記載の酸価、粘度を有する酸化パラフィンワックス(添加量併記)
帯電制御剤:下記表1に記載のチアカリックスアレーン化合物(略「チアカリックスアレーン」)(添加量併記)、および有機ベントナイト塩
〔評価用トナーの製造方法〕
石油の減圧蒸留留出分を分離精製した後、酸化処理して下記表1に示す酸化パラフィンワックスを得た。
一方、下記表1に示す結着樹脂100重量部、帯電制御剤、ワックスおよびシアン顔料(C.I. PigmentBlue15)4重量部とを表1の配合比にてヘンシェルミキサで混合し、オープンロール混練機で混練した。さらに、粉砕、分級を行い体積平均粒径7.2μmのシアントナーを得た。得られたシアントナー100重量部と、一次粒子径(体積平均粒径)が12nmのシリカ1.2重量部とを外添混合し、評価用トナーとした。
〔評価方法〕
以下に本発明に用いた評価方法について記載する。
<飽和帯電量および帯電立ち上がり特性>
上記製造した評価用トナー4gと平均粒子径(体積平均粒径)50μmのフェライトキャリア96gとを100ccの軟膏瓶に入れ、温度20℃/相対湿度50%の環境下で、ロール径40mmのロールミル上で混合撹拌した。所定の時間撹拌したものをサンプリングし、帯電量をブローオフ式帯電量測定装置にて測定した。
なお、サンプリングは、混合撹拌時間が30秒、1分、2分、5分、7分、15分、1時間で行った。
ここで、帯電量の上昇が5%以下となったときの帯電量を飽和帯電量とし;
25μC/g以上30μC/g未満を◎、
20μC/g以上25μC/g未満もしくは、30μC/g以上35μC/g未満を○、
15μC/g以上20μC/g未満もしくは、35μC/g以上40μC/g未満を△、
15μC/g以下もしくは、40μC/g以上を×、
とした。
また、飽和帯電量まで達する時間を帯電立ち上がり時間〔分〕とし;
1分以内を○、2分を△、5分以上を×とした。
実施例1〜16および比較例1〜6の評価用トナーと平均粒子径(体積平均粒径)50μmのフェライトキャリアをトナー濃度4%で混合し、評価用現像剤とした。各現像剤を(株)リコー社製複写機(Imagio Neo C355)にて、OHPシート上にトナー付着量が0.4±0.1(mg/cm2)となるように現像し、未定着の画像として取り出した。この画像サンプルを(株)リコー社製複写機(Imagio Neo C355)の定着ユニットを外部駆動可能なように改造し、線速280mm/s、180℃で定着して評価用サンプルとした。
定着した各評価用サンプルをヘイズメーター(スガ試験機社製)にてヘイズ度を測定し;
10未満を◎、10以上20未満を○、20以上30未満を△、30以上を×とした。
上記評価結果によると、比較例1では帯電制御剤として有機ベントナイト塩を用いたため、帯電立ち上がりが悪く、飽和帯電量が低く透明性の低いトナーが得られた。また、比較例2のトナーは、結着樹脂とワックスの酸価の差が小さすぎるためにワックスの分散性が悪く、ワックスが帯電を阻害して飽和帯電量が低い結果となった。比較例3は、結着樹脂とワックスの酸価の差が大きすぎるために帯電制御剤の分散性が悪く、飽和帯電までの時間が5分と立ち上がりの悪いトナーが得られた。比較例4のトナーは、ワックスの粘度が高すぎてワックスのブリード性が悪く、表面に露出する帯電制御剤が少ないために帯電立ち上がり性の悪い結果が得られた。比較例5は、ワックスの粘度が低すぎるためにワックスが帯電を阻害し、飽和帯電量が低いトナーとなった。比較例6のトナーは、結着樹脂としてスチレン・アクリル樹脂を用いたため、帯電性、透明性ともに悪い結果となった。
一方、本発明の実施例1〜16のトナーは、結着樹脂としてポリエステルを用い、帯電制御剤としてチアカリックスアレーンを用い、結着樹脂とワックスの酸価の差およびワックスの粘度が所定の範囲にあるため、良好な帯電性を有し、帯電立ち上がりが早く、透明性の高いトナーが得られた。
2C、2M、2Y、2K 帯電部材
3C、3M、3Y、3K レーザー光
4C、4M、4Y、4K 現像部材
5C、5M、5Y、5K クリーニング部材
6C、6M、6Y、6K 画像形成要素
7 転写紙
8 給紙コロ
9 レジストラー
10 転写搬送ベルト
11C、11M、11Y、11K 転写ブラシ
12 定着装置
101 感光体
102 接触帯電装置
103 像露光
104 現像装置
105 転写体
106 接触転写装置
107 クリーニングユニット
Claims (10)
- 少なくとも結着樹脂、着色剤、離型剤および帯電制御剤からなるフルカラー電子写真用トナーにおいて、
前記結着樹脂の主成分がポリエステル樹脂であり、前記帯電制御剤としてチアカリックスアレーン化合物を含み、前記離型剤がワックスでその90℃における粘度が5センチポアズ以上50センチポアズ以下であり、かつ前記結着樹脂の酸価(AVr)とワックスの酸価(AVw)との差の絶対値|AVr−AVw|が、5≦|AVr−AVw|≦12を満たすことを特徴とするフルカラー電子写真用トナー。 - 前記結着樹脂の酸価(AVr)が、5mgKOH/g以上35mgKOH/g以下であることを特徴とする請求項1に記載のフルカラー電子写真用トナー。
- 前記帯電制御剤の含有量が、前記結着樹脂100重量部に対して0.5〜5重量部であることを特徴とする請求項1または2に記載のフルカラー電子写真用トナー。
- 前記ワックスの含有量が、前記結着樹脂100重量部に対して1〜7重量部であることを特徴とする請求項1乃至3のいずれかに記載のフルカラー電子写真用トナー。
- 請求項1乃至4のいずれかに記載のフルカラー電子写真用トナーを色ごとに収容した容器が複数色配備されてなることを特徴とするトナーキット。
- 前記フルカラー電子写真用トナーの色がそれぞれ、イエロー、シアン、マゼンタ、ブラックの4色であることを特徴とする請求項5に記載のトナーキット。
- 少なくとも静電潜像担持体表面を帯電手段により帯電させる工程と、該静電潜像担持体表面に露光手段により静電潜像を形成する工程と、該静電潜像に現像手段によりトナーを付着させてトナー像として現像する工程と、該現像されたトナー像を転写手段により記録媒体に転写する工程と、該転写されたトナー像を定着手段により定着する工程とを備えたフルカラー画像形成方法であって、
前記現像手段により静電潜像に付着されるトナーが、少なくとも主成分がポリエステル樹脂である結着樹脂、着色剤、90℃における粘度が5センチポアズ以上50センチポアズ以下であるワックスおよびチアカリックスアレーン化合物を含む帯電制御剤を含有し、前記結着樹脂の酸価(AVr)とワックスの酸価(AVw)との差の絶対値|AVr−AVw|が、5≦|AVr−AVw|≦12を満たすものであることを特徴とするフルカラー画像形成方法。 - 静電潜像担持体と、この静電潜像担持体の表面を一様に帯電する帯電手段と、一様帯電された静電潜像担持体表面に像露光を行い静電潜像を形成する露光手段と、形成された静電潜像にトナーを付着させて現像する現像手段と、現像されたトナー像を記録媒体に転写させる転写手段とを少なくとも具備してなる画像形成要素を複数配列したフルカラー画像形成装置であって、
前記現像手段により静電潜像に付着されるトナーが、少なくとも主成分がポリエステル樹脂である結着樹脂、着色剤、90℃における粘度が5センチポアズ以上50センチポアズ以下であるワックスおよびチアカリックスアレーン化合物を含む帯電制御剤を含有し、前記結着樹脂の酸価(AVr)とワックスの酸価(AVw)との差の絶対値|AVr−AVw|が、5≦|AVr−AVw|≦12を満たすものであることを特徴とするフルカラー画像形成装置。 - 少なくとも静電潜像担持体と、帯電手段、露光手段、現像手段、転写手段を有し、該現像手段が異なる色のトナーによって充填された複数の現像部を備え、該複数の現像部に対応した複数の感光体を具備したタンデム方式のフルカラー画像形成装置であって、
前記複数の現像部に充填されるトナーが、少なくとも主成分がポリエステル樹脂である結着樹脂、着色剤、90℃における粘度が5センチポアズ以上50センチポアズ以下であるワックスおよびチアカリックスアレーン化合物を含む帯電制御剤を含有し、前記結着樹脂の酸価(AVr)とワックスの酸価(AVw)との差の絶対値|AVr−AVw|が、5≦|AVr−AVw|≦12を満たすものであることを特徴とするタンデム方式のフルカラー画像形成装置。 - 静電潜像担持体と、少なくとも、該静電潜像担持体表面を帯電させる帯電手段と、該帯電された静電潜像担持体表面を露光して静電潜像を形成する露光手段と、該静電潜像にトナーを付着させて現像しトナー像を形成する現像手段と、該トナー像を記録媒体に転写する転写手段からなる群から選ばれた手段を有する画像形成装置本体に着脱可能とされたフルカラー画像形成装置用プロセスカートリッジにおいて、
前記複数の現像部に充填されるトナーが、少なくとも主成分がポリエステル樹脂である結着樹脂、着色剤、90℃における粘度が5センチポアズ以上50センチポアズ以下であるワックスおよびチアカリックスアレーン化合物を含む帯電制御剤を含有し、前記結着樹脂の酸価(AVr)とワックスの酸価(AVw)との差の絶対値|AVr−AVw|が、5≦|AVr−AVw|≦12を満たすものであることを特徴とするフルカラー画像形成装置用プロセスカートリッジ。
Priority Applications (1)
| Application Number | Priority Date | Filing Date | Title |
|---|---|---|---|
| JP2008236154A JP5380964B2 (ja) | 2008-09-16 | 2008-09-16 | フルカラー電子写真用トナーとこれを用いたトナーキット、フルカラー画像形成方法、フルカラー画像形成装置およびプロセスカートリッジ |
Applications Claiming Priority (1)
| Application Number | Priority Date | Filing Date | Title |
|---|---|---|---|
| JP2008236154A JP5380964B2 (ja) | 2008-09-16 | 2008-09-16 | フルカラー電子写真用トナーとこれを用いたトナーキット、フルカラー画像形成方法、フルカラー画像形成装置およびプロセスカートリッジ |
Publications (2)
| Publication Number | Publication Date |
|---|---|
| JP2010072037A true JP2010072037A (ja) | 2010-04-02 |
| JP5380964B2 JP5380964B2 (ja) | 2014-01-08 |
Family
ID=42203925
Family Applications (1)
| Application Number | Title | Priority Date | Filing Date |
|---|---|---|---|
| JP2008236154A Expired - Fee Related JP5380964B2 (ja) | 2008-09-16 | 2008-09-16 | フルカラー電子写真用トナーとこれを用いたトナーキット、フルカラー画像形成方法、フルカラー画像形成装置およびプロセスカートリッジ |
Country Status (1)
| Country | Link |
|---|---|
| JP (1) | JP5380964B2 (ja) |
Cited By (2)
| Publication number | Priority date | Publication date | Assignee | Title |
|---|---|---|---|---|
| JP2013097008A (ja) * | 2011-10-28 | 2013-05-20 | Oki Data Corp | 現像剤特性規定方法、現像剤、及び画像形成装置 |
| US8592113B2 (en) | 2009-10-08 | 2013-11-26 | Ricoh Company, Limited | Toner, method of manufacturing toner, developer, and image forming method |
Citations (7)
| Publication number | Priority date | Publication date | Assignee | Title |
|---|---|---|---|---|
| JP2000235280A (ja) * | 1999-02-16 | 2000-08-29 | Mitsubishi Chemicals Corp | 非磁性1成分系フルカラートナー |
| JP2003295522A (ja) * | 2002-04-02 | 2003-10-15 | Toda Kogyo Corp | 荷電制御剤及び静電荷現像用トナー |
| JP2005115352A (ja) * | 2003-09-18 | 2005-04-28 | Ricoh Co Ltd | カラー画像形成用トナー及びトナーキット |
| JP2005227687A (ja) * | 2004-02-16 | 2005-08-25 | Sharp Corp | 電子写真負帯電フルカラー用トナー |
| JP2007178551A (ja) * | 2005-12-27 | 2007-07-12 | Ricoh Co Ltd | トナーキット、並びに現像剤、プロセスカートリッジ、画像形成方法、及び画像形成装置 |
| WO2007111346A1 (ja) * | 2006-03-29 | 2007-10-04 | Hodogaya Chemical Co., Ltd. | 混合環状フェノール硫化物、それを用いた電荷制御剤及びトナー |
| WO2007119797A1 (ja) * | 2006-04-13 | 2007-10-25 | Hodogaya Chemical Co., Ltd. | 酸化型混合環状フェノール硫化物、それを用いた電荷制御剤及びトナー |
-
2008
- 2008-09-16 JP JP2008236154A patent/JP5380964B2/ja not_active Expired - Fee Related
Patent Citations (7)
| Publication number | Priority date | Publication date | Assignee | Title |
|---|---|---|---|---|
| JP2000235280A (ja) * | 1999-02-16 | 2000-08-29 | Mitsubishi Chemicals Corp | 非磁性1成分系フルカラートナー |
| JP2003295522A (ja) * | 2002-04-02 | 2003-10-15 | Toda Kogyo Corp | 荷電制御剤及び静電荷現像用トナー |
| JP2005115352A (ja) * | 2003-09-18 | 2005-04-28 | Ricoh Co Ltd | カラー画像形成用トナー及びトナーキット |
| JP2005227687A (ja) * | 2004-02-16 | 2005-08-25 | Sharp Corp | 電子写真負帯電フルカラー用トナー |
| JP2007178551A (ja) * | 2005-12-27 | 2007-07-12 | Ricoh Co Ltd | トナーキット、並びに現像剤、プロセスカートリッジ、画像形成方法、及び画像形成装置 |
| WO2007111346A1 (ja) * | 2006-03-29 | 2007-10-04 | Hodogaya Chemical Co., Ltd. | 混合環状フェノール硫化物、それを用いた電荷制御剤及びトナー |
| WO2007119797A1 (ja) * | 2006-04-13 | 2007-10-25 | Hodogaya Chemical Co., Ltd. | 酸化型混合環状フェノール硫化物、それを用いた電荷制御剤及びトナー |
Cited By (2)
| Publication number | Priority date | Publication date | Assignee | Title |
|---|---|---|---|---|
| US8592113B2 (en) | 2009-10-08 | 2013-11-26 | Ricoh Company, Limited | Toner, method of manufacturing toner, developer, and image forming method |
| JP2013097008A (ja) * | 2011-10-28 | 2013-05-20 | Oki Data Corp | 現像剤特性規定方法、現像剤、及び画像形成装置 |
Also Published As
| Publication number | Publication date |
|---|---|
| JP5380964B2 (ja) | 2014-01-08 |
Similar Documents
| Publication | Publication Date | Title |
|---|---|---|
| JP6315243B2 (ja) | 白色トナー、並びに該白色トナーを用いた画像形成方法および画像形成装置 | |
| JP5892089B2 (ja) | 電子写真画像形成用トナー、画像形成方法、画像形成装置及びプロセスカートリッジ | |
| JP6160133B2 (ja) | 電子写真画像形成用トナー、画像形成方法及びプロセスカートリッジ | |
| JP5753923B2 (ja) | 現像剤 | |
| JP4353424B2 (ja) | 静電荷像現像用マゼンタトナー及びトナーカートリッジ並びにプロセスカートリッジ | |
| JP5861537B2 (ja) | 画像形成方法及び画像形成装置 | |
| JP2014074882A (ja) | トナー、画像形成装置、画像形成方法、及びプロセスカートリッジ | |
| JP6545538B2 (ja) | トナー、トナーカートリッジ及び画像形成装置 | |
| JP2018060169A (ja) | トナーセット、画像形成方法、及び画像形成装置 | |
| JP6080003B2 (ja) | 電子写真画像形成用トナー、画像形成方法及びプロセスカートリッジ | |
| JP5380964B2 (ja) | フルカラー電子写真用トナーとこれを用いたトナーキット、フルカラー画像形成方法、フルカラー画像形成装置およびプロセスカートリッジ | |
| JP7423470B2 (ja) | トナー、トナーカートリッジ、画像形成装置 | |
| JP5162543B2 (ja) | トナーセット、現像剤セット及び画像形成装置 | |
| CN113168125B (zh) | 印刷品,含红外线吸收颜料调色剂,调色剂组,图像形成方法及图像形成装置 | |
| EP3432074A1 (en) | Toner, toner-housing unit, and image-forming apparatus | |
| JP2010060824A (ja) | 電子写真用トナー及びその製造方法、二成分現像剤、画像形成方法、画像形成装置、プロセスカートリッジ | |
| JP3908389B2 (ja) | フルカラー用非磁性一成分現像剤及び電子写真画像形成方法 | |
| JP3385786B2 (ja) | フルカラー用非磁性一成分トナー | |
| JP5861538B2 (ja) | 画像形成方法及び画像形成装置 | |
| JP3385785B2 (ja) | フルカラー用非磁性一成分トナー | |
| JP3365134B2 (ja) | フルカラー用非磁性一成分トナー及び画像形成方法 | |
| JP2015022250A (ja) | 画像形成装置 | |
| JP2003029455A (ja) | 非磁性一成分現像用トナー及び該トナーを用いた画像形成方法 | |
| JP2006030685A (ja) | オイルレスカラートナー画像形成装置及び形成方法 | |
| JP2006309268A (ja) | 電子写真用フルカラートナー及び電子写真画像形成方法 |
Legal Events
| Date | Code | Title | Description |
|---|---|---|---|
| A621 | Written request for application examination |
Free format text: JAPANESE INTERMEDIATE CODE: A621 Effective date: 20110805 |
|
| A977 | Report on retrieval |
Free format text: JAPANESE INTERMEDIATE CODE: A971007 Effective date: 20121129 |
|
| A131 | Notification of reasons for refusal |
Free format text: JAPANESE INTERMEDIATE CODE: A131 Effective date: 20121211 |
|
| A521 | Written amendment |
Free format text: JAPANESE INTERMEDIATE CODE: A523 Effective date: 20130205 |
|
| A131 | Notification of reasons for refusal |
Free format text: JAPANESE INTERMEDIATE CODE: A131 Effective date: 20130702 |
|
| TRDD | Decision of grant or rejection written | ||
| A01 | Written decision to grant a patent or to grant a registration (utility model) |
Free format text: JAPANESE INTERMEDIATE CODE: A01 Effective date: 20130903 |
|
| A61 | First payment of annual fees (during grant procedure) |
Free format text: JAPANESE INTERMEDIATE CODE: A61 Effective date: 20130916 |
|
| R151 | Written notification of patent or utility model registration |
Ref document number: 5380964 Country of ref document: JP Free format text: JAPANESE INTERMEDIATE CODE: R151 |
|
| LAPS | Cancellation because of no payment of annual fees |
