JP2010071432A - ボールバルブのステム飛出し防止構造とその組込方法 - Google Patents

ボールバルブのステム飛出し防止構造とその組込方法 Download PDF

Info

Publication number
JP2010071432A
JP2010071432A JP2008242071A JP2008242071A JP2010071432A JP 2010071432 A JP2010071432 A JP 2010071432A JP 2008242071 A JP2008242071 A JP 2008242071A JP 2008242071 A JP2008242071 A JP 2008242071A JP 2010071432 A JP2010071432 A JP 2010071432A
Authority
JP
Japan
Prior art keywords
stem
locking pin
ball valve
pop
ball
Prior art date
Legal status (The legal status is an assumption and is not a legal conclusion. Google has not performed a legal analysis and makes no representation as to the accuracy of the status listed.)
Granted
Application number
JP2008242071A
Other languages
English (en)
Other versions
JP5289878B2 (ja
Inventor
Yasuo Minae
泰夫 薬袋
Current Assignee (The listed assignees may be inaccurate. Google has not performed a legal analysis and makes no representation or warranty as to the accuracy of the list.)
Kitz Corp
Original Assignee
Kitz Corp
Priority date (The priority date is an assumption and is not a legal conclusion. Google has not performed a legal analysis and makes no representation as to the accuracy of the date listed.)
Filing date
Publication date
Application filed by Kitz Corp filed Critical Kitz Corp
Priority to JP2008242071A priority Critical patent/JP5289878B2/ja
Publication of JP2010071432A publication Critical patent/JP2010071432A/ja
Application granted granted Critical
Publication of JP5289878B2 publication Critical patent/JP5289878B2/ja
Active legal-status Critical Current
Anticipated expiration legal-status Critical

Links

Images

Landscapes

  • Taps Or Cocks (AREA)

Abstract

【課題】内部構造が複雑化することなく、簡単にステムの飛出し防止用の部品を組付けることができ、組付け後には、確実にステムの飛出しが防止されるボールバルブのステム飛出し防止構造とその組込方法を提供する。
【解決手段】ボデー4内にインサート2を介してボール弁体3を内蔵し、かつ、このボール弁体3をステム5を介して回動自在に設けたボールバルブ1において、ステム5の下部にステム径方向に係止ピン8を嵌合保持し、この係止ピン8をボデー4内に形成した収納室10に位置させたボールバルブのステム飛出し防止構造である。更に、収納室10には、係止ピン8を保持する内周壁13と、この内周壁13の上部に段部状に形成した環状係合部14とが設けられている。
【選択図】 図1

Description

本発明は、ステム飛出し防止構造とその組込方法に関し、特に、単一のボデーにより形成されるワンピース構造のバルブであって、かつ、小口径のボールバルブに好適なステム飛出し防止構造とその組込方法に関する。
従来より、例えば、石油・ガスプラント等の過酷な条件下においては、ワンピース構造のボールバルブが使用されることが多い。ワンピース構造のボールバルブは、ツーピースやスリーピースなどの複数のボデー部分に分割されている構造のボールバルブとは異なり、ガスケットによるシール部分が無くこの部分からの漏れが防がれるためシール性に優れている。更に、このボールバルブは、可動部分であるステムとボデーとのシール性を向上させるために、通常、積層パッキンが装着されている。
そして、積層パッキンを使用したボールバルブにおいては、この積層パッキンの高さに伴ってステムが長尺状になり、更に、積層パッキンによるシール性を確実に発揮させようとする場合には積層パッキンがより高くなり、特に、小口径バルブにおいて、ステムを流路口から挿入して組み込むことができなくなることがある。このため、この構造の小口径バルブでは、ステムがパッキン室側から挿入されて組み込まれることが多い。
この場合、このボールバルブは、パッキン交換などの作業時において、グランドを外した際にバルブ内部に残存する圧力によってステムが飛び出すことを防ぐようにした構造が必要となる。
この種のボールバルブとしては、例えば、特許文献1の弁が開示されている。この弁においては、ボデーの一部には切欠部が設けられ、一方、ステムにはピンが打ち込まれている。この弁は、ピンと切欠部との位置が合わさった状態で装着用の貫通穴にステムが挿入され、このステムを回転させてピンと切欠部との位置をずらすことにより、ステムの飛出しを防止しようとする構造になっている。
一方、特許文献2の弁装置のステム飛出し防止構造は、ステムがステム孔に対して上方から挿入され、このステムにバルブ内部で分割ブッシュが取付けられている。同ステム飛出し防止構造は、この分割ブッシュの鍔が弁箱内壁の凹部に当接していることより、ステム飛出しを防ぐようにしている。
実開平3−60672号公報 実公平7−31018号公報
しかしながら、特許文献1の弁は、ステムの有底穴に対してピンを打ち込んだだけの構造であり、このピンがステムに対して脱落しやすくなっていた。このため、ピンが脱落した場合には、ボールやボールシートを傷付けたり、ピンがボールシートに噛み込んだりして作動不良を引き起こす可能性があった。また、ボデーの切欠部を形成するために加工工数が増え、コストアップにも繋がっていた。
更に、この弁は、組立時に異なる方向でステムを装着すると、ステム回転時にピンと切欠部との位置が一致してステムの飛出し防止機能が失われるという問題を有していた。
一方、特許文献2においても、ワンピース構造のバルブは、ステムがボデーの流路から奥まった位置に配置されるため、分割ブッシュをボデーの流路口から挿入してステムに組付けることが難しくなっている。このことから、このステム飛出し防止構造は、2ピース構造で、比較的口径の大きいバルブを対象としたものであって、ワンピース構造や小口径のバルブでは実施することができない。
本発明は、上記した実情に鑑み、鋭意検討の結果開発に至ったものであり、その目的とするところは、内部構造が複雑化することなく、簡単にステムの飛出し防止用の部品を組付けることができ、組付け後には、確実にステムの飛出しが防止されるボールバルブのステム飛出し防止構造とその組込方法を提供することにある。
上記目的を達成するため、請求項1に係る発明は、ボデー内にインサートを介してボール弁体を内蔵し、かつ、このボール弁体をステムを介して回動自在に設けたボールバルブにおいて、ステムの下部にステム径方向に係止ピンを嵌合保持し、この係止ピンをボデー内に形成した収納室に位置させると共に、この収納室には、係止ピンを保持する内周壁と、この内周壁の上部に段部状に形成した環状係合部とを設けたボールバルブのステム飛出し防止構造である。
請求項2に係る発明は、内周壁のインサート挿入側の下部に切欠部を形成したステム飛出し防止構造である。
請求項3に係る発明は、係止ピンと環状係合部との間に所定のスペースを設けたボールバルブのステム飛出し防止構造である。
請求項4に係る発明は、ステムに鍔部を設け、この鍔部と、ボデーに形成した軸装段部に装着したパッキン座金との間にベアリングを装着したボールバルブのステム飛出し防止構造である。
請求項5に係る発明は、ボール弁体は、一対のボールシートで回転自在に支受され、このボールシートのうち、一方のボールシートをボデー内に形成した装着段部に装着し、他方のボールシートをインサートの先端側に装着したボールバルブのステム飛出し防止構造である。
請求項6に係る発明は、ステムをボデー外方に形成した軸装部より挿入し、鍔部を装着段部の上面に係合した状態で、インサート挿入側の外方流路より係止ピンをステム側面より嵌合してこの係止ピンの挿入先端面を装着段部の側面に当接させ、次いで、ステムを引き上げて係止ピンの挿入先端面を突出させた状態で、この係止ピンを収納室に位置させて環状係合部に係合させるようにしたボールバルブのステム飛出し防止構造の組込方法である。
請求項7に係る発明は、ステムの鍔部の上面にベアリングを介してパッキン座金を軸装段部に装着し、このパッキン座金の上面にパッキンを装着してグランドで締め付けて装着したボールバルブのステム飛出し防止構造の組込方法である。
請求項1に係る発明によると、内部構造が複雑化することなく、簡単にステムの飛出し防止用の部品を組付けることができ、確実にステムの飛出しが防止されるボールバルブのステム飛出し防止構造である。これにより、例えば、バルブの分解検査の際などに、万一、バルブ内に流体圧が残存していてもステムの飛出しが防止される。
請求項2に係る発明によると、ボデー内部に係止ピンが引っ掛かることがないためこの係止ピンを確実に収納室の所定位置に配設でき、また、ステムから簡単にこの係止ピンを抜き出してボールバルブを分解することができるボールバルブのステム飛出し防止構造である。
請求項3に係る発明によると、ステムの飛び出しを防ぎつつ、スムーズにステムを回転操作できるボールバルブのステム飛出し防止構造である。
請求項4に係る発明によると、パッキン座金に対してベアリングを介してステムの鍔部を位置決めでき、軸方向においてステムを所定の位置に位置決めした状態で回転動作させることができるボールバルブのステム飛出し防止構造である。また、ベアリングによりステムをスムーズに回転操作することができる。
請求項5に係る発明によると、ステムとボールシート装着部が近接した小口径のワンピース構造のバルブに適用できる。また、インサートの取り外しにより、このインサート先端とボデーの装着段部とにそれぞれ装着されているボールシートを着脱して清掃や交換などを容易に実施できる。
請求項6に係る発明によると、優れた組立作業性により、係合ピンの脱落等を防止しつつ、この係合ピンをステムの所定位置に容易に取付けて簡単にステム飛出し防止構造を組み込むことができるボールバルブのステム飛出し防止構造の組込方法である。
請求項7に係る発明によると、グランドの締め付けによりステムを所定の位置に取付けできるボールバルブのステム飛出し防止構造の組込方法である。また、グランドを増し締めすることにより、パッキンを交換することなく簡単にステムのシール性を回復できる。
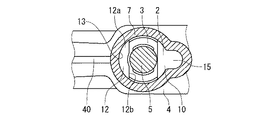
以下、本発明におけるボールバルブのステム飛出し防止構造の実施形態を図面に基づいて詳細に説明する。図1〜図3において、ボールバルブ1は、ワンピース構造であり、かつ、バルブの呼び径が、例えば、1/2B〜1Bの小口径用に形成されている。このボールバルブ1は、インサート2を介してボール弁体3がボデー4内に内蔵され、また、このボール弁体3にはステム5が接続されている。
インサート2は、略筒状に形成され、その先端側には環状凹部2aが形成されている。この環状凹部2aにはボールシート6が装着されている。また、インサート2の後端外周側にはおねじ部2bが形成され、このおねじ部2bは、ボデー4に形成されためねじ部4bに螺着可能になっている。また、ボデー4には装着段部4aが形成され、この装着段部4aにはボールシート6が装着されている。
ボール弁体3は、装着段部4aに装着された一方側と、環状凹部2aに装着された他方側との一対のボールシート6、6で回転自在に支受されている。
ステム5は、ステンレス等の金属製からなり、ボデー4に設けられた軸装部7に装着される。このステム5は、下部側に平行二面部5aを有し、この平行二面部5aをボール弁体3に形成された装着溝部3aに嵌め込むことでボール弁体3が回動自在となっている。また、ステム5は、係止ピン8挿入用の挿入穴5bと、鍔部9とを有している。挿入穴5bは、係止ピン8を嵌入できる穴径によりステム下部側に設けられている。また、鍔部9は、挿入穴5bの上方側に所定の間隔を空けて形成されている。
係止ピン8は、ステンレス等の金属により円柱形状に形成され、その外径は、挿入穴5bの内径と略等しくなっている。この係止ピン8は、挿入穴5bに固定される必要はなく、本実施形態においては、挿入穴5bの軸方向に移動可能な状態で嵌合保持されている。また、係止ピンは、中空の円筒形状であってもよく、軸方向に移動可能な程度の係合力に設定したスプリングピンであってもよい。
ボデー4は、例えば、ロストワックス鋳造等の鋳造により一体成形され、内部に収納室10と、軸装段部11と、装着段部12とが形成されている。
収納室10には、内周壁13と、環状係合部14と、切欠部15とが形成され、この収納室10内にステム5に取付けられた係止ピン8が収納される。内周壁13の内径Dは、収納室10の側壁部分を成し、後述のように、係止ピン8の長さLよりもやや長くなっている。これにより、内周壁13内に係止ピン8が保持されるようになっている。環状係合部14は、内周壁13の上部にこの内周壁13よりも縮径した段部状に設けられ、ステム鍔部9が遊嵌する内径Dに形成されている。
切欠部15は、内周壁13のインサート2挿入側の下部にテーパ状に形成され、この切欠部15により、係止ピン8の着脱時にこの係止ピンがボデー4と干渉することが避けられている。また、収納室10内には、バルブの中間開度において流体が入り込み、このとき、固化した液体や、流体中の異物、さびなどが収納室10内に堆積すると、ステムと共に回転する係止ピン8の回動を妨げるおそれがあるが、ボデー4内に切欠部15が形成されていることにより、堆積物が流路側に排出されやすくなっている。
軸装段部11は、環状係合部14の上部に、この環状係合部14よりも拡径して形成されている。軸装部7にステム5を装着する場合、軸装段部11にはパッキン座金16が装着され、また、ステム鍔部9とパッキン座金16との間にはベアリング17が装着される。また、ステム5がボデー4に装着された場合、係止ピン8と内周壁13との間と、係止ピン8と環状係合部14との間には、それぞれ所定のスペースS、Sが形成される。この場合、スペースSは、必ずしも必要ではなく、係止ピン8と内周壁13とが接触した状態になっていてもよい。
ボデー4の両端側にはフランジ4c、4cが設けられ、このフランジ4cには、ボルト挿通穴4dが形成されている。これにより、ボールバルブ1は、フランジ接合型であり、ボールバルブ1全体を図示しない管路から取外しできるようになっている。
更に、ボデー4には十字状のリブ4eが設けられ、このリブ4eによってボデー4の剛性が高められている。
また、ボデー4と上記インサート2は、内部流路4f、2bが配管口径に対して絞られたレデュース構造になっている。この内部流路により、ボールバルブ1は、必要最小限の流量を確保しつつコンパクトサイズに設けられ、ボデー4に収縮室10を設ける場合に好適である。なお、内部流路が配管口径と同じ、フルボア構造を用いてもよい。
一方、パッキン座金16の上には積層パッキン18とグランド19とが設けられる。パッキン18は、上面18aに座金20が設けられた状態で装着される。このパッキン18は、例えば、PTFE(ポリテトラフルオロエチレン)や膨張黒鉛等の耐熱性などの特性を有する材質によって設けられ、また、多くの積層数により形成されることにより、シール性が高められている。
グランド19は、パッキン18に圧力を加えるために設けられ、ボルト21によりボデー4側に締付けられながら取付けられる。このグランド19は、締付けによりパッキン18を増し締めすることも可能になっている。
なお、図1、2において、グランド19よりも上方側には、ストッパープレート24と、ストッパー25と、キーロックプレート26と、止め輪27と、ハンドル28とが取付けられている。
ストッパープレート24は、断面略コ字形状に折り曲げ形成され、取付部24aと係止プレート部24bとが設けられている。取付部24aは、ボデー4にストッパープレート24を取付けるために形成され、ストッパープレート24は、この取付部24aを固定ボルト29で固定することでボデー上面部4fに取付けられる。また、係止プレート部24bは、ステム5の回転角度を規制する補助部として形成され、この係止プレート部24bの内側に形成された開口部24cには、図示しない係合部が形成されている。
ストッパー25は、図示しない突状の係止部を有しており、固定用のキーロックプレート26とともにステム5に一体に取付けられる。ステム5を回転すると、係止部がストッパープレート24の係合部に係止し、この係止部と係合部とを予め所定の角度に形成することでステム5の回転角度が所定角度に規制される。また、図4において、キーロックプレート26は、ストッパーがストッパープレートに係止した状態で、ストッパープレート24に対して図示しない鍵で固定できるようになっている。
止め輪27は、ステム5に形成された溝部5cに嵌め込まれ、このステム5に装着されたストッパー25とキーロックプレート26との抜け出しを防止している。
また、ハンドル28は、固着ボルト30によりステム5の上部側に取付けられ、このハンドル28を手動操作することでステム5を回転させてボール弁体3を開閉操作するようになっている。
また、図示しないが、ステム5の適宜位置、例えば、鍔部9に対して径方向から有底孔を空け、この有底孔に帯電防止用のスプリングを挿入するようにしてもよい。この場合、スプリングが軸装部7、または、グランド19に接触してアースの役割を果たし、ステム5の帯電が防止される。
続いて、図5、6において、上記のように構成されたボールバルブのステム飛出し防止構造の組込方法を述べる。
先ず、ボデー4の装着段部12に一方のボールシート6を装着する。続いて、図5(a)に示すように、ステム5をボデー4外方に形成した軸装部7より挿入し、鍔部9を装着段部12の上面12aに係合させる。これにより、ステム5は、軸装部7の所定位置で停止し、ステム径方向において挿入穴5bの一部が装着段部12で塞がれた状態になっている。
次いで、ボデー4のインサート2挿入側に形成された外方流路22より、係止ピン8をステム5側面より挿入穴5bに嵌合させる。挿入穴5bは、ステム鍔部9が装着段部12の上面12aに係合した位置において、装着段部12の側面12bに対向するように形成しており、図5(b)に示すように、係止ピン8の挿入先端面8aを装着段部12の側面12bに当接させる。この当接により、係止ピン8は、これ以上挿入穴5bに挿入されることがなく、この係止ピン8が過剰に差し込まれて装着段部12に引っ掛かることがない。なお、外方流路22とは、実際に流体が流れる部位ではないが、内部流路2bを有するインサート2の挿入部位を示すため、便宜上、流路という語を用いている。
この状態で、挿入先端面8aが装着段部12の側面12bよりも上方に位置するまでステム5を引き上げる。このとき、ボデー4に切欠部15を設けていることにより、係止ピン8がボデー4に干渉することが防がれる。その後、図5(c)に示すように、係止ピン8を挿入穴5bに対してさらに嵌合させて、挿入先端面8aをステム径よりも突出させた状態にする。このとき、係止ピン8の挿入先端面8a側の飛び出し量と、後端面8b側の飛び出し量とをステム外径に対して均等にしてもよい。
続いて、係止ピン8を内周壁13に位置させるようにステム5を引き上げ、係止ピン8を環状係合部14に係合させる。この状態で鍔部9の上面側にベアリング17を介してパッキン座金16を軸装段部11に装着し、パッキン座金16の上面側にパッキン18と座金20とを装着する。更に、座金20の上からグランド19を取付け、このグランド19をボルト21で仮に締め付ける。次に、外方流路22よりボール弁体3をボデー4内部に挿入し、ステム5の平行二面部5aをボール弁体3の装着溝部3aに嵌め込んでステム5とボール弁体3とを接続する。
一方、インサート2においては、環状凹部2aに他方のボールシート6を予め装着しておき、このインサート2をボール弁体3の装着後におねじ部2bとめねじ部4bとの螺着によりボデー4に装着する。このとき、インサート2とボデー4との間には、シール用のガスケット部材31を装着する。
その後、グランド19の正規の締付けにより、パッキン18がパッキン座金16側に押圧され、このパッキン18によりステム5と軸装部7内周面との間がシールされる。
更に、このグランド19の締め付けによってパッキン座金16が軸装段部11側に押圧された状態で位置決めされている。このパッキン座金16の下面側にはベアリング17が当接状態で配設され、このベアリング17の下面側には鍔部9の上面が当接する。これにより、係止ピン8と内周壁13との間と、係止ピン8と環状係合部14との間のスペースS、Sが所定の寸法に確保され、係止ピン8が環状係合部14に接触することが防がれる。更に、グランド19を増し締めした場合でも、ステム5が高さ方向にずれることがなく、所定のスペースS、Sが保持される。
なお、グランド19の締め付けに続けて、ストッパープレート24、ストッパー25、キーロックプレート26、ハンドル28の取り付けを実施する。
先ず、取付部24aをボデー上面部4fに載置した状態で、固定ボルト29によりストッパープレート24をボデー4に固定し、更に、このストッパープレート24の開口部24c内にストッパー25と、このストッパー25に重ねてキーロックプレート26とを装着する。このとき、ストッパー25とキーロックプレート26とは、ステム5の上部側に形成された平行な二面部5dに取付穴25a、26aを嵌合して装着され、更に、溝部5cに止め輪27を嵌め込み固定することで、このストッパー25とキーロックプレート26とがステム5に対して位置決めされた状態で固定される。
続いて、二面部5dに対してハンドル28に設けた装着穴28aの向きを合わせながら、このハンドル28をステム5に装着し、この上から固着ボルト30でハンドル28をステム5に固定する。
一方、ボールバルブ1を分解する場合には、先ず、上記と逆の手順でハンドル28、キーロックプレート26、ストッパー25、ストッパープレート24、グランド19を取り外し、続いて、インサート2を取外す。この状態で、ステム5をボデー4に対して上方側から押し込み、係止ピン8を装着段部12の上面12aに当接させた状態から、上記と逆の手順によりこの係止ピン8を抜き取るようにする。この場合、インサート2挿入側下部の切欠部15により、係止ピン8をボデー4に干渉させることなく引抜くことができる。その後、ステム5を上方に引き上げて軸装部7から外し、座金20、パッキン18、パッキン座金16、ベアリング17を取り外す。
また、上記においては、ボデー4をステム5の挿入方向を鉛直に配置した状態でステム5等を組み込んだ場合を述べたが、図6の他例に示すように、ボデー4を、外方流路22を鉛直に配置し、装着段部4aが上向きとなる状態でステム5を組み込んでもよい。この場合、ステム5を軸装部7に挿入してこのステム5の鍔部9を装着段部12に係合させた状態で、係止ピン8を挿入穴5bの上方から挿入して挿入先端面8aを装着段部12の側面12bに当接させる。
この状態からステム5を上方側に引き出すと、係止ピン8の挿入先端面8aが装着段部の側面12bより外れ、自重により落下する。このとき、ボデー4内部の内周壁12に続く切欠部15により、ステム5の引き出しの際には、係止ピン8がボデー4内部に引っ掛かることなく落下する。そして、ステム5を引き出すと、係止ピン8が内周壁13に収容される。
この組込方法は、ボデー4をステム5の挿入方向を鉛直に配置した状態と比較して、簡単に係止ピン8を組み込むことができる。
次に、本発明のボールバルブのステム飛出し防止構造の上記実施形態における作用を説明する。
本発明のボールバルブのステム飛出し防止構造は、ステム5の飛出しを防止する係止ピン8がステム5に嵌合保持され、この係止ピン8が位置する収納室10には、係止ピン8を保持する内周壁13と、内周壁13上部の環状係合部14と、インサート2挿入側の下部の切欠部15とが形成されているので、上述した組込方法によって容易に係止ピン8を組込んで、組込み後にはステム5の飛出しを防ぐことができる。この場合、係止ピン8を挿入穴5bに差し込むだけであり、軸方向に正確な位置決めを行なう必要がないため、組込みが容易になり、小口径用やワンピース構造の場合のボールバルブ1の組立てが容易になる。更に、係止ピン8の端部が内周壁13に当接しても、この係止ピン8は軸方向に移動可能であるため、当接したときの反力がステム5に加わることがない。
また、内部構造が複雑化することもなく、例えば、ステム5については、挿入穴5bを形成するだけでよいため、加工が容易である。
係止ピン8の組込み後には、環状係合部14によりこの係止ピン8の上方向への移動が回転時においても常に規制され、ステム5が上方に移動しようとしたときには、係止ピン8が環状係合部14に当接することでステム5の飛出しが確実に防がれる。更に、パッキン18が緩まった場合でもステム5の飛出しが防止される。
しかも、係止ピン8は、内周壁13によりステム径方向への移動も規制されているため、この係止ピン8がステム5から脱落することが無い。このため、ステム5の飛出し防止機能が失われたり、係止ピン8がボール弁体3やボールシート6を傷付けたり、係止ピン8がボールシート6に噛み込まれて作動不良になったりすることが防がれる。
このように、本発明のボールバルブのステム飛出し防止構造は、ステム5を軸装部7から装着する構造であるにも関わらず、ステム5の飛出しが確実に防止され、延いては、ステム5を長く形成して十分なシール性を発揮できるパッキン長さにすることもできる。
ここで、図1において、ステムの飛出し防止構造を発揮する条件を記載する。
ステム径方向においては、ステム5を軸装部7側から挿入するための条件として、ステム5の鍔部外径d<ボデー環状係合部14の内径Dとする。ステム鍔部9をボデー4のボールシート6装着部位よりも上方側に維持するための条件として、ステム鍔部9の外径の半径d/2>ボデー軸装部7の軸心nから装着段部側面12bまでの距離lとする。ステム5に装着した係止ピン8がボデー4に係合できる条件(ステム5がボデー軸装部7から飛び出すことを防止するための条件)として、係止ピン8の長さL>ボデー環状係合部14の内径Dとする。ステム5に装着した係止ピン8が、内周壁13に収容されるための条件として、係止ピン8の長さL<内周壁13の内径Dとする。このとき、内周壁13の内径D−係止ピン8の長さL=スペースSとなる。
一方、ステム5の高さ方向においては、ボールバルブ1の組立てを完了した状態において、係止ピン8と環状係合部14との間に前述したスペースSが確保される。これにより、係止ピン8がボデー4と非接触状態となり、ステム5の回動時に係止ピン8が内周壁13や環状係合部14に接触することがなく、ステム回転時に余計な負荷が加わったり、係止ピン8が摩耗したりすることがない。
また、ステム5は、固着ボルト29の固着により、ストッパープレート24に対して常時吊り下げられた状態で位置決めされている。この状態において、ステム鍔部9が環状のベアリング17に接しているため、ステム5は、常時において上方向への位置決めが成されている。
本発明におけるボールバルブのステム飛出し防止構造を示した断面図である。 図1のA−A断面図である。 図1のB−B断面図である。 図1のボールバルブの平面図である。 ボールバルブの組立工程を示した断面図である。 ボールバルブの組立工程の他例を示した断面図である。 ボールバルブのステム飛出し防止構造の組込方法を示したフローチャートである。
符号の説明
1 ボールバルブ
2 インサート
2a 環状凹部
3 ボール弁体
4 ボデー
4a 装着段部
5 ステム
6 ボールシート
7 軸装部
8 係止ピン
8a 挿入先端面
9 鍔部
10 収納室
11 軸装段部
12 装着段部
12a 上面
12b 側面
13 内周壁
14 環状係合部
15 切欠部
16 パッキン座金
17 ベアリング
18 パッキン
19 グランド
22 外方流路
S2 スペース

Claims (7)

  1. ボデー内にインサートを介してボール弁体を内蔵し、かつ、このボール弁体をステムを介して回動自在に設けたボールバルブにおいて、前記ステムの下部にステム径方向に係止ピンを嵌合保持し、この係止ピンを前記ボデー内に形成した収納室に位置させると共に、この収納室には、前記係止ピンを保持する内周壁と、この内周壁の上部に段部状に形成した環状係合部とを設けたことを特徴とするボールバルブのステム飛出し防止構造。
  2. 前記内周壁のインサート挿入側の下部に切欠部を形成した請求項1に記載のステム飛出し防止構造。
  3. 前記係止ピンと環状係合部との間に所定のスペースを設けた請求項1又は2に記載のボールバルブのステム飛出し防止構造。
  4. 前記ステムに鍔部を設け、この鍔部と、前記ボデーに形成した軸装段部に装着したパッキン座金との間にベアリングを装着した請求項1乃至3の何れか1項に記載のボールバルブのステム飛出し防止構造。
  5. 前記ボール弁体は、一対のボールシートで回転自在に支受され、このボールシートのうち、一方のボールシートを前記ボデー内に形成した装着段部に装着し、他方のボールシートを前記インサートの先端側に装着した請求項1乃至4の何れか1項に記載のボールバルブのステム飛出し防止構造。
  6. 前記ステムを前記ボデー外方に形成した軸装部より挿入し、前記鍔部を前記装着段部の上面に係合した状態で、前記インサート挿入側の外方流路より前記係止ピンを前記ステム側面より嵌合してこの係止ピンの挿入先端面を前記装着段部の側面に当接させ、次いで、前記ステムを引き上げて前記係止ピンの挿入先端面を突出させた状態で、この係止ピンを前記収納室に位置させて前記環状係合部に係合させるようにした請求項4又は5に記載のボールバルブのステム飛出し防止構造の組込方法。
  7. 前記ステムの鍔部の上面にベアリングを介してパッキン座金を軸装段部に装着し、このパッキン座金の上面にパッキンを装着してグランドで締め付けて装着した請求項6に記載のボールバルブのステム飛出し防止構造の組込方法。
JP2008242071A 2008-09-22 2008-09-22 ボールバルブのステム飛出し防止構造とその組込方法 Active JP5289878B2 (ja)

Priority Applications (1)

Application Number Priority Date Filing Date Title
JP2008242071A JP5289878B2 (ja) 2008-09-22 2008-09-22 ボールバルブのステム飛出し防止構造とその組込方法

Applications Claiming Priority (1)

Application Number Priority Date Filing Date Title
JP2008242071A JP5289878B2 (ja) 2008-09-22 2008-09-22 ボールバルブのステム飛出し防止構造とその組込方法

Publications (2)

Publication Number Publication Date
JP2010071432A true JP2010071432A (ja) 2010-04-02
JP5289878B2 JP5289878B2 (ja) 2013-09-11

Family

ID=42203413

Family Applications (1)

Application Number Title Priority Date Filing Date
JP2008242071A Active JP5289878B2 (ja) 2008-09-22 2008-09-22 ボールバルブのステム飛出し防止構造とその組込方法

Country Status (1)

Country Link
JP (1) JP5289878B2 (ja)

Cited By (4)

* Cited by examiner, † Cited by third party
Publication number Priority date Publication date Assignee Title
CN110778743A (zh) * 2019-11-19 2020-02-11 中核苏阀科技实业股份有限公司 一种超高温高压球阀的内外置阀杆防吹出结构
CN112901812A (zh) * 2019-11-19 2021-06-04 中核苏阀科技实业股份有限公司 一种超高温高压球阀的外置滚动轴承阀杆防吹出结构
CN114770858A (zh) * 2022-03-31 2022-07-22 公元股份有限公司 一种注塑球阀的定位工装
CN116025728A (zh) * 2021-10-25 2023-04-28 朴来成 半导体管道连接用球阀

Citations (3)

* Cited by examiner, † Cited by third party
Publication number Priority date Publication date Assignee Title
JPS4830935B1 (ja) * 1960-03-23 1973-09-25
JPH0592584U (ja) * 1992-05-13 1993-12-17 北村バルブ製造株式会社 弁装置のステム飛出し防止構造
JP2007205485A (ja) * 2006-02-02 2007-08-16 Kitz Corp ボールバルブ

Patent Citations (3)

* Cited by examiner, † Cited by third party
Publication number Priority date Publication date Assignee Title
JPS4830935B1 (ja) * 1960-03-23 1973-09-25
JPH0592584U (ja) * 1992-05-13 1993-12-17 北村バルブ製造株式会社 弁装置のステム飛出し防止構造
JP2007205485A (ja) * 2006-02-02 2007-08-16 Kitz Corp ボールバルブ

Cited By (6)

* Cited by examiner, † Cited by third party
Publication number Priority date Publication date Assignee Title
CN110778743A (zh) * 2019-11-19 2020-02-11 中核苏阀科技实业股份有限公司 一种超高温高压球阀的内外置阀杆防吹出结构
CN112901812A (zh) * 2019-11-19 2021-06-04 中核苏阀科技实业股份有限公司 一种超高温高压球阀的外置滚动轴承阀杆防吹出结构
CN116025728A (zh) * 2021-10-25 2023-04-28 朴来成 半导体管道连接用球阀
KR20230058767A (ko) * 2021-10-25 2023-05-03 박래성 반도체 배관 연결용 볼 밸브
KR102716025B1 (ko) * 2021-10-25 2024-10-14 박래성 반도체 배관 연결용 볼 밸브
CN114770858A (zh) * 2022-03-31 2022-07-22 公元股份有限公司 一种注塑球阀的定位工装

Also Published As

Publication number Publication date
JP5289878B2 (ja) 2013-09-11

Similar Documents

Publication Publication Date Title
EP0004428B1 (en) Ball and valve with readily removable ball and seats for high temperature environment
CN102971560B (zh) 具有波纹管和c形密封件的浮动球阀密封
US7506858B2 (en) Tube-end butterfly metering and shutoff valve
CN102650339B (zh) 具有座环保持器的流体流量控制装置
JP4862778B2 (ja) 燃料ダンパ固定用クリップ
JP2011158043A (ja) 圧力開放弁
NO340207B1 (no) Kuleventiltetning med dynamisk c-tetning og statisk c-tetning
AU2011245550A1 (en) Floating ball valve seal with bellows and C-seal
JP5289878B2 (ja) ボールバルブのステム飛出し防止構造とその組込方法
KR20180071346A (ko) 역 테이퍼 샤프트를 가지는 밸브 및 밸브 커플링
US20160178067A1 (en) Valve body and seat with tongue and groove connection
US20060293142A1 (en) Compact planetary gear assembly
US9382813B2 (en) Turbomachine diaphragm ring with packing retainment apparatus
US20170284243A1 (en) Temperature sensitive valve mechanism
JP4813085B2 (ja) 液体貯蔵構造物と共に使用されるよう適合された落下管アッセンブリ
US20090032119A1 (en) Check valves with hinge shafts retained by welding
US20020066487A1 (en) Charging and evacuation valve
US20050023497A1 (en) Valve packing removal device
JP4987097B2 (ja) バルブ
JP4528729B2 (ja) クーラントバルブ
HUE032708T2 (en) Valve stem seal with gas vent
JP3088885B2 (ja) ソケット付き管式バタフライ弁ユニット
US11781389B2 (en) System, method and apparatus for orifice retention and replacement in a bottom hole assembly
JP4567648B2 (ja) 配管接続用アダプタ及び耐震継手への仮設配管の接続方法
JP2005256971A (ja) バタフライ弁

Legal Events

Date Code Title Description
A621 Written request for application examination

Free format text: JAPANESE INTERMEDIATE CODE: A621

Effective date: 20110812

A977 Report on retrieval

Free format text: JAPANESE INTERMEDIATE CODE: A971007

Effective date: 20120809

A131 Notification of reasons for refusal

Free format text: JAPANESE INTERMEDIATE CODE: A131

Effective date: 20120821

A521 Request for written amendment filed

Free format text: JAPANESE INTERMEDIATE CODE: A523

Effective date: 20121022

TRDD Decision of grant or rejection written
A01 Written decision to grant a patent or to grant a registration (utility model)

Free format text: JAPANESE INTERMEDIATE CODE: A01

Effective date: 20130514

A61 First payment of annual fees (during grant procedure)

Free format text: JAPANESE INTERMEDIATE CODE: A61

Effective date: 20130605

R150 Certificate of patent or registration of utility model

Ref document number: 5289878

Country of ref document: JP

Free format text: JAPANESE INTERMEDIATE CODE: R150

R250 Receipt of annual fees

Free format text: JAPANESE INTERMEDIATE CODE: R250

R250 Receipt of annual fees

Free format text: JAPANESE INTERMEDIATE CODE: R250

R250 Receipt of annual fees

Free format text: JAPANESE INTERMEDIATE CODE: R250

R250 Receipt of annual fees

Free format text: JAPANESE INTERMEDIATE CODE: R250

R250 Receipt of annual fees

Free format text: JAPANESE INTERMEDIATE CODE: R250

R250 Receipt of annual fees

Free format text: JAPANESE INTERMEDIATE CODE: R250

R250 Receipt of annual fees

Free format text: JAPANESE INTERMEDIATE CODE: R250

R250 Receipt of annual fees

Free format text: JAPANESE INTERMEDIATE CODE: R250

S531 Written request for registration of change of domicile

Free format text: JAPANESE INTERMEDIATE CODE: R313531

R350 Written notification of registration of transfer

Free format text: JAPANESE INTERMEDIATE CODE: R350

R250 Receipt of annual fees

Free format text: JAPANESE INTERMEDIATE CODE: R250

R250 Receipt of annual fees

Free format text: JAPANESE INTERMEDIATE CODE: R250