JP2010071256A - 圧縮機 - Google Patents

圧縮機 Download PDF

Info

Publication number
JP2010071256A
JP2010071256A JP2008242350A JP2008242350A JP2010071256A JP 2010071256 A JP2010071256 A JP 2010071256A JP 2008242350 A JP2008242350 A JP 2008242350A JP 2008242350 A JP2008242350 A JP 2008242350A JP 2010071256 A JP2010071256 A JP 2010071256A
Authority
JP
Japan
Prior art keywords
housing
pressure
functional component
compressor
mounting seat
Prior art date
Legal status (The legal status is an assumption and is not a legal conclusion. Google has not performed a legal analysis and makes no representation as to the accuracy of the status listed.)
Granted
Application number
JP2008242350A
Other languages
English (en)
Other versions
JP5324870B2 (ja
Inventor
Yasuro Yamamura
康郎 山村
Current Assignee (The listed assignees may be inaccurate. Google has not performed a legal analysis and makes no representation or warranty as to the accuracy of the list.)
Sanden Corp
Original Assignee
Sanden Corp
Priority date (The priority date is an assumption and is not a legal conclusion. Google has not performed a legal analysis and makes no representation as to the accuracy of the date listed.)
Filing date
Publication date
Application filed by Sanden Corp filed Critical Sanden Corp
Priority to JP2008242350A priority Critical patent/JP5324870B2/ja
Publication of JP2010071256A publication Critical patent/JP2010071256A/ja
Application granted granted Critical
Publication of JP5324870B2 publication Critical patent/JP5324870B2/ja
Expired - Fee Related legal-status Critical Current
Anticipated expiration legal-status Critical

Links

Images

Landscapes

  • Compressor (AREA)
  • Safety Valves (AREA)

Abstract

【課題】機能部品を締結するために必要とされる軸力を低減し、かつ、高圧条件下においても開口部からの媒体漏れを効果的に防止可能な機能部品装着部構造を有する圧縮機を提供する。
【解決手段】機能部品をハウジング内側から装着し、ハウジング内部の被圧縮流体の圧力を、機能部品を介して取り付け座面に作用させる構造を有する圧縮機。このような構造においては、ハウジング内部の被圧縮流体の圧力上昇が機能部品とハウジングとの間の密閉性をより向上させる方向に働くため、高圧条件下における媒体漏れを効果的に防止することができ、機能部品締結時に必要な締結手段軸力を低減することができる。
【選択図】図1

Description

本発明は圧縮機に関し、とくに、二酸化炭素などの高圧冷媒を媒体として使用する場合や車両用空調装置に用いる場合に好適な圧縮機に関する。
一般に圧縮機においては、ハウジング内の圧力が高圧になった場合でも、安全性を確保しつつ所望の性能を維持することが要求される。たとえば、車両用空調装置に用いられる圧縮機には、安全性の観点から、吐出ガスの圧力や機内圧力を所定値以下に維持するための安全弁が設けられている(たとえば、特許文献1および特許文献2)。このような安全弁は、ハウジング内部からハウジング外へと通じる通気孔を有する部位に付設されており、普段は閉じられているが、ハウジング内の圧力が所定値を超えた場合には、その内部圧力により弁が開かれてハウジング内の媒体をハウジング外へと放出し、ハウジング内の圧力を所定値以下まで低下させて圧縮機を保護するようになっている。
上記安全弁のような機能部品を圧縮機のハウジング開口部に取り付ける場合、従来の技術では、ハウジング開口部に対し圧縮機の外側から機能部品を取り付け、ねじなどの締結部材でハウジング壁へ締結することが多い。すなわち、ハウジング外から締結部材により軸力を加えることで、機能部品の取り付け座面にハウジング外側からハウジング内側方向へ圧力をかけ、その面圧により締結部の密閉性が確保されている。
しかしながら、この方法では、ハウジング内部における媒体圧力が機能部品に対しその取り付け座面をハウジング外側に向けて押圧する方向に働くため、媒体圧力が上昇するにつれて機能部品の取り付け座面における面圧が低下し、締結部の密閉性を確保することが困難になる場合がある。また、この構造では、機能部品の取り付け座面に必要なシール面圧を締結部材の軸力のみで担うことになるため、密閉性を保つためには、機能部品を付設する際に、その密閉性を減殺する方向に作用する媒体圧力の想定最大値をあらかじめ上回る軸力で締結部材を締結しておかなければならない。すなわち、上記構造においては、媒体圧力の想定最大値をあらかじめ上回る大きな軸力が常に機能部品へと負荷される。このことは、過大な軸力による機能部品の変形や、それに伴う機能部品の性能低下を招くおそれがあり、また、大きな軸力に耐えうる機能部品を使用することで部品コストも上昇する。さらに、機能部品をハウジング外部に付設することでハウジング外部に凸部が生じるため、とくに設置スペースに制約の多い車両用空調装置においては、圧縮機の配置が困難になる場合もある。とくに近年、環境保護の観点から非フロン系冷媒を使用する車両用空調装置が増加しつつあるが、非フロン系冷媒の一つである二酸化炭素を冷媒として使用するとハウジング内の圧力が従来の8倍程度上昇することから、高圧条件下でも密閉性を維持することができ、かつ、車両への搭載性を確保できる圧縮機への機能部品取り付け方法の開発が強く求められている。
特開平9−166081号公報 特開平9−4741号公報
そこで本発明の課題は、圧縮機のハウジング開口部へ機能部品を締結するにあたって、機能部品を締結するために必要とされる軸力を低減し、かつ、高圧条件下においても開口部からの媒体漏れを効果的に防止できるようにした圧縮機を提供することにある。
上記課題を解決するために、本発明に係る圧縮機は、ハウジング内部の被圧縮流体の圧力を受ける機能部品を、その機能部品の取り付け上あるいはその機能部品の機能上要求される外部に通じる開口を有するハウジング部位に、取り付け座面の面圧で媒体漏れを防止した状態で締結により装着した圧縮機であって、前記ハウジング内部の被圧縮流体の圧力を前記機能部品を介して前記取り付け座面に作用させるべく、前記機能部品をハウジング内側から装着したことを特徴とするものからなる。
このような圧縮機においては、ハウジング内部の被圧縮流体の圧力を機能部品を介して取り付け座面に作用させるべく、該機能部品をハウジング内側から装着したので、ハウジング内部の被圧縮流体の圧力が上昇するにつれて機能部品の取り付け座面の面圧も上昇し、取り付け座面からの媒体漏れがより強く抑制される。また、本発明では、ハウジング内部の被圧縮流体の圧力上昇が、機能部品をより強く取り付け座面へと押し付け、その部位の密閉性をより高める方向へと働くので、機能部品の初期取り付け時に締結部へ負荷される軸力は、無負荷状態あるいは極低圧状態での機能部品取り付け座面部の密閉に必要なシール面圧を確保できる程度であればよい。したがって、本発明においては、媒体圧力の想定最大値を上回る大きな軸力をあらかじめ締結部に負荷しておく必要がなく、過大な軸力に起因する機能部品の変形や、それに伴う機能部品の性能低下を防止することができる。
また、本発明においては、機能部品とハウジングとの間にシール材が介装されていることが好ましい。たとえば、柔軟な素材からなるシール材を介装しておくことで、機能部品とハウジングとの間に生じた微小隙間をシール材の塑性変形によって網羅的に埋めることができ、ハウジング内の密閉性をより高めることができる。
また、本発明において、締結により取り付け座面に作用する軸力の方向は、取り付け座面に作用するハウジング内部の被圧縮流体の圧力の作用方向と同じであることが好ましい。軸力の方向と圧力の作用方向とを一致させることで、上昇した媒体圧力による取り付け座面への作用圧力の増加代を、あたかも締結部材の軸力の増加に相当する力として確実に作用させることができ、ハウジング内の密閉性をより確実に確保することが可能になる。締結部の構造としては、たとえば、機能部品およびハウジングそれぞれにねじ部を形成し、機能部品をハウジングのねじ部に直接ねじ込んで締結する構造を採用することができる。
本発明において、ハウジング内部の被圧縮流体の圧力を受ける機能部品は、とくに限定されるものではないが、ハウジング内部の被圧縮流体の圧力が異常高圧になった際に開口を通して被圧縮流体を放出する安全弁や、圧縮機の圧縮容量を制御する容量制御弁であることが好ましい。安全弁を使用することにより、ハウジング内部の被圧縮流体の圧力が異常高圧になることを未然に防ぐことができ、圧縮機の安全性をより高めることができる。また、容量制御弁は圧縮機内各部との連通部位を備えており、所定の容量制御を行うためには、圧縮機外部に対し高い密閉性(シール性)が要求されるが、本発明の適用によりこのような要求が効果的に満たされる。
本発明に係る圧縮機は、とくに限定されるものではないが、被圧縮流体として冷媒を用いて好適なものであり、とくに、冷媒として二酸化炭素を用いてより好適なものである。圧縮機の冷媒として二酸化炭素を用いた場合、前述の如くハウジング内の圧力が従来の冷媒と比べて約8倍高くなるため、高圧条件下におけるハウジング開口部の密閉性確保がより重要となる。この観点において、本発明に係る圧縮機は、ハウジング内部の被圧縮流体の圧力上昇が機能部品とハウジングとの間の密閉性をより向上させる方向に働くため、ハウジング開口部における媒体漏れを高圧条件下においても効果的に防止することが可能になる。
また、本発明に係る圧縮機は、車両用空調装置内に設けられて好適なものである。本発明における圧縮機は高圧条件下においても密閉性を保つことができるため、とくに可燃性媒体や環境負荷の大きい媒体を使用することの多い車両用空調装置において、媒体が外部へ漏れることによる環境負荷や地球温暖化への悪影響、不具合の発生などを未然に防ぐことができる。また、本発明に係る圧縮機は機能部品をハウジング外部に付設する必要がないため、ハウジング外部に凸部が生じることがなく、設置スペースに制約の多い車両用空調装置において車両搭載性も確保することができる。
このように、本発明に係る圧縮機によれば、ハウジング内部の被圧縮流体の圧力上昇が機能部品とハウジングとの間の密閉性をより向上させる方向に働くので、高圧条件下においても媒体漏れを効果的に防止することができる。また、機能部品の締結に必要な軸力が従来と比べて少なく済み、締結時の過大な軸力に起因する機能部品の変形や性能低下を防ぐことができる。
以下に、本発明の望ましい実施の形態について、図面を参照しながら説明する。
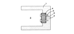
図1は、本発明の一実施態様に係る圧縮機の機能部品締結部における概略構成を示しており、とくに、締結部材により取り付け座面に作用する軸力の方向が、機能部品を介して取り付け座面に作用するハウジング内部の被圧縮流体の圧力の作用方向と同じである圧縮機を示している。図1において、1は本発明の適用対象部位としての圧縮機のハウジング、2はハウジング内部を示しており、ハウジング開口部3に隣接して機能部品4がハウジングの内側から装着されている。機能部品4は締結部材5によってハウジング1に締結されており、締結部材5の軸力によって、取り付け座面6からの媒体の漏れを防いでいる。締結部材5により取り付け座面6に作用する軸力の方向は、ハウジング内部2の被圧縮流体の圧力が取り付け座面6に作用する方向と一致している。この取り付け座面部位には、適当なシール材が介装されていることが好ましい。
図1においては、締結部材5による締結軸力により、機能部品4とハウジング1との間の取り付け座面6にこの部分のシールに必要な面圧が初期的に加えられる。この状態で、ハウジング内部2における媒体圧力が上昇すると、その圧力は機能部品4を取り付け座面6方向へと押圧するように働き、取り付け座面6における面圧が高められてこの部分の密閉性も向上する。すなわち、ハウジング内部2における圧力上昇は、従来構造のような機能部品取り付け座面の密閉性を減殺する方向へ働くことはないので、機能部品4の初期締結時に締結部材5によって負荷される軸力は、取り付け座面6の密閉に必要なシール面圧を確保できる程度であればよく、媒体圧力発生後は、その圧力が利用されて常にシール面圧が初期面圧よりは高められることになる。その結果、媒体圧力の想定最大値を上回る大きな軸力をあらかじめ締結部に負荷しておく必要がなく、機能部品4の変形や、それに伴う機能低下が未然に防止されるとともに、常時、あるレベル以上のシール面圧が確保されることになる。
図2に、比較のため、従来の圧縮機における機能部品締結部の概略構成を示す。図2においては、機能部品4aはハウジング1aの外側より締結部材5aによってハウジング1aに締結されている。ハウジング内部2aにおける媒体圧力が上昇すると、その圧力は、ハウジング開口部3aを通して、機能部品4aを取り付け座面6aからハウジング外側方向へ向けて押圧するよう働く。すなわち、ハウジング内部2aにおける媒体圧力が上昇するに従い、締結部材5aの軸力に抗して締結部材5aの軸力が減殺されて取り付け座面6aの面圧が低下し、取り付け座面6aにおける密閉性が低下する。このため、図2に示す構造においては、機能部品4aの締結にあたって、ハウジング内部2aにおける媒体圧力の想定最大値を十分に上回る程度の軸力を、締結部材5aによってあらかじめ負荷しておく必要がある。しかしながら、とくに二酸化炭素などの高圧媒体を使用する圧縮機では、締結に必要な負荷が大きくなり、機能部品4aの変形や、それに伴う機能低下を招くおそれがある。
なお、本発明は、前述したように、安全弁や容量制御弁を本発明における機能部品とする場合に好適なものであり、図1に示した構造例は特に安全弁を想定した場合を示した。このような安全弁の装着構造に本発明を適用する場合の圧縮機全体の構造については、とくに限定しないが、図3に一例を示しておく。
図3は、本発明の一実施態様における斜板式圧縮機を示しており、とくに、リアハウジング内に機能部品として安全弁が設けられ、かつ、機能部品とハウジングとの間にシール材としてガスケットが設けられている斜板式圧縮機を示している。図3において、斜板式圧縮機10は、駆動シャフト11、軸封装置12、フロントハウジング13、スラストベアリング14、ラジアルベアリング15、シャフトローター16、ピン17、斜板18、ピストン19、シリンダブロック20、シリンダボア21、吸入弁22、弁板23、吐出弁24、吸入室25、リアハウジング26、吐出室27を有しており、これら一連の機構は周知のものである。そこで、本発明に係る構造として、安全弁28、シール材としてのガスケット29、そして開口としての通気孔30を有している。本実施態様においては、リアハウジング26内側に吐出室27が形成されており、機能部品である安全弁28は、吐出室27壁面の通気孔30に隣接する位置に内側から装着されている。安全弁28とリアハウジング26との間にはシール材としてのガスケット29が介装されている。吐出室27内の媒体圧力が上昇すると、媒体圧力は安全弁28およびシール材としてのガスケット29を介して取り付け座面31を押圧する方向に働く。すなわち、図3における斜板式圧縮機によれば、吐出室27における媒体圧力が上昇するに従って取り付け座面31の面圧が増加し、取り付け座面31の密閉性も向上するため、高圧条件下においても媒体漏れを効果的に防止することが可能である。
図4は、図3の斜板式圧縮機における機能部品としての安全弁28を示している。図4において、安全弁28の弁ハウジング40には、吐出室27側に入口孔41が、通気孔30側に出口孔42が、それぞれ設けられている。入口孔41から出口孔42へは媒体が流通可能な流路が形成されているが、この流路の狭隘部には弁体43が流路を閉塞可能に配置されており、弁体43は、弁押え44を介してばね45の付勢力により入口孔41側に向けて押圧されている。ばね45は、ばね座として機能するばねガイド46により係止されており、弁体43に働くばね45の付勢力は、吐出室27から入口孔41へ流入した媒体の圧力に抗する方向に働く。一方、入口孔41へ流入した媒体が弁体43を押圧する圧力は、弁押え44、ばね45、およびばねガイド46を介して弁ハウジング40を取り付け座面31に押圧する方向に働く。安全弁28の弁ハウジング40の外周面上にはねじ部47が設けられており、安全弁28のねじ部47をリアハウジング26に設けられたねじ部(図示略)へ直接ねじ込むことにより、安全弁28がリアハウジング26に締結され、ガスケット29を介して取り付け座面31にねじ部47の軸力が作用する。また、吐出室27内の媒体圧力の上昇は、弁ハウジング40及び弁体43を取り付け座面31に押圧する方向に作用し、これはねじ部47の軸力の方向と一致している。これらの力はいずれも、ガスケット29によって弁ハウジング40とリアハウジング26との間の密閉性を向上させる方向に作用する。
すなわち、吐出室27における媒体圧力が上昇すると、取り付け座面31の面圧が増加し、取り付け座面31の密閉性も向上する。したがって、安全弁28を備えた圧縮機10においては、吐出室27内の媒体圧力の大きさに関わらず、取り付け座面31におけるシール面圧が常時あるレベル以上に確保されることになる。安全弁28において、吐出室27内の媒体圧力がばね45の付勢力よりも大きくなった場合は、媒体圧力がばね45の付勢力に抗して弁体43を押圧することにより、上記付勢力によって押圧されていた弁体43による流路の閉塞性が低下する、あるいは流路が開かれるため、媒体が出口孔42を経由して斜板式圧縮機10の外部へ流出可能となり、吐出室27内の媒体圧力が異常高圧となることが未然に防止される。一方、上記媒体流出等により吐出室27内の媒体圧力がばね45の付勢力よりも小さい場合は、ばね45の付勢力により弁体43が押圧されて上記流路の閉塞性が保たれ、吐出室27内の媒体の安全弁28からの流出が防止されて、通常の圧縮機作動が維持される。したがって、図4の安全弁によれば、高圧条件下においても取り付け座面における媒体漏れを効果的に防止しつつ、ハウジング内の媒体圧力が異常高圧となることを未然に防ぐことが可能となる。
本発明に係る圧縮機は、あらゆるタイプの圧縮機に対して適用可能であり、とくに、二酸化炭素などの高圧冷媒を媒体として使用する場合や車両用空調装置に用いる場合に好適なものである。
本発明の一実施態様に係る圧縮機における機能部品締結部の概略構成図である。 従来の圧縮機における機能部品締結部の概略構成図である。 本発明の一実施態様に係る圧縮機としての斜板式圧縮機の縦断面図である。 図3の斜板式圧縮機における安全弁の拡大図である。
符号の説明
1 ハウジング
2 ハウジング内部
3 ハウジング開口部
4 機能部品
5 締結部材としてのボルト
6 取り付け座面
10 斜板式圧縮機
11 駆動シャフト
12 軸封装置
13 フロントハウジング
14 スラストベアリング
15 ラジアルベアリング
16 シャフトローター
17 ピン
18 斜板
19 ピストン
20 シリンダブロック
21 シリンダボア
22 吸入弁
23 弁板
24 吐出弁
25 吸入室
26 リアハウジング
27 吐出室
28 安全弁
29 シール材としてのガスケット
30 通気孔

31 取り付け座面
40 弁ハウジング
41 入口孔
42 出口孔
43 弁体
44 弁押え
45 ばね
46 ばねガイド
47 ねじ部

Claims (9)

  1. ハウジング内部の被圧縮流体の圧力を受ける機能部品を、その機能部品の取り付け上あるいはその機能部品の機能上要求される外部に通じる開口を有するハウジング部位に、取り付け座面の面圧で媒体漏れを防止した状態で締結により装着した圧縮機において、前記ハウジング内部の被圧縮流体の圧力を前記機能部品を介して前記取り付け座面に作用させるべく、前記機能部品をハウジング内側から装着したことを特徴とする圧縮機。
  2. 前記機能部品と前記ハウジングとの間にシール材が介装されている、請求項1に記載の圧縮機。
  3. 前記締結により前記取り付け座面に作用する軸力の方向と、前記取り付け座面に作用するハウジング内部の被圧縮流体の圧力の作用方向とが同じ方向に設定されている、請求項1または2に記載の圧縮機。
  4. 前記機能部品および前記ハウジングそれぞれに形成されたねじ部によって、前記機能部品が前記ハウジングに締結されている、請求項3に記載の圧縮機。
  5. 前記機能部品が、前記ハウジング内部の被圧縮流体の圧力が異常高圧になった際に前記開口を通して被圧縮流体を放出する安全弁からなる、請求項1〜4のいずれかに記載の圧縮機。
  6. 前記機能部品が、圧縮機の圧縮容量を制御する容量制御弁からなる、請求項1〜4のいずれかに記載の圧縮機。
  7. 前記被圧縮流体が冷媒からなる、請求項1〜6のいずれかに記載の圧縮機。
  8. 前記冷媒が二酸化炭素からなる、請求項7に記載の圧縮機。
  9. 車両空調装置用圧縮機である、請求項1〜8のいずれかに記載の圧縮機。
JP2008242350A 2008-09-22 2008-09-22 圧縮機 Expired - Fee Related JP5324870B2 (ja)

Priority Applications (1)

Application Number Priority Date Filing Date Title
JP2008242350A JP5324870B2 (ja) 2008-09-22 2008-09-22 圧縮機

Applications Claiming Priority (1)

Application Number Priority Date Filing Date Title
JP2008242350A JP5324870B2 (ja) 2008-09-22 2008-09-22 圧縮機

Publications (2)

Publication Number Publication Date
JP2010071256A true JP2010071256A (ja) 2010-04-02
JP5324870B2 JP5324870B2 (ja) 2013-10-23

Family

ID=42203265

Family Applications (1)

Application Number Title Priority Date Filing Date
JP2008242350A Expired - Fee Related JP5324870B2 (ja) 2008-09-22 2008-09-22 圧縮機

Country Status (1)

Country Link
JP (1) JP5324870B2 (ja)

Citations (4)

* Cited by examiner, † Cited by third party
Publication number Priority date Publication date Assignee Title
JPH09166088A (ja) * 1995-10-12 1997-06-24 Toyota Autom Loom Works Ltd 圧縮機
JPH10196579A (ja) * 1997-01-06 1998-07-31 Carrier Corp コンビネーションバルブ
JP2002227789A (ja) * 2001-02-01 2002-08-14 Mitsubishi Electric Corp 回転圧縮機
JP2005048653A (ja) * 2003-07-28 2005-02-24 Toyota Industries Corp 差圧弁機構

Patent Citations (4)

* Cited by examiner, † Cited by third party
Publication number Priority date Publication date Assignee Title
JPH09166088A (ja) * 1995-10-12 1997-06-24 Toyota Autom Loom Works Ltd 圧縮機
JPH10196579A (ja) * 1997-01-06 1998-07-31 Carrier Corp コンビネーションバルブ
JP2002227789A (ja) * 2001-02-01 2002-08-14 Mitsubishi Electric Corp 回転圧縮機
JP2005048653A (ja) * 2003-07-28 2005-02-24 Toyota Industries Corp 差圧弁機構

Also Published As

Publication number Publication date
JP5324870B2 (ja) 2013-10-23

Similar Documents

Publication Publication Date Title
CN100357646C (zh) 集成有高压安全阀的卸载/通气阀
US10487831B2 (en) Scroll compressor
KR100196122B1 (ko) 스크롤식 압축기
CN100395450C (zh) 压缩机
US8057193B2 (en) Screw compressor comprising a relief valve
JP5448394B2 (ja) 圧縮機の安全弁
CN111075966B (zh) 止回阀、涡旋压缩机及空调器
US20050191189A1 (en) Oil seal arrangement
JP2015068304A (ja) 圧縮機
JP5324870B2 (ja) 圧縮機
US7422422B2 (en) Compressor assembly with pressure relief valve fittings
KR101829934B1 (ko) 벨로우즈 백업 챔버
CN101548065B (zh) 整体式滑阀泄放阀
JP2005344625A (ja) 圧縮機
US20050186087A1 (en) Compressor
US20090035157A1 (en) Vacuum pump incorporating safety device and manufacturing method thereof
JP4875411B2 (ja) スクロール圧縮機
JP2008057332A (ja) 圧縮機
CN119737353B (zh) 一种单向减压阀
JP2010106707A (ja) 圧縮機
CN222210860U (zh) 电子膨胀阀
JP2004353578A (ja) 気体圧縮機の保護構造
JP2003500609A (ja) コンプレッサ
JP2005002949A (ja) 圧縮機
JP2007315223A (ja) 圧縮機のシール装置

Legal Events

Date Code Title Description
A621 Written request for application examination

Free format text: JAPANESE INTERMEDIATE CODE: A621

Effective date: 20110922

A977 Report on retrieval

Free format text: JAPANESE INTERMEDIATE CODE: A971007

Effective date: 20121213

A131 Notification of reasons for refusal

Free format text: JAPANESE INTERMEDIATE CODE: A131

Effective date: 20121225

A521 Written amendment

Free format text: JAPANESE INTERMEDIATE CODE: A523

Effective date: 20130212

TRDD Decision of grant or rejection written
A01 Written decision to grant a patent or to grant a registration (utility model)

Free format text: JAPANESE INTERMEDIATE CODE: A01

Effective date: 20130712

A61 First payment of annual fees (during grant procedure)

Free format text: JAPANESE INTERMEDIATE CODE: A61

Effective date: 20130719

R150 Certificate of patent or registration of utility model

Free format text: JAPANESE INTERMEDIATE CODE: R150

S533 Written request for registration of change of name

Free format text: JAPANESE INTERMEDIATE CODE: R313533

R350 Written notification of registration of transfer

Free format text: JAPANESE INTERMEDIATE CODE: R350

R250 Receipt of annual fees

Free format text: JAPANESE INTERMEDIATE CODE: R250

LAPS Cancellation because of no payment of annual fees