JP2010071231A - ディーゼルエンジン - Google Patents

ディーゼルエンジン Download PDF

Info

Publication number
JP2010071231A
JP2010071231A JP2008241077A JP2008241077A JP2010071231A JP 2010071231 A JP2010071231 A JP 2010071231A JP 2008241077 A JP2008241077 A JP 2008241077A JP 2008241077 A JP2008241077 A JP 2008241077A JP 2010071231 A JP2010071231 A JP 2010071231A
Authority
JP
Japan
Prior art keywords
pump
governor
oil
case
housing case
Prior art date
Legal status (The legal status is an assumption and is not a legal conclusion. Google has not performed a legal analysis and makes no representation as to the accuracy of the status listed.)
Granted
Application number
JP2008241077A
Other languages
English (en)
Other versions
JP4892532B2 (ja
Inventor
Manabu Miyazaki
学 宮▲崎▼
Masayasu Takami
雅保 高見
Masato Ueda
真人 植田
Takuya Yanagimoto
卓弥 柳本
Masayuki Tochimoto
将行 栩本
Current Assignee (The listed assignees may be inaccurate. Google has not performed a legal analysis and makes no representation or warranty as to the accuracy of the list.)
Kubota Corp
Original Assignee
Kubota Corp
Priority date (The priority date is an assumption and is not a legal conclusion. Google has not performed a legal analysis and makes no representation as to the accuracy of the date listed.)
Filing date
Publication date
Application filed by Kubota Corp filed Critical Kubota Corp
Priority to JP2008241077A priority Critical patent/JP4892532B2/ja
Publication of JP2010071231A publication Critical patent/JP2010071231A/ja
Application granted granted Critical
Publication of JP4892532B2 publication Critical patent/JP4892532B2/ja
Expired - Fee Related legal-status Critical Current
Anticipated expiration legal-status Critical

Links

Images

Landscapes

  • High-Pressure Fuel Injection Pump Control (AREA)
  • Fuel-Injection Apparatus (AREA)
  • Lubrication Of Internal Combustion Engines (AREA)

Abstract

【課題】燃料噴射ポンプの調量精度の低下を抑制することができるディーゼルエンジンを提供する。
【解決手段】エンジンオイル14が、ガバナ収容ケース4のオイル流出口18を介してポンプ収容ケース1の内底部に流れ込んだ後、ポンプ収容ケース1のオイル流出口20を介して調時伝動ギヤケース11内に流れ込み、オイルパン13内に戻るようにした、ディーゼルエンジンにおいて、ポンプ収容ケース1の底壁28に燃料噴射カム軸3と平行なねじポンプ21が設けられ、このねじポンプ21のオイル吸い込み口22がガバナ収容ケース4の内底部に開口され、このねじポンプ21のオイル吐出口23が調時伝動ギヤケース11内に向けて開口され、ガバナ収容ケース4の内底部のエンジンオイル14が、ねじポンプ21を介して調時伝動ギヤケース11内に搬送されるようにした。
【選択図】図1

Description

本発明は、ディーゼルエンジンに関し、詳しくは、燃料噴射ポンプの調量精度の低下を抑制することができるディーゼルエンジンに関するものである。
従来のディーゼルエンジンとして、本発明と同様、ポンプ収容ケースに燃料噴射ポンプが収容され、この燃料噴射ポンプの下方に燃料噴射カム軸が架設され、ポンプ収容ケースの一端側にガバナ収容ケースが設けられ、このガバナ収容ケース内にメカニカルガバナが収容され、燃料噴射カム軸の一端側にガバナウェイトが取り付けられ、このガバナウェイトにガバナレバーのガバナ力入力部が連携され、ガバナレバーの出力部に燃料噴射ポンプの燃料調量部が連動連結され、ポンプ収容ケースの他端側が調時伝動ギヤケースに取り付けられ、燃料噴射カム軸の他端側に燃料噴射カムギヤが取り付けられ、この燃料噴射カムギヤが調時伝動ギヤケースに収容され、
オイルパン内のエンジンオイルがオイルポンプの圧送力でガバナレバーに供給されるようにし、ガバナ収容ケースとポンプ収容ケースとの隔壁にガバナ収容ケースのオイル流出口が設けられ、ポンプ収容ケースと調時伝動ギヤケースとの隔壁にポンプ収容ケースのオイル流出口が設けられ、ガバナレバーからガバナ収容ケースの内底部に落下したエンジンオイルが、ガバナ収容ケースのオイル流出口を介してポンプ収容ケースの内底部に流れ込んだ後、ポンプ収容ケースのオイル流出口を介して調時伝動ギヤケース内に流れ込み、オイルパン内に戻るようにしたものがある(例えば、特許文献1参照)。
この従来のディーゼルエンジンでは、ポンプ収容ケースの内底部に流れ込んだエンジンオイルで、燃料噴射カム軸の燃料噴射カムが潤滑される利点がある。
しかし、従来のディーゼルエンジンでは、ガバナ収容ケースから調時伝動ギヤケースへのオイル流出経路がポンプ収容ケースの内底部を経るルートに限定されているため、問題がある。
特開平7−166832号公報(図1〜図3参照)
上記従来技術では、次の問題がある。
《問題》 メカニカルガバナによる燃料噴射ポンプの調量精度が低下する。
ガバナ収容ケースから調時伝動ギヤケースへのオイル流出経路がポンプ収容ケースの内底部を経るルートに限定されているため、回転する燃料噴射カム軸の燃料噴射カムが壁となり、ポンプ収容ケースの内底部でのエンジンオイルの通過が妨げられ、ガバナ収容ケースの内底部にエンジンオイルが過剰に溜まることがある。このため、ガバナウェイトがエンジンオイルに深く浸かり、ガバナウェイトの作動がエンジンオイルの大きな抵抗を受け、その抵抗が外乱となり、メカニカルガバナによる燃料噴射ポンプの調量精度が低下する。
本発明は、上記問題点を解決することができるディーゼルエンジン、すなわち、燃料噴射ポンプの調量精度の低下を抑制することができるディーゼルエンジンを提供することを課題とする。
請求項1に係る発明の発明特定事項は、次の通りである。
図1(A)に例示するように、ポンプ収容ケース(1)に燃料噴射ポンプ(2)が収容され、この燃料噴射ポンプ(2)の下方に燃料噴射カム軸(3)が架設され、ポンプ収容ケース(1)の一端側にガバナ収容ケース(4)が設けられ、このガバナ収容ケース(4)内にメカニカルガバナ(5)が収容され、燃料噴射カム軸(3)の一端側にガバナウェイト(6)が取り付けられ、このガバナウェイト(6)にガバナレバー(7)のガバナ力入力部(8)が連携され、ガバナレバー(7)の出力部(9)に燃料噴射ポンプ(2)の燃料調量部(10)が連動連結され、ポンプ収容ケース(1)の他端側が調時伝動ギヤケース(11)に取り付けられ、燃料噴射カム軸(3)の他端側に燃料噴射カムギヤ(12)が取り付けられ、この燃料噴射カムギヤ(12)が調時伝動ギヤケース(11)内に収容され、
図2(A)に例示するように、オイルパン(13)内のエンジンオイル(14)がオイルポンプ(15)の圧送力でガバナレバー(7)に供給されるようにし、図1(B)に例示するように、ガバナ収容ケース(4)とポンプ収容ケース(1)との隔壁(17)にガバナ収容ケース(4)のオイル流出口(18)が設けられ、図1(C)に例示するように、ポンプ収容ケース(1)と調時伝動ギヤケース(11)との隔壁(19)にポンプ収容ケース(1)のオイル流出口(20)が設けられ、図1(A)に例示するように、ガバナレバー(7)からガバナ収容ケース(4)の内底部に落下したエンジンオイル(14)が、ガバナ収容ケース(4)のオイル流出口(18)を介してポンプ収容ケース(1)の内底部に流れ込んだ後、ポンプ収容ケース(1)のオイル流出口(20)を介して調時伝動ギヤケース(11)内に流れ込み、オイルパン(13)内に戻るようにした、ディーゼルエンジンにおいて、
図1(A)に例示するように、ポンプ収容ケース(1)の底壁(28)に燃料噴射カム軸(3)と平行なねじポンプ(21)が設けられ、図1(B)に例示するように、このねじポンプ(21)のオイル吸い込み口(22)がガバナ収容ケース(4)の内底部に開口され、図1(C)に例示するように、このねじポンプ(21)のオイル吐出口(23)が調時伝動ギヤケース(11)内に向けて開口され、
図1(A)に例示するように、ガバナ収容ケース(4)の内底部のエンジンオイル(14)が、ねじポンプ(21)を介して調時伝動ギヤケース(11)内に搬送されるようにした、ことを特徴とするディーゼルエンジン。
(請求項1に係る発明)
《効果》 燃料噴射ポンプの調量精度の低下を抑制することができる。
図1(A)に例示するように、ガバナ収容ケース(4)の内底部のエンジンオイル(14)が、ねじポンプ(21)を介して調時伝動ギヤケース(11)内に搬送されるようにしたので、ガバナ収容ケース(4)の内底部にエンジンオイル(14)が過剰に溜まることがない。このため、ガバナウェイト(6)がエンジンオイル(14)に深く浸かることがなく、ガバナウェイト(6)の作動がエンジンオイル(14)で大きな抵抗をうける不具合が回避され、この外乱に起因する燃料噴射ポンプ(2)の調量精度の低下を抑制することができる。
《効果》 ねじポンプが周辺部品の配置の妨げにならない。
図1(A)に例示するように、ポンプ収容ケース(1)の底壁に燃料噴射カム軸(3)と平行なねじポンプ(21)が設けられるので、ねじポンプ(21)がメカニカルガバナ(5)や調時伝動ギヤケース(11)内の調時伝動ギヤトレイン(29)と干渉せず、ねじポンプ(21)が周辺部品の配置の妨げにならない。
(請求項2に係る発明)
請求項1に係る発明の効果に加え、次の効果を奏する。
《効果》 エンジン回転数の増加でガバナ収容ケースの内底部にエンジンオイルが過剰に溜まるのを防止することができる。
図2(A)に例示するように、ガバナレバー(7)にエンジンオイル(14)を供給するオイルポンプ(15)をクランク軸で駆動するに当たり、図1(A)に例示するように、ねじポンプ(21)もクランク軸で駆動されるようにしたので、エンジン回転数が増加してオイルポンプ(15)の駆動速度が増加し、ガバナレバー(7)へのエンジンオイル(14)の供給量が増加すると、同様にねじポンプ(21)によるエンジンオイル(14)の搬送量も増加する。このため、エンジン回転数の増加でガバナ収容ケース(4)の内底部にエンジンオイル(14)が過剰に溜まるのを防止することができる。
(請求項3に係る発明)
請求項2に係る発明の効果に加え、次の効果を奏する。
《効果》 新たなギヤを追加することなく、ねじポンプギヤを駆動することができる。
図1(C)に例示するように、ねじポンプ(21)のロータ(24)の一端部にねじポンプギヤ(25)が設けられ、燃料噴射カムギヤ(12)のリム(26)の内周に内歯(27)が設けられ、この内歯(27)にねじポンプギヤ(25)が噛合しているので、新たなギヤを追加することなく、ねじポンプギヤ(25)を駆動することができる。
(請求項4に係る発明)
請求項1から請求項3のいずれかに係る発明の効果に加え、次の効果を奏する。
《効果》 ねじポンプで搬送されるエンジンオイルによってねじポンプギヤが潤滑される。
図1(C)に例示するように、ねじポンプ(21)のロータ(24)の一端部にねじポンプギヤ(25)が設けられ、ねじポンプ(21)のオイル吐出口(23)からねじポンプギヤ(25)に向けてエンジンオイル(14)が吐出されるようにしたので、ねじポンプ(21)で搬送されるエンジンオイル(14)によってねじポンプギヤ(25)が潤滑される。
本発明の実施の形態を図面に基づいて説明する。図1から図3は本発明の実施形態に係るディーゼルエンジンを説明する図で、この実施形態では、立形多気筒ディーゼルエンジンについて説明する。
本発明の実施形態の概要は、次の通りである。
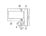
図3に示すように、シリンダブロック(30)の上部にシリンダヘッド(31)が取り付けられ、シリンダブロック(30)の前部に調時伝動ギヤケース(11)が取り付けられている。調時伝動ギヤケース(11)の横端部(31)はシリンダブロック(30)の横側面(32)よりも横側に張り出され、この横端部(31)の後壁(48)に燃料噴射ポンプユニット(33)が取り付けられている。
燃料噴射ポンプユニットの構成は、次の通りである。
燃料噴射ポンプユニット(33)は、ポンプ収容ケース(1)とガバナ収容ケース(4)とその内部部品と燃料噴射カムギヤ(12)からなる。
図1(A)に示すように、ポンプ収容ケース(1)に燃料噴射ポンプ(2)が収容され、この燃料噴射ポンプ(2)の下方に燃料噴射カム軸(3)が架設され、ポンプ収容ケース(1)の後端側にガバナ収容ケース(4)が設けられ、このガバナ収容ケース(4)内にメカニカルガバナ(5)が収容され、燃料噴射カム軸(3)の後端側にガバナウェイト(6)が取り付けられ、このガバナウェイト(6)にガバナレバー(7)のガバナ力入力部(8)が連携され、ガバナレバー(7)の出力部(9)に燃料噴射ポンプ(2)の燃料調量部(10)が連動連結され、ポンプ収容ケース(1)の前端側が調時伝動ギヤケース(11)に取り付けられ、燃料噴射カム軸(3)の前端側に燃料噴射カムギヤ(12)が取り付けられ、この燃料噴射カムギヤ(12)が調時伝動ギヤケース(11)内に収容されている。
図1(A)に示すように、燃料噴射ポンプ(2)はプランジャを備えた列形噴射ポンプであり、燃料噴射カム軸(3)は4枚の燃料噴射カム(34)と1枚の燃料フィードポンプカム(35)とを備えている。燃料噴射カム軸(3)の後端部は、ガバナ収容ケース(4)内に突出され、この後端部にウェイトホルダ(36)を介してガバナウェイト(6)が揺動自在に取り付けられるとともに、ガバナスリーブ(37)が前後摺動自在に取り付けられ、ガバナウェイト(6)の揺動がガバナスリーブ(37)の前後摺動を介してガバナレバー(7)のガバナ力入力部(8)に伝達されるようになっている。ガバナレバー(7)の出力部(9)には連動板(38)を介して燃料噴射ポンプ(2)の燃料調量部(10)が連動連結されている。燃料調量部(10)は燃料調量ラックである。燃料噴射カムギヤ(12)は燃料噴射カム軸(3)の前端部に外嵌固定され、クランク軸(図外)のクランクギヤ(図外)からアイドルギヤ(39)を介して駆動される。クランクギヤとアイドルギヤ(39)と燃料噴射カムギヤ(12)とを含む調時伝動ギヤトレイン(29)は、調時伝動ギヤケース(11)内に収容されている。
図2(A)に示すように、オイルパン(13)内のエンジンオイル(14)がオイルポンプ(15)の圧送力でガバナレバー(7)に供給されるようにし、図1(B)に示すように、ガバナ収容ケース(4)とポンプ収容ケース(1)との隔壁(17)にガバナ収容ケース(4)のオイル流出口(18)が設けられ、図1(C)に示すように、ポンプ収容ケース(1)と調時伝動ギヤケース(11)との隔壁(19)にポンプ収容ケース(1)のオイル流出口(20)が設けられている。
図1(A)に示すように、ガバナレバー(7)からガバナ収容ケース(4)の内底部に落下したエンジンオイル(14)が、ガバナ収容ケース(4)のオイル流出口(18)を介してポンプ収容ケース(1)の内底部に流れ込んだ後、ポンプ収容ケース(1)のオイル流出口(20)を介して調時伝動ギヤケース(11)内に流れ込み、オイルパン(13)内に戻るようにしている。
図1(A)に示すように、ガバナ収容ケース(1)のオイル流出口(18)は、燃料噴射カム軸(3)を軸受けする後側ボールベアリング(40)の下方に設けられている。図1(C)に示すように、ポンプ収容ケース(1)のオイル流出口(20)は、燃料噴射カム軸(3)を軸受けする前側ボールベアリング(41)で構成されている。
ガバナレバーの潤滑構造は、次の通りである。
図2(A)に示すように、ガバナ収容ケース(4)内にガバナレバー枢軸(42)が架設され、ガバナレバー(7)にボス(45)が取り付けられ、このボス(45)がガバナレバー枢軸(42)に外嵌され、枢支部(16)が構成されている。ガバナレバー枢軸(42)にはその中心軸に沿う軸内オイル通路(43)が設けられ、オイルパン(13)内のエンジンオイル(14)がオイルポンプ(15)の圧送力で軸内オイル通路(43)に供給されるようになっている。ガバナレバー枢軸(42)の軸長方向中央部は小径部(44)とされ、この小径部(44)とボス(45)との間に給油隙間(46)が設けられ、小径部(44)の径方向にオイル流出孔(47)が設けられ、オイル流出孔(47)で軸内オイル通路(43)と給油隙間(46)が連通され、軸内オイル通路(43)からオイル流出孔(47)を経て給油隙間(46)に給油が行われるようにしてある。この給油隙間(46)に供給されたエンジンオイル(14)は、ガバナレバー枢軸(42)とボス(45)との隙間を通過して、ガバナ収容ケース(4)の内底部に落下する。
図1(A)に示すように、ポンプ収容ケース(1)の底壁(28)に燃料噴射カム軸(3)と平行なねじポンプ(21)が設けられ、図1(B)に示すように、このねじポンプ(21)のオイル吸い込み口(22)がガバナ収容ケース(4)の内底部に開口され、図1(C)に示すように、このねじポンプ(21)のオイル吐出口(23)が調時伝動ギヤケース(11)内に向けて開口され、図1(A)に示すように、ガバナ収容ケース(4)の内底部のエンジンオイル(14)が、ねじポンプ(21)を介して調時伝動ギヤケース(11)内に搬送されるようにしている。図中に矢印で、エンジンオイル(14)の流れを示す。
図1(A)に示すように、燃料噴射カム軸(3)は前後方向に架設され、ねじポンプ(21)はポンプ収容ケース(1)の底壁(28)の肉壁内に前後方向に向けて形成されている。ねじポンプ(21)は、外周に螺旋溝を備えたロータ(24)を備えている。
図2に示すように、ガバナレバー(7)にエンジンオイル(14)を供給するオイルポンプ(15)をクランク軸で駆動するに当たり、ねじポンプ(21)もクランク軸で駆動されるようにしている。
具体的には、図1(C)に示すように、ねじポンプ(21)のロータ(24)の一端部にねじポンプギヤ(25)が設けられ、燃料噴射カムギヤ(12)のリム(26)の内周に内歯(27)が設けられ、この内歯(27)にねじポンプギヤ(25)が噛合している。また、ねじポンプ(21)のオイル吐出口(23)からねじポンプギヤ(25)に向けてエンジンオイル(14)が吐出されるようにしている。
オイルポンプ(15)はクランク軸で駆動されるトロコイドポンプである。
本発明の実施形態に係るディーゼルエンジンで用いる燃料噴射ポンプユニットを説明する図で、図1(A)は縦断側面図、図1(B)は図1(A)のB矢視部拡大図、図1(C)は図1(A)のC矢視部拡大図である。 図1の燃料噴射ポンプユニットのメカニカルガバナの説明図で、図2(A)は縦断正面図、図2(B)はガバナレバーの枢支部の縦断正面拡大図である。 本発明の実施形態に係るディーゼルエンジンの模式平面図である。
符号の説明
(1) ポンプ収容ケース
(2) 燃料噴射ポンプ
(3) 燃料噴射カム軸
(4) ガバナ収容ケース
(5) メカニカルガバナ
(6) ガバナウェイト
(7) ガバナレバー
(8) ガバナ力入力部
(9) 出力部
(10) 燃料調量部
(11) 調時伝動ギヤケース
(12) 燃料噴射カムギヤ
(13) オイルパン
(14) エンジンオイル
(15) オイルポンプ
(17) 隔壁
(18) オイル流出口
(19) 隔壁
(20) オイル流出口
(21) ねじポンプ
(22) オイル吸い込み口
(23) オイル吐出口
(24) ロータ
(25) ねじポンプギヤ
(26) リム
(27) 内歯
(28) 底壁

Claims (4)

  1. ポンプ収容ケース(1)に燃料噴射ポンプ(2)が収容され、この燃料噴射ポンプ(2)の下方に燃料噴射カム軸(3)が架設され、ポンプ収容ケース(1)の一端側にガバナ収容ケース(4)が設けられ、このガバナ収容ケース(4)内にメカニカルガバナ(5)が収容され、燃料噴射カム軸(3)の一端側にガバナウェイト(6)が取り付けられ、このガバナウェイト(6)にガバナレバー(7)のガバナ力入力部(8)が連携され、ガバナレバー(7)の出力部(9)に燃料噴射ポンプ(2)の燃料調量部(10)が連動連結され、ポンプ収容ケース(1)の他端側が調時伝動ギヤケース(11)に取り付けられ、燃料噴射カム軸(3)の他端側に燃料噴射カムギヤ(12)が取り付けられ、この燃料噴射カムギヤ(12)が調時伝動ギヤケース(11)内に収容され、
    オイルパン(13)内のエンジンオイル(14)がオイルポンプ(15)の圧送力でガバナレバー(7)に供給されるようにし、ガバナ収容ケース(4)とポンプ収容ケース(1)との隔壁(17)にガバナ収容ケース(4)のオイル流出口(18)が設けられ、ポンプ収容ケース(1)と調時伝動ギヤケース(11)との隔壁(19)にポンプ収容ケース(1)のオイル流出口(20)が設けられ、ガバナレバー(7)からガバナ収容ケース(4)の内底部に落下したエンジンオイル(14)が、ガバナ収容ケース(4)のオイル流出口(18)を介してポンプ収容ケース(1)の内底部に流れ込んだ後、ポンプ収容ケース(1)のオイル流出口(20)を介して調時伝動ギヤケース(11)内に流れ込み、オイルパン(13)内に戻るようにした、ディーゼルエンジンにおいて、
    ポンプ収容ケース(1)の底壁(28)に燃料噴射カム軸(3)と平行なねじポンプ(21)が設けられ、このねじポンプ(21)のオイル吸い込み口(22)がガバナ収容ケース(4)の内底部に開口され、このねじポンプ(21)のオイル吐出口(23)が調時伝動ギヤケース(11)内に向けて開口され、
    ガバナ収容ケース(4)の内底部のエンジンオイル(14)が、ねじポンプ(21)を介して調時伝動ギヤケース(11)内に搬送されるようにした、ことを特徴とするディーゼルエンジン。
  2. 請求項1に記載されたディーゼルエンジンにおいて、
    ガバナレバー(7)にエンジンオイル(14)を供給するオイルポンプ(15)をクランク軸で駆動するに当たり、
    ねじポンプ(21)もクランク軸で駆動されるようにした、ことを特徴とするディーゼルエンジン。
  3. 請求項2に記載されたディーゼルエンジンにおいて、
    ねじポンプ(21)のロータ(24)の一端部にねじポンプギヤ(25)が設けられ、
    燃料噴射カムギヤ(12)のリム(26)の内周に内歯(27)が設けられ、この内歯(27)にねじポンプギヤ(25)が噛合している、ことを特徴とするディーゼルエンジン。
  4. 請求項1から請求項3のいずれかに記載されたディーゼルエンジンにおいて、
    ねじポンプ(21)のロータ(24)の一端部にねじポンプギヤ(25)が設けられ、
    ねじポンプ(21)のオイル吐出口(23)からねじポンプギヤ(25)に向けてエンジンオイル(14)が吐出されるようにした、ことを特徴とするディーゼルエンジン。
JP2008241077A 2008-09-19 2008-09-19 ディーゼルエンジン Expired - Fee Related JP4892532B2 (ja)

Priority Applications (1)

Application Number Priority Date Filing Date Title
JP2008241077A JP4892532B2 (ja) 2008-09-19 2008-09-19 ディーゼルエンジン

Applications Claiming Priority (1)

Application Number Priority Date Filing Date Title
JP2008241077A JP4892532B2 (ja) 2008-09-19 2008-09-19 ディーゼルエンジン

Publications (2)

Publication Number Publication Date
JP2010071231A true JP2010071231A (ja) 2010-04-02
JP4892532B2 JP4892532B2 (ja) 2012-03-07

Family

ID=42203245

Family Applications (1)

Application Number Title Priority Date Filing Date
JP2008241077A Expired - Fee Related JP4892532B2 (ja) 2008-09-19 2008-09-19 ディーゼルエンジン

Country Status (1)

Country Link
JP (1) JP4892532B2 (ja)

Cited By (1)

* Cited by examiner, † Cited by third party
Publication number Priority date Publication date Assignee Title
JP2013204499A (ja) * 2012-03-28 2013-10-07 Yanmar Co Ltd 燃料噴射ポンプ

Citations (7)

* Cited by examiner, † Cited by third party
Publication number Priority date Publication date Assignee Title
JPS52151244A (en) * 1976-06-09 1977-12-15 Matsushita Seiko Co Ltd Humidifier
JPS53138024A (en) * 1977-05-06 1978-12-02 Mitsubishi Electric Corp Position indicator
JPS6149115A (ja) * 1984-08-16 1986-03-11 Kawasaki Heavy Ind Ltd ロツカ−ア−ム室の給油装置
JPS62114169A (ja) * 1985-11-13 1987-05-25 Sharp Corp 光ディスク装置用リニアモータ
JP2000104592A (ja) * 1998-09-25 2000-04-11 Kubota Corp メカニカルガバナ付きディーゼルエンジン
JP2006132450A (ja) * 2004-11-05 2006-05-25 Fuji Heavy Ind Ltd バーチカルエンジンの潤滑装置
JP2008025603A (ja) * 2006-07-18 2008-02-07 Yamaha Marine Co Ltd 船外機の潤滑構造

Patent Citations (7)

* Cited by examiner, † Cited by third party
Publication number Priority date Publication date Assignee Title
JPS52151244A (en) * 1976-06-09 1977-12-15 Matsushita Seiko Co Ltd Humidifier
JPS53138024A (en) * 1977-05-06 1978-12-02 Mitsubishi Electric Corp Position indicator
JPS6149115A (ja) * 1984-08-16 1986-03-11 Kawasaki Heavy Ind Ltd ロツカ−ア−ム室の給油装置
JPS62114169A (ja) * 1985-11-13 1987-05-25 Sharp Corp 光ディスク装置用リニアモータ
JP2000104592A (ja) * 1998-09-25 2000-04-11 Kubota Corp メカニカルガバナ付きディーゼルエンジン
JP2006132450A (ja) * 2004-11-05 2006-05-25 Fuji Heavy Ind Ltd バーチカルエンジンの潤滑装置
JP2008025603A (ja) * 2006-07-18 2008-02-07 Yamaha Marine Co Ltd 船外機の潤滑構造

Cited By (1)

* Cited by examiner, † Cited by third party
Publication number Priority date Publication date Assignee Title
JP2013204499A (ja) * 2012-03-28 2013-10-07 Yanmar Co Ltd 燃料噴射ポンプ

Also Published As

Publication number Publication date
JP4892532B2 (ja) 2012-03-07

Similar Documents

Publication Publication Date Title
US20080223662A1 (en) Internal combustion engine and vehicle having the internal combustion engine
US8667947B2 (en) Oil passage structure of engine
JP2014190239A (ja) 機械式燃料ポンプ
JP4892532B2 (ja) ディーゼルエンジン
CN100501137C (zh) 一种立式单缸柴油机
US7013860B2 (en) Dry-sump, four-stroke engine lubrication device
JP4892535B2 (ja) ディーゼルエンジン
CA2497727A1 (en) Valve train lubricating structure in internal combustion engine
JP2011075010A (ja) パワーユニット
JP6414150B2 (ja) エンジンのオイル供給装置
JP5356166B2 (ja) エンジン
JP4236354B2 (ja) ドライサンプ式エンジンの潤滑装置
CN101598045A (zh) 发动机组
JP4954234B2 (ja) ディーゼルエンジン
JP6071362B2 (ja) 車両用エンジンのオイル循環構造
JP2006177270A (ja) 内燃機関の可変圧縮比機構
CN210660248U (zh) 一种链条润滑结构及具有其的发动机
JP5396313B2 (ja) ディーゼルエンジン
JP5215269B2 (ja) 多気筒ディーゼルエンジン
JP6792377B2 (ja) 内燃機関
CN105402583B (zh) 一种转子式机油泵
JP6000784B2 (ja) 内燃機関
JP2008115727A (ja) ドライサンプ式エンジン
CN201027555Y (zh) 一种立式单缸柴油机
JP2011069237A (ja) ディーゼルエンジン

Legal Events

Date Code Title Description
A621 Written request for application examination

Free format text: JAPANESE INTERMEDIATE CODE: A621

Effective date: 20100927

A977 Report on retrieval

Free format text: JAPANESE INTERMEDIATE CODE: A971007

Effective date: 20111031

TRDD Decision of grant or rejection written
A01 Written decision to grant a patent or to grant a registration (utility model)

Free format text: JAPANESE INTERMEDIATE CODE: A01

Effective date: 20111213

A01 Written decision to grant a patent or to grant a registration (utility model)

Free format text: JAPANESE INTERMEDIATE CODE: A01

A61 First payment of annual fees (during grant procedure)

Free format text: JAPANESE INTERMEDIATE CODE: A61

Effective date: 20111219

R150 Certificate of patent or registration of utility model

Ref document number: 4892532

Country of ref document: JP

Free format text: JAPANESE INTERMEDIATE CODE: R150

Free format text: JAPANESE INTERMEDIATE CODE: R150

FPAY Renewal fee payment (event date is renewal date of database)

Free format text: PAYMENT UNTIL: 20141222

Year of fee payment: 3

LAPS Cancellation because of no payment of annual fees