JP2010070349A - インクジェットプリンタ - Google Patents

インクジェットプリンタ Download PDF

Info

Publication number
JP2010070349A
JP2010070349A JP2008241369A JP2008241369A JP2010070349A JP 2010070349 A JP2010070349 A JP 2010070349A JP 2008241369 A JP2008241369 A JP 2008241369A JP 2008241369 A JP2008241369 A JP 2008241369A JP 2010070349 A JP2010070349 A JP 2010070349A
Authority
JP
Japan
Prior art keywords
recording paper
print
unit
printing
recording
Prior art date
Legal status (The legal status is an assumption and is not a legal conclusion. Google has not performed a legal analysis and makes no representation as to the accuracy of the status listed.)
Granted
Application number
JP2008241369A
Other languages
English (en)
Other versions
JP5439778B2 (ja
Inventor
Ryoji Tokai
良次 東海
Current Assignee (The listed assignees may be inaccurate. Google has not performed a legal analysis and makes no representation or warranty as to the accuracy of the list.)
Noritsu Koki Co Ltd
Original Assignee
Noritsu Koki Co Ltd
Priority date (The priority date is an assumption and is not a legal conclusion. Google has not performed a legal analysis and makes no representation as to the accuracy of the date listed.)
Filing date
Publication date
Application filed by Noritsu Koki Co Ltd filed Critical Noritsu Koki Co Ltd
Priority to JP2008241369A priority Critical patent/JP5439778B2/ja
Priority to US12/559,371 priority patent/US20100073449A1/en
Priority to DE102009041146A priority patent/DE102009041146A1/de
Priority to CN200910172180A priority patent/CN101676106A/zh
Publication of JP2010070349A publication Critical patent/JP2010070349A/ja
Application granted granted Critical
Publication of JP5439778B2 publication Critical patent/JP5439778B2/ja
Active legal-status Critical Current
Anticipated expiration legal-status Critical

Links

Images

Landscapes

  • Handling Of Sheets (AREA)
  • Registering Or Overturning Sheets (AREA)

Abstract

【課題】単票紙であっても支障なく連続印刷することができ、安定して高品質な印刷ができるインクジェットプリンタを提供する。
【解決手段】プラテン23の支持面23aに吸着保持される記録紙(単票紙)Pに向けてインクを吐出するプリントヘッドH、支持面23a上に記録紙Pを搬入する第1印刷搬送部101、支持面23a上から記録紙Pを搬出する第2印刷搬送部102、これらを制御する搬送制御部103を備える。第1印刷搬送部101及び第2印刷搬送部102はそれぞれ第1モータ104及び第2モータ108で別々に駆動制御されている。複数の記録紙Pが連続処理され、連続する2枚の記録紙P1,P2におけるP1の後端とP2の先端とが第1印刷搬送部101と第2印刷搬送部102の間に位置したときに、P1の後端に対しP2の先端が所定の間隔tで追随するように設定されている。
【選択図】 図18

Description

本発明は、インクジェットプリンタに関し、その中でも単票紙の連続搬送機構に関する。
従来よりこの種のプリンタでは、表面に多数の吸引孔が設けられたプラテンをプリントヘッドに対向して配設するとともに、減圧装置を設けてプラテンの裏面側を所定の負圧に保持し、プラテン上に搬送されてくる記録紙をこれら吸引孔で吸引保持することが行われている(例えば、特許文献1)。
また、記録紙の搬送機構に関しては、例えば、プリントヘッド近傍の上下流にそれぞれ設けられた圧着型の第1搬送ローラ及び第2搬送ローラにおいて、第1搬送ローラを駆動するサーボモータにエンコーダを取り付けてロールタイプの記録紙(ロール紙)を精度高く搬送できるようにしたインクジェットプリンタが開示されている。尚、第2搬送ローラはベルト伝動機構を介して前記サーボモータにより同期して作動するように構成されている(特許文献2)。
特開2006−27812号公報 特開2007−301943号公報
前記特許文献2のように、使用される記録紙がロール紙である場合には、記録紙がプラテン上を連なった状態で搬送されることから、その幅方向内側に位置する吸引孔は常に記録紙で塞がれた状態となっていた。
ところが、所定サイズに裁断された単票紙の場合には、連続印刷すると、前後に隣接する記録紙の端部間に隙間ができてしまうため、その隙間に位置する吸引孔が開放状態となってプラテン表面側の空気を吸い込むようになる。その吸引力は比較的強力なうえに、その隙間はプリントヘッドの主走査方向、つまりプリントヘッドがインクを吐出しながら走る方向に沿って形成されるため、インクの吸い込みや印刷ずれ、滲み等の不具合を生じるおそれがある。
しかも、処理速度が上がれば隙間の大きさも大きくばらついて印刷が不安定になり易いし、印刷時の記録紙を搬送する第1及び第2の搬送ローラが同期して作動することから、いったん2枚の記録紙がこれら第1及び第2の搬送ローラ間に入り込んでしまうと、大きな隙間ができていても対処できず、印刷品質の向上を図るうえでは改善の余地があった。
本発明は、斯かる点に鑑みてなされたものであり、その目的とするところは、単票紙であっても支障なく連続印刷することができ、安定して高品質な印刷ができるインクジェットプリンタを提供することにある。
前記の目的を達成するために、本発明では、第1印刷搬送部と、第2印刷搬送部とをそれぞれ別々に駆動制御したうえで、前の記録紙にその後の記録紙が所定間隔で追随するように設定した。
具体的には、複数の吸引孔が設けられている支持面を有するプラテンと、前記支持面に吸着保持される記録紙に向けてインクを吐出するプリントヘッドと、前記支持面上に記録紙を搬入する第1印刷搬送部と、前記支持面上から記録紙を搬出する第2印刷搬送部と、前記第1印刷搬送部及び第2印刷搬送部を制御する搬送制御部と、を備えたインクジェットプリンタであって、前記第1印刷搬送部及び前記第2印刷搬送部は、それぞれ別々に駆動制御されていて、記録紙として所定の大きさに裁断された単票紙が用いられ、複数の記録紙が連続処理されて、連続する2枚の記録紙における先方の後端と後方の先端とが前記第1印刷搬送部と前記第2印刷搬送部との間に位置したときに、先方の記録紙の後端に対し、後方の記録紙の先端が所定の間隔で追随するように設定されていることを特徴とする。
係る構成によれば、前後の記録紙の間に形成される隙間が常に所定の間隔に保持されるので、単票紙を連続印刷しても、安定して高品質な印刷を行うことができる。
詳しくは、前記第1印刷搬送部は、記録紙を搬送する圧着型の第1印刷搬送ローラ対と、該第1印刷搬送ローラ対を駆動する第1モータと、該第1モータ用の第1ロータリエンコーダとを有し、前記設定が、前記第1ロータリエンコーダから入力される計測値を利用して前記搬送制御部が前記第1モータを駆動制御することによって行われれるようにすることができる。
そうすれば、比較的簡単な構成でありながら、第1印刷搬送部を精度高く制御することができるため、低コストで高品質な画像品質を実現することができる。
更には、前記複数の吸引孔は、個々の吸引孔群が前記支持面上を記録紙の搬送方向に略直交して一列に並ぶように配置されている複数の吸引孔群で構成されていて、前記所定の間隔が、隣接する前記吸引孔群間の最も小さい間隔よりも小さく設定されているようにしてあってもよい。
そうすれば、複数の吸引孔群を同時に開放することがなくなるので、吸引用孔による影響が急増して画像品質が大きく低下するのを防止できる。
以上説明したように、本発明のインクジェットプリンタによれば、プラテンの吸引孔の影響を効果的に抑制することができるため、単票紙であっても支障なく連続印刷することができ、安定して高品質な印刷ができる。
以下、本発明の実施形態を図面に基づいて詳細に説明する。まず、本発明のインクジェットプリンタの全体構造について説明し、そのうえで本発明のポイントとなる印刷搬送機構について詳しく説明する。
{プリンタの全体構造について}
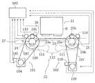
図1は、本発明の実施形態に係るインクジェットプリンタAの外観を示し、図2は、インクジェットプリンタAの内部の構成を概略的に示す。このインクジェットプリンタAは、写真プリントシステムに用いられるものであって、例えば、画像データを取得して必要な補正処理等を行う受付ブロックから通信ケーブルを介して伝送される画像データに基づいて記録紙P(図3、図6等参照)に印刷を行うものである。この記録紙Pは、所定の大きさに裁断された単票紙であり、この大きさとしては複数種類の大きさが予め設定されている(記録紙Pの大きさに応じて記録紙Pの長さ及び幅が決まっている)。
前記インクジェットプリンタAは、下面にキャスター3が設けられた筐体2を有するプリンタ本体部1と、このプリンタ本体部1の筐体2の一側面の上部に着脱自在に取り付けられかつ複数枚の記録紙Pをその厚み方向に重ねた状態で収容可能なカセット5と、前記筐体2の上面に着脱自在に取り付けられた両面印刷ユニット7とを備えている。尚、本実施形態では、前記カセット5が取り付けられる側(図2の左側)をプリンタ前側といい、その反対側(図2の右側)をプリンタ後側という。また、図2の紙面と垂直な方向は、プリンタ左右方向であって、前記カセット5に収容されかつプリンタ本体部1及び両面印刷ユニット7において搬送される記録紙Pの幅方向と一致している。
図2に示すように前記両面印刷ユニット7がプリンタ本体部1に取り付けられた状態で、後に詳細に説明するように記録紙Pの表裏両面に印刷することが可能になる。一方、記録紙Pの片面のみに印刷し、両面印刷が必要でない場合には、通常、両面印刷ユニット7をプリンタ本体部1から外しておく(図13参照)。但し、両面印刷ユニット7がプリンタ本体部1に取り付けられた状態であっても、記録紙Pの片面のみに印刷することは可能である。両面印刷した記録紙Pを複数枚束ねることで、フォトアルバムないしフォトブックを作製することができる。
前記カセット5は、記録紙Pの大きさ毎に異なるものであり、オペレータは、カセット5をプリンタ本体部1に取り付けたときに、そのカセット5に対応した記録紙Pの大きさ(長さ及び幅)を、不図示の操作スイッチにより入力する。また、不図示の操作部材の操作によって、後述の補正機構81の幅規制部材84,85(図10参照)を、記録紙Pの幅に対応した位置への位置合わせを行う。尚、カセット5に例えばICチップを設けて、このICチップに記録紙Pの大きさ等を記憶するようにしておき、カセット5が取り付けられたときに、プリンタ本体部1が該ICチップの記憶内容を読み取るようにしてもよい。こうすれば、オペレータの前記入力作業は不要になる。また、オペレータの操作スイッチによる前記入力結果、又はICチップの記憶内容の読み取り結果に応じて、補正機構81の幅規制部材84,85の位置合わせをモータにより自動で行うようにしてもよい。
図3に詳細に示すように、前記カセット5内には、記録紙Pをその厚み方向に重ねた状態でセットするためのセットトレイ11が配設されている。このセットトレイ11は、カセット5内において、該セットトレイ11のプリンタ前後方向の略中央にてプリンタ左右方向に延びる軸11a回りに回動可能に支持されている。セットトレイ11は、そのプリンタ後側端が上昇する側に回動するようにバネで付勢されている。これにより、セットトレイ11上にセットされた複数枚の記録紙Pのうち最上部の記録紙Pが、カセット5内のプリンタ後側端部の上部に配設された送出しローラ14に当接することになる。
前記送出しローラ14は、プリンタ本体部1の側に配設された不図示のモータにより図3で反時計回り方向に駆動されるようになっており、このモータにより送出しローラ14が回転駆動されると、最上部の記録紙Pが1枚だけプリンタ後側へ移動してカセット5の外側へ送り出される。このとき、最上部の記録紙Pの下側に位置する記録紙Pが最上部の記録紙Pに引き摺られて複数枚の記録紙Pがカセット5の外側へ同時に送り出されないようにするために、送出しローラ14が所定量だけ回転すると、トレイ押下げ機構16によって、セットトレイ11のプリンタ後側端が下降するようになされている。
前記トレイ押下げ機構16は、前記プリンタ本体部1に、プリンタ左右方向に延びる軸17a回りに回動可能に支持されたトレイ押下げレバー17と、このトレイ押下げレバーを前記軸17a回りに回動させるためのレバー回動カム18とを有している。このレバー回動カム18は、不図示のモータにより軸18a回りに回動するようになされている。また、トレイ押下げレバー17の一端部は、カセット5をプリンタ本体部1に取り付けたときに、カセット5内に、セットトレイ11のプリンタ後側端部の上側に位置するように進入する。一方、トレイ押下げレバー17の他端部は、レバー回動カム18のカム面に当接している。この当接状態を常に維持するためにトレイ押下げレバー17は、前記他端部がレバー回動カム18の側へ移動するように(つまり一端部が上側に移動するように)バネで付勢されている。
そして、送出しローラ14が所定量だけ回転したときに、レバー回動カム18が回転し、これにより、トレイ押下げレバー17の前記一端部がセットトレイ11のプリンタ後側端部に当接してこれを押し下げる。これにより、最上部の記録紙Pの下側に位置する記録紙Pが最上部の記録紙Pに引き摺られるのが防止され、複数枚の記録紙Pがカセット5の外側へ同時に送り出されなくなる。尚、レバー回動カム18が半回転すると、トレイ押下げレバー17の前記一端部が上昇し始め、これに伴って、セットトレイ11のプリンタ後側端が前記バネにより上昇して、次に最上部となる記録紙Pが送出しローラ14に当接する。レバー回動カム18が1回転したとき、レバー回動カム18の回転が停止し、トレイ押下げレバー17は初期の状態に戻る。
前記送出しローラ14によりカセット5の外側に送り出された記録紙Pは、プリンタ本体部1における後述の印刷部21へ供給されるようになっている。このことで、カセット5の送出しローラ14は、印刷部5へ記録紙Pを供給する記録紙供給部を構成する。
前記プリンタ本体部1の筐体2内の上部における前記カセット5の取付部近傍には、前記画像データに基づいて印刷を行う印刷部21が設けられている。この印刷部21は、図4及び図5に詳細に示すように、記録紙Pの片側面(上側面)に印刷するプリントヘッドHと、前記送出しローラ14より供給された記録紙Pを、該記録紙Pへの印刷時に該送出しローラ14とは反対側(プリンタ後側)へ搬送する印刷搬送部22と、この印刷搬送部22より搬送される記録紙Pを支持するプラテン23とを備えている。
前記印刷搬送部22の上流側端部(プリンタ前側端部)には圧着型の第1印刷搬送ローラ対(上流側ローラ対24ともいう)を含む第1印刷搬送部が、また印刷搬送部22の下流側端部(プリンタ後側端部)には圧着型の第2印刷搬送ローラ対(下流側ローラ対25ともいう)を含む第2印刷搬送部がそれぞれ配設されている。前記上流側ローラ対24を挟んでその上流側及び下流側には、記録紙Pを検出する第1及び第2センサ27,28(共に投光部と受光部とからなる)がそれぞれ配設されている。
尚、印刷搬送部22等のこれらの詳細については別途後述する。
前記プリントヘッドHは、記録紙Pの上側位置において記録紙Pの幅方向(プリンタ左右方向)と一致する主走査方向X(図5参照)に延びる2本のガイドレール31に沿って移動可能に構成されている。また、プリントヘッドHは、主走査方向Xと垂直であって記録紙Pの移動方向(プリンタ前後方向)と一致する副走査方向Y(図5参照)に並ぶ2つのヘッドユニット32を有しており、これら2つのヘッドユニット32の下面に設けられている多数のインク吐出ノズル(図示省略)から複数色のインクを下側へ向けて吐出することで、記録紙Pの上側面に対して所定の画像を印刷できるようになっている。本実施形態では、ヘッドユニット32が副走査方向Yに2段に並んで配設されているが、ヘッドユニット32は2段である必要はなく、1段や3段以上であってもよい。
本実施形態のプリントヘッドHは、熱膨張の影響を抑制するために、耐熱性に優れたLCP(liquid crystal polymer)を用いて形成されている。複数のヘッドユニット32,32を有しているため、これらの間の距離が温度上昇によって変化し、印刷ずれを生じて印刷品質が低下するのを防止するためである。
前記両ヘッドユニット32は同一構成であり、各々、主走査方向Xに配設された、各色のインクを吐出するための複数のノズルアレイを有している。この各ノズルアレイにおいて、前記インク吐出ノズルが副走査方向Yに列状に配設されている。これにより、各ヘッドユニット32は、単体でカラー画像を形成可能な構成とされている。そして、記録紙Pは、前記上流側ローラ対24又は下流側ローラ対25により一定の単位搬送量で間欠的に(ステップ状に)副走査方向Yに搬送され、この間欠搬送時における記録紙Pの各停止時に、プリントヘッドHが主走査方向Xに一走査(一往動作又は一復動作)されて、この走査時に、主走査方向Xの各位置で、各ヘッドユニット32の各色のインク吐出ノズルからインクが記録紙Pの上側面に対して同時に吐出される。つまり、プリントヘッドHの一走査後に、記録紙Pが単位搬送量だけ搬送され、その後、再びプリントヘッドHが一走査され、この動作が繰り返し行われて、所望の画像が印刷されることになる。
ここで、本実施形態におけるプリントヘッドHのインク吐出のための構成としては、インクが充填された圧力室内の容積がピエゾ素子によって変化することで、圧力室に連通するインク吐出ノズルからインクを吐出する一般的なピエゾ方式のものを採用している。
前記プラテン23は板状の部材からなり、その上面が記録紙Pを支持する支持面23aとされている。このプラテン23には、厚み方向(上下方向)に貫通して支持面23aに開口する多数の吸引用孔23b(図5参照)が設けられている。
各吸引用孔23bは、プリンタの左右方向及び前後方向に沿ってそれぞれ一列に並ぶように配列されている。詳しくは、記録紙の搬送方向に沿って見たときには、プラテンの支持面上に、一群の吸引用孔23b,23b,・・・(吸引孔群)が記録紙Pの搬送方向に略直交するプリンタ左右方向に一列に並んでいて、これら個々の吸引孔群がプリンタ前後方向に所定の間隔で複数配置されている。
プラテン23の下側には、該プラテン23と共に空間を形成するケース体35が配設され、このケース体35の下側に、ファン等を含む吸引装置36が配設されている。そして、前記吸引用孔23bは、前記ケース体35内の空間と連通し、この空間は、吸引装置36の吸込み口と連通しており、吸引装置36の作動により吸引用孔23bを介してプラテン23の支持面23a側に負圧が生じ、このことで、記録紙Pがプラテン23の支持面23a上に吸着保持されることになる。これにより、印刷時の記録紙Pの平面性を確保して印刷品質を向上させることが可能になる。
また、プラテン23の支持面23aには、インク吸収材38を収容するための、副走査方向Yに延びる凹部23c(図5参照)が形成されている。このインク吸収材38は、記録紙P全体に画像を印刷する縁なし印刷を行う際に、プリントヘッドH(ヘッドユニット32)より吐出したインクの一部が前記支持面23a上の記録紙Pの幅方向の端縁から外側に外れてはみ出したとしても、その外側に外れたインクによりプラテン23の支持面23aが汚れるのを防止するために設けられたものである。このため、前記凹部23cは、支持面23aにおいて該支持面23a上の記録紙Pの幅方向の端縁に対応する位置でかつ副走査方向YにおけるプリントヘッドHに対応する位置において、該端縁に沿って延びる(つまり副走査方向Yに延びる)ように形成されている。図5の例では、5種類の幅の記録紙Pに対応可能にするべく、片側5個ずつの合計10個の凹部23cが設けられている。前記インク吸収材38は、インク吸収性に優れた、例えばスポンジ状のものが好ましい。
ここで、前記縁なし印刷を行う場合、記録紙Pの幅方向については端縁ぎりぎりにインクを吐出し、その端縁からはみ出したインクを前記インク吸収材38により吸収するようにしているが、記録紙Pの先端及び後端ぎりぎりにはインクを吐出せず、所定量(例えば2mm)だけ余白をあけて印刷を行う。そして、この余白を後述のカッター40により切断することで、縁なしに仕上げる。このようにするのは、記録紙Pの先端又は後端に向けてインクを吐出すると、そのインクが前記吸引用孔23bによる吸い込み作用により吸引用孔23bへ引き込まれて印刷品質が低下するとともに、支持面23aがインクで汚れるからである。
前記プリンタ本体部1の筐体2内の上部における前記印刷搬送部22の下流側には、印刷搬送部22の下流側端部(下流側ローラ対25)より送り出された記録紙Pを、表裏反転しかつ搬送の向きが逆向きになるようにUターンさせるUターン部45が設けられている。
前記Uターン部45と印刷搬送部22との間には、前記縁なし印刷を行う場合において記録紙Pの先端及び後端における前記余白を切断するカッター40が配設されている。このカッター40は、記録紙Pの搬送経路の上側に配置された固定刃40aと、記録紙Pの搬送経路の下側に配置され、不図示のモータにより該固定刃40aに対して上下方向に移動する可動刃40bとで構成され、可動刃40bが記録紙Pの下側から上側に移動することで記録紙Pを切断する。この切断による切り屑は、筐体2の下部に配設された屑箱41(図2参照)に落下して収容される。尚、記録紙Pの両面に印刷を行う場合には、両面に印刷を行った後にカッター40により前記余白を切断する。
前記Uターン部45には、該Uターン部45の上流側部分に配設されかつ印刷搬送部22からの記録紙Pを挟持して更にプリンタ後側へ搬送する圧着型の2組の搬送ローラ対46と、該搬送ローラ対46により搬送されてきた記録紙Pの搬送の向きを上側へ変更する第1向き変更部材47と、この第1向き変更部材47の下流側に配設されかつ記録紙Pを挟持して上側へ搬送する圧着型の2組の搬送ローラ対48と、該搬送ローラ対48により搬送されてきた記録紙Pの搬送の向きをプリンタ前側へ変更する第2向き変更部材49と、Uターン部45の下流側端部に配設され、記録紙Pを挟持してUターン部45から排出する圧着型の搬送ローラ対50と、この搬送ローラ対50の近傍位置に配設されかつ記録紙Pが当該位置にあることを検出する第3センサ51(投光部と受光部とからなる)とが設けられている。尚、前記2組の搬送ローラ対48の間には、下側の搬送ローラ対48から送り出された記録紙Pの先端を上側の搬送ローラ対48へと導く一対のガイド板52が、搬送路を挟むように配設されている。
Uターン部45の上流側部分における2組の搬送ローラ対46の間には、前記印刷部21において記録紙Pの上側面に付着したインクを乾燥させるための乾燥風Wを該記録紙Pの上側面に吹き付ける乾燥装置53が設けられている。この乾燥装置53は、該乾燥装置53内に空気を取り込むための吸入ファン54と、この吸入ファン54で取り込んだ空気を加熱する加熱ヒータ55と、乾燥装置53の下端部に開口して、加熱ヒータ55で加熱された空気を乾燥風Wとして記録紙Pの上側面に吹き付ける排気ノズル部56と、乾燥装置53内の温度を検出して加熱ヒータ55を緊急停止させる安全サーモ57とを備えている。
前記Uターン部45の全搬送ローラ対46,48,50において、記録紙Pにおける前記印刷部21による印刷面とは反対側の面に接触するローラ(上流側部分における2組の搬送ローラ対46では下側のローラであり、その下流側の2組の搬送ローラ対48ではプリンタ後側のローラであり、搬送ローラ対50では、上側のローラである)は、それぞれ駆動ローラ46a,48a,50aとされ、前記印刷面に接触するローラ(搬送ローラ対46では上側のローラであり、搬送ローラ対48ではプリンタ前側のローラであり、搬送ローラ対50では、下側のローラである)は、それぞれ従動ローラ46b,48b,50bとされている。これら従動ローラ46b,48b,50bは、駆動ローラ46a,48a,50aよりも軟質な材料で構成されている。例えば、駆動ローラ46a,48a,50aはポリプロピレンからなり、従動ローラ46b,48b,50bは発泡ウレタンからなる。このように前記印刷面に接触する従動ローラ46b,48b,50bを軟質にすることで、記録紙Pの搬送速度の許容速度を高めることが可能になる。また、前記印刷面とは反対側の面に接触する駆動ローラ46a,48a,50aを硬質にすることで、記録紙Pの搬送精度を確保して、蛇行等を生じ難くすることができる。
前記全ての駆動ローラ46a,48a,50aは同じモータ(図示せず)により駆動される。そして、この駆動ローラ46a,48a,50aの回転速度、つまり搬送ローラ対46,48,50による記録紙Pの搬送速度は可変に構成されている。すなわち、前記乾燥装置53による前記インクの乾燥度合いは、インクジェットプリンタAが設置された環境条件(温度や湿度等)に応じて変化するため、これに応じて搬送速度を変更する。また、前記両面印刷ユニット7がプリンタ本体部1に取り付けられている場合には、記録紙Pが両面印刷ユニット7により搬送されている間に前記インクが乾燥すればよいので、乾燥装置53により前記インクが完全には乾燥しないような比較的速い速度に設定する。一方、両面印刷ユニット7がプリンタ本体部1に取り付けられていない場合(図13参照)には、Uターン部45から搬送ローラ対50により排出された記録紙Pは、そのまま筐体2の外側に排出されて筐体2の上面に重ねて載置されるようになっており、このため、乾燥装置53により前記インクがほぼ完全に乾燥するような遅めの速度に設定する。
前記第3センサ51は、記録紙Pの後端を検出して、該記録紙PのUターン部45からの排出を検出するものである。前記両面印刷ユニット7がプリンタ本体部1に取り付けられていない場合には、記録紙Pの筐体2外側への排出を検出することになる。一方、両面印刷ユニット7がプリンタ本体部1に取り付けられている場合には、記録紙Pの後端の検出から、該後端が搬送ローラ対50から外れる量だけ記録紙Pが搬送されたときに、両面印刷ユニット7での記録紙Pの搬送速度を変更(アップ)する。
前記両面印刷ユニット7は、筐体2の上面を覆う第1ユニット8と、前記カセット5の上方に位置する第2ユニット9との2分割構造になっている。そして、両面印刷ユニット7がプリンタ本体部1に取り付けられている状態で、第1ユニット8のみを筐体2から取り外すことが可能になっている。この第1ユニット8が取り外された状態で、筐体2の上面に設けたメンテナンス開口(通常時は蓋で塞がれる)を介して印刷部21(特にプリントヘッドH等)のメンテナンス作業を行うことができる。したがって、両面印刷ユニット7をプリンタ本体部1に取り付けた後においても、印刷部21のメンテナンス作業を容易に行うことができる。
前記両面印刷ユニット7の第1ユニット8内には、前記Uターン部45から送り出された記録紙Pを、前記印刷部21を超えて前記カセット5の側(印刷部21に対してプリンタ前側)へ搬送するリバース搬送部61が設けられている。このリバース搬送部61には、記録紙Pを挟持してプリンタ前側へ搬送する圧着型の3組の搬送ローラ対62と、リバース搬送部61の下流側端部(第1ユニット8のプリンタ前側端部)の位置に配設されかつ記録紙Pが当該位置にあることを検出する第4センサ63(投光部と受光部とからなる)とが設けられている。
前記リバース搬送部61における搬送路は、プリンタ前側へ向かって下側に僅かに傾斜する直線路とされている。この傾斜の理由は以下の通りである。すなわち、前記Uターン部45の搬送ローラ対50の高さ位置は、両面印刷ユニット7がプリンタ本体部1に取り付けられていない場合に記録紙Pが載置される筐体2上面に、十分な枚数の記録紙Pが載置可能な高さ位置にする必要がある。一方、第2ユニット9内における後述のスイッチバック部66では、スイッチバックした記録紙Pを印刷搬送部22の上流側端部へ供給する後述の供給ローラ対69の数を、記録紙Pの最小長さとの関係を考慮して出来る限り減らすことが望ましく、このためにはスイッチバック部66は印刷搬送部22に近い高さ位置にする必要がある。このことから、Uターン部45とスイッチバック部66とを接続するリバース搬送部61における搬送路を前記の如く傾斜させている。
前記リバース搬送部61の全搬送ローラ対62において、記録紙Pにおける前記印刷部21による印刷面とは反対側の面に接触するローラ(上側のローラ)は、駆動ローラ62aとされ、前記印刷面に接触するローラ(下側のローラ)は、従動ローラ62bとされている。前記Uターン部45の搬送ローラ対46,48,50と同様に、従動ローラ62bは、駆動ローラ62aよりも軟質な材料で構成されている。
前記全ての駆動ローラ62aは同じモータ(図示せず)により駆動される。そして、この駆動ローラ62aの回転速度、つまり搬送ローラ対62による記録紙Pの搬送速度は、前記Uターン部45の搬送ローラ対46,48,50の駆動ローラ46a,48a,50aと同様に、可変に構成されている。前述の如く、第3センサ51による記録紙Pの後端の検出から、該後端が搬送ローラ対50から外れる量だけ記録紙Pが搬送されたときに、搬送速度をアップする。すなわち、Uターン部45では搬送経路が曲線であるため、印刷面を傷付けることなく安定して搬送できる速度にする必要があり、また、記録紙Pの後端が搬送ローラ対50よりも上流側に位置する状態では、搬送ローラ対62による記録紙Pの搬送速度をUターン部45での搬送速度と同じにする必要があるが、記録紙Pの後端が搬送ローラ対50から外れれば、記録紙Pを直線の搬送経路で搬送するので、許容速度が上昇し、搬送速度をアップする。但し、下流側に存在する記録紙Pの状況(存在枚数や存在位置)によって、搬送速度を調整する。
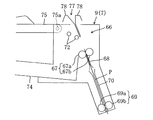
前記第2ユニット9内には、前記リバース搬送部61より搬送されてきた記録紙Pを、スイッチバックさせて該記録紙Pの後端側から前記印刷搬送部22の上流側端部へ供給するスイッチバック部66が設けられている。このスイッチバック部66には、下側の駆動ローラ67aと上側の従動ローラ67bとからなる圧着型のスイッチバックローラ対67と、このスイッチバックローラ対67の上流側において搬送路を挟むように設けられ、前記リバース搬送部61より搬送されてきた記録紙Pをスイッチバックローラ対67へ導く一対の第1ガイド部材68と、スイッチバックした記録紙Pを印刷搬送部22の上流側端部へ供給する圧着型の供給ローラ対69と、スイッチバックローラ対67と供給ローラ対69との間において搬送路を挟むように設けられ、スイッチバックした記録紙Pを供給ローラ対69へ導く一対の第2ガイド部材70とが設けられている。
前記スイッチバックローラ対67の駆動ローラ67aは、不図示のモータにより、記録紙Pを挟持してプリンタ前側へ搬送する正回転と、記録紙Pを挟持してプリンタ後側へ搬送する逆回転とが可能に構成されている。
前記スイッチバックローラ対67及び第1ガイド部材68は、不図示のモータにより、スイッチバックローラ対67の駆動ローラ67aの回転軸回りに一体的に回動可能になっており、これにより、スイッチバックローラ対67の従動ローラ67bが、駆動ローラ67aに対してほぼ真上に位置する第1の位置(図6参照)と、駆動ローラ67aに対してプリンタ後側に位置する第2の位置(図7参照)とに切り換えられるようになっている。また、第1ガイド部材68は、従動ローラ67bが第1の位置にあるときには、リバース搬送部61における搬送路の延長上に位置し(図6参照)、従動ローラ67bが第2の位置にあるときには、前記第2ガイド部材70の延長上に位置する(図7参照)。
ここで、リバース搬送部61より搬送されてきた記録紙Pをスイッチバックさせる方法を説明する。スイッチバックローラ対67が、リバース搬送部61より搬送されてきた記録紙Pを受け取る際には、駆動ローラ67aは正回転しており、従動ローラ67bは第1の位置にある。そして、前記第4センサ63が記録紙Pの後端を検出してから、当該後端が第1ガイド部材68に位置するような量だけスイッチバックローラ対67により記録紙Pをプリンタ前側へ搬送したところで(図6参照)、駆動ローラ67aの正回転を停止する。このとき、記録紙Pの少なくとも先端部は、後述の載置トレイ74上に位置する。
続いて、スイッチバックローラ対67及び第1ガイド部材68を図6で時計回り方向に回動させて従動ローラ67bを第1の位置から第2の位置へ切り換える。これにより、記録紙Pの先端側(プリンタ前側)が持ち上げられて、スイッチバックローラ対67に対して上側でかつプリンタ前側に配設された2つの補助ローラ72に当接した状態で湾曲する(図7参照)。
その後、駆動ローラ67aを逆回転させて、記録紙Pをその後端側から供給ローラ対69の側へ向けて搬送する。このとき、記録紙Pの搬送に伴って補助ローラ72が回転し、これにより、スイッチバックする記録紙Pの後端側部分(駆動ローラ67aの正回転時の先端側部分に相当)がスムーズに移動するとともに、第2ユニット9の内壁面等に擦れて傷が付くようなこともない。スイッチバックローラ対67によりスイッチバックする記録紙Pは、第1ガイド部材68及び第2ガイド部材70を通って、供給ローラ対69のところに達する(図8参照)。
前記供給ローラ対69は、不図示のモータにより駆動される駆動ローラ69aと、この駆動ローラ69aに対して圧着される従動ローラ69bとからなる。この従動ローラ69bの駆動ローラ69aに対する圧着状態は、後述の如く解除することが可能になっている(スイッチバックローラ対67の従動ローラ67bも同様)。
前記供給ローラ対69の下側には、プリンタ本体部1の筐体2におけるプリンタ前側面の上部に設けられた一対の第3ガイド部材73が、搬送路を挟むように配設されており、この第3ガイド部材73を介して記録紙Pが印刷搬送部22の上流側端部へ供給されることになる。このように両面印刷ユニット7を介して印刷搬送部22に供給された記録紙Pの上側面は、当該記録紙Pに対して印刷部21にて最初に印刷された面(以下、表側面という)とは反対側の面(以下、裏側面という)であり、未だ印刷されていない面である。そして、最初の印刷時と同様に裏側面に印刷することで、当該記録紙Pの両面に印刷されることになる。
前記スイッチバックローラ対67は、リバース搬送部61より搬送されてきた記録紙Pを、スイッチバックさせないで第2ユニット9の外側へ排出する役目もしている。すなわち、スイッチバックローラ対67は、記録紙Pを第2ユニット9の外側へ排出する際には、駆動ローラ67aの正回転を途中で停止しないで回転し続ける。そして、第2ユニット9の外壁のプリンタ前側面には、スイッチバックローラ対67により送り出された記録紙Pを受け止めて載置する載置トレイ74が設けられている。前記のように両面に印刷された記録紙Pや、表側面のみの印刷で済ませる記録紙Pは、スイッチバックローラ対67によって第2ユニット9の外側へ排出されて載置トレイ74上に載置されることになる。
前記第2ユニット9の外壁のプリンタ前側面における前記載置トレイ74の上側には、載置トレイ74に載置された記録紙Pに埃等が付着するのを防止するカバー部材75が、載置トレイ74の上側を覆うように片持ち状に支持されている。このカバー部材75は、その基端部(プリンタ後側端部)にてプリンタ左右方向に延びる軸75a回りに回動可能に支持されており、カバー部材75を軸75a回りに回動させて基端部から上側へ延びるように立てた状態にすることも可能である。
前記第2ユニット9の外壁の上面における前記スイッチバックローラ対67の近傍には、記録紙Pを手差し挿入することが可能な手差し挿入用開口部77が形成されている。この手差し挿入用開口部77には、一対の手差し用ガイド部材78が、手差し挿入される記録紙Pを厚み方向に挟むように配設され、この手差し用ガイド部材78により、手差し挿入された記録紙Pの先端をスイッチバックローラ対67の側へ導く。また、手差し挿入用開口部77は、蓋部材79(図1参照)により覆われており、オペレータは、記録紙Pを手差し挿入する際には、この蓋部材79を開けるとともに、不図示のモードスイッチを操作して、手差しモードに切り換える。これにより、図9に示すように、スイッチバックローラ対67の従動ローラ67bが第2の位置に切り換えられるとともに、駆動ローラ67aが逆回転する。そして、オペレータが記録紙Pを手差し挿入用開口部77から挿入する。このとき、前記カバー部材75を立てた状態にしておけば、カバー部材75が記録紙Pを支持する受け皿の役目を果たし、記録紙Pの挿入が容易になる。こうして記録紙Pを手差し挿入用開口部77から挿入すると、その記録紙Pがスイッチバックローラ対67によって供給ローラ対69の側へ向けて搬送され、スイッチバックして搬送される記録紙Pと同様に、供給ローラ対69によって、印刷搬送部22(印刷部21)へ供給される。
前記スイッチバック部66における第2ガイド部材70のプリンタ左右両側には、図10に示すように、印刷搬送部22へ供給される記録紙Pの幅方向の位置を補正する補正機構81が設けられている。この補正機構81は、前記スイッチバックローラ対67の従動ローラ67bを圧着解除状態にする左右一対の上側解除レバー82と、前記供給ローラ対69の従動ローラ69bを圧着解除状態にする左右一対の下側解除レバー83と、前記記録紙Pの幅方向両側端に当接する左右一対の幅規制部材84,85とを有している。
図11に示すように、前記各上側解除レバー82及び各下側解除レバー83は、プリンタ左右方向に延びる軸82a,83a回りにそれぞれ回動可能になっている。各上側解除レバー82の一端部は、前記スイッチバックローラ対67における第2の位置にある圧着状態の従動ローラ67bの軸端部の近傍に位置する一方、各上側解除レバー82の他端部は、プリンタ左右方向に延びる軸86aに支持された解除カム86のカム面に当接している。また、各下側解除レバー83の一端部は、前記供給ローラ対69の従動ローラ69bの軸端部に連結されている一方、各下側解除レバー83の他端部は、前記解除カム86のカム面に当接している。
前記解除カム86はその軸86aと共に不図示のモータにより回転するようになっており、この解除カム86が90°回転することにより、図12に示すように、各上側解除レバー82が軸82a回りに同図で時計回り方向に回動してスイッチバックローラ対67の従動ローラ67bが圧着解除状態とされるとともに、各下側解除レバー83が軸83a回りに同図で反時計回り方向に回動して供給ローラ対69の従動ローラ69bが圧着解除状態とされる。そして、解除カム86が更に90°回転すると、スイッチバックローラ対67及び供給ローラ対69の従動ローラ67b,69bが圧着状態とされる。したがって、上側解除レバー82、下側解除レバー83及び解除カム86は、スイッチバックローラ対67及び供給ローラ対69の圧着状態及び圧着解除状態を切り換える切換え機構を構成する。
前記幅規制部材84,85は、前述したようにオペレータの操作によって、印刷処理する記録紙Pの幅に対応した位置に位置している。すなわち、幅規制部材84,85は、印刷処理する記録紙Pの幅方向両側端にそれぞれ当接する位置に位置している。これら幅規制部材84,85は、互いの対向面に開口する矩形の溝部が形成されるように折り曲げられてなり、これらの溝部の底面が記録紙Pの幅方向両側端にそれぞれ当接する。尚、前記溝部の底面の上流側部分は、記録紙Pが溝部内に導かれるように、上流側に向かって搬送路の幅方向外側に傾斜している。
そして、一方(図10で左側)の幅規制部材84は、オペレータの操作によって位置付けられた位置を挟んで所定量だけ記録紙Pの幅方向に移動可能に構成されていて、他方(図10で右側)の幅規制部材85に対して近付くようにバネで付勢されている。また、前記幅規制部材85は、オペレータの操作によって位置付けられた位置に固定されている。前記幅規制部材84の付勢により記録紙Pが幅規制部材85の側に押されて、記録紙Pの幅規制部材85側の端が幅規制部材85に当接する。このときの記録紙Pの位置が搬送路の幅方向の基準位置となるように幅規制部材85が配置されている。
しかし、前記幅規制部材84の付勢力は比較的弱く、このため、記録紙Pがスイッチバックローラ対67、又は、スイッチバックローラ対67及び供給ローラ対69により搬送されている際には、前記幅規制部材84は、該ローラ対67,69による搬送力に負けて、記録紙Pを幅規制部材85の側に押すことはできない。すなわち、幅規制部材84の付勢力は、スイッチバックローラ対67及び供給ローラ対69の従動ローラ67b,69bを前記切換え機構により圧着解除状態に切り換えたときに、記録紙Pをその幅方向に移動させることが可能な値に設定されている。このため、幅規制部材84は、記録紙Pの搬送中は、記録紙Pの幅方向の位置を補正することはできず、記録紙Pの蛇行に伴って記録紙Pの幅方向に移動する。この結果、記録紙Pは、前記基準位置から図10で左側にずれる傾向にある。
そこで、補正機構81は、スイッチバックローラ対67及び供給ローラ対69の従動ローラ67b,69bを圧着解除状態に切り換えることで、幅規制部材84の付勢により記録紙Pを幅規制部材85の側へ移動させることによって、搬送路に対する記録紙Pの幅方向の位置を補正する。具体的には、記録紙Pの先端が所定位置(例えば供給ローラ対69の少し下流側)に達したときに、スイッチバックローラ対67及び供給ローラ対69による記録紙Pの搬送を停止し、その後、スイッチバックローラ対67及び供給ローラ対69の従動ローラ67b,69bを前記切換え機構により圧着解除状態にする。これにより、記録紙Pはフリー状態になるため、前記幅規制部材84の付勢によって幅規制部材85の側へ移動し、記録紙Pが搬送路の幅方向の基準位置に正確に合わせられる。このようにして搬送路に対する記録紙Pの幅方向の位置が補正されるとともに、搬送路に対する記録紙Pの姿勢(傾き)も正規の姿勢に補正される。そして、前記圧着解除から所定時間(記録紙Pが幅規制部材84の付勢によって移動して補正が完了するまでの時間)が経過したとき、スイッチバックローラ対67及び供給ローラ対69の従動ローラ67b,69bを前記切換え機構により圧着状態にして、スイッチバックローラ対67及び供給ローラ対69による記録紙Pの搬送を再開する。
前記補正動作は、同じ記録紙Pに対して1回又は複数回実行されるものであり、複数回実行される場合には、前記搬送の再開から記録紙Pが所定量だけ搬送されたときに、搬送を再度停止して、前記と同様の動作を繰り返す。前記補正動作の実行回数は、記録紙Pの特性(長さ、厚み等の寸法特性や、硬さ、面質(光沢やマット)等の材料特性)に応じて決定される。例えば、記録紙Pの長さ(前述の如くオペレータによって入力される記録紙Pの大きさ)が長くなるほど前記実行回数を多くして、記録紙Pの長さ方向全体に亘って幅方向の位置の補正を行う。また、記録紙Pの厚みや硬さ(オペレータが入力するか、又はICチップに記憶しておいて、それを読み取る)等によって、記録紙Pが幅方向に移動し難くなるので、その分だけ前記実行回数を多くする。この実行回数に応じて、補正動作の実行に際して記録紙Pを停止させる位置(つまり前記所定位置及び所定量)を変更することが好ましい。
こうして記録紙Pは、搬送路の幅方向の基準位置に正確に合わされた状態で印刷搬送部22(印刷部21)に供給され、このことで、印刷部21にて記録紙Pの適切な位置に安定的に印刷が行われ、印刷品質が向上する。
前記Uターン部45、リバース搬送部61及びスイッチバック部66は、前記印刷搬送部22の下流側端部と上流側端部とを接続して該印刷搬送部22と共にプリントヘッドHを囲むような周回搬送路を形成しかつ該印刷搬送部22の下流側端部より送り出された、表側面に印刷された記録紙Pを、表裏反転させて該印刷搬送部22の上流側端部へ供給する記録紙再供給部88を構成する。この記録紙再供給部88により、表側面に印刷された記録紙Pを、表裏反転させて印刷部21へ再供給することができ、この記録紙Pの裏側面にも印刷することで、記録紙Pの両面に印刷を行うことができる。
前記裏側面に印刷された記録紙Pは、Uターン部45及びリバース搬送部61により、表側面に印刷された後の搬送時(当該記録紙Pの1回目の搬送時)と同様に、スイッチバック部66へと搬送される。このとき、スイッチバック部66のスイッチバックローラ対67は正回転し続けて、記録紙Pを載置トレイ74上に排出する。尚、裏側面に印刷された記録紙PがUターン部45及びリバース搬送部61により搬送される際、搬送ローラ対46,48,50,62の駆動ローラ46a,48a,50a,62aが記録紙Pの表側面に接触することになるが、この時点では、表側面に付着したインクは既に完全に乾燥しているので、記録紙Pを1回目の搬送時と同じ速度で搬送しても問題はない。但し、より一層印刷品質を向上させるべく、2回目の搬送時の搬送速度を1回目の搬送時よりも遅くすることも可能である。
前記記録紙再供給部88は、前記印刷部21にて1枚の記録紙Pへの印刷中に、当該記録紙Pよりも前に印刷した少なくとも1枚の記録紙Pを保持可能な搬送経路長さに設定されている。これにより、1枚の記録紙Pの表側面に印刷してから裏側面に印刷するまでの期間を、後続の少なくとも1枚の記録紙Pの印刷に利用することができる。
例えば、前記複数種類の大きさのうち最も小さい記録紙Pに対して両面印刷を行う場合、1枚目から4枚目までの記録紙Pを連続してカセット5から印刷部21へ供給して、印刷部21にてそれら記録紙Pの表側面に連続して印刷を行う。4枚目の記録紙Pに対して印刷を行っているときに、先に印刷された3枚の記録紙Pは、記録紙再供給部88のいずれかの部分に位置している(通常、1枚目の記録紙Pはスイッチバック部66に、2枚目の記録紙Pはリバース搬送部61に、3枚目の記録紙PはUターン部45にそれぞれ位置している)。そして、4枚目の記録紙Pへの印刷が終了すると、今度は、表側面に印刷した前記1枚目の記録紙Pを印刷部21へ供給して該1枚目の記録紙Pの裏側面に印刷を行い、続けて前記2枚目から4枚目までの記録紙Pの裏側面に連続して印刷を行う。この4枚目の記録紙Pの裏側面に印刷を行っているときに、1枚目の記録紙Pはスイッチバックローラ対67によって載置トレイ74上に排出され、2枚目及び3枚目の記録紙Pはリバース搬送部61及びUターン部45にそれぞれ位置する。
前記4枚目の記録紙Pの裏側面への印刷が終了すると、今度は5枚目から8枚目までの記録紙Pを連続してカセット5から印刷部21へ供給し、印刷部21にてそれら記録紙Pの表側面に連続して印刷を行う。こうして4枚の記録紙Pを1組として記録紙Pの表側面及び裏側面に印刷を順次行っていく。尚、両面印刷を行う2組の間に、片面印刷を行う組を介在させることも可能である。
したがって、1枚の記録紙Pのみに対して両面印刷を行う場合には、表側面に印刷された記録紙Pが記録紙再供給部88の長い搬送経路を通った後に該記録紙Pの裏側面に印刷されるので、処理時間が長くなるが、業務用途等の所定枚数以上の記録紙に対して両面印刷を行う場合には、記録紙再供給部88により少なくとも1枚の記録紙Pを搬送中に他の記録紙Pに対して印刷を行うことができ、印刷処理能力を向上させることができる。また、印刷部21にて記録紙Pの表側面に付着したインクを、裏側面に印刷を行うまでの間に十分に乾燥させることができ、この乾燥状態で裏側面に印刷することで、記録紙Pの両面がインクで同時に濡れるようなことはなくなり、インクの染み込みによる裏写り等が生じるのを確実に防止することができる。また、記録紙Pにカールや波打現象が生じ難くなる。よって、記録紙Pの印刷品質が低下するのを防止することができる。
{印刷搬送機構}
次に、本発明のポイントとなっている印刷搬送機構について詳細に説明する。この印刷搬送機構の主体を構成している印刷搬送部22は、印刷を行う印刷部21に記録紙Pを搬入、搬出するとともに、プラテン23と協働して印刷時における記録紙Pの位置決めを行うものであるため、インクジェットプリンタの中でも特に高い搬送精度が求められている。
ところが、上述したように記録紙Pを連続処理する場合には、連続する記録紙P,P,・・・の間に隙間が空いてしまうため、プラテン23で吸引保持されたときに、その隙間に位置する吸引用孔23bが開放されて支持面23a側の空気を強く吸い込むようになる。そうなると、インクの吸い込みや印刷ずれ、滲み等が生じて画像品質の低下を招くおそれがある。
そこで、本発明では、前記隙間をできるだけ小さくした状態で安定して搬送できるように工夫されている。すなわち、第1印刷搬送部101と、第2印刷搬送部102とをそれぞれ別々に駆動制御したうえで、前の記録紙Pにその後の記録紙Pが所定間隔で追随するように設定した。
図14は印刷搬送機構の構成を示す概念図であり、図15は印刷部21及び印刷搬送部22周辺を示した斜視図であり、図16は印刷搬送部22の要部を示す側面図である。
図14に示すように、印刷搬送機構は、プラテン23の支持面23a上に記録紙Pを搬入する第1印刷搬送部101や、プラテン23の支持面23a上から記録紙Pを搬出する第2印刷搬送部102、これら第1印刷搬送部101及び第2印刷搬送部102を制御する搬送制御部103、踏み換え機構などで構成されている。
前記第1印刷搬送部101は、先に述べた第1印刷搬送ローラ対24と、この第1印刷搬送ローラ対24を駆動する第1モータ104と、この第1モータ104用の第1ロータリエンコーダ105とを有している。具体的には、第1印刷搬送ローラ対24は、下側に位置する第1印刷搬送駆動ローラ24a(第1駆動ローラ24aともいう)と上側に位置する第1印刷搬送従属ローラ24b(第1従属ローラ24bともいう)とで構成されていて、第1駆動ローラ24aはスプロケット106とベルト107で構成された伝動機構を介して第1モータ104に連結されている。第1モータ104には、その回転角度や回転速度を高精度に計測することができる第1ロータリエンコーダ105が付設されている。
前記第2印刷搬送部102も同様に、先に述べた第2印刷搬送ローラ対25と、この第2印刷搬送ローラ対25を駆動する第2モータ108と、この第2モータ108用の第2ロータリエンコーダ110とを有し、第2印刷搬送ローラ対25は、下側に位置する第2印刷搬送駆動ローラ25a(第2駆動ローラ25aともいう)と上側に位置する第2印刷搬送従属ローラ25b(第2従属ローラ25bともいう)とで構成されていて、第2駆動ローラ25aはスプロケット106とベルト107で構成された伝動機構を介して第2モータ108に連結されている。第2モータ108にも第2ロータリエンコーダ110が付設されている。
また、第1印刷搬送ローラ対24及び第2印刷搬送ローラ対25のそれぞれには、各々のローラの温度を直接計測する温度センサ111,111が取り付けられている。これら温度センサ111,111によってローラの温度を精度高く計測することが可能になるため、ローラの温度変化によって生じる搬送誤差を補正することができるようになっている。従って、長時間連続処理した場合でも、処理の最後の方でローラの搬送に誤差が生じて画像品質が低下するのを防ぐことができるため、業務用等、連続処理の多い用途でも安定した印刷品質を得ることができる。
前記搬送制御部103は、図示はしないがCPUやROM等で構成されていて、所定の制御を実行するソフトウエアが実装されている。例えば、各温度センサ111から入力される計測値に基づいて各印刷搬送ローラ対24,25の搬送条件がローラの温度にかかわらず一定に保たれるように、各モータ104,108の出力を補正する温度補正制御がこれらによって実行されるようになっている。搬送制御部103はその他にも、後述する踏み換え制御や記録紙追随制御なども実行する。
踏み換え機構は、図14や図16に示すように、一対のアーム112,112、カム部材114などで構成されている。
各アーム112は、プリンタ左右方向に延びる軸115,116回りに基端部が回動自在に支持されたアーム基部112aと、基端部に連なってアーム基部112aと略直交状に延びるローラ受部112bと、アーム基部112aの先端部に連なってローラ受部112bと対向状に延びるカム係合部112cとを有している。カム係合部112cはローラ受部112bよりも十分長く形成されているため、アーム112は外観視L字状となっている。各アーム112は、それぞれのカム係合部112cの先端部側が互いに向かい合うように配設されていて、これらカム係合部112cの先端側がそれぞれ下方に向かう方向に不図示のバネで付勢されている。各ローラ受部112bの先端側には、それぞれ前記第1従属ローラ24b、前記第2従属ローラ25bが回動自在に支持されており、各カム係合部112cの先端側にはカム部材114と係合するカム係合ローラ117,117がそれぞれ回動自在に支持されている。
カム部材114は、その周囲の一部を切り取ったような切欠部114aを有する比較的大径のローラ部材からなり、前記2つのカム係合ローラ117,117に近接してこれら間の下方位置に配設されている。カム部材114は、プリンタ左右方向に延びる軸に回動自在に支持されていて、伝動機構を介してモータ118で回転駆動され、搬送制御部103によってその動作が制御されるようになっている。
カム部材114の切欠部114aが上方に位置して各アーム112のカム係合ローラ117と当接しない状態では、バネの付勢力により、それぞれのローラ受部112bに支持された第1従属ローラ24b及び第2従属ローラ25bが第1駆動ローラ24a及び第2駆動ローラ25aにそれぞれ圧着し、図16に示すように、各アーム112のカム係合部112cが同一直線上を延びるように略水平に位置している(圧着状態)。
そして、カム部材114が回動変位し、その円周部分がいずれかのアーム112のカム係合ローラ117に当接すると、バネに抗してそのカム係合部112cの先端側が上方に向かう方向にアーム112が回動する。そうすることによって第1従属ローラ24bと第2従属ローラ25bの両方、あるいはいずれか一方が、それぞれの駆動ローラ24a,25aから離れて圧着状態が解除されることとなる(解除状態)。
すなわち、各印刷搬送ローラ対24,25の圧着状態と解除状態とが切り替わることによって記録紙Pの踏み換えが行われていて、先に述べた第1センサ27及び第2センサ28との協働により搬送制御部103がその制御を実行している(踏み換え制御)。
第1センサ27は、前記カセット5又は両面印刷ユニット7より記録紙Pの先端がプリンタ本体部1の筐体2内に入ったことを検出するものであり、例えばこの検出により、搬送制御部103によって第1駆動ローラ24aが駆動される。第2センサ28は、第1印刷搬送ローラ対24によってプラテン23側に送り出された記録紙Pの先端を検出するものであり、例えばこの第2センサ28による記録紙Pの先端の検出によって記録紙Pの印刷タイミングが算出され、その印刷タイミングで当該記録紙Pへの印刷が開始されるようになっている。また、この第2センサ28による記録紙Pの先端の検出は踏み換え制御の基点ともなっている。
{踏み換え制御)
図17は、その踏み換え制御における動作を模式的に表している。まず、同図の(a)に示すように、記録紙Pの先端がプリンタ本体部1の筐体2内に入って第1駆動ローラ24aが駆動され、第1印刷搬送ローラ対24によって当該記録紙Pがプラテン23上に搬入されると、第2センサ28によってその先端が検出される。そうすると、搬送制御部103は当該記録紙Pの先端部が第2印刷搬送ローラ対25に達するタイミングを算出する。そして、同図の(b)に示すようにそのタイミングになると、搬送制御部103はカム部材114を制御、つまりカム部材114を所定角度まで回動変位させて第1印刷搬送ローラ対24の圧着状態を解除するのとほぼ同時に第2印刷搬送ローラ対25を圧着状態にして第2駆動ローラ25aを駆動させる。そうして今度は同図の(c)に示すように、第2印刷搬送ローラ対25に切り替えて当該記録紙Pをプラテン23上から搬出するのである。
このように第1印刷搬送ローラ対24と第2印刷搬送ローラ対25とを交互に切り替える踏み換え制御を行うのは、一枚の記録紙Pが同時に両ローラ対24,25に圧着して搬送されるような状態になると、両ローラ対24,25の搬送力のずれによって記録紙Pが過度に引っ張られたり、撓んだりして印刷に不具合を招くおそれがあるからである。
従って、このように踏み換え機構及び踏み換え制御によって記録紙Pが第1印刷搬送ローラ対24と第2印刷搬送ローラ対25で同時に搬送されるのを確実に防止することで、高品質な画像を安定して得られるようになっている。
そして、更に安定した画像品質の向上と処理能力の向上が図れるように、記録紙追随制御プログラムが実装されている。
{記録紙追随制御}
記録紙追随制御は、複数の記録紙P,P,・・・が連続処理されて、連続する2枚の記録紙P1,P2における先方P1の後端と後方P2の先端とが第1印刷搬送ローラ対24と第2印刷搬送ローラ対25との間に位置したときに、先方の記録紙P1の後端に対し、後方の記録紙P2の先端が所定の間隔tで追随するように制御するものである。
すなわち、記録紙追随制御は、例えば第1ロータリエンコーダ105及び第2ロータリエンコーダ110から入力される回転角度等の計測値や第2センサ28から入力される各記録紙Pの先端の検出タイミング、印刷処理部21から入力されるプリントヘッドHの走査タイミング等に基づいて搬送制御部103が第1モータ104の駆動を制御することによって実行される。
具体的には、例えば図18の(a)に示すように、ある記録紙P1(先行紙P1ともいう)が第2印刷搬送ローラ対25によって一定の単位搬送量で間欠的に搬出されながら印刷が行われている時に、先行紙P1に続いて別の記録紙P2(後行紙P2ともいう)の先端が第1印刷搬送ローラ対24に達すると、第1印刷搬送ローラ対24によって後行紙P2はプラテン23上に搬入される。
そして、後行紙P2の先端が第2センサ28によって検出されると、その後の後行紙P2の搬送量が搬送制御部103によって正確に制御されるようになる。またこのとき、搬送制御部103は、第2センサ28によって検出された先行紙P1の先端の検出タイミングや第2ロータリエンコーダ110で計測される回転角度等に基づいて先行紙P1の搬送量についても正確に制御しており、搬送制御部103は、図18の(b)に示すように、先行紙P1の印刷が完了する前に、後行紙P2の先端が先行紙P1の後端から所定の間隔tだけ後方に離れた位置に達するように第1モータ104を制御する。先行紙P1は間欠搬送状態にあるため、後行紙P2は先行紙P1に簡単に追いつくことができる。
そうして、その後はその所定の間隔tを保った状態で先行紙P1と後行紙P2とが搬送されるように搬送制御部103は第1モータ104を制御するのである。尚、後行紙P2は可能な限り先行紙P1に追随するようになっていればよく、例えば先行紙P1の印刷状況によっては、所定の間隔tを一時的に大きくして直ぐに戻すようにしてあってもよい。
ここで、前記所定の間隔tは、隣接する前記吸引孔群間の最も小さい間隔Lよりも小さく、具体的には1mm〜3mmの間に設定するのが好ましい。
1mmより小さいと、記録紙Pの寸法のばらつきや搬送時における記録紙Pの傾きによって先行紙P1の後端と後行紙P2の先端とが重なるおそれがある一方で、3mmより大きいと、プラテン23上のプリンタ左右方向に一列に並ぶ吸引用孔23b,23b,・・・(吸引孔群)だけでなく、プリンタ前後方向に隣接して位置する他の吸引孔群まで開放してしまい、画像品質が大きく低下するおそれがあるからである。従って、本実施形態の所定の間隔tは、吸引群間の間隔が最も狭い間隔Lよりも小さい略2mmに設定されている。
このように、後行紙P2が所定の間隔tを保持しながら先行紙P1に追随するように制御することで、使用される記録紙Pが単票紙であっても、吸引用孔23bの影響が最小限になり、例えばプリントヘッドHが走査してインクを吐出する際にインクを吸い込んだり、インクの記録紙Pへの付着位置がずれたり、記録紙Pに付着したインクが滲んだりするのを効果的に抑制することができ、画像品質を向上させることができる。
更に、連続する記録紙P間に形成される隙間が安定して最小の状態に保持されることから、それだけ時間当たりの処理能力が向上し、多量に連続処理する場合に有利なものとなる。
以上説明したように、本発明のインクジェットプリンタAによれば、記録紙Pを印刷部21に搬入、搬出する第1搬送部101と第2搬送部102とを別駆動にしたうえで、これら第1搬送部101及び第2搬送部102の間に、一枚の記録紙Pが位置する場合には第1印刷搬送ローラ対24と第2印刷搬送ローラ対25とによる同時搬送を確実に回避するとともに、2枚の記録紙P,Pが位置する場合には前後の記録紙P,Pの隙間をできるだけ小さく保持して吸引孔の影響を抑制するようになっているので、単票紙を連続処理しても安定して高品質な印刷を行うことができる。
本発明は、記録紙の両面に印刷を行うインクジェットプリンタに有用であり、特に業務用途等の多数の記録紙に対して両面印刷を行う場合に有用である。
本発明の実施形態に係るインクジェットプリンタの外観を示す斜視図である。 インクジェットプリンタの内部の構成を示す、側方から見た概略図である。 カセットの内部の詳細を示す断面図である。 印刷部及びUターン部の詳細を示す側面図である。 印刷部の詳細を示す平面図である。 スイッチバック部のスイッチバックローラ対が、リバース搬送部より搬送されてきた記録紙を受け取っている状態を示す概略図である。 スイッチバックローラ対の従動ローラが第2の位置に切り換えられた状態を示す図6相当図である。 スイッチバックローラ対が記録紙を供給ローラ対のところまでスイッチバックさせた状態を示す図6相当図である。 記録紙が手差し挿入用開口部より手差し挿入されている状態を示す図6相当図である。 スイッチバック部の詳細を示す斜視図である。 図10のC方向矢示図である。 スイッチバックローラ対及び供給ローラ対の従動ローラを圧着解除状態にしている状態を示す図11相当図である。 両面印刷ユニットをプリンタ本体部から外した状態を示す図2相当図である。 印刷搬送機構の構成を示す概念図である。 印刷部及び印刷搬送部周辺を示した斜視図である。 印刷搬送部の要部を示す側面図である 踏み換え機構を説明するための図である。(a)〜(c)は、それぞれそのポイントとなる段階を表している。 記録紙追随制御を説明するための図である。(a)、(b)は、それぞれそのポイントとなる段階を表している。
符号の説明
A インクジェットプリンタ
H プリントヘッド
P 記録紙
1 プリンタ本体部
5 カセット
7 両面印刷ユニット
14 送出しローラ(記録紙供給部)
21 印刷部
22 印刷搬送部
23 プラテン
23a 支持面
23b 吸引用孔
24 第1印刷搬送ローラ対
25 第2印刷搬送ローラ対
45 Uターン部
61 リバース搬送部
66 スイッチバック部
81 補正機構
88 記録紙再供給部
101 第1印刷搬送部
102 第2印刷搬送部
103 搬送制御部
104 第1モータ
105 第1ロータリエンコーダ
108 第二モータ
110 第2ロータリエンコーダ
t 所定の間隔

Claims (3)

  1. 複数の吸引孔が設けられている支持面を有するプラテンと、前記支持面に吸着保持される記録紙に向けてインクを吐出するプリントヘッドと、前記支持面上に記録紙を搬入する第1印刷搬送部と、前記支持面上から記録紙を搬出する第2印刷搬送部と、前記第1印刷搬送部及び第2印刷搬送部を制御する搬送制御部と、を備えたインクジェットプリンタであって、
    前記第1印刷搬送部及び前記第2印刷搬送部は、それぞれ別々に駆動制御されていて、
    記録紙として所定の大きさに裁断された単票紙が用いられ、
    複数の記録紙が連続処理されて、連続する2枚の記録紙における先方の後端と後方の先端とが前記第1印刷搬送部と前記第2印刷搬送部との間に位置したときに、先方の記録紙の後端に対し、後方の記録紙の先端が所定の間隔で追随するように設定されていることを特徴とするインクジェットプリンタ。
  2. 請求項1に記載のインクジェットプリンタにおいて、
    前記第1印刷搬送部は、記録紙を搬送する圧着型の第1印刷搬送ローラ対と、該第1印刷搬送ローラ対を駆動する第1モータと、該第1モータ用の第1ロータリエンコーダとを有し、
    前記設定が、前記第1ロータリエンコーダから入力される計測値を利用して前記搬送制御部が前記第1モータを駆動制御することによって行われていることを特徴とするインクジェットプリンタ。
  3. 請求項1又は請求項2に記載のインクジェットプリンタにおいて、
    前記複数の吸引孔は、個々の吸引孔群が前記支持面上を記録紙の搬送方向に略直交して一列に並ぶように配置されている複数の吸引孔群で構成されていて、
    前記所定の間隔が、隣接する前記吸引孔群間の最も小さい間隔よりも小さく設定されていることを特徴とするインクジェットプリンタ。
JP2008241369A 2008-09-19 2008-09-19 インクジェットプリンタ Active JP5439778B2 (ja)

Priority Applications (4)

Application Number Priority Date Filing Date Title
JP2008241369A JP5439778B2 (ja) 2008-09-19 2008-09-19 インクジェットプリンタ
US12/559,371 US20100073449A1 (en) 2008-09-19 2009-09-14 Inkjet printer
DE102009041146A DE102009041146A1 (de) 2008-09-19 2009-09-14 Tintenstrahldrucker
CN200910172180A CN101676106A (zh) 2008-09-19 2009-09-15 喷墨打印机

Applications Claiming Priority (1)

Application Number Priority Date Filing Date Title
JP2008241369A JP5439778B2 (ja) 2008-09-19 2008-09-19 インクジェットプリンタ

Publications (2)

Publication Number Publication Date
JP2010070349A true JP2010070349A (ja) 2010-04-02
JP5439778B2 JP5439778B2 (ja) 2014-03-12

Family

ID=42202505

Family Applications (1)

Application Number Title Priority Date Filing Date
JP2008241369A Active JP5439778B2 (ja) 2008-09-19 2008-09-19 インクジェットプリンタ

Country Status (1)

Country Link
JP (1) JP5439778B2 (ja)

Citations (3)

* Cited by examiner, † Cited by third party
Publication number Priority date Publication date Assignee Title
JP2001239713A (ja) * 2000-03-01 2001-09-04 Canon Inc 搬送装置及び画像形成装置
JP2006131415A (ja) * 2004-10-04 2006-05-25 Olympus Corp 画像記録装置及びその記録方法
JP2007301943A (ja) * 2006-05-15 2007-11-22 Noritsu Koki Co Ltd プリント装置

Patent Citations (3)

* Cited by examiner, † Cited by third party
Publication number Priority date Publication date Assignee Title
JP2001239713A (ja) * 2000-03-01 2001-09-04 Canon Inc 搬送装置及び画像形成装置
JP2006131415A (ja) * 2004-10-04 2006-05-25 Olympus Corp 画像記録装置及びその記録方法
JP2007301943A (ja) * 2006-05-15 2007-11-22 Noritsu Koki Co Ltd プリント装置

Also Published As

Publication number Publication date
JP5439778B2 (ja) 2014-03-12

Similar Documents

Publication Publication Date Title
US20100073449A1 (en) Inkjet printer
JP4985434B2 (ja) デカール機構
JP5014384B2 (ja) 記録装置およびシート処理方法
JP4715938B2 (ja) 画像記録装置
JP2007145485A (ja) 記録媒体搬送機構及びこれを備えた画像記録装置
US20110001785A1 (en) Image forming system
JP5309829B2 (ja) インクジェットプリンタ
JP2011084382A (ja) 画像形成装置
JP2011189643A (ja) プリンタ
JP2011189643A6 (ja) プリンタ
JP2010069723A (ja) インクジェットプリンタ
JP4192734B2 (ja) 媒体搬送装置およびこれを備えた画像形成装置
JP5439778B2 (ja) インクジェットプリンタ
JP2010089459A (ja) インクジェットプリンタ
JP2010070348A (ja) インクジェットプリンタ
JP2004292068A (ja) 画像形成装置
JP5610413B2 (ja) 画像形成装置
JP5370224B2 (ja) プリンタの搬送調整方法
JP5125932B2 (ja) 画像形成装置
JP2010070318A (ja) プリンタ
JP2010069765A (ja) インクジェットプリンタ
JP5536380B2 (ja) 両面シートとその搬送装置並びにこれらを用いた画像形成装置及び画像形成方法
JP2010069786A (ja) 画像形成装置
JP2011189638A (ja) プリンタ
JP2011183696A (ja) プリンタ

Legal Events

Date Code Title Description
A711 Notification of change in applicant

Free format text: JAPANESE INTERMEDIATE CODE: A712

Effective date: 20110225

A621 Written request for application examination

Free format text: JAPANESE INTERMEDIATE CODE: A621

Effective date: 20110819

A977 Report on retrieval

Free format text: JAPANESE INTERMEDIATE CODE: A971007

Effective date: 20121105

A131 Notification of reasons for refusal

Free format text: JAPANESE INTERMEDIATE CODE: A131

Effective date: 20121113

A131 Notification of reasons for refusal

Free format text: JAPANESE INTERMEDIATE CODE: A131

Effective date: 20130709

A521 Request for written amendment filed

Free format text: JAPANESE INTERMEDIATE CODE: A523

Effective date: 20130809

TRDD Decision of grant or rejection written
A01 Written decision to grant a patent or to grant a registration (utility model)

Free format text: JAPANESE INTERMEDIATE CODE: A01

Effective date: 20131119

A61 First payment of annual fees (during grant procedure)

Free format text: JAPANESE INTERMEDIATE CODE: A61

Effective date: 20131202

R150 Certificate of patent or registration of utility model

Ref document number: 5439778

Country of ref document: JP

Free format text: JAPANESE INTERMEDIATE CODE: R150

Free format text: JAPANESE INTERMEDIATE CODE: R150

S533 Written request for registration of change of name

Free format text: JAPANESE INTERMEDIATE CODE: R313533

R350 Written notification of registration of transfer

Free format text: JAPANESE INTERMEDIATE CODE: R350

R250 Receipt of annual fees

Free format text: JAPANESE INTERMEDIATE CODE: R250

R250 Receipt of annual fees

Free format text: JAPANESE INTERMEDIATE CODE: R250

R250 Receipt of annual fees

Free format text: JAPANESE INTERMEDIATE CODE: R250

R250 Receipt of annual fees

Free format text: JAPANESE INTERMEDIATE CODE: R250

R250 Receipt of annual fees

Free format text: JAPANESE INTERMEDIATE CODE: R250

R250 Receipt of annual fees

Free format text: JAPANESE INTERMEDIATE CODE: R250

R250 Receipt of annual fees

Free format text: JAPANESE INTERMEDIATE CODE: R250

R250 Receipt of annual fees

Free format text: JAPANESE INTERMEDIATE CODE: R250

R250 Receipt of annual fees

Free format text: JAPANESE INTERMEDIATE CODE: R250

R250 Receipt of annual fees

Free format text: JAPANESE INTERMEDIATE CODE: R250