JP2010069535A - 金属的な成形構成部品をプレスクエンチするための方法及び装置 - Google Patents

金属的な成形構成部品をプレスクエンチするための方法及び装置 Download PDF

Info

Publication number
JP2010069535A
JP2010069535A JP2009216808A JP2009216808A JP2010069535A JP 2010069535 A JP2010069535 A JP 2010069535A JP 2009216808 A JP2009216808 A JP 2009216808A JP 2009216808 A JP2009216808 A JP 2009216808A JP 2010069535 A JP2010069535 A JP 2010069535A
Authority
JP
Japan
Prior art keywords
blank holder
holder
blank
region
steel plate
Prior art date
Legal status (The legal status is an assumption and is not a legal conclusion. Google has not performed a legal analysis and makes no representation as to the accuracy of the status listed.)
Granted
Application number
JP2009216808A
Other languages
English (en)
Other versions
JP5039106B2 (ja
Inventor
Kiyoto Kondo
清人 近藤
Friedrich Bohner
ボーナー フリードリヒ
Martin Pohl
ポール マルティン
Robert Stockter
シュトックター ローベルト
Current Assignee (The listed assignees may be inaccurate. Google has not performed a legal analysis and makes no representation or warranty as to the accuracy of the list.)
Benteler Automobiltechnik GmbH
Aisin Takaoka Co Ltd
Original Assignee
Benteler Automobiltechnik GmbH
Aisin Takaoka Co Ltd
Priority date (The priority date is an assumption and is not a legal conclusion. Google has not performed a legal analysis and makes no representation as to the accuracy of the date listed.)
Filing date
Publication date
Application filed by Benteler Automobiltechnik GmbH, Aisin Takaoka Co Ltd filed Critical Benteler Automobiltechnik GmbH
Publication of JP2010069535A publication Critical patent/JP2010069535A/ja
Application granted granted Critical
Publication of JP5039106B2 publication Critical patent/JP5039106B2/ja
Expired - Fee Related legal-status Critical Current
Anticipated expiration legal-status Critical

Links

Images

Classifications

    • BPERFORMING OPERATIONS; TRANSPORTING
    • B21MECHANICAL METAL-WORKING WITHOUT ESSENTIALLY REMOVING MATERIAL; PUNCHING METAL
    • B21DWORKING OR PROCESSING OF SHEET METAL OR METAL TUBES, RODS OR PROFILES WITHOUT ESSENTIALLY REMOVING MATERIAL; PUNCHING METAL
    • B21D37/00Tools as parts of machines covered by this subclass
    • B21D37/16Heating or cooling
    • BPERFORMING OPERATIONS; TRANSPORTING
    • B21MECHANICAL METAL-WORKING WITHOUT ESSENTIALLY REMOVING MATERIAL; PUNCHING METAL
    • B21DWORKING OR PROCESSING OF SHEET METAL OR METAL TUBES, RODS OR PROFILES WITHOUT ESSENTIALLY REMOVING MATERIAL; PUNCHING METAL
    • B21D22/00Shaping without cutting, by stamping, spinning, or deep-drawing
    • B21D22/20Deep-drawing
    • B21D22/208Deep-drawing by heating the blank or deep-drawing associated with heat treatment
    • BPERFORMING OPERATIONS; TRANSPORTING
    • B21MECHANICAL METAL-WORKING WITHOUT ESSENTIALLY REMOVING MATERIAL; PUNCHING METAL
    • B21DWORKING OR PROCESSING OF SHEET METAL OR METAL TUBES, RODS OR PROFILES WITHOUT ESSENTIALLY REMOVING MATERIAL; PUNCHING METAL
    • B21D22/00Shaping without cutting, by stamping, spinning, or deep-drawing
    • B21D22/20Deep-drawing
    • B21D22/22Deep-drawing with devices for holding the edge of the blanks
    • BPERFORMING OPERATIONS; TRANSPORTING
    • B21MECHANICAL METAL-WORKING WITHOUT ESSENTIALLY REMOVING MATERIAL; PUNCHING METAL
    • B21DWORKING OR PROCESSING OF SHEET METAL OR METAL TUBES, RODS OR PROFILES WITHOUT ESSENTIALLY REMOVING MATERIAL; PUNCHING METAL
    • B21D24/00Special deep-drawing arrangements in, or in connection with, presses
    • B21D24/16Additional equipment in association with the tools, e.g. for shearing, for trimming
    • CCHEMISTRY; METALLURGY
    • C21METALLURGY OF IRON
    • C21DMODIFYING THE PHYSICAL STRUCTURE OF FERROUS METALS; GENERAL DEVICES FOR HEAT TREATMENT OF FERROUS OR NON-FERROUS METALS OR ALLOYS; MAKING METAL MALLEABLE, e.g. BY DECARBURISATION OR TEMPERING
    • C21D1/00General methods or devices for heat treatment, e.g. annealing, hardening, quenching or tempering
    • C21D1/18Hardening; Quenching with or without subsequent tempering
    • CCHEMISTRY; METALLURGY
    • C21METALLURGY OF IRON
    • C21DMODIFYING THE PHYSICAL STRUCTURE OF FERROUS METALS; GENERAL DEVICES FOR HEAT TREATMENT OF FERROUS OR NON-FERROUS METALS OR ALLOYS; MAKING METAL MALLEABLE, e.g. BY DECARBURISATION OR TEMPERING
    • C21D1/00General methods or devices for heat treatment, e.g. annealing, hardening, quenching or tempering
    • C21D1/62Quenching devices
    • C21D1/673Quenching devices for die quenching
    • CCHEMISTRY; METALLURGY
    • C21METALLURGY OF IRON
    • C21DMODIFYING THE PHYSICAL STRUCTURE OF FERROUS METALS; GENERAL DEVICES FOR HEAT TREATMENT OF FERROUS OR NON-FERROUS METALS OR ALLOYS; MAKING METAL MALLEABLE, e.g. BY DECARBURISATION OR TEMPERING
    • C21D8/00Modifying the physical properties by deformation combined with, or followed by, heat treatment
    • C21D8/02Modifying the physical properties by deformation combined with, or followed by, heat treatment during manufacturing of plates or strips

Landscapes

  • Engineering & Computer Science (AREA)
  • Chemical & Material Sciences (AREA)
  • Mechanical Engineering (AREA)
  • Physics & Mathematics (AREA)
  • Thermal Sciences (AREA)
  • Crystallography & Structural Chemistry (AREA)
  • Materials Engineering (AREA)
  • Metallurgy (AREA)
  • Organic Chemistry (AREA)
  • Shaping Metal By Deep-Drawing, Or The Like (AREA)

Abstract

【課題】変形の開始時には冷却されるブランクホルダの領域に配置されていたとしても、プレスクエンチされる鋼板の縁部領域に、部分的に焼入れされない領域を形成できる、金属的な成形構成部品をプレスクエンチするための方法を提供する。
【解決手段】a)鋼板を変態温度以上の温度まで加熱し、b)加熱された鋼板を、冷却されるプレス工具2に挿入し、該プレス工具の成形工具3,4は、硬度の低い領域7を形成するための少なくとも1つの冷却されない輪郭区分6を有しており、c)鋼板の縁部領域9を、ブランク保持装置11によってクランプ固定し、d)プレス工具を、鋼板の変形のために閉じ、e)ブランク保持装置の内側のブランクホルダ13は、外側のブランクホルダ14よりも成形工具の近傍に位置しており、鋼板の縁部領域を、最初は、外側のブランクホルダによって保持し、次いで内側のブランクホルダによって保持する。
【選択図】図9

Description

本発明は、請求項1の特徴を有する形式の焼入れ可能な鋼板から金属的な成形構成部品をプレスクエンチするための方法、並びに、請求項10の特徴を有している形式の上記方法を実行するための装置に関する。
DE10254695B3号特許明細書により、硬化されていない、温間変形可能な鋼板から、金属的な成形構成部品、特に車体構成部品を製造することが公知である。この場合、まず、半製品を冷間変形法、特に深絞りによって、構成部品素材へと変形し、次いでこれを縁部側で、構成部品にほぼ相当する縁部輪郭となるように裁断する。このように裁断された素材を次いで温間変形工具においてプレスクエンチする。この際に形成された構成部品は、温間変形後に既に所望の縁部輪郭を有しており、構成部品の縁部の最終的な裁断は省かれる。このような方法により、既に硬化された構成部品の縁部側を裁断することを回避することができる。
プレスクエンチされた高強度の鋼材料では、鋼板をマトリックスに引き込む際のしわの形成を回避するための押さえやブランクホルダなしでは、複雑な構造の深絞りは、通常行うことはできないという問題がある。ブランクホルダに冷却装置を設けることも先行技術である。しかしながらこれにより、鋼板の縁部領域も焼入れされ、その結果、プレスクエンチされた構成部品を最終的に裁断する際には、裁断工具に極めて大きな摩耗が生じる。プレスクエンチされた構成部品が、比較的軟らかい若しくは低い硬度を有している、プレスクエンチされた構成部品の縁部側の領域が存在するならば理想的である。この領域では、裁断工具において高い工具の摩耗が生じることなしに、プレス構成部品を裁断することができる。しかしながら公知のブランクホルダによっては、このような部分的に軟らかい領域を形成するのは不可能である。何故ならば、変形プロセス中に、マトリックス内部に向かって引き込まれるこのような領域は、前もって、冷却されるブランクホルダに接触され、その結果、焼入れされるからである。従って、超高強度の材料では、縁部領域でも、1500MPa以上の硬度を有する。このような強度の材料は、大きなコストをかけてしか裁断することができない。
DE10254695B3号特許明細書
そこで本発明の課題は、変形の開始時には冷却されるブランクホルダの領域に配置されていたとしても、プレスクエンチされる鋼板の縁部領域において、部分的に焼入れされない領域を形成することができるような、金属的な成形構成部品をプレスクエンチするための方法を提供することである。さらに、このような方法を実行するための装置を提供することである。
この課題は、請求項1に記載の本発明による方法により解決された。さらに上記課題は、請求項10に記載の特徴を有する本発明による装置により解決された。
各従属請求項には、本発明の有利な構成が示されている。
本発明による、焼入れ可能な鋼板から金属的な成形構成部品をプレスクエンチするための方法では、鋼板をまず、変態温度Ac3以上の温度まで加熱する。硬化を可能にするためにこの鋼板をオーステナイト化する。
この場合、鋼板は論理的には既に予備成形材であっても良いことに注意されたい。しかしながら鋼板は有利には扁平である。
加熱された鋼板を冷却されるプレス工具に挿入する。この際、マトリックスは、硬度の低い領域を形成するために、少なくとも1つの冷却されない輪郭区分を有している。このような冷却されるプレス工具により、温間変形及び焼入れが行われる。しかしながらワークは部分的にしか焼入れされない。いずれにせよ、硬度の低い領域を形成するための冷却されない輪郭区分が残されている。
冷却されない輪郭区分とは、鋼板の焼入れのために設けられているのではなく、むしろ焼入れを回避したい、もしくは焼入れを減じたい、マトリックスの輪郭区分と理解されたい。これは少なくとも、この輪郭区分が、冷却される区分に対して熱的に絶縁されていることが前提である。しかしながら付加的にこの輪郭区分を加熱することもでき、相応の加熱手段が設けられている。
通常、このような鋼板は、マトリックスの縁部側に配置されたブランク保持装置を介してクランプされて固定される。ブランク保持装置は、変形加工したい鋼板の少なくとも2つの長辺に配置されている。次いで、プレス工具が閉じられ、即ち変形工具のポンチがマトリックスの方向に移動される。ポンチが鋼板をマトリックス内に押し込む直前に、鋼板の縁部領域が、ブランク保持装置によって固定される。この際に、ブランク保持装置は鋼板の縁部領域がマトリックス内に流れるのを制動する。
縁部側のブランク保持装置が、内側のブランクホルダと、外側のブランクホルダとを有しており、内側のブランクホルダが、外側のブランクホルダよりもマトリックスの近くに位置していることが重要である。「内側」の概念は、プレス工具の中央の領域と理解されたい。「外側」の概念は、本発明の意味では、プレス工具またはマトリックスとは反対側の、これらから離れた領域と理解されたい。
本発明による方法では、縁部領域を第1の変形段階で外側のブランクホルダによって保持し、その後の変形段階で内側のブランクホルダによって保持する。従って、本発明では、各ブランク保持装置が、互いに時間的にずらされて働く、即ち、互いに時間的にずらされて縁部領域に接触する2つのブランクホルダを有している。この場合、変形が終了するまで、基本的に縁部領域の一部がなおブランクホルダによって保持されていることが前提である。
鋼板は変形の際には常に内方へと引っ張られるので、変形過程の終了時にはもはや外側のブランクホルダは縁部領域を保持しておらず、内側のブランクホルダが保持している。外側の冷却されるブランクホルダは従って一度も、マトリックスの外面と外側のブランクホルダとの間にある鋼板区分に接触しない。このような領域は、いわば自由にマトリックス内に引き込まれ、従って、ブランクホルダとの接触によって冷却されることもない。このような冷却されない、従って焼入れされない領域は、変形法の終了時には、マトリックスの冷却されない輪郭区分に位置し、これにより所望のように、硬度の低い領域を形成することができる。この領域は次いで、プレスクエンチされた成形部品をプレス工具から取り出した後、著しく減じられたコストで裁断することができる。
この場合、硬度の低くしたい領域がマトリックス内に移動した後、第2の、即ち内側のブランクホルダが閉じられ、既に外側のブランクホルダによって接触された縁部領域を挟むことが重要である。鋼板のこの領域はいずれにせよ既に外側のブランクホルダとの接触により焼入れされていて、最終的には、変形された成形部品から切り離される領域である。この領域では、冷却されるブランクホルダによるさらなる接触は無害である。
ブランク保持装置のブランクホルダは時間的に相前後して使用される。内側のブランクホルダは、後に冷却されない輪郭区分に位置する縁部領域の部分が、内側のブランクホルダの領域から引き出されて初めて鋼板と接触させられる。即ち、この縁部領域はいつでもブランクホルダによって保持されているわけではない。むしろ、縁部領域の幅は、外側のブランクホルダか内側のブランクホルダのどちらかによって縁部領域が保持されるように寸法設定されている。両ブランクホルダが縁部領域と接触する時間は重複しても良い。
本発明の範囲では、基本的に、1つだけの内側のブランクホルダと外側のブランクホルダよりも多くのブランクホルダを設けることができる。むしろ、内側のブランクホルダと外側のブランクホルダとの間に、少なくとも1つの別の真ん中のブランクホルダを配置することができ、この真ん中のブランクホルダは、時間的に外側のブランクホルダの後で、かつ内側のブランクホルダの前に縁部領域と接触させられる。3つまたはそれ以上の一列に配置されたブランクホルダでも、ブランクホルダの制御は常に、いずれのブランクホルダも、後に冷却されない輪郭区分に位置する縁部領域に接触しないように行われる。しかしながら、このような軟らかく維持すべき領域が、ブランクホルダの作用領域から引き出されるとすぐに、マトリックスの最も近傍に位置するブランクホルダが閉じられる。即ち、まず、真ん中のブランクホルダが、または複数の真ん中のブランクホルダのうちの1つが、次いで内側のブランクホルダが閉じられる。
各ブランクホルダは、上方のホルダと下方のホルダとに分けられ、外側のブランクホルダの上方のホルダと下方のホルダとは、内側のブランクホルダ又は真ん中のブランクホルダの上方のホルダと下方のホルダとは独立的に移動される。従って、各ホルダを個々に制御することができる。
基本的には、外側のブランクホルダのホルダを、マトリックスに一体的に形成されている対向支持部として構成することも考えられる。従って、プレス工具を閉鎖する際には、上方のホルダ及び下方のホルダが、マトリックス体の、マトリックスを取り囲む縁部区分に押し付けられる。このような例では、このマトリックス体内に必然的に内側のブランクホルダの一方のホルダが支承される。変形過程の最初に鋼板に接触するのを回避するためには、内側のブランクホルダのこのホルダは最初は鋼板から持ち上げられて位置決していて、鋼板の、軟らかく維持すべき領域がマトリックス内に引き込まれて初めて鋼板に接触される。
基本的には全てのブランクホルダが冷却される。このために相応の冷却通路がブランクホルダに配置されている。
変形過程の終了後には、プレスクエンチされた成形構成部品を裁断することができる。このために、開かれたプレス工具から成形構成部品が取り出される。成形構成部品は、少なくとも部分的に、有利には全体的に、プレス工具の冷却されない輪郭区分において形成された、若しくは維持された軟らかい領域内に延びる裁断エッジを有している。
本発明による方法により、例えば自動車車体のBコラムを、超高強度の鋼材料から温間変形及びプレスクエンチによって製造することができる。1500MPa以上の引張強さが得られ、同時に工具の損傷が低い縁部領域の裁断が可能である。
本発明による方法は、焼入れ可能な鋼板から金属的な成形構成部品をプレスクエンチするための装置において実行可能である。この装置は、変形プレス内に組み込まれるプレス工具と、内側のブランクホルダと外側のブランクホルダとを備えたブランク保持装置とを有している。内側のブランクホルダは、外側のブランクホルダよりもマトリックスの近傍に位置しており、特別な点は、これらのブランクホルダを互いに時間的にずらして鋼板に接触させることができることにある。このような時間的なずれは、外側のブランクホルダと内側のブランクホルダとの間に別のブランクホルダが配置されている場合でも実現されて、この別のブランクホルダは、時間的に、外側のブランクホルダの後で、かつ内側のブランクホルダの前に鋼板に接触される。各ブランクホルダは、上方のホルダと下方のホルダとに分割されていて、これらはそれぞれ他方のブランクホルダのホルダとは独立的に移動可能である。外側のブランクホルダが必然的にまず閉じられるので、外側のブランクホルダの一方のホルダは、定置の対向ホルダとして形成されていても良い。少なくともこの定置の対向ホルダに対して、内側のブランクホルダの他方のホルダ又は別の真ん中のブランクホルダの他方のホルダが移動可能でなければならない。ブランクホルダは冷却されるので、相応の冷却通路が設けられている。
基本的に、全てのブランクホルダは同じ幅を有しており、従って、縁部領域のブランクストリップも同じ幅である。しかしながら基本的には、特に外側のブランクホルダが、内側に位置する他のブランクホルダよりも大きな幅であることも考えられる。従って、外側のブランクホルダの保持力も、内側のブランクホルダの保持力より大きい。このことは、最初は必然的に、外側のブランクホルダだけが使用され、後からの時点で、内側のブランクホルダが、いわば作動され、これにより縁部領域は、部分的に外側のブランクホルダによって、かつ部分的に内側のブランクホルダによっても位置固定されることに起因する。従って、内側のブランクホルダの保持力又は真ん中のブランクホルダの保持力は、外側のブランクホルダの保持力よりも小さい。
本発明による方法若しくは本発明による装置によって、温間変形中に必然的にブランクホルダを使用しなければならない例えば自動車のBコラムのような複雑な金属製深絞り製品に、部分的に軟らかい領域を製作することができる。熱成形プロセス並びにその際に使用される工具は極めてコストがかかるものであるが、温間変形後に続いて行われる裁断の際にコストを削減することにより全体のコストを減じることができる。
(本発明によるものではない)押さえを使用しない、金属的な成形構成部品をプレスクエンチするための装置を、製造プロセスの第1段階で示した図である。 図1の装置を、製造プロセスの終了段階で示した図である。 (本発明によるものではない)押さえを使用する、図1及び図2の構成の変化実施例を示した図である。 (本発明によるものではない)押さえを使用する、図1及び図2の構成の別の変化実施例を示した図である。 本発明による装置の第1実施例を、変形過程の開始時の状態で示した図である。 図5の次の変形段階を示した図である。 図6の次の変形段階を示した図である。 図7の次の変形段階を示した図である。 本発明による装置の第2実施例を、変形過程の開始時の状態で示した図である。 図9の次の変形段階を示した図である。 図10の次の変形段階を示した図である。 図11の次の変形段階を示した図である。 本発明による装置の第3実施例を示した図である。
次に図面につき、本発明の実施の形態を詳しく説明する。
図1には、金属的な成形構成部品を製造するための製造プロセスの第1のステップが示されている。このために鋼板1を、その変態温度Ac3以上の温度まで加熱し、即ち、オーステナイト化する。加熱された鋼板1はプレス工具2に挿入される。プレス工具2は上方の成形工具3と下方の成形工具4とに分かれている。上方の成形工具3はこの場合、マトリックスとして形成されている。下方の成形工具4はポンチとして構成されている。両成形工具3,4は、冷却系5の冷却ラインを介して冷却される。このラインを通って冷却液が案内される。冷却系5は、上方の成形工具3若しくは下方の成形工具4のほぼ全輪郭にわたって延びている。この例外として、上方の成形工具3と下方の成形工具4においてそれぞれ冷却されない輪郭区分6,6aが形成されている。冷却されない輪郭区分6,6aは互いに向かい合って位置しているので、この領域においては、成形工具3,4の輪郭に当接する鋼板1は迅速に冷却されず、従って、これに隣接する領域よりも低い硬度を有する。後に比較的低い硬度を有する、即ち周りの領域より軟らかい鋼板1の領域は、それぞれ丸で囲まれた領域7であり、この領域は最初はプレス工具2の外側にあり、変形過程の最後には、図2に示したように冷却されない輪郭区分6,6aの領域にある。この実施例では、ブランクホルダ又は押さえを使用しないので、鋼板1の材料の流れは制動若しくは調整されない。材料が迅速に流れると、接線方向の圧縮応力によりしわが生じる。従って図1及び図2に示した過程では、しわのない複雑なジオメトリは得られない。
材料の流れを制動するまたは調整するためには、図3及び図4の実施例に示したように、ブランクホルダ又は押さえが必要である。このような実施例も本発明の対象ではなく、公知の押さえ若しくはブランクホルダを使用した場合にどのような欠点が生じるかを明示するためのものである。図3に示した例では、ブランクホルダ8が、変形させたい鋼板1の縁部領域9をクランプして保持している。この場合、後に低い硬度を有するように形成すべき領域7は、ブランクホルダ8の領域にある。ブランクホルダ8も同様に冷却系10に接続されていて、縁部領域9が、特に比較的軟らかく形成したい領域7が、成形工具3,4の間に到る前に、鋼板1に焼入れする。このような早期の焼入れは、成形構成部品を成すように変形された鋼板1を、通常のように後から裁断する際には不都合である。
同様に本発明のものではないこの構成の変化実施例を示した図4では、ブランクホルダ8は、相応に幅広に形成された上方の成形工具3に押し付けられる、鋼板1の縁部領域9を保持する押さえとして形成されている。この場合も、部分的に軟らかく形成したい領域7が、押さえ8における冷却系10を介して冷却されることがわかる。
本発明による装置の第1実施例は図5〜図8に示されている。鋼板1の互いに向かい合って位置する縁部領域9にはそれぞれ1つのブランク保持装置11が配属されており、このブランク保持装置11はそれぞれ外側のブランクホルダ12と内側のブランクホルダ13とに分かれている。鋼板1は図5では、即ち変形過程の最初では、冷却系10を介して冷却される外側のブランクホルダ12によってのみ保持されている。比較的軟らかく形成したい領域7は、外側のブランクホルダ12の領域に位置しているのではなく、まだ、マトリックス3bの輪郭をつけられた領域にもないことがわかる。マトリックス3bには冷却系5が設けられており、この冷却系5は、完成した成形構成部品をプレス工具2において焼入れするために鋼板1に接触する領域を冷却する。1つだけの冷却されない輪郭区分6,6aが残されている。この輪郭区分6,6aは冷却に対して熱的に絶縁されているか、又は、鋼板1を部分的に加熱又は保温するための付加的な加熱装置を有している。本発明の方法において重要であるのは、内側のブランクホルダ13は変形過程の最初ではまだ鋼板1に接触していないということである。このためには、内側のブランクホルダ13の上方のホルダ14と下方のホルダ15とは、鋼板1に対して間隔をおいた位置にまだ位置している。図6に示されたように、この位置は、変形過程中でもなお維持され、即ち、軟らかく保ちたい領域7が内方に向かって、つまり、マトリックス3bの方向で移動するまで維持される。鋼板1の縁部領域9はこの場合、外側のブランクホルダ12によってまだ保持されている。図7には、次いで内側のブランクホルダ13の上方のホルダ14と下方のホルダ15とが、それまで外側のブランクホルダ12によって保持されていた縁部領域9を保持するために保持位置に移動されることが示されている。硬度の低い領域7は、この時点で既に成形工具3b,4の輪郭の内側に位置していて、成形工具3b,4がさらに閉鎖する間に、冷却されない輪郭区分6,6aに到るまでは、極めて細い冷却領域を通るだけである。硬度の低い領域7は、冷却されない輪郭区分6,6aでは、速な冷却から保護され、もしくは所望のように加熱される(図8)。次いで、プレスクエンチされた成形構成部品は、詳しく示さない方式でプレス工具から取り出され、所望のように硬度を減じられた領域で最終輪郭となるように裁断される。
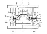
図9〜図12の実施例は、図4〜図8の実施例とは、一方では、異なる構成の外側のブランクホルダ12aと内側のブランクホルダ13とが使用されている点で、また他方では方法の経過の点で異なっている。
ブランクホルダ12aとブランクホルダ13aとは上方のホルダ14a,16a若しくは下方のホルダ15a,17aとに分かれている。ホルダ14a〜17aは互いに独立的に操作することができる。従って、外側のホルダ12aは図5〜図8に示されているような押さえではない。これにより鋼板1を、変形の開始時に、マトリックス3若しくは上方の成形工具3及び下方の成形工具4に対して異なる間隔をおいて配置することができる。マトリックス3が下方の成形工具4の方向に移動すると、鋼板1はまず、ポンチ若しくは下方の成形工具4へと当接する。これは鋼板1の引張成形法に相当する。この場合、外側のブランクホルダ12aのブランクホルダ力を制御することにより、縁部領域9から制御されて材料が追従する(図10)。同時に、内側の押さえ13aがまだ鋼板1に接触しておらず、これにより硬度の低い領域7は、成形工具3,4に進入する前に焼入れされないことが重要である。
図11によれば、鋼板1の縁部領域9の位置決めにより、マトリックス3の輪郭に間隔をおいて、硬度の低い領域7は、極めて遅い時点で初めてマトリックス3に接触し、早期の焼入れが全く行われないという利点があることがわかる。図11には、内側のブランクホルダ13aの上方のホルダ14aが、このような変形段階で、もともと外側のブランクホルダ12aによって保持されていた縁部領域9の大部分を位置固定していることも示されている。最終的に、図12には変形過程の最後が示されており、この過程では、領域7は冷却されない輪郭区分6,6aに位置している。これに続いてさらには、プレス工具の外側で成形構成部品の裁断が行われる。
図13の構成は上記構成とは、外側のブランクホルダ12bと内側のブランクホルダ13bに加えて付加的に、真ん中のブランクホルダ18が使用されている点で異なっている。ブランクホルダ12b,13bと18とは1つのブランク保持装置11bを形成している。このブランク保持装置11bでは、それぞれ上方のホルダと下方のホルダとが互いに独立的に制御可能であって、外側から内側に、相前後して、変形すべき鋼板1の縁部領域9に接触する。変形過程の最初では、硬度の低い領域7は、真ん中のブランクホルダ18の領域にあって、続く変形過程で内側に向かってマトリックス3の方に移動することがわかる。領域7が内側のブランクホルダ13bの下側にある際に、真ん中のブランクホルダ18が閉じられる。最終的に、領域7がマトリックス3の内側に位置すると、内側のブランクホルダ13bも閉じられる。
1 鋼板、 2 プレス工具、 3,3a,3b 上方の成形工具(マトリックス)、 4 下方の成形工具、 5 冷却系、 6,6a 冷却されない輪郭区分、 7 硬度の低い領域、 8 ブランクホルダ、 9 縁部領域、 10 冷却系、 11,11a,11b ブランク保持装置、 12,12a,12b 外側のブランクホルダ、 13,13a,13b 内側のブランクホルダ、 14,14a 上方のホルダ、 15,15a 下方のホルダ、 16,16a 上方のホルダ、 17,17a 下方のホルダ、 18 真ん中のブランクホルダ

Claims (16)

  1. 焼入れ可能な鋼板(1)から金属的な成形構成部品をプレスクエンチするための方法であって、以下のステップ、即ち、
    a)鋼板(1)を変態温度Ac3以上の温度まで加熱し、
    b)加熱された鋼板(1)を、冷却されるプレス工具(2)に挿入し、該プレス工具(2)の成形工具(3,3b,4)は、硬度の低い領域(7)を形成するための少なくとも1つの冷却されない輪郭区分(6,6a)を有しており、
    c)鋼板(1)の縁部領域(9)を、ブランク保持装置(11,11a,11b)によってクランプ固定し、
    d)プレス工具(2)を、鋼板(1)の変形のために閉じ、この際に、ブランク保持装置(11,11a,11b)は、縁部領域(9)が成形工具(3,3b,4)内に流れるのを制動し、
    e)ブランク保持装置(11,11a,11b)は、内側のブランクホルダ(13,13a,13b)と外側のブランクホルダ(12,12a,12b)とを有しており、内側のブランクホルダ(13,13a,13b)は、外側のブランクホルダ(12,12a,12b)よりも成形工具(3,3b,4)の近傍に位置しており、鋼板(1)の縁部領域(9)を、第1の変形段階で外側のブランクホルダ(12,12a,12b)によって保持し、その後の変形段階で、内側のブランクホルダ(13,13a,13b)によって保持する、
    というステップを有していることを特徴とする、焼入れ可能な鋼板(1)から金属的な成形構成部品をプレスクエンチするための方法。
  2. 冷却されない輪郭区分(6,6a)に後から位置する縁部領域(9)の領域(7)を、内側のブランクホルダ(13,13a,13b)の領域から引き出して初めて、内側のブランクホルダ(13,13a,13b)を鋼板(1)に接触させる、請求項1記載の方法。
  3. 外側のブランクホルダ(12b)と内側のブランクホルダ(13b)との間に、少なくとも1つの別の真ん中のブランクホルダ(18)を配置し、該真ん中のブランクホルダ(18)を時間的に外側のブランクホルダ(12b)の後でかつ、内側のブランクホルダ(13b)の前に縁部領域(9)に接触させる、請求項1又は2記載の方法。
  4. 各ブランクホルダ(12a,12b,13a,13b)が上方のホルダ(14,14a,16,16b)と下方のホルダ(15,15a,17,17a)とを有しており、外側のブランクホルダ(12,12a)の上方のホルダ(16,16a)と下方のホルダ(17,17a)とを、内側のブランクホルダ(13,13a,13b)及び真ん中のブランクホルダ(18)の上方のホルダ(14,14a)と下方のホルダ(15,15a)とは独立的に移動させる、請求項1から3までのいずれか1項記載の方法。
  5. ブランクホルダ(12,12a,12b,13,13a,13b,18)を冷却する、請求項1から4までのいずれか1項記載の方法。
  6. 硬度を低くさせたい領域(7)を、ブランクホルダ(12,12a,12b,13,13a,13b,18)に接触させない、請求項1から5までのいずれか1項記載の方法。
  7. 硬度を低くさせたい領域(7)を、変形前に成形工具(3,3b,4)の外側で、閉じられた外側のブランクホルダ(12,12a,12b)と成形工具(3,3b,4)との間に配置し、変形中に成形工具(3,3b,4)内に引き込み、その間、内側のブランクホルダ(13,13a,13b)を開放状態に保持する、請求項1から6までのいずれか1項記載の方法。
  8. 硬度を低く形成したい領域(7)が内側のブランクホルダ(13,13a,13b)の外側に位置し、成形工具(3,3b,4)内に引き込まれた際に、内側のブランクホルダ(13,13a,13b)を閉じる、請求項1から7までのいずれか1項記載の方法。
  9. 裁断エッジが少なくとも部分的に硬度の低い領域(7)を通るように、プレスクエンチされた成形構成部品を裁断する、請求項1から8までのいずれか1項記載の方法。
  10. 焼入れ可能な鋼板(1)から金属的な成形構成部品をプレスクエンチするための装置であって、変形プレス内に組み込まれるプレス工具(2)と、ブランク保持装置(11,11a,11b)とを有している形式のものにおいて、
    ブランク保持装置(11,11a,11b)が内側のブランクホルダ(13,13a,13b)と外側のブランクホルダ(12,12a,12b)とを有しており、内側のブランクホルダ(13,13a,13b)は、外側のブランクホルダ(12,12a,12b)よりも、プレス工具(2)の成形工具(3,3b,4)の近傍に位置しており、これらのブランクホルダ(12,12a,12b,13,13a,13b)は互いに時間的にずらされて鋼板(1)に接触することができることを特徴とする、焼入れ可能な鋼板(1)から金属的な成形構成部品をプレスクエンチするための装置。
  11. 外側のブランクホルダ(12b)と内側のブランクホルダ(13b)との間に少なくとも1つの別のブランクホルダ(18)が配置されている、請求項10記載の装置。
  12. 各ブランクホルダ(12,12a,12b,13,13a,13b)が上方のホルダ(14,14a,16,16b)と下方のホルダ(15,15a,17,17a)とを有しており、外側のブランクホルダ(12,12a,12b)の少なくとも1つのホルダ(16,16a,17,17a)と、内側のブランクホルダ(13,13a,13b)のホルダ(14,14a,15,15a)とが独立的に移動可能である、請求項10又は11記載の装置。
  13. 外側のブランクホルダ(12)の一方のホルダが、定置の対向ホルダである、請求項12記載の装置。
  14. ブランクホルダ(12,12a,12b,13,13a,13b,18)が冷却されている、請求項10から13までのいずれか1項記載の装置。
  15. 外側のブランクホルダ(12,12a,12b)の保持力が、内側のブランクホルダ(13,13a,13b)の保持力よりも大きい、請求項10から14までのいずれか1項記載の装置。
  16. 外側のブランクホルダ(12a)が、内側のブランクホルダ(13a)よりも幅が広い、請求項10から15までのいずれか1項記載の装置。
JP2009216808A 2008-09-18 2009-09-18 金属的な成形構成部品をプレスクエンチするための方法及び装置 Expired - Fee Related JP5039106B2 (ja)

Applications Claiming Priority (2)

Application Number Priority Date Filing Date Title
DE200810047971 DE102008047971B3 (de) 2008-09-18 2008-09-18 Verfahren und Vorrichtung zum Presshärten eines metallischen Formbauteils
DE102008047971.3 2008-09-18

Publications (2)

Publication Number Publication Date
JP2010069535A true JP2010069535A (ja) 2010-04-02
JP5039106B2 JP5039106B2 (ja) 2012-10-03

Family

ID=42006025

Family Applications (1)

Application Number Title Priority Date Filing Date
JP2009216808A Expired - Fee Related JP5039106B2 (ja) 2008-09-18 2009-09-18 金属的な成形構成部品をプレスクエンチするための方法及び装置

Country Status (4)

Country Link
US (1) US8839652B2 (ja)
JP (1) JP5039106B2 (ja)
DE (1) DE102008047971B3 (ja)
IT (1) IT1395638B1 (ja)

Cited By (13)

* Cited by examiner, † Cited by third party
Publication number Priority date Publication date Assignee Title
CN102430628A (zh) * 2011-09-30 2012-05-02 大连理工大学 一种多层金属复合板材的热成形方法
KR101360046B1 (ko) 2012-02-23 2014-02-10 현대자동차주식회사 핫 스탬핑 장치
JP2014503360A (ja) * 2010-12-27 2014-02-13 ポスコ 異物性部品の製造方法
JP2014208374A (ja) * 2013-03-28 2014-11-06 株式会社豊田中央研究所 プレス成形品、熱間プレス成形方法および熱間プレス成形装置
KR101530367B1 (ko) * 2010-07-19 2015-06-19 게엠에프 움포름테크니크 게엠베하 강판으로 제조된 가공품을 열간 성형 및 부분 프레스 경화를 하기 위한 성형기 및 성형 방법
CN104923605A (zh) * 2014-03-20 2015-09-23 富士重工业株式会社 热压深拉成型方法以及装置
CN105251844A (zh) * 2015-11-25 2016-01-20 歌尔声学股份有限公司 冲压成型方法及冲压系统
KR101611735B1 (ko) * 2014-10-13 2016-04-14 주식회사 포스코 프레스 성형 장치 및 방법
JP2018034176A (ja) * 2016-08-30 2018-03-08 Jfeスチール株式会社 プレス成形品の製造方法
JP2019018225A (ja) * 2017-07-14 2019-02-07 Jfeスチール株式会社 自動車用外板パネルのプレス成形方法
CN111229905A (zh) * 2020-01-09 2020-06-05 安徽工业大学 一种基于液压成形装置的热冲压及淬火一体化处理方法
JP2022185340A (ja) * 2021-06-02 2022-12-14 東プレ株式会社 熱間プレス製品の製造方法、及び熱間プレス成形装置
KR102565734B1 (ko) * 2023-02-22 2023-08-11 대우공업 (주) 조글단의 동시 성형이 가능한 프레스 성형장치

Families Citing this family (31)

* Cited by examiner, † Cited by third party
Publication number Priority date Publication date Assignee Title
DE102006040224A1 (de) * 2006-08-28 2008-03-20 Magna Automotive Services Gmbh Verfahren und Werkzeug zum Warmumformen eines Metallwerkstücks
US8506732B2 (en) * 2009-08-07 2013-08-13 Radyne Corporation Heat treatment of helical springs or similarly shaped articles by electric resistance heating
SE533528C2 (sv) * 2009-12-13 2010-10-19 Gestamp Hardtech Ab B-stolpe för fordon
US8671729B2 (en) * 2010-03-02 2014-03-18 GM Global Technology Operations LLC Fluid-assisted non-isothermal stamping of a sheet blank
US20110283851A1 (en) * 2010-05-21 2011-11-24 Thyssenkrupp Sofedit S.A.S. Method and hot forming system for producing press-hardened formed components of sheet steel
JP5573511B2 (ja) 2010-09-02 2014-08-20 トヨタ紡織株式会社 成形体の製造方法
CN102172703B (zh) * 2011-02-23 2013-01-09 上海电气电站设备有限公司 一种复合钢板球冠的热压成形方法
EP2518173B1 (de) 2011-04-26 2017-11-01 Benteler Automobiltechnik GmbH Verfahren zur Herstellung eines Blechstrukturbauteils sowie Blechstrukturbauteil
DE102011108912A1 (de) * 2011-07-28 2013-01-31 Volkswagen Aktiengesellschaft Segmentiertes Presshärtewerkzeug
EP2744609B1 (de) * 2011-08-17 2015-07-08 Kirchhoff Automotive Deutschland GmbH Presshärtwerkzeug
CN102389917A (zh) * 2011-09-30 2012-03-28 大连理工大学 一种金属复合板材的热成形方法
US20130213108A1 (en) * 2012-02-20 2013-08-22 Richard Paul KNERR Method of making a stamped part
DE102012005635B3 (de) * 2012-03-22 2013-06-27 Allgaier Werke Gmbh Vorrichtung, Anlage und Verfahren zum Umformen einer Blechplatine sowie ein hiermit hergestelltes Werkstück
CN102814377A (zh) * 2012-07-09 2012-12-12 烟台泰利汽车模具制造有限公司 一种宽法兰面板状制件拉延成形的方法
JP5971004B2 (ja) * 2012-07-24 2016-08-17 新日鐵住金株式会社 低強度部を有する熱間プレス成形品及びその製造方法
JP6194526B2 (ja) * 2013-06-05 2017-09-13 高周波熱錬株式会社 板状ワークの加熱方法及び加熱装置並びにホットプレス成形方法
DE102013219819A1 (de) * 2013-09-30 2015-04-02 Allgaier Werke Gmbh Vorrichtung zum Umformen eines Werkstückes aus Blech
CN103658395A (zh) * 2013-11-29 2014-03-26 大连鑫永工业制造有限公司 汽车配件加工用水冷弯折模具
WO2015130206A1 (en) * 2014-02-17 2015-09-03 Gestamp Hardtech Ab An elongate weld and a beam having such a weld
CN104646548A (zh) * 2015-03-18 2015-05-27 大连理工大学 一种既能实现均匀水冷又能实现分区冷却的s型冲压模具
EP3088092B1 (de) 2015-04-30 2017-06-07 Benteler Automobiltechnik GmbH Warmumform- und presshärtewerkzeug sowie verfahren zum betreiben des warmumform- und presshärtewerkzeuges
CN104923673A (zh) * 2015-07-15 2015-09-23 柳州伟祺数控机械有限公司 汽车配件加工用水冷弯折模具
US9943901B2 (en) * 2015-08-31 2018-04-17 Ford Global Technologies, Llc Adjustable stamping die
WO2017129601A1 (de) * 2016-01-25 2017-08-03 Schwartz Gmbh Verfahren und vorrichtung zur wärmebehandlung eines metallischen bauteils
CN106881414A (zh) * 2017-04-19 2017-06-23 苏州汇程精密模具有限公司 一种带冷却结构的热冲压对开模具
DE102017207934A1 (de) * 2017-05-10 2018-11-15 Läpple Automotive GmbH Verbundwerkzeug und Verfahren zur Herstellung eines Blechbauteils
DE102017128742A1 (de) * 2017-12-04 2019-06-06 Benteler Automobiltechnik Gmbh Verfahren und Pressenwerkzeug zur Herstellung eines metallischen Formbauteils
CN111041185B (zh) * 2019-12-30 2021-06-01 良匠(苏州)机械设备有限公司 一种降低淬火形变的销轴淬火方法
CN112091075B (zh) * 2020-08-31 2022-08-19 江门市基达不锈钢制品有限公司 不锈钢锅成型模具及其热处理机构
CN114908237B (zh) * 2022-05-10 2023-11-10 宣城冠晟汽车科技有限公司 一种汽车热成型零件的局部软化装置
US12544818B2 (en) 2023-03-16 2026-02-10 Ford Motor Company Stamping tool with a sub pad within a forming steel and method of forming a panel from a sheet metal workpiece

Citations (2)

* Cited by examiner, † Cited by third party
Publication number Priority date Publication date Assignee Title
JPS5623689B2 (ja) * 1975-09-16 1981-06-02
WO2006057196A1 (ja) * 2004-11-24 2006-06-01 Honda Motor Co., Ltd. 絞り成形方法及びその装置

Family Cites Families (9)

* Cited by examiner, † Cited by third party
Publication number Priority date Publication date Assignee Title
US3584487A (en) * 1969-01-16 1971-06-15 Arne H Carlson Precision forming of titanium alloys and the like by use of induction heating
US3703093A (en) * 1969-11-11 1972-11-21 Aisin Seiki Process and apparatus for performing a simultaneous and combined press-forming and heat-treatment of steel stock
NL181914C (nl) * 1977-07-05 1900-01-01 Toyo Seikan Kaisha Ltd Inrichting voor het vervaardigen van getrokken voorwerpen.
US6276185B1 (en) * 1999-12-09 2001-08-21 General Motors Corporation Flow lock bead control apparatus and method for drawing high strength steel
GB0029459D0 (en) * 2000-12-04 2001-01-17 Corus Uk Ltd Metal container suitable to accommodate a heating or cooling component and method for manufacturing it
JP2002241835A (ja) * 2001-02-20 2002-08-28 Aisin Takaoka Ltd ワークの部分強化方法
DE10254695B3 (de) * 2002-09-13 2004-04-15 Daimlerchrysler Ag Verfahren zur Herstellung eines metallischen Formbauteils
DE102004059598B4 (de) * 2004-12-09 2014-02-27 Volkswagen Ag Vorrichtung zum Umformen und Härten eines Bleches
DE102005025026B3 (de) * 2005-05-30 2006-10-19 Thyssenkrupp Steel Ag Verfahren zum Herstellen eines Metallbauteils mit aneinander angrenzenden Abschnitten unterschiedlicher Materialeigenschaften

Patent Citations (2)

* Cited by examiner, † Cited by third party
Publication number Priority date Publication date Assignee Title
JPS5623689B2 (ja) * 1975-09-16 1981-06-02
WO2006057196A1 (ja) * 2004-11-24 2006-06-01 Honda Motor Co., Ltd. 絞り成形方法及びその装置

Cited By (19)

* Cited by examiner, † Cited by third party
Publication number Priority date Publication date Assignee Title
KR101530367B1 (ko) * 2010-07-19 2015-06-19 게엠에프 움포름테크니크 게엠베하 강판으로 제조된 가공품을 열간 성형 및 부분 프레스 경화를 하기 위한 성형기 및 성형 방법
JP2014503360A (ja) * 2010-12-27 2014-02-13 ポスコ 異物性部品の製造方法
CN102430628A (zh) * 2011-09-30 2012-05-02 大连理工大学 一种多层金属复合板材的热成形方法
KR101360046B1 (ko) 2012-02-23 2014-02-10 현대자동차주식회사 핫 스탬핑 장치
JP2014208374A (ja) * 2013-03-28 2014-11-06 株式会社豊田中央研究所 プレス成形品、熱間プレス成形方法および熱間プレス成形装置
CN104923605B (zh) * 2014-03-20 2017-03-15 富士重工业株式会社 热压深拉成型方法以及装置
CN104923605A (zh) * 2014-03-20 2015-09-23 富士重工业株式会社 热压深拉成型方法以及装置
JP2015182081A (ja) * 2014-03-20 2015-10-22 富士重工業株式会社 熱間プレス深絞り成形方法および装置
US9833828B2 (en) 2014-03-20 2017-12-05 Subaru Corporation Hot-press deep-drawing forming method and hot-press deep-drawing forming method apparatus
KR101611735B1 (ko) * 2014-10-13 2016-04-14 주식회사 포스코 프레스 성형 장치 및 방법
CN105251844A (zh) * 2015-11-25 2016-01-20 歌尔声学股份有限公司 冲压成型方法及冲压系统
CN105251844B (zh) * 2015-11-25 2018-01-30 歌尔股份有限公司 冲压成型方法及冲压系统
JP2018034176A (ja) * 2016-08-30 2018-03-08 Jfeスチール株式会社 プレス成形品の製造方法
JP2019018225A (ja) * 2017-07-14 2019-02-07 Jfeスチール株式会社 自動車用外板パネルのプレス成形方法
CN111229905A (zh) * 2020-01-09 2020-06-05 安徽工业大学 一种基于液压成形装置的热冲压及淬火一体化处理方法
CN111229905B (zh) * 2020-01-09 2021-06-11 安徽工业大学 一种基于液压成形装置的热冲压及淬火一体化处理方法
JP2022185340A (ja) * 2021-06-02 2022-12-14 東プレ株式会社 熱間プレス製品の製造方法、及び熱間プレス成形装置
JP7757055B2 (ja) 2021-06-02 2025-10-21 東プレ株式会社 熱間プレス製品の製造方法、及び熱間プレス成形装置
KR102565734B1 (ko) * 2023-02-22 2023-08-11 대우공업 (주) 조글단의 동시 성형이 가능한 프레스 성형장치

Also Published As

Publication number Publication date
IT1395638B1 (it) 2012-10-16
US8839652B2 (en) 2014-09-23
ITRM20090469A1 (it) 2010-03-19
DE102008047971B3 (de) 2010-05-12
US20100064759A1 (en) 2010-03-18
JP5039106B2 (ja) 2012-10-03

Similar Documents

Publication Publication Date Title
JP5039106B2 (ja) 金属的な成形構成部品をプレスクエンチするための方法及び装置
US11555224B2 (en) Producing a partially hardened formed part
JP6075304B2 (ja) 熱間プレス成形方法および熱間プレス成形装置
CN103056212B (zh) 用于板材热成形和切割的模具和方法
US8691032B2 (en) Microstructural optimization of automotive structures
US9242287B2 (en) Method and tool for hot forming a metal workpiece
CN101688264B (zh) 制造局部硬化的成型件的方法、局部硬化的成型件以及局部硬化的成型件的应用
US20160059295A1 (en) Method and press for producing sheet metal parts that are hardened at least in regions
EP3268145B1 (en) Press systems and methods
CN107000018B (zh) 用于热成型的方法和成型工具以及相应的工件
CN101189350A (zh) 用模压淬火制造具有材料特性不同的相邻部位的金属件的方法
EP2953742B1 (en) Hot die forming assembly and method of making a heat treated part
US20160101456A1 (en) Method and device for producing a shaped component
JP7214973B2 (ja) 熱間プレス加工方法及び加工装置
KR101575557B1 (ko) 복합금형을 이용한 핫스탬핑 열간전단 성형방법
WO2013022700A1 (en) Tailored hardening ofcold pressed steel blank
US10537928B2 (en) Molding tool for producing hot-formed components
JP5515521B2 (ja) 鋼板の熱間プレス成形方法
KR102224344B1 (ko) 경화된 스틸 부품의 제조 방법 및 장치
KR101360046B1 (ko) 핫 스탬핑 장치
JP2006007251A (ja) 車体構成材の製造方法およびプレス加工装置

Legal Events

Date Code Title Description
RD04 Notification of resignation of power of attorney

Free format text: JAPANESE INTERMEDIATE CODE: A7424

Effective date: 20101227

RD04 Notification of resignation of power of attorney

Free format text: JAPANESE INTERMEDIATE CODE: A7424

Effective date: 20101228

A131 Notification of reasons for refusal

Free format text: JAPANESE INTERMEDIATE CODE: A131

Effective date: 20120203

A601 Written request for extension of time

Free format text: JAPANESE INTERMEDIATE CODE: A601

Effective date: 20120427

A602 Written permission of extension of time

Free format text: JAPANESE INTERMEDIATE CODE: A602

Effective date: 20120507

A521 Written amendment

Free format text: JAPANESE INTERMEDIATE CODE: A523

Effective date: 20120531

TRDD Decision of grant or rejection written
A01 Written decision to grant a patent or to grant a registration (utility model)

Free format text: JAPANESE INTERMEDIATE CODE: A01

Effective date: 20120621

A01 Written decision to grant a patent or to grant a registration (utility model)

Free format text: JAPANESE INTERMEDIATE CODE: A01

A61 First payment of annual fees (during grant procedure)

Free format text: JAPANESE INTERMEDIATE CODE: A61

Effective date: 20120706

FPAY Renewal fee payment (event date is renewal date of database)

Free format text: PAYMENT UNTIL: 20150713

Year of fee payment: 3

R150 Certificate of patent or registration of utility model

Ref document number: 5039106

Country of ref document: JP

Free format text: JAPANESE INTERMEDIATE CODE: R150

Free format text: JAPANESE INTERMEDIATE CODE: R150

R250 Receipt of annual fees

Free format text: JAPANESE INTERMEDIATE CODE: R250

R250 Receipt of annual fees

Free format text: JAPANESE INTERMEDIATE CODE: R250

R250 Receipt of annual fees

Free format text: JAPANESE INTERMEDIATE CODE: R250

R250 Receipt of annual fees

Free format text: JAPANESE INTERMEDIATE CODE: R250

LAPS Cancellation because of no payment of annual fees