JP2010068919A - ゲーム装置 - Google Patents

ゲーム装置 Download PDF

Info

Publication number
JP2010068919A
JP2010068919A JP2008237960A JP2008237960A JP2010068919A JP 2010068919 A JP2010068919 A JP 2010068919A JP 2008237960 A JP2008237960 A JP 2008237960A JP 2008237960 A JP2008237960 A JP 2008237960A JP 2010068919 A JP2010068919 A JP 2010068919A
Authority
JP
Japan
Prior art keywords
jump
character
player
game
base
Prior art date
Legal status (The legal status is an assumption and is not a legal conclusion. Google has not performed a legal analysis and makes no representation as to the accuracy of the status listed.)
Granted
Application number
JP2008237960A
Other languages
English (en)
Other versions
JP5500809B2 (ja
Inventor
Akira Kageyama
亮 影山
Hitoshi Kunisawa
仁 國澤
Masaya Shiraishi
雅也 白石
Noriyuki Nishimura
憲之 西村
Hidetomo Ogino
英智 荻野
Manabu Matsuo
学 松尾
Toru Hirata
亨 平田
Tomohiko Iguchi
知彦 井口
Ryusuke Shimada
竜祐 島田
Koichi Shoji
功一 庄司
Current Assignee (The listed assignees may be inaccurate. Google has not performed a legal analysis and makes no representation or warranty as to the accuracy of the list.)
Taito Corp
Original Assignee
Taito Corp
Priority date (The priority date is an assumption and is not a legal conclusion. Google has not performed a legal analysis and makes no representation as to the accuracy of the date listed.)
Filing date
Publication date
Application filed by Taito Corp filed Critical Taito Corp
Priority to JP2008237960A priority Critical patent/JP5500809B2/ja
Publication of JP2010068919A publication Critical patent/JP2010068919A/ja
Application granted granted Critical
Publication of JP5500809B2 publication Critical patent/JP5500809B2/ja
Active legal-status Critical Current
Anticipated expiration legal-status Critical

Links

Images

Abstract

【課題】プレイヤのジャンプとゲーム画面中のキャラクタのジャンプを連動させて、ジャンプによるキャラクタの操作を直感的に実行することができるようにする。
【解決手段】ゲーム装置は、ジャンプ台と、ジャンプ台の変動を検出する位置センサ群42、加速度センサ群43とを備えている。CPU31は、センサによる変動の検出に基づいて、ジャンプ台上においてプレイヤがジャンプしたことを検出する。CPU31は、検出されたプレイヤのジャンプと連動させて、ゲーム画面中において表示されるキャラクタの動きを制御する。
【選択図】 図2

Description

本発明は、プレイヤにジャンプさせるゲームを行うゲーム装置に関する。
従来、プレイヤがジャンプをしてゲームを行うゲーム装置が考えられている(特許文献1)。特許文献1に記載されたゲーム装置では、機台上でプレイヤが乗ってジャンプ操作をすることで上下方向に移動可能にされた上載本体と、上載本体の上下方向の移動状態を検出する回転抵抗系とを有し、回転抵抗系からの入力情報によってゲームを行うようになっている。従来のゲーム装置では、プレイヤが上載本体を操作してジャンプすることにより、キャラクタを操作してゲーム画面中のオブジェクトの上にジャンプさせたり、障害物を越えて進んでいくゲームなどを実行することができる。
特開2001−87552号公報
このように従来のゲーム装置では、プレイヤが上載本体を操作してジャンプすることにより、ゲーム画面中のキャラクタをジャンプさせることができるが、プレイヤのジャンプとゲーム画面中のキャラクタのジャンプが連動しておらず、ジャンプによる直感的なキャラクタの操作ができなかった。
また、従来のゲーム装置では、プレイヤが体全体を使ってゲームを実行できるようにするため、プレイヤが上載本体に乗ってジャンプし、プレイヤの体重を利用して上載本体支持アームなどの機構部を駆動させる構成となっていた。このため、体重の軽い子供や女性などでは上載本体に乗ってジャンプしたとしても、体重が重いプレイヤのようにはジャンプが検出されなかった。従って、ゲーム画面中のキャラクタの制御も安定せず、プレイヤのジャンプとゲーム画面中のキャラクタのジャンプとを連動させることができなかった。
本発明は前述した事情に考慮してなされたもので、その目的は、プレイヤのジャンプとゲーム画面中のキャラクタのジャンプを連動させて、ジャンプによるキャラクタの操作を直感的に実行することが可能なゲーム装置を提供することにある。
本発明は、ジャンプ台と、前記ジャンプ台の変動を検出するセンサと、前記センサによる変動の検出に基づいて、ジャンプ台上においてプレイヤがジャンプしたことを検出するジャンプ検出手段と、前記ジャンプ検出手段により検出された前記プレイヤのジャンプと連動させて、ゲーム画面中において表示されるキャラクタの動きを制御するキャラクタ制御手段とを具備したことを特徴とする。
本発明によれば、プレイヤのジャンプとゲーム画面中のキャラクタのジャンプを連動させて、ジャンプによるキャラクタの操作を直感的に実行することが可能となる。
以下、図面を参照して本発明の実施の形態について説明する。
図1は、本実施形態におけるゲーム装置の外観構成を示す図である。図1に示すゲーム装置は、プレイヤのジャンプ台におけるジャンプを検出し、このジャンプに連動させてゲーム画面中のキャラクタをジャンプ(ホッピング)の動作をするように表示制御するホッピングゲームを実行するものとする。図1に示すゲーム装置は、同時に二人のプレイヤがゲームを実行できる構成とした例を示している。
図1に示すように、ゲーム装置は、本体ユニット10、ディスプレイユニット12、及び基台13が設けられている。本体ユニット10は、例えば直方体形状をしており、ゲーム装置を制御する回路等が収納されている。本体ユニット10の上部には、ディスプレイユニット12が搭載されている。ディスプレイユニット12には、二人のプレイヤ用の2つのディスプレイ15a,15bが収納されている。本体ユニット10の上にディスプレイユニット12が搭載されていることにより、後述するジャンプ検出ユニット16(ジャンプ台18)の上に乗っているプレイヤのほぼ正面で、ディスプレイ15a,15bにおいて表示されるゲーム画面を視認できるように配置されている。また、本体ユニット10の正面には、ゲーム使用の対価であるコインを投入するためのコイン投入口17が設けられている。
基台13は、本体ユニット10の正面に配置されている水平面が形成された台である。基台13の上には、二人のプレイヤ用の2台のジャンプ検出ユニット16(16a,16b)が設置されている。ジャンプ検出ユニット16(16a,16b)の底部には、プレイヤが乗ってジャンプするためのジャンプ台18(18a,18b)(板部材)が設けられている。ジャンプ台18の前方(本体ユニット10側)には、中央から垂直方向に伸びるシャフト19(19a,19b)が取り付けられている。シャフト19(19a,19b)の上部先端には、左右に水平に伸びるグリップ20(20a,20b)が設けられ、左右のグリップ20(201,20b)の中央にはボタンユニット21(21a,21b)が設けられている。シャフト19は、ジャンプ台18に乗ったプレイヤがグリップ20を容易に把持しやすい高さに構成されている。従って、グリップ20を持ちながら安定してジャンプ台18の上でジャンプすることができる。ボタンユニット21は、ゲームスタートの指示や、ゲームメニューの選択指示(コースの選択など)をする場合に使用される。
図2は、本実施形態におけるゲーム装置の機能構成を示す図である。
図2に示すように、ゲーム装置のメインユニット30には、CPU31、メモリ32、記憶装置33、表示コントローラ34、I/Oインタフェース35等の回路が設けられている。
CPU31は、ゲーム装置全体の制御を司るもので、メモリ32に記憶された基本プログラムやゲームプログラムなどを含むプログラムにより各種の処理を実行する。CPU31は、メモリ32に記憶されたゲームプログラムを実行することで、ホッピングゲームを制御する。ホッピングゲームでは、ゲーム画面中においてキャラクタをジャンプ(ホッピング)表示させ、このキャラクタの動作をジャンプ台18上におけるプレイヤのジャンプに応じて制御する。CPU31は、ジャンプ検出ユニット16に設けられた各種のセンサにより検出された検出信号をもとに、ジャンプ台18の上でプレイヤがジャンプしたことを検出する。CPU31は、この検出されたプレイヤのジャンプと連動させて、ゲーム画面中において表示されるキャラクタの動き(ジャンプのタイミング)を制御する。なお、ホッピングゲームの詳細については後述する。
メモリ32は、CPU31によりアクセスされるもので、プログラムやデータなどを一時的に記憶する。
記憶装置33は、ハードディスク装置などにより構成され、プログラムやデータを記憶する。
表示コントローラ34は、CPU31の制御のもとで、ディスプレイ15(15a,15b)における表示を制御する。表示コントローラ34は、二人のプレイヤのそれぞれに対応するゲーム画面を、ディスプレイ15a,15bに表示させる。
I/Oインタフェース35は、I/O回路40を介して、各種入力デバイスからのデータの入力出力を制御する。
I/O回路40には、コインセンサ41、ボタンユニット21(21a,21b)が接続されている。
コインセンサ41は、コイン投入口17から投入されたコインの投入を検出するためのセンサである。ボタンユニット21には、例えば選択支持用のボタン、方向指示用のボタンなど複数のボタンが設けられているものとする。
また、I/O回路40には、ジャンプ台18に乗ったプレイヤのジャンプと、ジャンプした時の傾斜を検出するためのセンサ群が接続されている。本実施形態におけるゲーム装置では、位置センサ群42、加速度センサ群43、傾きセンサ群44が接続されている。
位置センサ群42は、ジャンプ台18の上下方向の変化を検出するためのもので、フォトセンサ回路50(50a,50b)を介して複数のフォトセンサ60〜66(60a〜66a、60b〜66b)がI/O回路40と接続されている。フォトセンサ回路50aは、ジャンプ台18aの上下方向の変化を検出するための、例えば7つのフォトセンサ60a〜66aが接続されている。また、フォトセンサ回路50bは、ジャンプ台18bの上下方向の変化を検出するための、例えば7つのフォトセンサ60b〜66bが接続されている。本実施形態では、ジャンプ台18が上下方向に移動すると、縦方向に配列されたフォトセンサ60〜66(60a〜66a、60b〜66b)の何れかにより検出物体が検出されるように構成されている。なお、ジャンプ台18の上にプレイヤが乗っていない初期状態では、最上部に配置されたセンサ60(0番)によって検出物体が検出されているものとする。
加速度センサ群43は、ジャンプ台18の上下方向の変化を検出するためのもので、加速度センサ回路51(51a,51b)を介して複数の加速度センサ70,71(70a,71a,70b,71b)がI/O回路40と接続されている。加速度センサ70は、精度が高くジャンプ台18の上下方向の変化を検出することができ、例えばフォトセンサ60〜66により検出できない体重の軽いプレイヤであっても、ジャンプ台18でのジャンプを検出することができる。加速度センサ回路51aは、ジャンプ台18aの上下方向の変化を検出するための、例えば2つの加速度センサ70a,71aが接続されている。また、加速度センサ回路51bは、ジャンプ台18bの上下方向の変化を検出するための、例えば2つの加速度センサ70b,71bが接続されている。加速度センサ70,71は、例えばジャンプ台18の裏面に装着され、ジャンプ台18の振動(加速度変化)を検出することができる。
本実施形態のゲーム装置では、フォトセンサ60〜66と加速度センサ70,71とを組み合わせることで、体重の違いやジャンプのタイミングの違いなどがある様々なプレイヤを対象として、ジャンプ台18でのプレイヤのジャンプを精度良く検出することができる。
傾きセンサ群44は、ジャンプ台18の傾斜の変化を検出するためのもので、フォトセンサ回路52を介して複数のフォトセンサ80〜83がI/O回路40と接続されている。本実施形態におけるゲーム装置では、例えばジャンプ台18の左右方向の傾斜を検出するものとする。ジャンプ台18を横幅方向中央において軸回動可能とし、この軸の回動方向に沿って複数のフォトセンサ80〜83を配置することで、ジャンプ台18の傾斜を検出することができる。なお、本実施形態におけるゲーム装置では、左右方向の傾斜を検出するものとして説明するが、左右方向だけでなく前後方向の傾斜を検出する構成とすることも可能である。
フォトセンサ60〜66(60a〜66a、60b〜66b)とフォトセンサ80〜83は、例えば透過型フォトセンサが使用される。透過型フォトセンサは、発光素子と受光素子とを相対向して配置して、その間を検出物体が通過することにより光を遮ったことを検出する。透過型フォトセンサは、検出物体の通過を非接触により検出するので、耐久性が高いという特徴を持つ。
なお、透過型フォトセンサに限らず回帰反射型フォトセンサなど、他の形式のフォトセンサを用いることも可能である。
次に、ジャンプ検出ユニット16の詳細な構成について説明する。
図3は、ジャンプ検出ユニット16の図1(図4)に示すA−A線における断面図、図4は図1(図3)に示すB−B線における断面図を示している。図3は、ジャンプ検出ユニット16の側面側から見た図であり、図4は、ジャンプ検出ユニット16の後端側から見た図である。
図3及び図4に示すように、ジャンプ台18は、ジャンプ支持台87の上に回動軸88を介して装着されている。また、ジャンプ台18とジャンプ支持台87の上面との間には、若干の隙間(例えば2cm程度)が設けられている。回動軸88は、正面(本体ユニット10の設置側)に対して垂直方向で軸回転する。このため、プレイヤは、ジャンプ台18の上で本体ユニット10(ディスプレイ15)に正対した状態で左右方向にジャンプ台18を傾斜させることができる。本実施形態では、例えば左右方向にそれぞれ0°〜5°の範囲で傾斜させることができるものとする。
ジャンプ支持台87は、サスペンションユニット90、スライド機構92、連結部材93を介して、所定の高さで水平状態が維持されるように支持されている。サスペンションユニット90は、例えばラバースプリングにより構成されるもので、プレイヤのジャンプに伴う、連結部材93を介して結合されたジャンプ支持台87の上下方向の衝撃を緩衝させるためのものである。サスペンションユニット90は、連結部材93の一方の端部が結合されており、ジャンプ支持台87が上下するのに伴って連結部材93の角度を変位させることができる。連結部材93の他方の端部は、スライド機構92に設けられたローラと連結されている。
スライド機構92は、ジャンプ支持台87の底面部に取り付けられ、連結部材93と連結されたローラが水平方向に移動可能となるように収納されている。すなわち、ジャンプ支持台87の上下方向の移動に伴って、スライド機構92のローラが水平方向に移動する構成となっている。これにより、サスペンションユニット90によりジャンプの衝撃を吸収しながら、ジャンプ支持台87が上下方向に移動可能となるように支持することができる。
なお、サスペンションユニット90の詳細については図5〜図7を用いて後述する。
また、図3には、各センサの取り付け位置を示している。
フォトセンサ60〜66は、縦方向に配列されて、ジャンプ検出ユニット16の底部筐体内に固定して取り付けられている。図3に示す例では、底部筐体の前方側(シャフト19の取り付け位置近傍)に取り付けられている。ジャンプ支持台87の底部には、フォトセンサ60〜66により検出される検出物体85が取り付けられている。検出物体85の先端部は、フォトセンサ60〜66による検出範囲(発光素子と受光素子との間)を通過可能とする形状に形成されている。検出物体85は、ジャンプ台18にプレイヤが乗っていない初期状態において、最上部に配置されたセンサ60(0番)によって検出される位置となるように取り付けられている。従って、ジャンプ台18にプレイヤが乗ることによりジャンプ台18と共にジャンプ支持台87が下方に移動するのに伴って、検出物体85が下方に移動して、フォトセンサ61〜66の何れかによって検出される。
加速度センサ70,71は、ジャンプ台18の中央付近の裏面に取り付けられている。ジャンプ台18は、回動軸88を介してジャンプ支持台87と連結されているため、プレイヤが乗ると上下方向に変動する。加速度センサ70,71は、このジャンプ台18の上下方向の変動(加速度)を検出する。
フォトセンサ80〜83は、回動軸88による回転方向に沿って配置されている。図3に示す例では、フォトセンサ80〜83は、ジャンプ支持台87の後方側に取り付けられており、ジャンプ支持台87と共に上下方向に移動する。また、フォトセンサ80〜83に対する検出物体86がジャンプ台18の後方側端部の中央に取り付けられている。検出物体86は、フォトセンサ80〜83による検出範囲(発光素子と受光素子との間)を通過可能となる厚さの板状に形成されている。フォトセンサ80〜83は、ジャンプ支持台87と固定され、検出物体86は、ジャンプ台18の回動軸88による回動(傾斜)に伴って回転方向に沿って移動するため、ジャンプ台18の傾斜角度に応じてフォトセンサ80〜83によって検出物体86の異なる位置が検出可能となる。検出物体86は、フォトセンサ80〜83により検出可能な部分と検出されない部分が交互に現れる歯形の形状をしている。このため、回転位置によって検出物体86を検出するフォトセンサ80〜83の組み合わせが異なっている。この検出物体86を検出したフォトセンサ80〜83の組み合わせによって、ジャンプ台18の傾斜角度を判別することができる。なお、検出物体86の詳細な構成については後述する(図14参照)。
図5は、ジャンプ検出ユニット16のサスペンションユニット90が設けられた付近の底部筐体内を示す図である。
図5に示すように、ジャンプ検出ユニット16の底部筐体内の横幅方向の中央には、右側用と左側用の2つのサスペンションユニット90が並べて取り付けられている。右側用のサスペンションユニット90には、ジャンプ支持台87の右側底部に取り付けられたスライド機構92(のローラ)との間に連結部材93が連結され、左側用のサスペンションユニット90には、ジャンプ支持台87の左側底部に取り付けられたスライド機構92(のローラ)との間に連結部材93が連結されている。
図6には、サスペンションユニット90の詳細な構成を示している。
図6に示すように、サスペンションユニット90は、断面をほぼ四角柱に形成された金属製の外殻90aと、外殻90aの内部に挿入された断面をほぼ四角柱に形成された金属製の内殻90bと、円柱形の4つのゴム90cにより形成されている。内殻90bは、角部を外殻90aの辺部と相対させる位置となるように挿入されている。ゴム90cは、外殻90aの角部と内殻90bの辺部との間に形成される空隙に圧入されている。連結部材93の端部が内殻90bと連結されており、連結部材93の角度が変更されることにより内殻90bが外殻90a内で回転される。これにより、4箇所に圧入されたゴム90cが変形され緩衝作用が発生する。
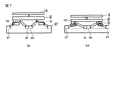
また、他図では省略しているが、図5に示すように、底部筐体内には、左右両端部の底部に第2のサスペンションユニット97が設けられている。サスペンションユニット97は、サスペンションユニット90だけではジャンプ台18に乗ったプレイヤの体重を支えることが十分でない場合や、ジャンプ台18の上で強くジャンプされた場合の衝撃を分散するために設けられている。
サスペンションユニット97は、サスペンションユニット90(図6)と同じものが使用され、連結部材98を介してスライド機構99を支持している。サスペンションユニット97は、ジャンプ台18にプレイヤが乗っていない状態において、スライド機構92の下方部に僅かの隙間を設けた位置となるようにスライド機構99を支持している。図7(a)には、この時の状態を示している。
ジャンプ台18の上にプレイヤが乗ることによりジャンプ支持台87が下がると、スライド機構92の底面部がスライド機構99に接触し、さらにジャンプ支持台87が下がることによりスライド機構99を押し下げる。図7(b)には、この時の状態を示している。スライド機構99のローラは、スライド機構99が押し下げられるのに伴って水平方向に移動してスライド機構99の水平状態を保つ。
次に、ジャンプ支持台87を水平状態に保って上下方向に移動させる機構について説明する。
図8は、ローラ91の配置を示す図である。図8に示す2つのローラ91は、ジャンプ検出ユニット16の底部筐体内の横幅方向の中央に配置されており、2つのサスペンションユニット90とそれぞれ対応している。ローラ91の回転軸は、サスペンションユニット90の内殻90bと連結されており、内殻90bの回転に伴って連動して回転するようになっている。2つのローラ91は、例えば歯車により係合されており、逆方向に同じ角度分回転するように構成されている。このため、2つのサスペンションユニット90(内殻90b)のそれぞれに取り付けられた連結部材93は、2つのローラ91によって内殻90bの回転量が同じとなるように制限されることから、ジャンプ支持台87の上下動に伴って同じだけ変動されることになる。この結果、ジャンプ支持台87は、常時水平状態を保ったまま上下方向に移動可能となる。
このように、本実施形態におけるゲーム装置では、サスペンションユニット90,97を利用した機構によりジャンプ支持台87を上下方向に移動可能としている。サスペンションユニット90,97は、ラバースプリングにより構成されているため、ジャンプ台18の上でプレイヤがジャンプした衝撃を軟らかく吸収することができる。また、バネなどのように機械的な部品を使用した緩衝装置ではないため、使用経過に伴って作用が低下(へたり)しにくい。また、簡単な構造により緩衝装置が構成されているので、製造工程を簡略化し、またジャンプ検出ユニット16(底部筐体)の小型化を図ることができる。
なお、前述した説明では、ジャンプ支持台87の上に回動軸88を介してジャンプ台18を設ける構成とし、ジャンプ支持台87を水平状態に保って上下動するようにし、ジャンプ台18を所定角度の範囲内で左右に傾斜するようにしているが、ジャンプ台18を省いた構成とすることも可能である。すなわち、ジャンプ支持台87のみによって上下方向の移動と左右方向への傾斜を可能な構成としても良い。この場合、図8に示すローラ91の機構を省略し、ジャンプ支持台87を所定範囲内で傾斜可能にする。
また、後述するホッピングゲームにおいて、左右方向の傾斜のデータを不要とする場合には、左右方向へ傾斜する機構自体を省略することも可能である。
次に、本実施形態におけるゲーム装置に設けられたセンサ群の使用方法について説明する。
まず、フォトセンサ60〜66による検出動作について、図9を参照しながら説明する。図9に示すように、フォトセンサ60〜66は、縦方向に配列されており、ジャンプ支持台87に取り付けられた検出物体85の上下方向の移動を検出する。ジャンプ台18にプレイヤが乗っていない初期状態では、検出物体85は、最上部のフォトセンサ60の位置にある。
CPU31は、最上部のフォトセンサ60により検出物体85を検出されている場合、センサに関係する構成部分が正常に動作しており、またプレイヤがジャンプ台18に乗っていないことを検出することができる。プレイヤがジャンプ台18に乗ることにより、図9(a)に示すように、ジャンプ支持台87が下方に移動し、これに伴って検出物体85が下方に移動する。CPU31は、フォトセンサ60より下方に配列された他のフォトセンサ61〜から検出物体85を検出したことを示す検出信号を入力し、ジャンプ支持台87(ジャンプ台18)が下方に移動されたことを検出することができる。
そして、プレイヤがジャンプ台18に乗った後、ジャンプするために強く踏み込むと、ジャンプ支持台87(ジャンプ台18)を最初に乗った時よりもさらに押し下げる。CPU31は、フォトセンサ60〜66からの検出信号をもとに、検出物体85がさらに下に移動されたことを検出し、これによりプレイヤがジャンプしたことを検出する。
なお、ジャンプ支持台87を下方に移動させることが可能な十分な体重を有するプレイヤについては、前述したようにフォトセンサ60〜66による検出物体85の検出によってプレイヤのジャンプを検出することができるが、体重が軽いプレイヤの場合には、ジャンプ支持台87を押し下げられない可能性がある。例えば、ジャンプ台18にプレイヤが乗ったとしても、検出物体85の位置がフォトセンサ60から移動しない、あるいはフォトセンサ60とフォトセンサ61との間を変動する程度の場合には、プレイヤのジャンプを正確に検出することができない。
このため、本実施形態におけるゲーム装置では、ジャンプ台18の裏面に取り付けられた加速度センサ70,71により検出されるジャンプ台18の変動を表す検出信号をもとにして、プレイヤのジャンプ台18上でのジャンプを検出する。
図10には、加速度センサ70,71により検出されるジャンプ台18の変動(加速度)を表す信号の変化を示す図である。
加速度センサ70,71は、精度良く、ジャンプ台18の変動を検出するため、加速度センサ70,71から出力される信号が図10(a)に示すようにノイズを含んだ変動の多いものとなる(鋸の歯のようにギザギザになる)。このため、CPU31は、加速度センサ70,71から入力された信号の値を加工してノイズを除去する。
ここでは、例えば一定時間毎のサンプリング周期を設け、サンプリングした値の平均値を算出する。ここで、平均値の算出について簡単な例を示して説明する。まず、加速度センサ70,71から入力された信号が示す値が以下のように変化しているものとする。
0, 1, 2, 3, 4, 5, 6, 7, 8, 9,10,11,12,13,14,15,16,17,18
入力信号値[ 0,10, 5,20,15,30,25,40,35,50,35,40,25,30,15,20, 5,10, 0]
これを5間隔でサンプリングして平均値を算出すると次のようになる。
[0] 0
[0〜1=1] 10/5=2
[0〜2=2] 15/5=3
[0〜3=3] 35/5=7
[0〜4=4] (0+10+5+20+15)/5=10
[1〜5=5] (10+5+20+15+30)/5=16
[2〜6=6] (5+20+15+30+25)/5=19
[3〜7=7] (20+15+30+25+40)/5=26
:
:
[6〜10=10] (25+40+35+50+35)/5=37
[7〜11=11] (40+35+50+35+40)/5=40
[8〜12=12] (35+50+35+40+25)/5=37
:
:
前述したように、通常、加速度センサ70,71により検出される信号の値は「0→10→ 5→20→15…」のように上下の変動が多く、ギザギザな信号波形を表すが、加工後の値では「0→ 2→ 3→7→10→16…」となり滑らかな信号波形を表すようになる。図10(b)には加工後(一定時間毎の平均値)の信号の変化を表している。
CPU31は、加工後の信号の変化と予め設定されたジャンプパターンとを比較し、これが一致するものと判定された場合にプレイヤがジャンプしたものと判別する(図10(c))。なお、ジャンプパターンは、ジャンプ台18の上でプレイヤがジャンプすることにより検出される信号の変化をもとに生成されたモデルパターンである。一般に、ジャンプ台18の上でプレイヤがジャンプする場合、プレイヤの違いに関係なく類似した信号波形が得られる。本実施形態におけるゲーム装置では、この信号波形を表すパターンをジャンプパターンとして予め記憶しておくものとする。
なお、前述した説明では、加工された信号とジャンプパターンとの比較によりプレイヤのジャンプを検出しているが、その他の検出方法として、例えば加工後の信号波形において、設定値を超え、かつ、傾きがプラスからマイナスに変動している場合に、プレイヤがジャンプしたものと判別するようにしても良い。なお、設定値は、加速度センサ70,71のセンシング性能やゲーム装置が設置された環境(周辺の振動の多少)などに基づいて設定されるものとする。
このようにして、本実施形態におけるゲーム装置では、ジャンプ台18に乗ったプレイヤのジャンプを、ジャンプ支持台87の上下動を検出するフォトセンサ60〜66だけでなく、ジャンプ台18の変動を検出する加速度センサ70,71と組み合わせ、多数のセンサ群による検出結果をもとに検出しているため、プレイヤの体重の違いやジャンプの速度や力量などの違いがあったとしても、安定してリアルタイムでプレイヤのジャンプを検出することができる。これにより、プレイヤのジャンプに連動させた、ゲーム画面中におけるキャラクタの制御が可能となる。
次に、フォトセンサ80〜83による検出動作について説明する。
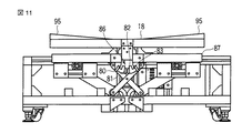
図11は、フォトセンサ80〜83と検出物体86の取り付け位置を示す図である。図11に示すように、検出物体86は、ジャンプ台18の後方側端部の中央に取り付けられている。従って、ジャンプ台18が左右方向に傾斜することで、ジャンプ台18の回動軸88による回動(傾斜)に伴って回転方向に沿って移動する。
なお、ジャンプ台18の上面には、図11に示すように、左右の両端部に向かって傾斜95が形成されている。これは、例えば図12(a)に示すように、ジャンプ台18の上にプレイヤが乗ってゲームを実行(ジャンプ)している際に、図12(b)のようにジャンプ台18が傾斜することによりプレイヤが端部近くに移動したとしても、傾斜95によってジャンプ台18の上面がほぼ水平となるので滑落を防止することができる。
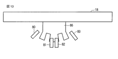
図13は、フォトセンサ80〜83と検出物体86の詳細な構成を示す図である。
図13に示すように、検出物体86は、フォトセンサ80〜83により検出可能な部分(検出部分)と検出されない部分(非検出部分)が交互に現れる歯形の形状をしている。図13に示す検出物体86の例では、3つの検出部分と、検出部分に挟まれた2つの非検出部分とから形成されている。フォトセンサ81,82は、中央に並べて配置され、ジャンプ台18が水平状態に有るときに、検出物体86の中央の検出部分において検出物体86を同時に検出する。フォトセンサ80,83は、ジャンプ台18が水平状態にあるとき、検出物体86の左右検出部分の外側に配置され、検出物体86を検出しないようになっている。従って、ジャンプ台18が水平状態にある初期位置では、フォトセンサ80,83がOFF(非検出)、フォトセンサ81,82がON(検出)の状態となっている。
フォトセンサ80〜83は、ジャンプ台18の傾斜に伴う検出物体86の位置変化によって、検出物体86を検出する組み合わせが異なる。図14には、フォトセンサ80〜83による検出物体86を検出する組み合わせの変化の一例を示している。
例えば、図14(a)に示す例では、ジャンプ台18が右側に傾斜することにより、検出物体86の右側の非検出部分がフォトディテクタ82の位置にまで移動している。従って、図14(a)に示す検出物体86の位置では、フォトセンサ80,82,83がOFF(非検出)、フォトセンサ81がON(検出)状態となっている。そして、図14(a)に示す状態からさらにジャンプ台18が右側に傾斜すると、図14(b)に示すようになる。すなわち、左側の検出部分がフォトセンサ80が配置された位置にまで到達する。従って、図14(b)に示す検出物体86の位置では、フォトセンサ82,83がOFF(非検出)、フォトセンサ80,81がON(検出)状態となっている。
図15には、ジャンプ台18(検出物体86)の傾斜毎の検出物体86を検出するフォトセンサ80〜83(センサー1〜4)の組み合わせを示している。
図15に示すように、ジャンプ台18が傾きが0°の場合には、前述したように、フォトセンサ80,83(センサー2.3)がOFF(非検出)、フォトセンサ81,82(センサー1.4)がON(検出)となる。ジャンプ台18の傾きが右に2.5°の場合には、フォトセンサ80,82,83(センサー1.3.4)がOFF(非検出)、フォトセンサ81(センサー2)がON、以下同様にして、ジャンプ台18の傾きが右に5°の場合には、フォトセンサ82,83(センサー3.4)がOFF(非検出)、フォトセンサ80,81(センサー1.2)がON、ジャンプ台18の傾きが左に2.5°の場合には、フォトセンサ80,81.83(センサー1.2.4)がOFF(非検出)、フォトセンサ82(センサー3)がON、ジャンプ台18の傾きが左に5°の場合には、フォトセンサ80,82(センサー1.2)がOFF(非検出)、フォトセンサ82,83(センサー3.4)がONとなる。
CPU31は、各フォトセンサ80〜83からの検出信号をもとに、検出物体86を検出したフォトセンサの組み合わせからジャンプ台18の傾斜方向と角度を検出することができる。
このようにして、図13に示すような、検出物体86をフォトセンサ80〜83により検出可能な部分(検出部分)と検出されない部分(非検出部分)が交互に現れる歯形の形状とし、この形状に合わせて4つのフォトセンサ80〜83を所定の配置とすることで、ジャンプ台18の傾斜に応じて変化する検出物体86を検出するフォトセンサ80〜83の組み合わせに基づいて、ジャンプ台18の傾斜方向と角度を検出することができる。また、故障を検知するために、常時、少なくとも1つのフォトセンサが検出物体86を検出するように構成するとしても、図13に示す形状の検出物体86を用いることで、単純な形状の検出物体(例えば、1つのフォトセンサのみにより検出可能な細板状)を用いた場合よりも少ない、4つのフォトセンサ80〜83によって5段階のジャンプ台18の状態を検出することができる。また、フォトセンサ80〜83を用いることで、検出物体86を非接触で検出するので耐久性を高くすることができる。
次に、本実施形態におけるゲーム装置のゲーム実行時の動作について説明する。
まず、ゲーム装置において実行されるホッピングゲームの概略について説明する。
ホッピングゲームは、ゲーム空間中において予め設定されたコースを、複数のプレイヤにより動作が制御されるキャラクタにより制限時間内で競争させるゲームとする(コンピュータにより制御されるキャラクタを含んでいても良い)。キャラクタは、プレイヤがジャンプ台18の上でジャンプすることにより、連動してコースを進む方向にジャンプするよう表示制御される。
ホッピングゲームプログラムには、ゲーム空間中のコースを定義するコースデータが設定されている。コースデータには、コースの地形(マップ)を定義するデータ、コース中に配置されたアイテムに関するデータ、環境(風向きなど)を制御するためのデータなどが含まれている。地形には、例えば森、草原、砂漠、ゴム面、鉄板など、ジャンプに影響する各種の種類が用意されている。また、上り坂、下り坂などの斜面や段差についても定義されている。キャラクタは、ジャンプしながら進むコースの地形や環境の違いに応じてジャンプの大きさ(幅、高さ)が変化される。このため適切なコース取りをすることにより競争に勝つことができる。また、キャラクタは、コース中に配置されたアイテムを獲得することによりポイントを取得することができる。アイテムは、コース中の地面、空中、箱などのオブジェクト内など、各種の場所に配置されており、例えばキャラクタを近くに着地させる、あるいは通過させることにより獲得できるものとする。
次に、ホッピングゲームを実行するためのホッピングゲーム処理について、図16に示すフローチャートを参照しながら説明する。
CPU31は、ホッピングプログラムを実行することで、ホッピングゲームを制御する。CPU31は、コイン投入口17にコインが投入され、ボタンユニット21の所定のボタン操作によりゲーム開始が指示されるとゲームを開始する(ステップA1)。なお、図1に示す構成の場合には、同時に二人のプレイヤがゲームに参加できるが、他のゲーム装置とネットワークを介して接続して連動させることで、三人以上のプレイヤが同時にゲームに参加することができる。また、複数のコースが用意されており、ボタンユニット21へのボタン操作によってプレイヤが任意のコースを選択できるものとする。
図17には、ホッピングゲームのゲーム画面の一例を示している。図17に示すように、ゲーム画面では、コースの状況を表示すると共に、画面中央にプレイヤが動作を制御しているキャラクタ(図17ではウサギを表している)を配置している。また、自キャラクタの近くに他のプレイヤが制御する他キャラクタが存在する場合には、図17に示すように、他キャラクタも同時に表示する。また、ゲーム画面には、ゲーム残り時間、ラップタイム、アイテムの獲得数(ポイント)、コースレイアウト(各キャラクタの位置)などを表示している。
CPU31は、ゲーム開始に伴って残りタイムの算出を開始する(ステップA2)。
CPU31は、ジャンプ台18の上のプレイヤのジャンプを検出して、このプレイヤのジャンプに連動してキャラクタをジャンプさせながらコース上を進行させるキャラクタ制御処理を実行する(ステップA3)。なお、キャラクタ制御処理の詳細については後述する(ステップA3)。
CPU31は、キャラクタがコース上を進行するのに伴ってアイテムを獲得すると(ステップA4、Yes)、アイテム獲得表示をする(ステップA5)。アイテムを多く獲得することにより、例えば、他のキャラクタと同タイムでゴールした場合に順位が上がったり、ホッピングのための特殊なツールに変更したりすることができる。
CPU31は、何れかのキャラクタがゴールに到達する(ステップA6、Yes)、あるいは残りタイムが「0」となり(ステップA7、Yes)ゲームが終了するまで、プレイヤのジャンプに連動させてゲーム画面中のキャラクタを動作させる(ステップA3)。ゲームが終了すると、CPU31は、プレイヤが制御していたキャラクタの順位を表示させて(ステップA8)、ホッピングゲーム処理を終了する。
次に、前述したキャラクタ制御処理の詳細について、フローチャートを参照しながら説明する。本実施形態におけるゲーム装置では、3つの異なるクラスタ制御処理により、キャラクタの動作を制御することができる。以下、図18、図19、図20に示すフローチャートを参照しながら、それぞれのキャラクタ制御処理(1)(2)(3)について説明する。
図18は、キャラクタ制御処理(1)の動作を説明するためのフローチャートである。キャラクタ制御処理(1)では、プレイヤのジャンプに合わせてキャラクタにジャンプを開始させるように制御する方法である。すなわち、図21(a)に示すように、ジャンプ台18の上でプレイヤがジャンプすることにより、ゲーム画面中のキャラクタがジャンプをするように制御する。
CPU31は、ゲームが開始されると、ゲーム画面中においてキャラクタを表示させると共に、各センサ群からの信号をもとにして、ジャンプ台18の上でプレイヤがジャンプしているかを監視する。プレイヤがジャンプ台18の上でジャンプしていない場合には(ステップB1、No)、キャラクタは、コース上の同じ位置にいる。
ここで、CPU31は、プレイヤのジャンプを検出すると(ステップB1、Yes)、キャラクタを現在位置(通常は地面を表す最下面をジャンプ開始位置とする)からコースの進行方向に向かってジャンプするように表示する(ステップB2、B5)。なお、CPU31は、プレイヤのジャンプの検出と共に、ジャンプ台18の傾斜角度をフォトセンサ80〜83からの信号をもとに検出しており、ジャンプ台18がジャンプした時の角度に応じた方向にキャラクタをジャンプさせる。
CPU31は、キャラクタがジャンプしている最中に(着地するまでの間)に、再度、プレイヤのジャンプを検出すると(ステップB3、Yes)、図21(b)に示すように、空中にいるキャラクタを直ちに地面に降下させる降下モーションを表示し(ステップB4)、キャラクタが地面に到達した後に、再度、キャラクタをジャンプさせる(ステップB2)。すなわち、キャラクタ制御処理(1)では、ジャンプ台18の上でプレイヤがジャンプするのに合わせて、キャラクタのジャンプを開始させることができる。プレイヤは、自分がジャンプするのに合わせてキャラクタがジャンプを開始するため、ジャンプ操作によって、直接、キャラクタを制御している感覚を得られる。
なお、通常の状態では、予め設定された基本的な大きさでキャラクタをジャンプさせるが、コースデータに設定されたコースの地形(マップ)の種類(草原、砂漠…)や傾斜などに基づいてジャンプの大きさを算出し、この算出された大きさのジャンプをするように表示制御する。例えば、砂漠(砂)の上からジャンプを開始する場合には、ジャンプの大きさを小さくし、下り坂でジャンプする場合にはジャンプを大きくするなど、プレイヤの感覚に合うようにジャンプの大きさが算出されるものとする。ここでは、ジャンプが大きい場合には、キャラクタのコースを進むスピードが上がるようにする。
なお、プレイヤによるキャラクタの制御を簡単にするために、常に予め決められた一定の大きさのジャンプをするようにしても良い。また、ジャンプの方向についてもジャンプ台18の傾斜角度(例えば0°、2.5°、5°の何れか)に応じて変更するようにしても良いし、単純に傾斜がある場合には左右の予め決められた方向のみにジャンプするようにしても良い。
また、プレイヤのジャンプ台18上でのジャンプの大きさや踏み込みの強さに応じてジャンプの大きさを変動するようにしても良い。CPU31は、フォトセンサ60〜66により検出された検出物体85の変化量や変化速度をもとにしてジャンプの大きさや踏み込みの強さを検出し、この検出結果をもとにしてキャラクタのジャンプ表示を制御する。
キャラクタを一定の大きさ(及び方向)でジャンプさせるか、他の状況に応じて変化させるかは、例えばゲーム開始時にプレイヤが任意に選択できるようにしても良い。また、何れの要因によってキャラクタのジャンプが影響されるかについてもプレイヤが任意に選択できるようにしても良い。例えば、ゲームに参加している複数のプレイヤに体重差がある場合には、地形などによってはキャラクタのジャンプの大きさが変化するが、プレイヤのジャンプの大きさや踏み込み強さによってはキャラクタのジャンプが影響されないようにする、といった設定も可能となる。
図19は、キャラクタ制御処理(2)の動作を説明するためのフローチャートである。キャラクタ制御処理(2)では、プレイヤとキャラクタのジャンプのタイミングを比較し、その結果に応じてキャラクタのジャンプを制御する方法である。すなわち、図22に示すように、ジャンプ台18の上でプレイヤがジャンプすることにより、ゲーム画面中のキャラクタがジャンプをするように制御する。
CPU31は、ゲームが開始されると、ゲーム画面中においてキャラクタを一定間隔で継続的にジャンプさせると共に、各センサ群からの信号をもとにして、ジャンプ台18の上でプレイヤがジャンプしているかを監視する(ステップC1)。プレイヤがジャンプ台18の上でジャンプしていない場合には(ステップC2、No)、キャラクタは、ゲーム画面中の同じ位置においてジャンプし続けている。
ここで、CPU31は、プレイヤのジャンプを検出すると(ステップC2、Yes)、このプレイヤによるジャンプのタイミングと、ゲーム画面中に継続的にジャンプさせているキャラクタの着地タイミングとが一致しているかを比較する(ステップC3)。ここでは、キャラクタの着地タイミングの前後規定時間内(例えば、数ミリ秒内)に、プレイヤのジャンプが検出されたか否かにより判別する。
ここで、タイミングが一致していないと判別された場合(ステップC4、No)、CPU31は、キャラクタの次のジャンプを通常の大きさによってコースの進行方向にジャンプするように表示する。なお、前述したキャラクタ制御処理(1)と同様にして、ジャンプ台18(ジャンプしたプレイヤ)の傾きや、コースの地形等の他の要因に基づいて、ジャンプの大きさ(幅、高さ、方向)を変更するようにしても良い。
図22(a)には、キャラクタのジャンプとプレイヤのジャンプのタイミングが一致していない場合の例を示している。図22(a)に示すように、タイミングがずれている場合には、同じ幅、同じ高さによってキャラクタがジャンプしながらコースを進んでいく。
一方、タイミングが一致していると判別された場合(ステップC4、Yes)、CPU31は、キャラクタの次のジャンプを通常よりも大きくコースの進行方向にジャンプするように表示する。
図22(b)には、キャラクタのジャンプとプレイヤのジャンプのタイミングが一致している場合の例を示している。図22(b)に示すように、タイミングが一致している場合には、キャラクタのジャンプ力がアップして、例えばジャンプの幅が大きくなる。同時に、ジャンプの高さを大きくするようにしても良い。
なお、この場合も、キャラクタ制御処理(1)と同様にして、ジャンプ台18(ジャンプしたプレイヤ)の傾きや、コースの地形等の他の要因に基づいて、さらにジャンプの大きさ(幅、高さ、方向)を変更するようにしても良い。さらに、キャラクタ制御処理(2)では、キャラクタのジャンプのタイミングと一致するようにプレイヤがジャンプする際に、強く踏み込むことによって、さらに大きな特大のジャンプ(スーパージャンプ)をするようにキャラクタを表示して、キャラクタのスピードを上げるようにしても良い。この時、左右に傾斜させてジャンプすることにより、キャラクタをバク転宙返りやスピン、各種のエフェクト効果を付加して表示することで、ゲーム性を向上させることができる。また、キャラクタ制御処理(2)では、プレイヤが数多くジャンプする程、キャラクタのスピードを上げることができるわけではないので、体力差のあるプレイヤ間であっても公平なゲームを成立させることができ、またプレイヤの疲労度を軽減することができる。
図20は、キャラクタ制御処理(3)の動作を説明するためのフローチャートである。キャラクタ制御処理(3)では、プレイヤがジャンプする間隔に応じてキャラクタのジャンプを制御する方法である。
CPU31は、ゲームが開始されると、ゲーム画面中においてキャラクタを予め決められた一定間隔で継続的にジャンプさせると共に、各センサ群からの信号をもとにして、ジャンプ台18の上でプレイヤがジャンプしているかを監視する(ステップD1)。プレイヤがジャンプ台18の上でジャンプしていない場合には、キャラクタは、ゲーム画面中の同じ位置においてジャンプし続けている。
ここで、CPU31は、プレイヤのジャンプを検出すると(ステップD1、Yes)、このプレイヤによるジャンプの間隔を検出する(ステップD2)。CPU31は、プレイヤが2回以上のジャンプをすることで間隔を検出することができる。
CPU31は、プレイヤによるジャンプの間隔を検出すると、このジャンプの間隔に応じたキャラクタのジャンプの大きくさ(幅、高さ)を決定する(ステップD3)。そして、ゲーム画面中のキャラクタを、コースの進行方向に決定されたジャンプの大きさで表示する(ステップD4)。なお、この場合も、キャラクタ制御処理(1)と同様にして、ジャンプ台18(ジャンプしたプレイヤ)の傾きや、コースの地形等の他の要因に基づいて、さらにジャンプの大きさ(幅、高さ、方向)を変更するようにしても良い。
例えば、プレイヤのジャンプの間隔が狭い場合、すなわち素早くジャンプをしている場合には、図23(a)に示すように、プレイヤの素早い動きと連動させるように、キャラクタのジャンプを小さくしてゲーム画面中で素早く動くように表示制御する。また、プレイヤのジャンプの間隔が広い場合、すなわちゆっくりジャンプをしている場合には、図23(b)に示すように、プレイヤのゆっくりした動きと連動させるように、キャラクタのジャンプを大きくしてゲーム画面中でゆっくり動くように表示制御する。
なお、キャラクタ制御処理(3)では、キャラクタ制御処理(1)とは異なり、プレイヤの1回のジャンプとキャラクタの1回のジャンプとは対応していない。CPU31は、プレイヤによるジャンプの間隔を継続的に実行し(ステップD1,D2)、キャラクタが1ジャンプする毎に、その時点でのプレイヤのジャンプの間隔に応じた大きさ、スピードのジャンプをするようにキャラクタの表示を制御する。
本実施形態のゲーム装置では、前述したキャラクタ制御処理(1)〜(3)の何れかの方法によって、キャラクタのジャンプを表示制御するものとする。なお、ゲーム中のコース(あるいは周回)に応じて、あるいは特別なステージにおいて、何れかのキャラクタ制御処理を選択的に実行するようにしても良い。
このようにして、本実施形態におけるキャラクタ制御処理(1)〜(3)では、ジャンプ台18でプレイヤがジャンプすることにより、このジャンプと連動してゲーム画面中のキャラクタの動作(ジャンプ)を制御することができる。従って、プレイヤは、ジャンプによるキャラクタの操作を直感的に実行することが可能となる。また、プレイヤのジャンプと傾きを位置センサ群42、加速度センサ群43、及び傾きセンサ群44に含まれる各種センサを利用して検出するので、体重の軽い子供や女性などのプレイヤのジャンプについても、体重の重いプレイヤと同様にして検出することができ、ジャンプに連動したキャラクタの制御をプレイヤの違いに関係なく安定して実行することができる。このため、体重や体力が異なる様々なプレイヤが混在してゲーム(競争)を実行する場合であっても、公平なゲームを実現することができる。
また、本発明は上記実施形態そのままに限定されるものではなく、実施段階ではその要旨を逸脱しない範囲で構成要素を変形して具体化できる。また、上記実施形態に開示されている複数の構成要素の適宜な組み合わせにより、種々の発明を形成できる。例えば、実施形態に示される全構成要素から幾つかの構成要素を削除してもよい。さらに、異なる実施形態にわたる構成要素を適宜組み合わせてもよい。
また、実施形態に記載した手法は、コンピュータに実行させることができるプログラム(ソフトウエア手段)として、例えば磁気ディスク(フレキシブルディスク、ハードディスク等)、光ディスク(CD−ROM、DVD、MO等)、半導体メモリ(ROM、RAM、フラッシュメモリ等)等の記録媒体に格納し、また通信媒体により伝送して頒布することもできる。なお、媒体側に格納されるプログラムには、コンピュータに実行させるソフトウエア手段(実行プログラムのみならずテーブルやデータ構造も含む)をコンピュータ内に構成させる設定プログラムをも含む。本装置を実現するコンピュータは、記録媒体に記録されたプログラムを読み込み、また場合により設定プログラムによりソフトウエア手段を構築し、このソフトウエア手段によって動作が制御されることにより上述した処理を実行する。なお、本明細書でいう記録媒体は、頒布用に限らず、コンピュータ内部あるいはネットワークを介して接続される機器に設けられた磁気ディスクや半導体メモリ等の記憶媒体を含むものである。
本実施形態におけるゲーム装置の外観構成を示す図。 本実施形態におけるゲーム装置の機能構成を示す図。 ジャンプ検出ユニット16の図1(図4)に示すA−A線における断面図。 図1(図3)に示すB−B線における断面図。 ジャンプ検出ユニット16のサスペンションユニット90が設けられた付近の底部筐体内を示す図。 サスペンションユニット90の詳細な構成を示す図。 サスペンションユニット97の作用を説明するための図。 ローラ91の配置を示す図。 フォトセンサ60〜66を説明するための図。 加速度センサ70,71により検出されるジャンプ台18の変動(加速度)を表す信号の変化を示す図。 ジャンプ台18の上面に形成された傾斜95を示す図。 フォトセンサ80〜83と検出物体86の取り付け位置を示す図。 フォトセンサ80〜83と検出物体86の詳細な構成を示す図。 フォトセンサ80〜83による検出物体86を検出する組み合わせの変化の一例を示す図。 ジャンプ台18(検出物体86)の傾斜毎の検出物体86を検出するフォトセンサ80〜83(センサー1〜4)の組み合わせを示す図。 ホッピングゲーム処理について示すフローチャート。 ホッピングゲームのゲーム画面の一例を示す図。 キャラクタ制御処理(1)の動作を説明するためのフローチャート。 キャラクタ制御処理(2)の動作を説明するためのフローチャート。 キャラクタ制御処理(3)の動作を説明するためのフローチャート。 キャラクタ制御処理(1)の動作を説明するための図。 キャラクタ制御処理(2)の動作を説明するための図。 キャラクタ制御処理(3)の動作を説明するための図。
符号の説明
10…本体ユニット、12…ディスプレイユニット、13…基台、15(15a,15b)…ディスプレイ、16(16a,16b)…ジャンプ検出ユニット、17…コイン投入口、18(18a,18b)…ジャンプ台、19…シャフト、20(20a,20b)…グリップ、21…ボタンユニット、30…メインユニット、31…CPU、32…メモリ、33…記憶装置、34…表示コントローラ、35…I/Oインタフェース、40…I/O回路、41…コインセンサ、42…位置センサ群、43…加速度センサ群、44…傾きセンサ群、50(50a,50b)…フォトセンサ回路、51(51a,51b)…加速度センサ回路、52…フォトセンサ回路、60〜66(60a〜66a、60b〜66b)…フォトセンサ、70,71(70a,71a,71b,72b)…加速度センサ、80〜83…フォトセンサ。

Claims (5)

  1. ジャンプ台と、
    前記ジャンプ台の変動を検出するセンサと、
    前記センサによる変動の検出に基づいて、ジャンプ台上においてプレイヤがジャンプしたことを検出するジャンプ検出手段と、
    前記ジャンプ検出手段により検出された前記プレイヤのジャンプと連動させて、ゲーム画面中において表示されるキャラクタの動きを制御するキャラクタ制御手段と
    を具備したことを特徴とするゲーム装置。
  2. 前記キャラクタ制御手段は、前記ジャンプ検出手段により前記プレイヤのジャンプが検出された場合に、ゲーム画面中のキャラクタをジャンプの開始位置からジャンプさせることを特徴とする請求項1記載のゲーム装置。
  3. 前記キャラクタ制御手段は、前記キャラクタを前記ゲーム画面において継続的にジャンプさせ、前記ジャンプ検出手段により検出された前記プレイヤのジャンプのタイミングと、前記キャラクタのゲーム画面中における着地タイミングとを比較し、タイミングが一致するか否かに基づいて前記キャラクタのゲーム画面中におけるジャンプを制御することを特徴とする請求項1記載のゲーム装置。
  4. 前記キャラクタ制御手段は、前記ジャンプ検出手段により検出された前記プレイヤがジャンプする間隔を検出し、この検出された間隔に基づいて前記キャラクタのゲーム画面中におけるジャンプを制御することを特徴とする請求項1記載のゲーム装置。
  5. 前記キャラクタ制御手段は、予め設定されたゲーム空間の状態を表すデータをもとに表示されたゲーム画面中においてキャラクタを表示するものであって、前記ゲーム空間中の前記キャラクタがジャンプした位置に応じて、前記キャラクタのジャンプを制御することを特徴とする請求項1乃至4に記載のゲーム装置。
JP2008237960A 2008-09-17 2008-09-17 ゲーム装置 Active JP5500809B2 (ja)

Priority Applications (1)

Application Number Priority Date Filing Date Title
JP2008237960A JP5500809B2 (ja) 2008-09-17 2008-09-17 ゲーム装置

Applications Claiming Priority (1)

Application Number Priority Date Filing Date Title
JP2008237960A JP5500809B2 (ja) 2008-09-17 2008-09-17 ゲーム装置

Publications (2)

Publication Number Publication Date
JP2010068919A true JP2010068919A (ja) 2010-04-02
JP5500809B2 JP5500809B2 (ja) 2014-05-21

Family

ID=42201262

Family Applications (1)

Application Number Title Priority Date Filing Date
JP2008237960A Active JP5500809B2 (ja) 2008-09-17 2008-09-17 ゲーム装置

Country Status (1)

Country Link
JP (1) JP5500809B2 (ja)

Cited By (2)

* Cited by examiner, † Cited by third party
Publication number Priority date Publication date Assignee Title
JP2010207466A (ja) * 2009-03-11 2010-09-24 Taito Corp ゲーム装置
WO2017064926A1 (ja) * 2015-10-15 2017-04-20 ソニー株式会社 情報処理装置及び情報処理方法

Citations (7)

* Cited by examiner, † Cited by third party
Publication number Priority date Publication date Assignee Title
JPH10208134A (ja) * 1997-01-20 1998-08-07 Daifuku Co Ltd 自動販売機
JP2001087552A (ja) * 1999-09-24 2001-04-03 Namco Ltd ゲーム装置
JP2002085845A (ja) * 2000-09-19 2002-03-26 Namco Ltd ゲームシステム及び情報記憶媒体
JP2003024624A (ja) * 2001-07-12 2003-01-28 Konami Co Ltd 3次元画像処理プログラム、3次元画像処理方法及び装置
JP2005237606A (ja) * 2004-02-25 2005-09-08 Sony Computer Entertainment Inc ゲーム装置およびゲームの画像処理方法
JP2005293413A (ja) * 2004-04-02 2005-10-20 Matsushita Electric Works Ltd 仮想空間内移動装置
JP2008132326A (ja) * 2006-10-31 2008-06-12 Shinsedai Kk 記憶力鍛錬装置

Patent Citations (7)

* Cited by examiner, † Cited by third party
Publication number Priority date Publication date Assignee Title
JPH10208134A (ja) * 1997-01-20 1998-08-07 Daifuku Co Ltd 自動販売機
JP2001087552A (ja) * 1999-09-24 2001-04-03 Namco Ltd ゲーム装置
JP2002085845A (ja) * 2000-09-19 2002-03-26 Namco Ltd ゲームシステム及び情報記憶媒体
JP2003024624A (ja) * 2001-07-12 2003-01-28 Konami Co Ltd 3次元画像処理プログラム、3次元画像処理方法及び装置
JP2005237606A (ja) * 2004-02-25 2005-09-08 Sony Computer Entertainment Inc ゲーム装置およびゲームの画像処理方法
JP2005293413A (ja) * 2004-04-02 2005-10-20 Matsushita Electric Works Ltd 仮想空間内移動装置
JP2008132326A (ja) * 2006-10-31 2008-06-12 Shinsedai Kk 記憶力鍛錬装置

Cited By (4)

* Cited by examiner, † Cited by third party
Publication number Priority date Publication date Assignee Title
JP2010207466A (ja) * 2009-03-11 2010-09-24 Taito Corp ゲーム装置
WO2017064926A1 (ja) * 2015-10-15 2017-04-20 ソニー株式会社 情報処理装置及び情報処理方法
JPWO2017064926A1 (ja) * 2015-10-15 2018-08-02 ソニー株式会社 情報処理装置及び情報処理方法
EP3364270A4 (en) * 2015-10-15 2018-10-31 Sony Corporation Information processing device and information processing method

Also Published As

Publication number Publication date
JP5500809B2 (ja) 2014-05-21

Similar Documents

Publication Publication Date Title
US6368217B2 (en) Input device, data processing device, data processing method, game device and medium
JP3847058B2 (ja) ゲームシステム及びそれに用いられるゲーム情報記憶媒体
KR100762286B1 (ko) 트레드밀 시스템
US20130130798A1 (en) Video game controller
US8123614B2 (en) Gamepiece controller using a movable position-sensing display device including a movement currency mode of movement
JP7081922B2 (ja) プログラム、ゲーム装置及びゲームを実行するための方法
US8267788B2 (en) Gamepiece controller using a movable position-sensing display device including a movement currency mode of movement
JP2010022491A (ja) 入力装置及びゲーム機
JP2008125536A (ja) ビデオゲーム処理装置、およびビデオゲーム処理プログラム
US20110074768A1 (en) Storage medium having information processing program stored therein and information processing apparatus
KR20150113230A (ko) 자전거 거치대와 스마트 기기를 이용한 게임 방법 및 시스템
JP4555667B2 (ja) ゲームプログラムおよびゲーム装置
JP5500809B2 (ja) ゲーム装置
JP5427384B2 (ja) ゲーム装置
JP6393482B2 (ja) ゲーム装置
JP5500808B2 (ja) ゲーム装置
JP2005103154A (ja) ゲーム装置およびゲームプログラム
JP4669504B2 (ja) ゲームシステム及びそれに用いられるゲーム情報記憶媒体
WO2014016781A1 (en) A video game controller
JP3821282B2 (ja) ゲーム装置及びゲームプログラム
JP4610971B2 (ja) ゲームプログラム
JP5436894B2 (ja) ゲーム装置
JP5532375B2 (ja) ゲーム制御プログラム、情報記憶媒体
JP4624398B2 (ja) ゲームシステム及びそれに用いられるゲーム情報記憶媒体
JP5719915B2 (ja) ゲーム装置

Legal Events

Date Code Title Description
A711 Notification of change in applicant

Free format text: JAPANESE INTERMEDIATE CODE: A712

Effective date: 20100305

A521 Written amendment

Free format text: JAPANESE INTERMEDIATE CODE: A523

Effective date: 20100408

RD03 Notification of appointment of power of attorney

Free format text: JAPANESE INTERMEDIATE CODE: A7423

Effective date: 20100415

A621 Written request for application examination

Free format text: JAPANESE INTERMEDIATE CODE: A621

Effective date: 20110801

A131 Notification of reasons for refusal

Free format text: JAPANESE INTERMEDIATE CODE: A131

Effective date: 20130730

A521 Written amendment

Free format text: JAPANESE INTERMEDIATE CODE: A523

Effective date: 20130927

A131 Notification of reasons for refusal

Free format text: JAPANESE INTERMEDIATE CODE: A131

Effective date: 20131105

A521 Written amendment

Free format text: JAPANESE INTERMEDIATE CODE: A523

Effective date: 20140106

TRDD Decision of grant or rejection written
A01 Written decision to grant a patent or to grant a registration (utility model)

Free format text: JAPANESE INTERMEDIATE CODE: A01

Effective date: 20140212

A61 First payment of annual fees (during grant procedure)

Free format text: JAPANESE INTERMEDIATE CODE: A61

Effective date: 20140311

R150 Certificate of patent or registration of utility model

Ref document number: 5500809

Country of ref document: JP

Free format text: JAPANESE INTERMEDIATE CODE: R150