JP2010065655A - 内燃機関のカムホルダ構造 - Google Patents

内燃機関のカムホルダ構造 Download PDF

Info

Publication number
JP2010065655A
JP2010065655A JP2008235087A JP2008235087A JP2010065655A JP 2010065655 A JP2010065655 A JP 2010065655A JP 2008235087 A JP2008235087 A JP 2008235087A JP 2008235087 A JP2008235087 A JP 2008235087A JP 2010065655 A JP2010065655 A JP 2010065655A
Authority
JP
Japan
Prior art keywords
cam
internal combustion
combustion engine
cam holder
cap
Prior art date
Legal status (The legal status is an assumption and is not a legal conclusion. Google has not performed a legal analysis and makes no representation as to the accuracy of the status listed.)
Granted
Application number
JP2008235087A
Other languages
English (en)
Other versions
JP5142900B2 (ja
Inventor
Hideaki Sasaki
英晃 佐々木
Kazuhiro Yamamoto
和裕 山本
Current Assignee (The listed assignees may be inaccurate. Google has not performed a legal analysis and makes no representation or warranty as to the accuracy of the list.)
Honda Motor Co Ltd
Original Assignee
Honda Motor Co Ltd
Priority date (The priority date is an assumption and is not a legal conclusion. Google has not performed a legal analysis and makes no representation as to the accuracy of the date listed.)
Filing date
Publication date
Application filed by Honda Motor Co Ltd filed Critical Honda Motor Co Ltd
Priority to JP2008235087A priority Critical patent/JP5142900B2/ja
Publication of JP2010065655A publication Critical patent/JP2010065655A/ja
Application granted granted Critical
Publication of JP5142900B2 publication Critical patent/JP5142900B2/ja
Expired - Fee Related legal-status Critical Current
Anticipated expiration legal-status Critical

Links

Images

Classifications

    • FMECHANICAL ENGINEERING; LIGHTING; HEATING; WEAPONS; BLASTING
    • F01MACHINES OR ENGINES IN GENERAL; ENGINE PLANTS IN GENERAL; STEAM ENGINES
    • F01LCYCLICALLY OPERATING VALVES FOR MACHINES OR ENGINES
    • F01L1/00Valve-gear or valve arrangements, e.g. lift-valve gear
    • F01L1/02Valve drive
    • F01L1/04Valve drive by means of cams, camshafts, cam discs, eccentrics or the like
    • F01L1/047Camshafts
    • F01L1/053Camshafts overhead type

Landscapes

  • Valve-Gear Or Valve Arrangements (AREA)
  • Lubrication Of Internal Combustion Engines (AREA)

Abstract

【課題】 多気筒内燃機関の最もタイミングトレーン側の端部に位置するカムホルダの剛性の向上および熱負荷の低減を図る。
【解決手段】 内燃機関のタイミングトレーン側のカムホルダを、カムホルダ本体36と、カムホルダ本体36の上面に結合される吸気側カムキャップ34Aおよび排気側カムキャップ35とで構成し、そのうちの吸気側カムキャップ34Aに吸気カムシャフトの軸受け部48から排気側に向かって延びる延出部34bを設けたので、タイミングトレーンからの荷重が加わる吸気カムシャフトの端部を、延出部34bによってカムホルダ本体36の合わせ面との結合面積が増加した吸気側カムキャップ34Aで強固に支持することができるだけでなく、タイミングトレーンを介して動弁室内に侵入しようとする高温のオイルミストを、吸気側カムキャップ34Aの延出部34bによって遮ることができる。
【選択図】 図7

Description

本発明は、シリンダヘッドの上面に設けられたカムホルダ本体と、前記カムホルダ本体の上側の合わせ面に結合されて該カムホルダ本体との間にカムシャフトを支持するカムキャップとからなるカムホルダを、気筒列線に沿って複数配置した内燃機関のカムホルダ構造に関する。
下記特許文献1には、直列多気筒内燃機関において、吸気カム軸17を、シリンダヘッド5の上面に設けた吸気側カムキャリア部48と吸気カムキャップ50との間に挟むように支持するものが記載されている。
特開2002−276308号公報
ところで、直列多気筒内燃機関では、カムシャフトの一方の軸端側にタイミングチェーン等で構成されたタイミングトレーンが接続されるため、気筒列線方向に並置された複数のカムキャップのうち、タイミングトレーンに近い軸端側のカムキャップに最も大きな荷重が加わることになるが、上記特許文献1に記載されたものは、その荷重に対する対策は取られていない。
またカムシャフトが配置される動弁室とクランクケース内とはタイミングトレーン室を介して連通しているため、クランクケース内の高温のオイルミストがタイミングトレーン室を通って動弁室に流入することで、タイミングトレーンに近い軸端側の動弁機構が他の動弁機構よりも強く熱せられて大きく熱変形し、各気筒間でバルブリフトに差が発生する虞があるが、上記特許文献1に記載されたものは、その熱負荷に対する対策は取られていない。
本発明は前述の事情に鑑みてなされたもので、多気筒内燃機関の最もタイミングトレーン側の端部に位置するカムホルダの剛性の向上および熱負荷の低減を図ることを目的とする。
上記目的を達成するために、請求項1に記載された発明によれば、シリンダヘッドの上面に設けられたカムホルダ本体と、前記カムホルダ本体の上側の合わせ面に結合されて該カムホルダ本体との間にカムシャフトを支持するカムキャップとからなるカムホルダを、気筒列線に沿って複数配置した内燃機関のカムホルダ構造において、前記カムキャップは、吸気側カムキャップと排気側カムキャップとが別個に形成され、複数の吸気側カムキャップおよび複数の排気側カムキャップの一方のうち、タイミングトレーン側の端部に位置する端部カムキャップは、それが結合されるカムホルダ本体との間に形成される軸受け部から前記合わせ面に沿って吸気側および排気側の他方に向かって延びる延出部を備えることを特徴とする内燃機関のカムホルダ構造が提案される。
また請求項2に記載された発明によれば、請求項1の構成に加えて、前記タイミングトレーンはタイミングチェーンを含むことを特徴とする内燃機関のカムホルダ構造が提案される。
また請求項3に記載された発明によれば、請求項1または請求項2の構成に加えて、前記端部カムキャップの前記カムホルダ本体との合わせ面に、前記延出部から前記軸受け部に給油する油路が形成されることを特徴とする内燃機関のカムホルダ構造が提案される。
また請求項4に記載された発明によれば、請求項3の構成に加えて、前記端部カムキャップの前記延出部の先端に、前記カムシャフトを前記カムホルダ本体に締結するボルトが貫通するボルト孔が形成されており、前記ボルト孔の近傍に前記油路へのオイルの流入部が形成されることを特徴とする内燃機関のカムホルダ構造が提案される。
また請求項5に記載された発明によれば、請求項4の構成に加えて、前記端部カムキャップの前記延出部と前記軸受け部との間に第2ボルト孔が形成されており、前記第2ボルト孔の近傍における前記油路は、その他の部分における油路に比べて幅が小さく深さが大きく形成されることを特徴とする内燃機関のカムホルダ構造が提案される。
また請求項6に記載された発明によれば、請求項5の構成に加えて、前記油路は、前記ボルト孔および前記第2ボルト孔を挟んで並行する2本の油路からなることを特徴とする内燃機関のカムホルダ構造が提案される。
また請求項7に記載された発明によれば、請求項1〜請求項6の何れか1項の構成に加えて、前記シリンダヘッドの上面に結合されるヘッドカバーは、前記端部カムキャップの上面に向けて下向きに突出する隔壁を備えることを特徴とする内燃機関のカムホルダ構造が提案される。
また請求項8に記載された発明によれば、請求項1〜請求項7の何れか1項の構成に加えて、前記複数の吸気側カムキャップおよび前記複数の排気側カムキャップは、上面および気筒列線側の側面が相互に連結され、反気筒列線側の側面が開放することを特徴とする内燃機関のカムホルダ構造が提案される。
請求項1の構成によれば、内燃機関の吸気側および排気側の各複数のカムホルダを、シリンダヘッドの上面に設けられたカムホルダ本体と、カムホルダ本体の上側の合わせ面に結合されて該カムホルダ本体との間にカムシャフトを支持する各複数の吸気側カムキャップおよび排気側カムキャップとで構成し、吸気側の複数のカムキャップおよび排気側の複数のカムキャップの一方のうち、タイミングトレーン側の端部に位置する端部カムキャップに、それが結合されるカムホルダ本体の軸受け部からカムホルダ本体の合わせ面に沿って吸気側および排気側の他方に向かって延びる延出部を設けたので、タイミングトレーンからの荷重が加わるカムシャフトの端部を、延出部によってカムホルダ本体の合わせ面との結合面積が増加した端部カムキャップで強固に支持することができるだけでなく、タイミングトレーンを介して動弁室内に侵入しようとする高温のオイルミストを、カムキャップの延出部によって遮ることができる。
また請求項2の構成によれば、オイルが付着し易いタイミングチェーンでタイミングトレーンを構成すると、オイルがタイミングチェーンに引きずられて動弁室内に侵入し易くなるが、延出部を有する端部カムキャップの作用で動弁室内へのオイルミストの侵入を効果的に阻止することができる。
また請求項3の構成によれば、端部カムキャップのカムホルダ本体との合わせ面に、延出部から軸受け部に給油する油路を形成したので、油路の分だけ端部カムキャップの高さを増加させてオイルミストの侵入を一層効果的に阻止できるだけでなく、油路のレイアウトの自由度を増加させることができる。
また請求項4の構成によれば、端部カムキャップの延出部の先端に、カムシャフトをカムホルダ本体に締結するボルトが貫通するボルト孔が形成し、ボルト孔の近傍に油路へのオイルの流入部を形成したので、ボルト孔に加わる締結荷重で流入部の近傍におけるオイルのシール性を高めることができる。
また請求項5の構成によれば、端部カムキャップの延出部と軸受け部との間に第2ボルト孔を形成し、第2ボルト孔の近傍における油路を、その他の部分における油路に比べて幅を小さく深さを大きく形成したので、第2ボルト孔との干渉を避けるために油路の幅を充分に確保できない場合でも、油路の深さを増加させることで圧損の増加を防止することができる。
また請求項6の構成によれば、端部カムキャップの油路をボルト孔および第2ボルト孔を挟んで並行する2本の油路で構成したので、2本の油路を交差することなく容易に形成することができるだけでなく、油路の幅分だけ端部カムキャップの幅を広げてカムホルダ本体への取付剛性を高めることができる。
また請求項7の構成によれば、シリンダヘッドの上面に結合されるヘッドカバーに、端部カムキャップの上面に向けて下向きに突出する隔壁を設けたので、タイミングトレーン側から侵入しようとするオイルを端部カムキャップおよびヘッドカバーの隔壁の協働により一層効果的に阻止することができる。
また請求項8の構成によれば、複数の吸気側カムキャップおよび複数の排気側カムキャップは、上面および気筒列線側の側面が相互に連結されているので、その剛性を高めてカムシャフトを確実に支持することができ、しかも反気筒列線側の側面が開放しているので、動弁機構の調整を行うための空間を確保してメンテナンス性を高めることができる。
以下、本発明の実施の形態を添付図面に基づいて説明する。
図1〜図12は本発明の実施の形態を示すものであり、図1は内燃機関の部分正面図(図2の1方向矢視図)、図2は図1の2方向矢視図、図3は図2の3−3線矢視図、図4は図1の4−4線断面図、図5は図1の5−5線断面図、図6は図1の6−6線断面図、図7はカムホルダ集合体の斜視図、図8は図3の8−8線矢視図、図9は図8の9−9線断面図、図10は吸気側カムキャップ集合体の斜視図、図11は排気側カムキャップ集合体の斜視図、図12は上部カムホルダの斜視図である。
尚、本明細書では、シリンダ軸線方向のシリンダヘッド側を上側と定義し、シリンダ軸線方向のシリンダブロック側を下側と定義する。
図1〜図3に示すように、直列3気筒の内燃機関Eは、シリンダブロック11と、シリンダブロック11の上面に結合されたシリンダヘッド12と、シリンダヘッド12の上面に結合されたヘッドカバー13と、シリンダブロック11およびシリンダヘッド12の気筒列線L(図2参照)方向の一端部に設けられたタイミングトレーン14を覆うタイミングトレーンカバー15とを備える。
吸気バルブ16を開閉駆動する吸気側可変動弁機構17は、吸気カムシャフト18と、コントロールシャフト19と、複数のロッカーアームを支持するコントロールアーム20とを備えており、吸気カムシャフト18でロッカーアームを介して吸気バルブ16を開閉駆動するとき、コントロールシャフト19でコントロールアーム20を支軸21まわりに揺動させることで、吸気バルブ16のバルブタイミングおよびバルブリフトを連続的に変更することができる。吸気側可変動弁機構17の構造は、本願発明の要旨と直接関係がないため、その詳細な説明は省略する。
排気バルブ22を開閉駆動する排気側動弁機構23は、排気カムシャフト24と、排気ロッカーシャフト25に揺動可能に支持された排気ロッカーアーム26とで構成される。
吸気カムシャフト18の軸端に設けられた吸気側スプロケット27と、排気カムシャフト24の軸端に設けられた排気側スプロケット28とが、クランクシャフトに設けられたクランクスプロケット(図示せず)にタイミングチェーン29を介して接続される。吸気側スプロケット27、排気側スプロケット28およびタイミングチェーン29は前記タイミングトレーン14を構成するもので、タイミングトレーンカバー15で区画されたタイミングトレーン室30に収納される。
吸気側スプロケット27と吸気カムシャフト18との間には、周知のバルブタイミング可変機構31が設けられる。バルブタイミング可変機構31は、吸気側スプロケット27の位相に対する吸気カムシャフト18の位相を油圧によって進角方向および遅角方向に変化させるもので、吸気バルブ16のバルブタイミングを任意に変更することができる。
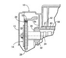
図7から明らかなように、シリンダヘッド12の上面には、気筒列線L方向に離間して配置される4個の下部カムホルダ32…と、4個の下部カムホルダ32…の吸気側の上面に結合される4個の上部カムホルダ33…と、4個の上部カムホルダ33…の上面に結合される4個の吸気側カムキャップ34A,34…と、4個の下部カムホルダ32…の排気側の上面に結合される4個の排気側カムキャップ35…とで構成される。対を成す下部カムホルダ32および上部カムホルダ33はカムホルダ本体36を構成する。
図10から明らかなように、4個の吸気側カムキャップ34A,34…のうち、最もタイミングトレーン室30の近い吸気側カムキャップ34Aは、他の3個の吸気側カムキャップ34…と異なる形状を有しており、以下、前記形状の異なる吸気側カムキャップ34を端部カムキャップ34Aと呼ぶ。吸気側カムキャップ34A,34…は、その上面が上部連結壁37…で連結されるとともに、気筒列線L側の側面が(排気側の側面)側部連結壁38…で連結されることで、一体の吸気側カムキャップ集合体39を構成する。吸気側カムキャップ集合体39の反気筒列線L側の側面(吸気側の側面)は開放している。
図11から明らかなように、4個の排気側カムキャップ35…は基本的に同一形状を有しており、それらの上面が上部連結壁40…で連結されるとともに、気筒列線L側の側面(吸気側の側面)が側部連結壁41…で連結されることで、一体の排気側カムキャップ集合体42を構成する。排気側カムキャップ集合体42の反気筒列線L側の側面(排気側の側面)は開放している。
しかして、図7に示すように、下部カムホルダ32…、上部カムホルダ33…および吸気側カムキャップ集合体39が、気筒列線L方向に2列に配置された各4本のボルト43…,44…でシリンダヘッド12の上面に締結されるとともに、下部カムホルダ32…および上部カムホルダ33…が、気筒列線L方向に配置された4本のボルト45…でシリンダヘッド12の上面に締結される。このとき、前記4本のボルト45…のうち、最もタイミングトレーン室30側の1本のボルト45Aは、端部カムキャップ34Aを共締めする。また下部カムホルダ32…および排気側カムキャップ集合体42が、気筒列線L方向に2列に配置された各4本のボルト46…,47…でシリンダヘッド12の上面に締結される。
その結果、上部カムホルダ33…と吸気側カムキャップ34A,34…との間に、吸気カムシャフト18を支持する軸受け部48…が形成され、下部カムホルダ34…と上部カムホルダ33…との間に、コントロールシャフト19を支持する軸受け部49…が形成され、下部カムホルダ34…と排気側カムキャップ35…との間に、排気カムシャフト24を支持する軸受け部50…が形成される。また下部カムホルダ34…には、コントロールアーム20…の支軸21…を支持する軸受け部51…と、排気ロッカーシャフト25を支持する軸受け部52…とが形成される。
尚、各4本のボルト44…,46…のうち、最もタイミングトレーン室30側の各1本のボルト44A,46Aが嵌合する締結ボス34a,35aは、他の締結ボスよりも高くなっており,そこに前記2本のボルト44A,46Aでチェーンガイド53(図1および図2〜図6参照)が固定される。チェーンガイド53は吸気側スプロケット27および排気側スプロケット28の間のタイミングチェーン29の上面に当接し、タイミングチェーン29の暴れを防止する。
次に、図7〜図10を参照して、4個の吸気側カムキャップ34A,34…のうち、最もタイミングトレーン室30側にある端部カムキャップ34Aの構造を説明する。
前記端部カムキャップ34Aは、その軸受け部48から気筒列線Lに向かって延びる延出部34bを備えており、その延出部34bの先端にボルト45Aが貫通するボルト孔34cが形成される。軸受け部48の両側にはボルト43,44Aが貫通する2個のボルト孔34d,34eが形成されているため、端部カムキャップ34Aは合計3個のボルト孔34c〜34eを備えることになる。
端部カムキャップ34Aが上部カムホルダ33に結合される割り面には、3個のボルト孔34c〜34eを挟むように進角用油路34fおよび遅角用油路34gが形成されており、延出部34bの先端側に進角用油路34fおよび遅角用油路34gのオイル流入口a,bが形成され、かつ進角用油路34fおよび遅角用油路34gは軸受け部48の内周面に形成した進角用油溝34hおよび遅角用油溝34iにそれぞれ連通する。進角用油路34fおよび遅角用油路34gを端部カムキャップ34A側だけに形成することで、対応する上部カムホルダ33側に油路を形成する必要がなくなり、上部カムホルダ33の加工が容易になる。
進角用油路34fおよび遅角用油路34gは、ボルト孔34eの近傍で溝の幅W(図8参照)が他の部分よりも狭くなっているが、その部分の溝の深さD(図9参照)は他の部分よりも深くなっている。
図3から明らかなように、シリンダヘッド12には油路12a,12b,12c,12d,12eが形成されており、油路12bおよび油路12c間に、シリンダヘッド12の外壁に設けられたオイルフィルタ54が接続されるとともに、油路12dおよび油路12e間に、シリンダヘッド12の外壁に設けられたソレノイドバルブ55が接続される。シリンダヘッド12の油路12eは、下部カムホルダ32の油路32aと、上部カムホルダ33の油路33aとを経て、オイル流入口a,b(図8参照)において前記進角用油路34fおよび遅角用油路34gに連通する。尚、シリンダヘッド12の油路12e、下部カムホルダ32の油路32aおよび上部カムホルダ33の油路33aは、実際には各2本の油路で構成される。
図9から明らかなように、端部カムキャップ34Aの進角用油路34fおよび遅角用油路34gは、吸気カムシャフト18の内部に形成した進角用油路18aおよび遅角用油路18bを介してバルブタイミング可変機構31に連通する。従って、バルブタイミング可変機構31で進角用油路18aを油圧ポンプに連通させて遅角用油路18bをオイルタンクに連通させると吸気バルブ16のバルブタイミングが進角し、進角用油路18aをオイルタンクに連通させて遅角用油路18bをオイルポンプに連通させると吸気バルブ16のバルブタイミングが遅角する。
図1および図4〜図6から明らかなように、タイミングトレーン14が収納されるタイミングトレーン室30と、動弁室56との間を仕切るように、ヘッドカバー13の上面から2枚の隔壁13a,13bが垂下する。2枚の隔壁13a,13bは端部カムキャップ34Aの締結ボス部34aの部分で分離しており、一方の隔壁13aの下端は端部カムキャップ34Aの上面に僅かな隙間α(図4参照)を介して対向し、他方の隔壁13bの下端は最もタイミングトレーン室30側の排気側カムキャップ35の上面に僅かな隙間β(図6参照)を介して対向する。
図12から明らかなように、端部カムキャップ34Aを除く3個の吸気側カムキャップ34…が締結される上部カムホルダ33は、ボルト44,45,46がそれぞれ貫通する3個のボルト孔33b,33c,33dを備える。中央のボルト孔33cの近傍に上向きに開口する凹部33eが形成されており、この凹部33eの底部からコントロールシャフト19の軸受け部49へと油路33fが貫通する。
次に、上記構成を備えた本発明の実施の形態の作用効果について説明する。
吸気側可変動弁機構17は排気側動弁機構23に比べて複雑な構造を有しているので、吸気側可変動弁機構17は特に高回転時における吸気バルブ16の挙動を安定させるために強いバルブスプリングを用いている。そのため、バルブスプリングによる吸気カムシャフト18への反力が大きくなり、吸気カムシャフト18の支持剛性は排気カムシャフト24の支持剛性よりも高くする必要がある。しかも、タイミングトレーン14側の動弁機構にはタイミングチェーン29からの荷重が最も強く作用するため、タイミングトレーン側のカムホルダには、バルブスプリングによる略上方を向く荷重B(図1参照)と、タイミングチェーン29による略下方を向く荷重A(図1参照)とが加わり、それぞれの荷重A,Bが端部カムキャップ34Aをカムホルダ本体36から引き剥がすように作用する。
即ち、図4から明らかなように、タイミングチェーン29による下向きの荷重Aの作用線とバルブスプリングによる上向きの荷重Bの作用線とは吸気カムシャフト18の軸線方向にずれているため、それらの荷重A,Bによって吸気カムシャフト18に曲げモーメントMが作用し、この曲げモーメントMが前記両荷重A,Bの作用線の中間に位置する端部カムキャップ34Aをカムホルダ本体36から引き剥がすように作用する。
端部カムキャップ34A以外の各吸気側カムキャップ34…は2本のボルト44,45で上部カムホルダ33に締結されるが、タイミングトレーン14側に位置することで最も大きな荷重が加わる端部カムキャップ34Aは、延出部34bを備えているために上部カムホルダ33の合わせ面との結合面積が増加し、かつ3本のボルト44,45A,46Aで上部カムホルダ33に締結されるので、その剛性を高めて前記荷重に充分に耐えることができる。
また内燃機関Eの運転中に回転するタイミングトレーン14により、クランクケース内のオイルミストがタイミングトレーン室30を経て動弁室56に浸入しようとし、特にタイミングトレーン14にオイルが付着し易いタイミングチェーン29を使用するとオイルミストの侵入量が増加する問題があるが、タイミングトレーン室30の上部の出口に、延出部34bを有する大型の端部カムキャップ34Aを配置したので、この端部カムキャップ34Aでタイミングトレーン室30から動弁室56へのオイルミストの侵入を有効に阻止することができる。
またヘッドカバー13の下面から端部カムキャップ34Aおよび排気側カムキャップ35に向けて隔壁13a,13bを垂下させたので、これらの隔壁13a,13bでタイミングトレーン室30から動弁室56への高温のオイルミストの侵入を一層確実に阻止することができ、これにより動弁機構の熱負荷によるバルブリフトのばらつきを解消することができる。
なぜならば、タイミングトレーン14に近い動弁機構には熱いオイルミストが掛かり易く、タイミングトレーン14から遠い動弁機構には熱いオイルミストが掛かり難いため、各動弁機構間に温度差が生じることで熱膨張量にも差が生じてバルブリフトがばらつく可能性があるが、隔壁13a,13bでタイミングトレーン室30から動弁室56へのオイルミストの侵入を阻止することでバルブリフトのばらつきを解消できるからである。
またバルブタイミング可変機構31に作動用のオイルを供給する進角用油路34fおよび遅角用油路34gを、上部カムホルダ33の合わせ面に結合される端部カムキャップ34A側に形成したので、進角用油路34fおよび遅角用油路34gの分だけ端部カムキャップ34Aの高さが増加してオイルミストの侵入阻止効果が高まるだけでなく、進角用油路34fおよび遅角用油路34gのレイアウトの自由度が増加する。
また端部カムキャップ34Aの延出部34bに先端には進角用油路34fおよび遅角用油路34gにオイルが流入する一対のオイル流入口a,bが設けられるが、それらのオイル流入口a,bの間に形成したボルト孔34cをボルト45Aが貫通して締結することで(図8参照)、オイル流入口a,bの近傍のシール性を高めてオイルの漏洩を阻止することができる。
また端部カムキャップ34の延出部34bと軸受け部48との間に形成したボルト孔34e近傍における進角用油路34fおよび遅角用油路34gを、その他の部分における進角用油路34fおよび遅角用油路34gに比べて幅W(図8参照)を小さくして深さD(図9参照)を大きくしたので、ボルト孔34eとの干渉を避けるために進角用油路34fおよび遅角用油路34gの幅Wを充分に確保できない場合でも、流路断面積の減少を防止して圧損の増加を回避することができる。
また端部カムキャップ34の進角用油路34fおよび遅角用油路34gを二つのボルト孔34c,34eを挟んで並行するように配置したので、進角用油路34fおよび遅角用油路34gを交差することなく容易に形成することができるだけでなく、進角用油路34fおよび遅角用油路34gの幅分だけ端部カムキャップ34の幅を広げて上部カムホルダ33への取付剛性を高めることができる。
更に、端部カムキャップ34Aは、その延出部34bの先端側で大きい幅W1を有し、その反対側(即ち、バルブタイミング可変機構31側)で小さい幅W2を有しているため、吸気カムシャフト18の軸端からのバルブタイミング可変機構31の突出量を最小限に抑えることができる(図8参照)。
また4個の吸気側カムキャップ34A,34…は、上面および気筒列線L側の側面が上部連結壁37…および側部連結壁38…で相互に連結されているので、その剛性を高めて吸気カムシャフト18を確実に支持することができ、しかも反気筒列線L側の側面が開放しているので、吸気側可変動弁機構17の調整を行うための空間を確保してメンテナンス性を高めることができる。
同様に、4個の排気側カムキャップ35…は、上面および気筒列線L側の側面が上部連結壁40…および側部連結壁41…で相互に連結されているので、その剛性を高めて排気カムシャフト24を確実に支持することができ、しかも反気筒列線L側の側面が開放しているので、排気側動弁機構23の調整を行うための空間を確保してメンテナンス性を高めることができる。
また端部カムキャップ34Aを除く3個の吸気側カムキャップ34…が結合される上部カムホルダ33は、その上面に凹部33eが形成されているため(図12参照)、ヘッドカバー13の内部で飛散したオイルを凹部33eに集め、そこから油路33fを介してコントロールシャフト19との摺動面に導くことで、コントロールシャフト19のジャーナルを効果的に潤滑することができる。
以上、本発明の実施の形態を説明したが、本発明はその要旨を逸脱しない範囲で種々の設計変更を行うことが可能である。
例えば、実施の形態では吸気側カムキャップ34Aが延出部34bを備えているが、最もタイミングトレーン14側の排気側カムキャップ35が延出部を備えていても良い。
また実施の形態では直列3気筒の内燃機関Eを例示したが、本発明は気筒数の異なる直列多気筒内燃機関や、各バンクに複数の気筒を備えるV型内燃機関に対しても適用することができる。
また実施の形態では、端部カムキャップ34Aが二つのボルト孔34c,34eを挟むように進角用油路34fおよび遅角用油路34gを備えているが、二つのボルト孔34c,34eの片側に進角用油路34fおよび遅角用油路34gを配置しても良い。
また実施の形態ではカムホルダ本体36をシリンダヘッド12と別部材で構成しているが、それをシリンダヘッド12と一体に形成しても良い。
内燃機関の部分正面図(図2の1方向矢視図) 図1の2方向矢視図 図2の3−3線矢視図 図1の4−4線断面図 図1の5−5線断面図 図1の6−6線断面図 カムホルダ集合体の斜視図 図3の8−8線矢視図 図8の9−9線断面図 吸気側カムキャップ集合体の斜視図 排気側カムキャップ集合体の斜視図 上部カムホルダの斜視図
符号の説明
12 シリンダヘッド
13 ヘッドカバー
13a 隔壁
13b 隔壁
14 タイミングトレーン
18 吸気カムシャフト(カムシャフト)
24 排気カムシャフト(カムシャフト)
29 タイミングチェーン
34 吸気側カムキャップ
34A 端部カムキャップ(吸気側カムキャップ)
34b 延出部
34c ボルト孔
34e ボルト孔(第2ボルト孔)
34f 進角用油路(油路)
34g 進角用油路(油路)
35 排気側カムキャップ
36 カムホルダ本体
45A ボルト
48 軸受け部
a オイルの流入部
b オイルの流入部
D 油路の深さ
L 気筒列線
W 油路の幅

Claims (8)

  1. シリンダヘッド(12)の上面に設けられたカムホルダ本体(36)と、前記カムホルダ本体(36)の上側の合わせ面に結合されて該カムホルダ本体(36)との間にカムシャフト(18,24)を支持するカムキャップ(34,34A,35)とからなるカムホルダを、気筒列線(L)に沿って複数配置した内燃機関のカムホルダ構造において、
    前記カムキャップは、吸気側カムキャップ(34,34A)と排気側カムキャップ(35)とが別個に形成され、
    複数の吸気側カムキャップ(34,34A)および複数の排気側カムキャップ(35)の一方のうち、タイミングトレーン(14)側の端部に位置する端部カムキャップ(34A)は、それが結合されるカムホルダ本体(36)との間に形成される軸受け部(48)から前記合わせ面に沿って吸気側および排気側の他方に向かって延びる延出部(34b)を備えることを特徴とする内燃機関のカムホルダ構造。
  2. 前記タイミングトレーン(14)はタイミングチェーン(29)を含むことを特徴とする、請求項1に記載の内燃機関のカムホルダ構造。
  3. 前記端部カムキャップ(34A)の前記カムホルダ本体(36)との合わせ面に、前記延出部(34b)から前記軸受け部(48)に給油する油路(34f,34g)が形成されることを特徴とする、請求項1または請求項2に記載の内燃機関のカムホルダ構造。
  4. 前記端部カムキャップ(34A)の前記延出部(34b)の先端に、前記カムシャフト(18)を前記カムホルダ本体(36)に締結するボルト(45A)が貫通するボルト孔(34c)が形成されており、前記ボルト孔(34c)の近傍に前記油路(34f,34g)へのオイルの流入部(a,b)が形成されることを特徴とする、請求項3に記載の内燃機関のカムホルダ構造。
  5. 前記端部カムキャップ(34A)の前記延出部(34b)と前記軸受け部(48)との間に第2ボルト孔(34e)が形成されており、前記第2ボルト孔(34e)の近傍における前記油路(34f,34g)は、その他の部分における油路(34f,34g)に比べて幅(W)が小さく深さ(D)が大きく形成されることを特徴とする、請求項4に記載の内燃機関のカムホルダ構造。
  6. 前記油路は、前記ボルト孔(34c)および前記第2ボルト孔(34e)を挟んで並行する2本の油路(34f,34g)からなることを特徴とする、請求項5に記載の内燃機関のカムホルダ構造。
  7. 前記シリンダヘッド(12)の上面に結合されるヘッドカバー(13)は、前記端部カムキャップ(34A)の上面に向けて下向きに突出する隔壁(13a,13b)を備えることを特徴とする、請求項1〜請求項6の何れか1項に記載の内燃機関のカムホルダ構造。
  8. 前記複数の吸気側カムキャップ(34,34A)および前記複数の排気側カムキャップ(35)は、上面および気筒列線(L)側の側面が相互に連結され、反気筒列線(L)側の側面が開放することを特徴とする、請求項1〜請求項7の何れか1項に記載の内燃機関のカムホルダ構造。
JP2008235087A 2008-09-12 2008-09-12 内燃機関のカムホルダ構造 Expired - Fee Related JP5142900B2 (ja)

Priority Applications (1)

Application Number Priority Date Filing Date Title
JP2008235087A JP5142900B2 (ja) 2008-09-12 2008-09-12 内燃機関のカムホルダ構造

Applications Claiming Priority (1)

Application Number Priority Date Filing Date Title
JP2008235087A JP5142900B2 (ja) 2008-09-12 2008-09-12 内燃機関のカムホルダ構造

Publications (2)

Publication Number Publication Date
JP2010065655A true JP2010065655A (ja) 2010-03-25
JP5142900B2 JP5142900B2 (ja) 2013-02-13

Family

ID=42191438

Family Applications (1)

Application Number Title Priority Date Filing Date
JP2008235087A Expired - Fee Related JP5142900B2 (ja) 2008-09-12 2008-09-12 内燃機関のカムホルダ構造

Country Status (1)

Country Link
JP (1) JP5142900B2 (ja)

Cited By (2)

* Cited by examiner, † Cited by third party
Publication number Priority date Publication date Assignee Title
JP2013144953A (ja) * 2012-01-16 2013-07-25 Suzuki Motor Corp カムシャフトのスラスト軸受潤滑構造
JP2021011861A (ja) * 2019-07-09 2021-02-04 トヨタ自動車株式会社 内燃機関

Citations (6)

* Cited by examiner, † Cited by third party
Publication number Priority date Publication date Assignee Title
JPH06101423A (ja) * 1992-09-21 1994-04-12 Nissan Motor Co Ltd エンジンのカムシャフト支持構造
JPH06200712A (ja) * 1992-12-28 1994-07-19 Suzuki Motor Corp エンジンの動弁装置
JP2002276308A (ja) * 2001-03-21 2002-09-25 Yamaha Motor Co Ltd 4サイクルエンジンのカム軸支持構造
JP2002285817A (ja) * 2001-03-26 2002-10-03 Aichi Mach Ind Co Ltd オイルセパレーターチャンバー
JP2005194911A (ja) * 2004-01-05 2005-07-21 Honda Motor Co Ltd 動弁装置の潤滑油供給構造
JP2007205299A (ja) * 2006-02-03 2007-08-16 Toyota Motor Corp 内燃機関のシリンダヘッド

Patent Citations (6)

* Cited by examiner, † Cited by third party
Publication number Priority date Publication date Assignee Title
JPH06101423A (ja) * 1992-09-21 1994-04-12 Nissan Motor Co Ltd エンジンのカムシャフト支持構造
JPH06200712A (ja) * 1992-12-28 1994-07-19 Suzuki Motor Corp エンジンの動弁装置
JP2002276308A (ja) * 2001-03-21 2002-09-25 Yamaha Motor Co Ltd 4サイクルエンジンのカム軸支持構造
JP2002285817A (ja) * 2001-03-26 2002-10-03 Aichi Mach Ind Co Ltd オイルセパレーターチャンバー
JP2005194911A (ja) * 2004-01-05 2005-07-21 Honda Motor Co Ltd 動弁装置の潤滑油供給構造
JP2007205299A (ja) * 2006-02-03 2007-08-16 Toyota Motor Corp 内燃機関のシリンダヘッド

Cited By (3)

* Cited by examiner, † Cited by third party
Publication number Priority date Publication date Assignee Title
JP2013144953A (ja) * 2012-01-16 2013-07-25 Suzuki Motor Corp カムシャフトのスラスト軸受潤滑構造
JP2021011861A (ja) * 2019-07-09 2021-02-04 トヨタ自動車株式会社 内燃機関
JP7306116B2 (ja) 2019-07-09 2023-07-11 トヨタ自動車株式会社 内燃機関

Also Published As

Publication number Publication date
JP5142900B2 (ja) 2013-02-13

Similar Documents

Publication Publication Date Title
JP4386112B2 (ja) エンジン
JP5088344B2 (ja) 多気筒エンジンの集合排気ポート一体型シリンダヘッドのオイル戻し通路構造
JP4978383B2 (ja) 潤滑装置
US8820277B2 (en) Engine assembly including cylinder head oil gallery
JP2623856B2 (ja) 内燃機関のシリンダヘッド
JP5662965B2 (ja) エンジンの潤滑油供給機構
JPH0874541A (ja) 4サイクルエンジン
EP2881556B1 (en) Engine
JP6713710B2 (ja) スラント型内燃機関
JP4657134B2 (ja) 4サイクル空油冷エンジンにおけるオイル通路構造
JP5142900B2 (ja) 内燃機関のカムホルダ構造
JP5751392B1 (ja) エンジンの動弁機構
JP2016050501A (ja) エンジンのオイル供給装置
EP1403497B1 (en) Camshaft bearing structure for over-head camshaft type internal combustion engine
JP3142609B2 (ja) エンジンのシリンダヘッド構造
JP6092813B2 (ja) 内燃機関の軸受の潤滑油供給構造
JP2013113158A (ja) 内燃機関のヘッドカバー構造
JP4326267B2 (ja) 多気筒内燃機関の動弁装置
JP3329415B2 (ja) 4サイクルエンジン
JP3821342B2 (ja) 内燃機関のオイル通路構造
JP4176407B2 (ja) エンジン
JPH0932561A (ja) 4サイクルエンジン
JP7385685B2 (ja) 動弁装置
JP4900593B2 (ja) 可変バルブタイミング機構付エンジンのオイル通路構造
JP7343345B2 (ja) 多気筒内燃機関のヘッドカバー

Legal Events

Date Code Title Description
A621 Written request for application examination

Free format text: JAPANESE INTERMEDIATE CODE: A621

Effective date: 20101125

A977 Report on retrieval

Free format text: JAPANESE INTERMEDIATE CODE: A971007

Effective date: 20120328

A131 Notification of reasons for refusal

Free format text: JAPANESE INTERMEDIATE CODE: A131

Effective date: 20120404

A521 Request for written amendment filed

Free format text: JAPANESE INTERMEDIATE CODE: A523

Effective date: 20120523

TRDD Decision of grant or rejection written
A01 Written decision to grant a patent or to grant a registration (utility model)

Free format text: JAPANESE INTERMEDIATE CODE: A01

Effective date: 20121107

A01 Written decision to grant a patent or to grant a registration (utility model)

Free format text: JAPANESE INTERMEDIATE CODE: A01

A61 First payment of annual fees (during grant procedure)

Free format text: JAPANESE INTERMEDIATE CODE: A61

Effective date: 20121120

FPAY Renewal fee payment (event date is renewal date of database)

Free format text: PAYMENT UNTIL: 20151130

Year of fee payment: 3

R150 Certificate of patent or registration of utility model

Ref document number: 5142900

Country of ref document: JP

Free format text: JAPANESE INTERMEDIATE CODE: R150

Free format text: JAPANESE INTERMEDIATE CODE: R150

R250 Receipt of annual fees

Free format text: JAPANESE INTERMEDIATE CODE: R250

LAPS Cancellation because of no payment of annual fees