JP2010065446A - 自動開閉防音サッシ - Google Patents

自動開閉防音サッシ Download PDF

Info

Publication number
JP2010065446A
JP2010065446A JP2008232538A JP2008232538A JP2010065446A JP 2010065446 A JP2010065446 A JP 2010065446A JP 2008232538 A JP2008232538 A JP 2008232538A JP 2008232538 A JP2008232538 A JP 2008232538A JP 2010065446 A JP2010065446 A JP 2010065446A
Authority
JP
Japan
Prior art keywords
shoji
opening
cam
closing
pulling
Prior art date
Legal status (The legal status is an assumption and is not a legal conclusion. Google has not performed a legal analysis and makes no representation as to the accuracy of the status listed.)
Granted
Application number
JP2008232538A
Other languages
English (en)
Other versions
JP5295692B2 (ja
Inventor
Takashi Nishi
尊氏 西
Yukio Hamazaki
幸男 浜崎
Current Assignee (The listed assignees may be inaccurate. Google has not performed a legal analysis and makes no representation or warranty as to the accuracy of the list.)
Howa Machinery Ltd
Hamada Kousyou Co Ltd
Original Assignee
Howa Machinery Ltd
Hamada Kousyou Co Ltd
Priority date (The priority date is an assumption and is not a legal conclusion. Google has not performed a legal analysis and makes no representation as to the accuracy of the date listed.)
Filing date
Publication date
Application filed by Howa Machinery Ltd, Hamada Kousyou Co Ltd filed Critical Howa Machinery Ltd
Priority to JP2008232538A priority Critical patent/JP5295692B2/ja
Publication of JP2010065446A publication Critical patent/JP2010065446A/ja
Application granted granted Critical
Publication of JP5295692B2 publication Critical patent/JP5295692B2/ja
Expired - Fee Related legal-status Critical Current
Anticipated expiration legal-status Critical

Links

Images

Landscapes

  • Specific Sealing Or Ventilating Devices For Doors And Windows (AREA)
  • Power-Operated Mechanisms For Wings (AREA)

Abstract

【課題】自動で開閉を行い、更に引寄せ状態ないしその解除をも自動で行う自動開閉防音サッシを提供する。
【解決手段】自動開閉防音サッシ1では、内障子2の召合せ框24に対して左右方向に開閉自在な外障子4と、外障子4を開閉させる開閉用モータ34と、外障子4に設けた締り受け部材50及び召合せ框24に設けたカム部材70と、これら部材を制御する制御装置とを備えており、締り受け部材50は、前後方向の引分け面59と、左右方向の引寄せ面58とを有しており、カム部材70は、外障子4が閉状態である場合に締り受け部材50に係合可能であり、当該係合の際、締り受け部材50における引分け面59を左方向に押すと共に引寄せ面58を室内側に押し、前記制御装置は、開閉用モータ34に障子を閉鎖させると共に、カム部材70と締り受け部材50を係合させることで、外障子4を自動的に左方向に引分けつつ室内側に引寄せる。
【選択図】図1

Description

本発明は、自動で開閉するサッシに関する。
特許文献1に開示されるように、近年電動サッシが提案されている。この電動サッシは、引違い開閉式であり、自動で施解錠し且つ開閉する。開閉については、サッシの横框に係合する駆動ホイルを駆動して行う。一方、施解錠については、回転可能な鍵と、サッシの閉状態において回転して来る当該鍵を受け入れる鍵受けとにおいて、当該鍵を回転駆動することで行う。
又、特許文献2に開示されるように、引違い障子の引寄せ装置が知られている。この装置は、ハンドルを手で倒すことで、当該ハンドルに昇降体を介して連結された下部のカムが回転し、当該カムの先端部が、サッシを受け入れている下枠のレールを押すこととなり、結果サッシが室内側へ引寄せられるものである。下枠には、レールに対向して気密材が配置されており、サッシは、引寄せにより気密材に当接して気密状態となり、防音効果を発揮する。
特開平8−158737号公報 実公平5−10126号公報
前者の電動サッシでは、施解錠及び開閉が自動化されるものの、閉状態ないし施錠状態において気密状態にならず、防音をすることができない。一方、後者の引寄せ装置を有する障子では、閉状態で防音を図ることができるものの、手動で障子を閉めたうえでハンドルを倒さなければならず、煩わしい。
そこで、請求項1に記載の発明は、自動で開閉を行い、更に引寄せ状態ないしその解除をも自動で行う自動開閉防音サッシを提供することを目的としたものである。
上記目的を達成するために、請求項1に記載の発明は、開口部に対して幅方向に開閉自在な障子と、前記障子を開閉させる開閉機構と、前記障子ないし前記開口部の一方に設けた締り受け部材、及び他方に設けたカム部材を含む締り機構と、前記開閉機構及び前記締り機構を制御する制御手段とを備えており、前記締り受け部材は、前記幅方向に交わる引分け面と、前記幅方向に沿う引寄せ面とを有しており、前記カム部材は、前記障子が閉状態である場合に前記締り受け部材に係合可能であり、当該係合の際、前記締り受け部材における前記引分け面を障子の閉鎖方向に押すと共に前記引寄せ面を障子が前記開口部に寄る方向に押し、前記制御手段は、前記開閉機構に障子を閉鎖させると共に、前記締り機構において前記カム部材と前記締り受け部材を係合させることで、前記障子を自動的に閉鎖方向に引分けつつ前記開口部に引寄せることを特徴とするものである。
請求項2に記載の発明は、上記目的に加えて、より高水準な防音状態を実現する目的を達成するため、上記発明にあって、前記締り機構は、前記障子の召合せ框、及び対応する前記開口部の部分に配置されており、前記障子には、前記開口部を押すことで当該障子を引寄せる引寄せ機構が設置されており、前記制御手段は、前記引寄せ機構を制御して、前記カム部材と前記締り受け部材の係合に伴い、前記引寄せ機構に前記障子の引寄せをさせることを特徴とするものである。なお、本発明において、召合せ框とは、堅框(戸先の框)と反対側の框をいう。
請求項3に記載の発明は、上記目的に加えて、高水準な防音状態をシンプルに実現する目的を達成するため、上記発明にあって、前記締り受け部材の前記引分け面は、前記引寄せ面より、係合前の前記カム部材に近い側に配置されていることを特徴とするものである。
請求項4に記載の発明は、上記目的に加えて、より一層シンプルな構成で自動的な防音状態への移行を実現する目的を達成するため、上記発明にあって、前記締り受け部材は、前記引分け面と前記引寄せ面とが直交するように形成されたうえで、前記障子の召合せ框の内面に配置されており、前記カム部材は、先端部において互いに直交する引分けカム面及び引寄せカム面を有するL字状のアームを備え、前記開口部の内側に配置されており、前記制御手段は、前記アームを上下方向に移動させて前記締り受け部材に係合させ、前記アームの前記引分けカム面に前記締り受け部材の前記引分け面を押させると共に、前記アームの前記引寄せカム面に前記締り受け部材の前記引寄せ面を押させることを特徴とするものである。
請求項5に記載の発明は、上記目的に加えて、低コスト且つコンパクトで動作の確実な防音状態のための機構を提供する目的を達成するため、上記発明にあって、前記カム部材は、ナット部材及びネジ部材を介して、モータにより前記締り受け部材に対して移動可能であり、前記カム部材の当該移動をガイドするガイド部材が設置されていることを特徴とするものである。
請求項6に記載の発明は、上記目的に加えて、音発生時に防音状態を自動的に形成することのできる自動開閉防音サッシを提供する目的を達成するため、上記発明にあって、所定水準以上の音が発生していることを検知する音センサーが前記制御手段と電気的に接続されており、前記制御手段は、音センサーにより所定水準以上の音が発生していることを確認すると、前記締り機構及び/又は前記引寄せ機構に、前記障子の引分けないし引寄せをさせることを特徴とするものである。
請求項7に記載の発明は、上記目的に加えて、より一層高水準である防音状態を円滑な動作が可能であるシンプルな構成で実現する目的を達成するため、上記発明にあって、前記引寄せ機構は、前記障子の上部に配置した上部引寄せ機構、及び/又は前記障子の下部に配置した下部引寄せ機構を含んでおり、前記上部引寄せ機構は、上下動可能であって上方へ移動すると前記開口部に嵌り前記障子を引寄せる押付け部材を有しており、前記下部引寄せ機構は、引寄せ長孔を有する取付板と、中央部に回転軸を有し上部に案内長孔を有するカムと、当該引寄せ長孔及び案内長孔に共通して入れられており、これら引寄せ長孔及び案内長孔内を上下動可能であって、上方へ移動すると前記カムを回転させ前記カムに前記開口部を押させて前記障子を引寄せる連結ピンとを有していることを特徴とするものである。
請求項8に記載の発明は、上記目的に加えて、より一層確実な動作を確保する目的を達成するため、上記発明にあって、前記障子が閉状態であることを検知する閉状態検知センサが前記制御手段と電気的に接続されており、前記制御手段は、(1)前記開閉機構の制御による前記障子の閉状態への移動、(2)前記閉状態検知センサによる前記障子の閉状態の確認、(3)前記締り機構の制御による前記カム部材と前記締り受け部材の係合、(4)前記引寄せ機構の制御による前記障子の引寄せの順で前記障子を自動的に閉鎖方向に引分けつつ前記開口部に引寄せることを特徴とするものである。
本発明によれば、引分け及び引寄せを自動で行う締り機構を、開閉機構と共に備えたので、自動的に開閉ないし遮音を行う自動開閉防音サッシを提供することができる、という効果を奏する。
以下、本発明に係る実施の形態の例につき、適宜図面に基づいて説明する。なお、当該形態は、下記の例に限定されない。
[全体的構成]
図1は当該形態に係る室内側から見た正面図であって、自動開閉防音サッシ1は、建物の壁等に設置された枠Fの内部に配置されており、枠Fの右半部において気密に固定された内障子2と、内障子2の背面側(室外側)において左右方向(幅方向)に開閉自在である外障子4とを含む。即ち、外障子4は、内障子2に対して引違い開閉可能である。なお、枠Fは、上枠U、下枠V、左枠P、及び右枠Qから成る。
外障子4は、ガラス製の透明板10,10ないし仕切12と、これらを囲む框14とを含む。框14は、上框16、下框18、左側即ち戸先の堅框20、及び右側即ち内障子2側の召合せ框22を含む。一方、内障子2も透明板ないし仕切とこれらを囲む框とを含み、内障子2の框には左側即ち外障子4側の召合せ框24が含まれる。なお、召合せ框24と、これより左側の上枠U、下枠V及び左枠Pとが、開口部を構成する。
外障子4が左方向(閉鎖方向)に移動すると、当該開口部が閉められていき、左一杯に移動して堅框20が左枠Pに接すると、双方の召合せ框22,24が左右方向において合致し、当該開口部が閉鎖されて、外障子4が閉状態となる(図1)。一方、外障子4が右方向(開放方向)に移動して召合せ框22が右枠Qに近づくと、外障子4が全開状態となり、堅框20が図1の二点鎖線Oに達する。
内障子2の召合せ框24の下部には、左方へ突出する留め具30が固定されており、留め具30には、ホイール32を鉛直軸周りで回転させる開閉用モータ34が設置されている。一方、外障子4の下框18における正面(室内側の面)には、左右方向に延びるバンド36が貼られている。バンド36は、外障子4の堅框20下端際から召合せ框22下端際まで延びており、内障子2に固定された開閉用モータ34のホイール32に接触している。ホイール32とバンド36とは、互いに及ぼす摩擦力が大きい接触面を持つように形成されており、互いに係合するものとされている。なお、開閉用モータ34は、図示しない制御手段としての制御装置と電気的に接続されている。又、留め具30、ホイール32、開閉用モータ34及びバンド36が、開閉機構を構成する。
更に、外障子4が全開状態であると検知信号を発生する全開状態検知センサ38が、内障子2の召合せ框24に取付けられている。全開状態検知センサ38は、召合せ框24の左面に設置されており、外障子4の上框16の左部室内側に設けた図示しない小突起が接触した場合に検知信号を発する。全開状態検知センサ38は、前記制御装置と電気的に接続されており、当該制御装置に対して検知信号を発する。
一方、外障子4が閉状態であると検知信号を発生する閉状態検知センサ39が、左枠Pの内側上部に取付けられている。閉状態検知センサ39は、外障子4の左框20の上部室内側に設けた図示しない小突起が接触した場合に検知信号を発する。閉状態検知センサ39は、前記制御装置と電気的に接続されており、当該制御装置に対して検知信号を発する。なお、外障子4の閉状態とは、左框20が左枠Pに重なり、召合せ框22,24が向き合う状態であり、外障子4の全閉状態とは、閉状態から引寄せ(室内側への寄せ)を行った状態であって、枠Fや内障子2に密着した状態である。
そして、召合せ框22,24の中央部には、外障子4の引分け(左側・戸先への押付け)ないし引寄せのための締り機構40が設置されており、外障子4の堅框20及び召合せ框22の上部には、それぞれ上部引寄せ機構42が設置されており、堅框20及び召合せ框22の下部には、それぞれ下部引寄せ機構44が設置されている。
[締り機構]
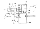
図2は図1のA部の拡大図、即ち締り機構40周辺の詳細図であり、図3は図2のD−D線断面図であり、図4は外障子4が閉状態となる直前における締り機構40周辺の詳細図であり、図5は図4のE−E線断面図である。締り機構40は、外障子4(の中央部)に固定された締り受け部材50と、内障子2(の中央部、開口部の部分)に固定されたロック機構51とを含む。
図6は締り受け部材50の(a)平面図(背面図の向きに合わせたもの)・(b)背面図・(c)右側面図であって、締り受け部材50は、背面から見てL字状の締り受け部材本体52の下側先端からカム案内部53が上方へ突出するように形成されている。締り受け部材本体52の上下には、それぞれ取付孔54が開けられている。
又、カム案内部53は、左右方向に広がる引寄せ部56と、前後方向(正背面方向)に広がる引分け部57とを備えている。引寄せ部56の内面上部は、下方へ行くほど徐々に後へ出るテーパ面としての引寄せ面58として形成されており、引分け部57の内面上部は、下方へ行くほど徐々に右に入るテーパ面としての引分け面59として形成されている。引分け面59の上辺は、引寄せ面58の上辺より上方(ロック機構51側、カム部材70側)にあり、引分け面59は、引寄せ面58よりも、ロック機構51ないし係合前のカム部材70に近くなるように配置されている。なお、引寄せ部56の内面下部が鉛直面とされるとともに、引分け部57の内面下部が僅かに内側(右側)に膨らむようにされることで、引寄せ面58と引分け面59の下側における膨出部60が形成されている。又、締り受け部材50は、前後方向において、召合せ框22の前面から透明板10の前面の間に位置するように配置されている。
一方、ロック機構51は、締り受け部材50に上から係合可能なカム部材70と、カム部材70を受け入れる断面コ字状で上下方向に沿うガイド部材72と、カム部材70とL字留め具71を介して接続されており上下方向に延びたナット部材73と、ナット部材73に入るネジ部材74と、ネジ部材74と合体するモータ軸76を有するカム部材用モータ78とを備えている。なお、カム部材用モータ78は、前記制御装置と電気的に接続されている。
図7はカム部材70の(a)平面図(左側面図の向きに合わせたもの)・(b)左側面図・(c)正面図であって、カム部材70は、上下方向に沿う板状のベース80と、ベース80を基部として背面側(後方)ないし左方へ延びるL字状のアーム82を有している。ベース80の上下には、L字留め具71に対する取付孔84がそれぞれ設けられている。又、アーム82先端部(左右方向に沿う部分)の前面は、山状になだらかに膨らむ引寄せカム面88とされており、アーム82先端部の左面は、角の丸められた鉛直面である引分けカム面89とされている。
又、外障子4の召合せ框22の前面左部には、前方ないし左方へ突出する断面L字状のリブ92が立てられていると共に、召合せ框22の前面右部に、弾性体である気密材93が取付けられている(図3,図5参照)。一方、内障子2の召合せ框24の後面左部には、後方ないし右方へ突出する断面L字状のリブ94が立てられている。
[上部引寄せ機構]
図8は図1のB−B線断面図、即ち上部引寄せ機構42周辺の拡大断面図であり、図9は外障子4が閉状態となる直前における上部引寄せ機構42周辺の拡大断面図であって、上部引寄せ機構42は、外障子4の堅框20の左面に設けられた凹部100の内部に配置されている。又、上部引寄せ機構42は、外障子4の召合せ框22の右面に設けられた凹部の内部にも配置されている。召合せ框22における上部引寄せ機構42は、堅框20におけるものと同様に成るため、以下堅框20における上部引寄せ機構42につき説明し、召合せ框22におけるものの説明は省略する。なお、図8,図9では、内障子2について、召合せ框24における断面図を組み合わせている。
上部引寄せ機構42は、凹部100と同幅であるブロック状で下部に穴101を有する押付け部材102と、押付け部材102の穴101の下部に固定された雌ネジ部104と、雌ネジ部104に入るネジ部材106と、ネジ部材106と合体したモータ軸108を有する上部モータ110とを備える。なお、上部モータ110は、前記制御装置と電気的に接続されている。
上枠Uの内側には上枠外レールR1が左右に渡されており、外障子4の上框16には、上枠外レールR1を受け入れる溝120が形成されている。又、上枠外レールR1の前方には、上枠内レールR2が左右に渡されており、上枠内レールR2の後面の基部(上部)と先端部(下部)とには、左右方向に延びる気密材122がそれぞれ取付けられている。なお、凹部100の後面と、溝120の後面とは、揃っている。又、上枠内レールR2の下側には、内障子2の上辺に設けられた溝123が位置している。
押付け部材102の上後部は、上枠外レールR1とほぼ同幅分(僅かに上枠外レールR1の幅より大きく)欠けており、押付け部材102の上部が、上枠外レールR1の前面と上の気密材122の後面との間とほぼ同寸の(当該間より僅かに大きい)先端部124となっている。押付け部材102は、上部モータ110ないし雌ネジ部104及びネジ部材106により、凹部100に沿って上下動可能であり、押付け部材102が上方へ移動すると、先端部124が、上枠外レールR1の前面と上の気密材122の後面との間に嵌る。
[下部引寄せ機構]
図10は図1のC−C線断面図、即ち下部引寄せ機構44周辺の拡大断面図であり、図11は外障子4が閉状態となる直前における下部引寄せ機構44周辺の拡大断面図であり、図12は図10のX−X線断面図、即ち下部引寄せ機構44周辺の拡大内部正面図であって、下部引寄せ機構44は、外障子4の堅框20における凹部100の下部に設置されている。又、下部引寄せ機構44は、外障子4の召合せ框22の右面に設けられた凹部の内部にも配置されている。召合せ框22における下部引寄せ機構44は、堅框20におけるものと同様に成るため、以下堅框20における下部引寄せ機構44につき説明し、召合せ框22におけるものの説明は省略する。なお、図10,図11では、内障子2について、召合せ框24における断面図を組み合わせている。
下部引寄せ機構44は、左右方向の回転軸130の周りで回転可能に装着された板状のカム132と、第1連結ピン136を介してカム132と下部において連結される連結部材138と、カム132の前後に位置しカム132と共に回転軸130及び第1連結ピン136によってそれぞれ装着される取付板140,140と、第2連結ピン142を介して連結部材138の上部と下部において連結されるリンク144と、第3連結ピン146を介してリンク144と連結されるナックル148と、ナックル148の上側に配置されるナックル148と一体のナット部材150と、ナット部材150に入るネジ部材152と、ネジ部材152と合体したモータ軸154を有する下部モータ156とを備える。なお、下部モータ156は、前記制御装置と電気的に接続されている。
下枠Vの内側には下枠外レールL1が左右に渡されており、外障子4の下框18には、下枠外レールL1を受け入れる溝160が形成されている。又、下枠外レールL1の前方には、下枠内レールL2が左右に渡されており、下枠内レールL2の後面下側に設けられた段部L3における下部と上部とには、左右方向に延びる気密材162がそれぞれ取付けられている。なお、下枠内レールL2の上側には、内障子2の下辺に設けられた溝163が位置している。
カム132の下部は、比較的に厚みのあるカム先端部170として形成されており、下枠外レールL1の前方に配置されている。又、カム132の上部には、上下方向に向く案内長孔172が設けられる。更に、各取付板140の中央部には、左から見て緩やかな逆S字状の引寄せ長孔174が開けられている。そして、第1連結ピン136は、案内長孔172ないし引寄せ長孔174の内部に配置されており、連結部材138がリンク144ないしナックル148、ナット部材150、ネジ部材152を介して下部モータ156により上昇ないし下降されることで、案内長孔172及び引寄せ長孔174の内部を上下動可能とされている。
[動作等]
自動開閉防音サッシ1では、前記制御装置が開閉用モータ34を制御することで、ホイール32の回転を調節し、バンド36ないし下框18を介した外障子4の左右方向の移動、即ち外障子4の開閉を自動で行う。前記制御装置は、図示しないスイッチを備えており、当該スイッチの入力に応じて外障子4の開閉をし、あるいは外障子4の任意の位置での開状態の維持をする。及び/又は、前記制御装置は、図示しない雨・振動・温度・風・音センサー・タイマーの少なくとも一つと電気的に接続されており、各センサーから検知信号を受信するか、あるいは受信している信号が所定の閾値を超えるか、あるいはタイマーから所定時間の経過や所定時刻の到来を把握する等すると、適宜信号や閾値の状態に応じ、外障子4の開閉をし、あるいは外障子4の所定位置での開状態の維持をする。なお、各種センサーやタイマーは、前記制御装置に内蔵されたり、自動開閉防音サッシ1や開口部・枠等に設置されたり、これらの何れかに近接して設置されたりする。又、外障子4を全開状態とする場合は、全開状態検知センサ38からの検知信号を確認することができ、あるいは全開状態検知センサ38から検知信号を受信した場合に、前記制御装置は開閉用モータ34の駆動を停止してホイール32の回転を止め、更なる開放動作を阻止することができる。
そして、自動開閉防音サッシ1は、前記制御装置の制御により、以下に説明するように外障子4を閉状態移行・閉状態確認・締り(施錠)・上下引寄せの順で全閉状態(気密状態・防音状態・遮音状態)とする。なお、外障子4を全閉状態から開状態にする場合は、以下と逆の動作を行う。
即ち、前記制御装置は、開閉用モータ34を制御して、ホイール32、バンド36ないし下框18を介して外障子4を左方へ移動し、召合せ框22,24が向き合う状態として、外障子4を閉状態とする(図4,図5,図9,図11)。
このとき、ロック機構51のカム部材70・L字留め具71・ナット部材73は、ネジ部材74がナット部材73に入り込んでナット部材73を巻き上げることで、上方に位置している。又、上部引寄せ機構42の押付け部材102・雌ネジ部104は、ネジ部材106が雌ネジ部104に入り込んで雌ネジ部104を下げることで、下方に位置している。更に、下部引寄せ機構44の第1連結ピン136・連結部材138・リンク144・第3連結ピン146・ナックル148・ナット部材150は、ネジ部材152の大部分がナット部材150から出されていることで、下方に位置している。又、第1連結ピン136が下方に位置し、カム132上部の案内長孔172の下端に位置しているところ、各取付板130の引寄せ長孔174が第1連結ピン136を後方に位置させているため、案内長孔172とは回転軸130を挟んで反対側になるカム132下部のカム先端部170が、前方に位置している。
次に、前記制御装置は、閉状態検知センサ39からの検知信号を待つ。所定時間内に当該検知信号を受信できない場合には、エラー処理を行う。エラー処理としては、図示しない制御装置の表示手段に外障子4の閉状態が確認できない旨表示し、及び/又は図示しない制御装置の発音手段において所定の発音をすることを行う。
そして、前記制御装置は、閉状態検知センサ39から検知信号を受信すると、締り機構40におけるロック機構51のカム部材用モータ78を制御して、カム部材70を下降させ締り受け部材50に係合(施錠)させる。
即ち、前記制御装置は、カム部材用モータ78のモータ軸76を、ナット部材73がネジ部材74を降りていく方向(ナット部材73に対してネジ部材74が出る方向、正転方向とする)に回転させ、ナット部材73に取付けられたカム部材70を下降させる。カム部材70の下降は、ガイド部材72により、上下方向に沿って行われる。
下降されるカム部材70は、締り受け部材50のカム案内部53の引分け面59の方が引寄せ面58より近いため、まずアーム82の引分けカム面89において引分け面59に接触する。引分け面59は、右下がりのテーパ面であり、引分けカム面89は、引分け面59を辿ると、引分け部57や締り受け部材本体52を介して外障子4(召合せ框22)を左方へ引分ける。
次に、下降されるカム部材70は、アーム82の引寄せカム面88において、締り受け部材50のカム案内部53の引寄せ面58に接触する。引寄せ面58は、下ほど後へ出るテーパ面であり、引寄せカム面88は、引寄せ面58を辿ると、引寄せ部56や締り受け部材本体52を介して外障子4(召合せ框22)を前へ引寄せる。なお、引分け面59は、引寄せ面58の上辺より下方においてもテーパ面が続くように形成されており、カム部材70のカム案内部53は、引分けられつつ引寄せられることとなる。
続いて、前記制御装置は、アーム82が引寄せ面58や引分け面59から脱した時点で、モータ軸76の回転を停止し、カム部材70の下降を終え、カム部材70の締り受け部材50への係合を完了させる。このとき、アーム82の先端部は、締り受け部材50の膨出部60に位置しており、召合せ框22(外障子4)の引分けと引寄せとが行われている。更に、外障子4の召合せ框22における気密材93が、内障子2の召合せ框24の後面に密着し、併せて上枠内レールR2の先端部の各気密材122が外障子4の上框16の前面に密着し、又下枠内レールL2の段部L3の下部と上部における各気密材162が下框18の前面ないし下部に密着する。なお、召合せ框22のリブ92の先端部と召合せ框24のリブ94の先端部とが向き合っている。又、前記制御装置は、所定回転数に達したこと、所定時間駆動したこと、あるいはモータ軸76の回転中に所定の抵抗を受けたこと等によりモータ78の停止時点を把握する。
ロック機構51の締り受け部材50への係合を完了すると、前記制御装置は、上部引寄せ機構42の上部モータ110及び下部引寄せ機構44の下部モータ156を同時に制御して、堅框20及び召合せ框22の上部ないし下部を前に引寄せ、外障子4を室内側に引寄せる。以下、上部引寄せ機構42、下部引寄せ機構44の順で説明する。
前記制御装置は、上部引寄せ機構42の上部モータ110を制御して、モータ軸108を雌ネジ部104がネジ部材106に対し上昇する方向(穴101からネジ部材106が露出する方向、正転方向とする)に回転させる。
雌ネジ部104の上昇に伴い押付け部材102も凹部100に沿って上昇し、押付け部材102の先端部124が、上枠内レールR2の基部の気密材122と上枠外レールR1の前面との間に入っていく。当該間より先端部124の幅の方が若干大きいので、先端部124は基部の気密材122に密着する。又、先端部124が、当該間に入り込むことで上枠外レールR1により前方へ押され、ネジ部材106・雌ネジ部104・上部モータ110・凹部100等を介して外障子4(堅框20ないし召合せ框22)が室内側へ引寄せられることとなる。外障子4が室内側へ引寄せられると、各気密材93,122,162が枠Fあるいは外障子4の框14に対してより一層密着する。なお、先端部124の後部の角が取られていることで、先端部124が上枠外レールR1に対し徐々に前方へ押されるものとされており、円滑な引寄せが実現されている。又、前記制御装置は、カム部材70の場合と同様にして上部モータ110の停止を行う。
一方、前記制御装置は、下部引寄せ機構44の下部モータ156を制御して、モータ軸154をナット部材150がナックル148と共にネジ部材152に対し上昇する方向(ナット部材150に対しネジ部材106が入る方向、正転方向とする)に回転させる。
すると、第3連結ピン146周りで僅かに回転するリンク144を介して連結部材138も上昇する。連結部材138も第2連結ピン142によりリンク144に対して回転可能である。又、連結部材138の下部に通された第1連結ピン136が上昇し、各取付板130の引寄せ長孔174を辿って前方へ引寄せられ、カム132上部の案内長孔172内を上昇しつつカム132上部(案内長孔172の前側)を前方に押す。上部を押されたカム132は回転軸130周りで回転し、カム先端部170が後方へ移動する。後方へ移動したカム先端部170は、下枠外レールL1を押し、外障子4(堅框20ないし召合せ框22)を下枠外レールL1に対して前方に移動させて、外障子4を室内側に引寄せる。第1連結ピン136が案内長孔172あるいは引寄せ長孔174の上端まで移動すれば、上部モータ110が停止して外障子4の引寄せが完了し、各気密材93,122,162が枠Fあるいは外障子4の框14に一層密着する。なお、前記制御装置は、カム部材70の場合と同様にして上部モータ110の停止を行う。
[作用効果等]
以上の自動開閉防音サッシ1では、開口部(内障子2の召合せ框24・上枠U・下枠V・左枠P)に対して左右方向に開閉自在な外障子4と、外障子4を開閉させる開閉機構(ホイール32・開閉用モータ34・バンド36)と、外障子4に設けた締り受け部材50、及び内障子2の召合せ框24に設けたカム部材70を含む締り機構40と、開閉用モータ34及び締り機構40を制御する前記制御装置とを備えており、締り受け部材50は、左右方向に交わる引分け面59と、左右方向に沿う引寄せ面58とを有しており、カム部材70は、外障子4が閉状態である場合に締り受け部材50に係合可能であり、当該係合の際、締り受け部材50における引分け面59を外障子4の閉鎖方向(左方向)に押すと共に引寄せ面58を外障子4が内障子2の召合せ框24に引寄せられる方向に押し、前記制御装置は、開閉用モータ34に障子を閉鎖させると共に、締り機構40においてカム部材70と締り受け部材50を係合させることで、外障子4を自動的に閉鎖方向に引分けつつ内障子2の召合せ框24に引寄せる。
従って、自動開閉防音サッシ1では、前記制御装置のボタンを押す等するだけで、自動的に外障子4を引分けつつ引寄せて全閉状態としたり、全閉状態から脱させて単なる閉状態や開状態にすることができ、極めて簡単に外障子4につき開閉するのみならず、防音状態としあるいは防音状態の解除をすることができる。又、高所等手の届かない場所に外障子4が設置されたとしても、外障子4を開閉し、気密状態で閉鎖することができる。しかも、外障子4の引分け及び引寄せは締り受け部材50とカム部材70の係合によりシンプルに実現することができ、低コストであるし、外障子4の開閉を妨げることがない。
又、締り機構40は、外障子4の召合せ框22及び対応する前記開口部の部分(内障子2の召合せ框24)に配置されており、外障子4の堅框20及び召合せ框22には、枠Fを押すことで当該堅框を引寄せる上部引寄せ機構42及び下部引寄せ機構44がそれぞれ設置されており、前記制御装置は、各上部引寄せ機構42及び各下部引寄せ機構44を制御して、カム部材70と締り受け部材50の係合(締り機構40の締り作動)に伴い、上部引寄せ機構42及び下部引寄せ機構4に外障子4(堅框20ないし召合せ框22)の引寄せをさせる。よって、簡単に防音状態に移行できるのは勿論のこと、当該防音状態をより高度な水準のものとすることができる。
更に、締り受け部材50の引分け面59は、引寄せ面58より、係合前のカム部材70に近い側に配置されている。よって、外障子4につきまず引分けを実行した後に引寄せを実行することができ、外障子4の引寄せにつき十分に引分けし終えた段階で行われる精度の高いものとして、防音状態における遮音をより一層確実なものとすることができる。
又更に、締り受け部材50は、引分け面59と引寄せ面58とが直交するように形成されたうえで、外障子4の召合せ框22の内面に配置されており、カム部材70は、先端部において互いに直交する引分けカム面89及び引寄せカム面88を有するL字状のアーム82を備え、内障子4の召合せ框24の左側(開口部の内側)に配置されており、前記制御装置は、アーム82を上下方向に移動させて締り受け部材50に係合させ、アーム82の引分けカム面89に締り受け部材50の引分け面59を押させると共に、アーム82の引寄せカム面88に締り受け部材50の引寄せ面58を押させる。よって、より一層シンプルな構成で自動的な防音状態への移行を実現することができる。
加えて、カム部材70は、ナット部材73及びネジ部材74を介して、カム部材用モータ78により締り受け部材50に対して移動可能であり、カム部材70の当該移動をガイドするガイド部材72が設置されている。よって、動作が確実で低コストであり外障子4の召合せ框22に隣接してコンパクトに収め得るカム部材70の移動機構を提供することができる。
又、引寄せ機構として、外障子4の堅框20及び召合せ框22の上部に配置した上部引寄せ機構42、並びに堅框20及び召合せ框22の下部に配置した下部引寄せ機構44を含んでおり、各上部引寄せ機構42は、上下動可能であって上方へ移動すると上枠U(上枠外レールU1と上の気密材122の間)に嵌り外障子4を引寄せる押付け部材102を有しており、各下部引寄せ機構44は、引寄せ長孔174を有する取付板140と、中央部に回転軸130を有し上部に案内長孔172を有するカム132と、当該引寄せ長孔174及び案内長孔172に共通して入れられており、これら引寄せ長孔174及び案内長孔172内を上下動可能であって、上方へ移動するとカム132を回転させカム132に下枠V(下枠外レールL1)を押させて外障子4を引寄せる第1連結ピン136とを有している。よって、より高度な遮音のための外障子4の引寄せにつき、シンプルな構成で円滑に行えるようにすることができる。
更に、外障子4が閉状態であることを検知する閉状態検知センサ39が前記制御手段と電気的に接続されており、前記制御手段は、(1)開閉機構(開閉用モータ34)の制御による外障子4の閉状態への移動、(2)閉状態検知センサ39による外障子4の閉状態の確認、(3)締り機構40の制御によるカム部材70と締り受け部材50の係合、(4)各上部引寄せ機構42及び各下部引寄せ機構44の制御による外障子4の引寄せの順で外障子4を自動的に閉鎖方向に引分けつつ開口部(内障子2の召合せ框24や枠F)に引寄せる。よって、防音状態に至るまでの外障子4に係る動作を確実なものとすることができ、又外障子4を開口部に対して一定の姿勢で引寄せることができて動作を更に確実なものとしつつ外障子4や開口部を保護することができる。なお、外障子4や開口部に気密材93,122,162が設けられるているが、この気密材93,122,162のねじれが防止され、気密材93,122,162が保護されると共に、確実な気密を実現することができる。
なお、前記制御装置は、図示しない雨・振動・温度・風・音センサー・タイマーの少なくとも一つと電気的に接続されており、各センサーから検知信号を受信するか、あるいは受信している信号が所定の閾値を超えるか、あるいはタイマーから所定時間の経過や所定時刻の到来を把握する等すると、適宜信号や閾値の状態に応じ、外障子4の開閉をし、あるいは外障子4の所定位置での開状態の維持をする。従って、降雨時や振動発生時、高温時(低温時)、強風時、騒音発生時や所定時刻到来時等に自動的に外障子4を閉鎖したり、あるいは天候回復時や振動停止時、温度上昇時、微風時、騒音停止時や所定時間経過後等に自動的に外障子4を開放したりすることができ、健康や財産の保護を図ることのできる安全で便利な自動開閉防音サッシ1を提供することができる。そして、特に所定水準以上の音が発生していることを検知する音センサーが前記制御装置と電気的に接続されており、前記制御装置は、音センサーにより所定水準以上の音が発生していることを確認すると、締り機構40及び/又は上部引寄せ機構42・下部引寄せ機構44に、外障子2の引分けないし引寄せをさせることで、音発生時に防音状態を自動的に形成することができるという優れた効果を発揮する。
[変更例]
主に上記形態を変更して成る、本発明の他の形態を例示する。締り受け部材のカム案内部において、引分け面(テーパ面)の下側に引寄せ面(テーパ面)の上辺を配置する等して、引分けと引寄せを区別し、引分け後に引寄せるようにする。気密材につき、上枠や下枠に設置せずに外障子ないし内障子の上框や下框に設置したり、外障子の召合せ框に設置せずに内障子の召合せ框に設置したり、それぞれの双方に設置したり、上枠や下枠において二重にせず一重や三重以上にしたり、召合せ框において一重にせず二重以上にしたり、堅框に沿って設けたり、一部又は全部につき締り機構による施錠時には密着しないが、引寄せ機構による引寄せ時には密着するようにしたりする。
下部引寄せ機構の取付板を1枚あるいは3枚以上としたり、リンクを省くか更に追加したり、外障子や内障子における透明板や仕切の枚数を変えたりする等、各種部材の数を変更したり省略したりする。上下引寄せ機構の少なくとも一方を省略し、あるいは上下引寄せ機構の堅框側又は召合せ框側の一方を省略する。なお、堅框側の密閉に関し外障子の引分けによって比較的に対処し易いことから、上下引寄せ機構については、堅框のみに設けるよりも、召合せ框のみに設けた方が気密性能を比較的に高くことができ、よって、コストや設置性を重視する観点からは、外障子の召合せ框のみに上部引寄せ機構及び/又は下部引寄せ機構を設けることが好ましい。
カム部材等の上下動につき、モータ並びにネジ部材及びナット部材(雌ネジ部材)によるものに代えて、シリンダのピストンによるものとする。外障子の開閉につき、バンドとホイールによるものに代えて、ラックとピニオンによるものとしたり、ボールネジによるものとしたりする。締り機構につき、カム部材に対して締り受け部材が近づくものとしたり、カム部材及び締り受け部材の双方が互いに近づくものとしたりする。
制御装置につき、枠に隣接して配置したものとしたり、各機構(の一部)に分散したうえで互いに電気的に接続して配置したものとしたりする。外障子につき、引分けのみ行った引分け閉状態(閉状態)にした後、必ず引寄せまで完了した引寄せ閉状態(全閉状態・気密状態・防音状態)にするようにせず、閉状態を維持することができるようにする。開状態から全閉状態にする際に、召合せ框施錠・堅框上下引寄せの順にせず、全てを同時に行ったり、堅框上下引寄せを先に行ったり、堅框上部引寄せと堅框下部引寄せとを同時ではなく順次行ったり等する。
締り機構につき、ロック機構(カム部材)を締り受け部材の下側に設置し、締り受け部材のカム案内部を下開きとして、ロック機構を上方に移動し互いに係合させる。外障子の下框等に締り受け部材を設けると共に、内障子の下框等にロック機構を設ける。外障子の召合せ框等にロック機構を設置すると共に、内障子の召合せ框等に締り受け部材を設置する。外障子を幅方向において固定するとともに、内障子を開閉可能とし、内障子を外障子側(室外側)へ引寄せるようにする。固定した内障子につき開閉自在な外障子と同じ枠に嵌めず、外障子のみの枠を用いたり、内障子を設置せず、壁等に対して外障子を設けたりする。締り機構や上下引寄せ機構につき、既存のサッシに取付可能とし、当該取付をすることで自動開閉防音サッシを形成することができるようにする。
本発明に係る自動開閉防音サッシの正面図(室内側から見た図)である。 図1のA部の拡大図である。 図2のD−D線断面図である。 外障子が閉状態となる直前における図2相当図である。 図4のE−E線断面図である。 本発明に係る締り受け部材の(a)平面図(背面図の向きに合わせたもの)・(b)背面図・(c)右側面図である。 本発明に係るカム部材の(a)平面図(左側面図の向きに合わせたもの)・(b)左側面図・(c)正面図である。 図1のB−B線断面図である。 外障子が閉状態となる直前における図8相当図である。 図1のC−C線断面図である。 外障子が閉状態となる直前における図10相当図である。 図10のX−X線断面図である。
符号の説明
1 自動開閉防音サッシ
2 内障子
4 外障子(障子)
22 召合せ框(外障子)
24 召合せ框(内障子、開口部)
32 ホイール(開閉機構)
34 開閉用モータ(開閉機構)
36 バンド(開閉機構)
40 締り機構
50 締り受け部材
58 引寄せ面
59 引分け面
70 カム部材
P 左枠(開口部)
U 上枠(開口部)
V 下枠(開口部)

Claims (8)

  1. 開口部に対して幅方向に開閉自在な障子と、
    前記障子を開閉させる開閉機構と、
    前記障子ないし前記開口部の一方に設けた締り受け部材、及び他方に設けたカム部材を含む締り機構と、
    前記開閉機構及び前記締り機構を制御する制御手段と
    を備えており、
    前記締り受け部材は、前記幅方向に交わる引分け面と、前記幅方向に沿う引寄せ面とを有しており、
    前記カム部材は、前記障子が閉状態である場合に前記締り受け部材に係合可能であり、当該係合の際、前記締り受け部材における前記引分け面を障子の閉鎖方向に押すと共に前記引寄せ面を障子が前記開口部に寄る方向に押し、
    前記制御手段は、前記開閉機構に障子を閉鎖させると共に、前記締り機構において前記カム部材と前記締り受け部材を係合させることで、前記障子を自動的に閉鎖方向に引分けつつ前記開口部に引寄せる
    ことを特徴とする自動開閉防音サッシ。
  2. 前記締り機構は、前記障子の召合せ框、及び対応する前記開口部の部分に配置されており、
    前記障子には、前記開口部を押すことで当該障子を引寄せる引寄せ機構が設置されており、
    前記制御手段は、前記引寄せ機構を制御して、前記カム部材と前記締り受け部材の係合に伴い、前記引寄せ機構に前記障子の引寄せをさせる
    ことを特徴とする請求項1に記載の自動開閉防音サッシ。
  3. 前記締り受け部材の前記引分け面は、前記引寄せ面より、係合前の前記カム部材に近い側に配置されている
    ことを特徴とする請求項1又は請求項2に記載の自動開閉防音サッシ。
  4. 前記締り受け部材は、前記引分け面と前記引寄せ面とが直交するように形成されたうえで、前記障子の召合せ框の内面に配置されており、
    前記カム部材は、先端部において互いに直交する引分けカム面及び引寄せカム面を有するL字状のアームを備え、前記開口部の内側に配置されており、
    前記制御手段は、前記アームを上下方向に移動させて前記締り受け部材に係合させ、前記アームの前記引分けカム面に前記締り受け部材の前記引分け面を押させると共に、前記アームの前記引寄せカム面に前記締り受け部材の前記引寄せ面を押させる
    ことを特徴とする請求項1ないし請求項3の何れかに記載の自動開閉防音サッシ。
  5. 前記カム部材は、ナット部材及びネジ部材を介して、モータにより前記締り受け部材に対して移動可能であり、
    前記カム部材の当該移動をガイドするガイド部材が設置されている
    ことを特徴とする請求項1ないし請求項4の何れかに記載の自動開閉防音サッシ。
  6. 所定水準以上の音が発生していることを検知する音センサーが前記制御手段と電気的に接続されており、
    前記制御手段は、音センサーにより所定水準以上の音が発生していることを確認すると、前記締り機構及び/又は前記引寄せ機構に、前記障子の引分けないし引寄せをさせる
    ことを特徴とする請求項1ないし請求項5の何れかに記載の自動開閉防音サッシ。
  7. 前記引寄せ機構は、前記障子の上部に配置した上部引寄せ機構、及び/又は前記障子の下部に配置した下部引寄せ機構を含んでおり、
    前記上部引寄せ機構は、上下動可能であって上方へ移動すると前記開口部に嵌り前記障子を引寄せる押付け部材を有しており、
    前記下部引寄せ機構は、
    引寄せ長孔を有する取付板と、
    中央部に回転軸を有し上部に案内長孔を有するカムと、
    当該引寄せ長孔及び案内長孔に共通して入れられており、これら引寄せ長孔及び案内長孔内を上下動可能であって、上方へ移動すると前記カムを回転させ前記カムに前記開口部を押させて前記障子を引寄せる連結ピンと
    を有している
    ことを特徴とする請求項2ないし請求項6の何れかに記載の自動開閉防音サッシ。
  8. 前記障子が閉状態であることを検知する閉状態検知センサが前記制御手段と電気的に接続されており、
    前記制御手段は、次の(1)〜(4)の順で前記障子を自動的に閉鎖方向に引分けつつ前記開口部に引寄せる
    ことを特徴とする請求項2ないし請求項7の何れかに記載の自動開閉防音サッシ。
    (1)前記開閉機構の制御による前記障子の閉状態への移動
    (2)前記閉状態検知センサによる前記障子の閉状態の確認
    (3)前記締り機構の制御による前記カム部材と前記締り受け部材の係合
    (4)前記引寄せ機構の制御による前記障子の引寄せ
JP2008232538A 2008-09-10 2008-09-10 自動開閉防音サッシ Expired - Fee Related JP5295692B2 (ja)

Priority Applications (1)

Application Number Priority Date Filing Date Title
JP2008232538A JP5295692B2 (ja) 2008-09-10 2008-09-10 自動開閉防音サッシ

Applications Claiming Priority (1)

Application Number Priority Date Filing Date Title
JP2008232538A JP5295692B2 (ja) 2008-09-10 2008-09-10 自動開閉防音サッシ

Publications (2)

Publication Number Publication Date
JP2010065446A true JP2010065446A (ja) 2010-03-25
JP5295692B2 JP5295692B2 (ja) 2013-09-18

Family

ID=42191250

Family Applications (1)

Application Number Title Priority Date Filing Date
JP2008232538A Expired - Fee Related JP5295692B2 (ja) 2008-09-10 2008-09-10 自動開閉防音サッシ

Country Status (1)

Country Link
JP (1) JP5295692B2 (ja)

Cited By (2)

* Cited by examiner, † Cited by third party
Publication number Priority date Publication date Assignee Title
JP2017095923A (ja) * 2015-11-20 2017-06-01 Ykk Ap株式会社 建具
CN111203762A (zh) * 2020-04-21 2020-05-29 湖南亘晟门窗幕墙有限公司 门窗智能自动生产线及其生产方法

Families Citing this family (5)

* Cited by examiner, † Cited by third party
Publication number Priority date Publication date Assignee Title
TWI883391B (zh) 2020-02-18 2025-05-11 美商基利科學股份有限公司 抗病毒化合物
TWI874791B (zh) 2020-02-18 2025-03-01 美商基利科學股份有限公司 抗病毒化合物
CN115135383B (zh) 2020-02-18 2024-06-11 吉利德科学公司 抗病毒化合物
CA3216162A1 (en) 2021-04-16 2022-10-20 Gilead Sciences, Inc. Methods of preparing carbanucleosides using amides
CA3228162A1 (en) 2021-08-18 2023-02-23 Gilead Sciences, Inc. Phospholipid compounds and methods of making and using the same

Citations (2)

* Cited by examiner, † Cited by third party
Publication number Priority date Publication date Assignee Title
JP2000008679A (ja) * 1998-06-26 2000-01-11 Tescon Co Ltd クレセント
JP2006125149A (ja) * 2004-11-01 2006-05-18 Tateyama Alum Ind Co Ltd 引き違いサッシ

Patent Citations (2)

* Cited by examiner, † Cited by third party
Publication number Priority date Publication date Assignee Title
JP2000008679A (ja) * 1998-06-26 2000-01-11 Tescon Co Ltd クレセント
JP2006125149A (ja) * 2004-11-01 2006-05-18 Tateyama Alum Ind Co Ltd 引き違いサッシ

Cited By (2)

* Cited by examiner, † Cited by third party
Publication number Priority date Publication date Assignee Title
JP2017095923A (ja) * 2015-11-20 2017-06-01 Ykk Ap株式会社 建具
CN111203762A (zh) * 2020-04-21 2020-05-29 湖南亘晟门窗幕墙有限公司 门窗智能自动生产线及其生产方法

Also Published As

Publication number Publication date
JP5295692B2 (ja) 2013-09-18

Similar Documents

Publication Publication Date Title
JP5295692B2 (ja) 自動開閉防音サッシ
EP1672151A3 (en) Window lock and window opening and closing system
KR102002311B1 (ko) 미닫이창용 열림 보조장치
BRPI0610849A2 (pt) utensìlio doméstico com um dispositivo de travamento
JP3087485U (ja) 安全遮蔽扉
KR20170027987A (ko) 미닫이창용 열림 보조장치
CA2717475A1 (en) Door device of small-sized vehicle
KR101915448B1 (ko) 미닫이창용 열림 보조장치
KR200200376Y1 (ko) 라체트식 미닫이창문
JP5507925B2 (ja) サッシ
CN103938952B (zh) 盖体锁止开启装置及储物盒
KR101998840B1 (ko) 미닫이창용 열림 보조장치
JPS5836752Y2 (ja) シヤツタの施錠装置
CN218493438U (zh) 钩锁机构、推拉门结构及推拉窗结构
CA2591057C (en) Lock and seal system for sliding doors
CN213597735U (zh) 一种淋浴房导轨滑轨防脱轨装置
JPH0616095Y2 (ja) シャッタ装置
JP3227546B2 (ja) 通気扉における網戸取付け構造
JP3145400U (ja) 網戸
JP3066126U (ja)
JPH0714600Y2 (ja) 窓の自動開閉装置
JP2505810Y2 (ja) 面格子付きのサツシ戸装置
KR200418943Y1 (ko) 미닫이문의 잠금장치
JPS6313338Y2 (ja)
JP2001164836A (ja) シャッター付サッシ

Legal Events

Date Code Title Description
A621 Written request for application examination

Free format text: JAPANESE INTERMEDIATE CODE: A621

Effective date: 20110801

A131 Notification of reasons for refusal

Free format text: JAPANESE INTERMEDIATE CODE: A131

Effective date: 20121023

A977 Report on retrieval

Free format text: JAPANESE INTERMEDIATE CODE: A971007

Effective date: 20121024

A521 Written amendment

Free format text: JAPANESE INTERMEDIATE CODE: A523

Effective date: 20121120

TRDD Decision of grant or rejection written
A01 Written decision to grant a patent or to grant a registration (utility model)

Free format text: JAPANESE INTERMEDIATE CODE: A01

Effective date: 20130521

A61 First payment of annual fees (during grant procedure)

Free format text: JAPANESE INTERMEDIATE CODE: A61

Effective date: 20130612

R150 Certificate of patent or registration of utility model

Ref document number: 5295692

Country of ref document: JP

Free format text: JAPANESE INTERMEDIATE CODE: R150

Free format text: JAPANESE INTERMEDIATE CODE: R150

S111 Request for change of ownership or part of ownership

Free format text: JAPANESE INTERMEDIATE CODE: R313117

R350 Written notification of registration of transfer

Free format text: JAPANESE INTERMEDIATE CODE: R350

LAPS Cancellation because of no payment of annual fees