JP2010064468A - 画像形成装置 - Google Patents

画像形成装置 Download PDF

Info

Publication number
JP2010064468A
JP2010064468A JP2008235782A JP2008235782A JP2010064468A JP 2010064468 A JP2010064468 A JP 2010064468A JP 2008235782 A JP2008235782 A JP 2008235782A JP 2008235782 A JP2008235782 A JP 2008235782A JP 2010064468 A JP2010064468 A JP 2010064468A
Authority
JP
Japan
Prior art keywords
head
ink
image forming
ink supply
supply member
Prior art date
Legal status (The legal status is an assumption and is not a legal conclusion. Google has not performed a legal analysis and makes no representation as to the accuracy of the status listed.)
Granted
Application number
JP2008235782A
Other languages
English (en)
Other versions
JP5200798B2 (ja
Inventor
Susumu Shirauchi
進 白内
Current Assignee (The listed assignees may be inaccurate. Google has not performed a legal analysis and makes no representation or warranty as to the accuracy of the list.)
Ricoh Co Ltd
Original Assignee
Ricoh Co Ltd
Priority date (The priority date is an assumption and is not a legal conclusion. Google has not performed a legal analysis and makes no representation as to the accuracy of the date listed.)
Filing date
Publication date
Application filed by Ricoh Co Ltd filed Critical Ricoh Co Ltd
Priority to JP2008235782A priority Critical patent/JP5200798B2/ja
Publication of JP2010064468A publication Critical patent/JP2010064468A/ja
Application granted granted Critical
Publication of JP5200798B2 publication Critical patent/JP5200798B2/ja
Expired - Fee Related legal-status Critical Current
Anticipated expiration legal-status Critical

Links

Images

Landscapes

  • Ink Jet (AREA)

Abstract

【課題】装置本体からの信号を中継する中継基板をインク供給部材の上方に配置するためにヘッドモジュールに高さが高くなる。
【解決手段】液滴を吐出する複数のノズルが配列されたノズル列を有する複数のヘッド101が並べて配列されたベース部材102と、複数のヘッド101にインクを分配供給する分岐部材104と、分岐部材104のヘッド配列方向と直交する方向の面に取付けられ、装置本体側からの信号を中継する中継基板108とを有するヘッドモジュール51を備えた。
【選択図】図3

Description

本発明は画像形成装置に関し、特に液滴を吐出する記録ヘッドを備える画像形成装置に関する。
プリンタ、ファクシミリ、複写装置、プロッタ、これらの複合機等の画像形成装置として、例えばインク液滴を吐出する記録ヘッドを用いた液体吐出記録方式の画像形成装置としてインクジェット記録装置などが知られている。この液体吐出記録方式の画像形成装置は、記録ヘッドからインク滴を、搬送される用紙(紙に限定するものではなく、OHPなどを含み、インク滴、その他の液体などが付着可能なものの意味であり、被記録媒体あるいは記録媒体、記録紙、記録用紙などとも称される。)に対して吐出して、画像形成(記録、印字、印写、印刷も同義語で使用する。)を行なうものであり、記録ヘッドが主走査方向に移動しながら液滴を吐出して画像を形成するシリアル型画像形成装置と、記録ヘッドが移動しない状態で液滴を吐出して画像を形成するライン型ヘッドを用いるライン型画像形成装置がある。
なお、本願において、液体吐出方式の「画像形成装置」は、紙、糸、繊維、布帛、皮革、金属、プラスチック、ガラス、木材、セラミックス等の媒体に液体を吐出して画像形成を行う装置を意味し、また、「画像形成」とは、文字や図形等の意味を持つ画像を媒体に対して付与することだけでなく、パターン等の意味を持たない画像を媒体に付与すること(単に液滴を媒体に着弾させること)をも意味する。また、「インク」とは、インクと称されるものに限らず、記録液、定着処理液、液体などと称されるものなど、画像形成を行うことができるすべての液体の総称として用い、例えば、DNA試料、レジスト、パターン材料なども含まれる。
ところで、搬送される用紙の全幅に相当するノズル列を配置したライン型ヘッドを備えるライン型画像形成装置においては、ライン型記録ヘッドとして、例えば、液滴を吐出するノズルを並べたノズル列を有する短尺のヘッドを複数個、ノズル配列方向に沿って配置したヘッド列を配置したもの(これを「ヘッドモジュール」と称する。マルチアレイヘッド、マルチヘッドユニットなどとも称される。)が用いられている。
このような構成のヘッドモジュールを複数個並べて記録ヘッドに用いた場合、複数のヘッドにヘッド駆動信号を伝送する伝送線を、ヘッドモジュール側に設けられた中継基板で集約して本体制御部と接続することが知られている。
例えば、特許文献1に記載されているように、ラインヘッドを複数のノズルヘッドで構成した場合、ヘッドボックスと本体ボックスとの組み付けが煩雑になり、メンテナンス性が低下してしまうことから、両ユニットの着脱を容易にしてメンテナンス性の向上を図るために、本体ユニットと各ノズルヘッドとの電気的な接続、切断を中継基板と本体ユニット間のコネクタの着脱で行う構成が知られている。
また、液体吐出ヘッドで吐出するインクの粘度は温度によって変化するため、温度やインク粘度に応じてヘッドの駆動波形を選択することや、温度を検出するために、特許文献2に記載されているようにヘッドにインクを供給するサブタンクに温度検出手段を設けることも知られている。
特開2005−074763号公報 特開2004−174773号公報
上述したように、ヘッドモジュール側に中継基板を設ける場合、例えばヘッドにインクを供給するインク供給部材の上方に中継基板を配置すると、ヘッドモジュールの高さが高くなり、ヘッドモジュールが大型化するという課題がある。
本発明は上記の課題に鑑みてなされたものであり、ヘッドモジュールの高さを低くすることを目的とする。
上記の課題を解決するため、本発明に係る画像形成装置は、
液滴を吐出する複数のノズルが配列されたノズル列を有する複数のヘッドが並べて配列されたベース部材と、
前記複数のヘッドにインクを供給するインク供給部材と、
前記インク供給部材のヘッド配列方向と直交する方向の面に取付けられ、装置本体側からの信号を中継する中継基板と、
を有するヘッドモジュールを備えている
構成とした。
ここで、前記中継基板には前記インク供給部材の温度を検出する温度検出手段が設けられ、前記インク供給部材と前記ベース部材を一体化する部材で前記インク供給部材に押付けられている構成とできる。
また、前記インク供給部材のヘッド配列方向と直交する方向の両面に前記中継基板が独立して設けられている構成とできる。
この場合、前記インク供給部材の両面の前記中継基板にはグランド電極ラインが設けられ、前記インク供給部材と前記ベース部材を一体化する部材で前記グランド電極ラインが電気的に接続されている構成とできる。
また、前記インク供給部材が前記ヘッドに供給するインクを収容するサブタンクであり、前記温度検出手段は前記サブタンクのインクエンド検出位置よりも低い位置に設けられている構成とできる。
また、前記インク供給部材が前記複数のヘッドにインクを分配する分岐部材である構成とできる。
本発明に係る画像形成装置によれば、ヘッドモジュールの各ヘッドにインクを供給するインク供給部材に中継基板を設けた構成としたので、ヘッドモジュールの高さを低くすることができる。
以下、本発明の実施の形態について添付図面を参照して説明する。まず、本発明に係る画像形成装置の一例について図1及び図2を参照して説明する。なお、図1は同画像形成装置の全体構成を説明する概略構成図、図2は同装置の模式的平面説明図である。
この画像形成装置はライン型画像形成装置であり、装置本体1と、用紙Pを積載し給紙する給紙トレイ2と、印刷された用紙Pを排紙積載する排紙トレイ3と、用紙Pを給紙トレイ2から排紙トレイ3まで搬送する搬送ユニット4と、搬送ユニット4によって搬送される用紙Pに液滴を吐出し印字するヘッドモジュール51を含む画像形成ユニット5と、印刷終了後又は所要のタイミングで画像形成ユニット5の各記録ヘッドの維持回復を行う維持回復機構であるクリーニング装置6と、クリーニング装置6を開閉する搬送ガイド部7と、画像形成ユニット5のヘッドモジュール51にインクを供給するインクタンクユニット8と、インクタンクユニット8にインクを供給するメインタンクユニット9とを備えている。
装置本体1は、図示しない前後側板及びステーなどで構成されており、給紙トレイ2上に積載されている用紙Pは、分離ローラ21及び給紙ローラ22によって1枚ずつ搬送ユニット4に給紙される。
搬送ユニット4は、搬送駆動ローラ41aと搬送従動ローラ41bと、これらのローラ41a、41b間に掛け回された無端状の搬送ベルト43とを備えている。この搬送ベルト43の表面には複数の図示しない穴が形成されており、搬送ベルト43の下部には用紙Pを吸引する吸引ファン44が配置されている。また、搬送駆動ローラ41a、搬送従動ローラ41b上部には、それぞれ搬送ガイドローラ42a、42bが図示しないガイドに保持されて、自重にて搬送ベルト43に当接している。
搬送ベルト43は、搬送駆動ローラ41aが図示しないモータにより回転されることで周回移動し、用紙Pは搬送ベルト43上に吸引ファン44により吸い付けられ、搬送ベルト43の周回移動によって搬送される。なお、搬送従動ローラ41b、搬送ガイドローラ42a、42bは搬送ベルト43に従動して回転する。
搬送ユニット4の上部には用紙Pに印字する液滴を吐出する複数のヘッドモジュール51で構成される画像形成ユニット5が矢示A方向(及び逆方向)に移動可能に配置されている。この画像形成ユニット5は、維持回復動作時(クリーニング時)にはクリーニング装置6上方まで移動され、画像形成時には図1の位置に戻される。
画像形成ユニット5は、液滴を吐出する複数のノズルを配列したノズル列を二列有する複数のヘッドを千鳥状に二列配列したヘッドモジュール51a、51b、51c、51dが、用紙搬送方向に沿って並べてラインベース部材52に取付けられて配置されている。ここでは、ヘッドモジュール51a、51bの2つのノズル列の一方でイエロー(Y)の液滴を、他方でマゼンタ(M)の液滴を吐出し、また、ヘッドモジュール51c、51dの2つのノズル列の一方でシアン(C)の液滴を、他方でブラック(K)の液滴を吐出する。
この画像形成ユニット5の上流側にはインクタンクユニット8のインクタンク81(図示の都合上1つのインクタンクのみ符号を付している。)が配置され、供給チューブ82を介して各ヘッドモジュール51に供給され、インクタンク81とヘッドモジュール51との水頭差によりヘッドモジュール51の各ヘッドに対する負圧が形成される。このインクタンクユニット8は画像形成ユニット5とともに矢示A方向に移動可能に配置されている。なお、インクタンク81からヘッドモジュール51に対する供給チューブ82は分かり易くするためヘッドモジュール51の上方から接続して状態で図示しているが、後述するように、ヘッドモジュール51の長手方向(用紙搬送方向と直交する方向)の端部に接続される。
さらに、インクタンク81の上流側にはメインタンクユニット9が配置され、メインタンク91から供給チューブ92を介してインクがインクタンク81に供給される。
搬送ユニット4の下流側には用紙Pを排紙トレイ3に排紙する搬送ガイド部7が設けられている。搬送ガイド部7にて案内されて搬送される用紙Pは排紙トレイ3に排紙される。排紙トレイ3は、用紙Pの幅方向を規制する対のサイドフェンス31と用紙Pの先端を規制するエンドフェンス32を備えている。
維持回復機構(クリーニング装置)6は、画像形成ユニット5の各ヘッドモジュール51に対応して、4列分のクリーニング手段61a〜61dが配置され、1つのクリーニング手段61はヘッドモジュール51の各ヘッドに対応するキャップ部材62及び図示しないがワイパ部材などで構成されている。なお、各クリーニング手段61のキャップ部材62は各列毎に独立して上下動させることができる構成としている。さらに、クリーニング手段61の下方には、キャップ部材62でヘッドモジュール51のノズル面をキャッピングした状態でノズルからインクを吸引するための吸引ポンプ63a〜63dが配置されている。
また、この画像形成装置においては、印刷終了後、液滴を吐出するヘッドモジュール51の各ヘッドのノズル面をクリーニング手段61でキャッピングした状態でノズルからインクを吸引する場合、あるいは、ヘッドモジュール51の各ヘッドのノズル面に付着したインクをワイピング部材で清掃する場合は、図1にも示すように、印刷停止後、搬送ユニット4全体が搬送従動ローラ41bを支点に矢印B方向に回動し、画像形成ユニット5との間の空間を画像形成時よりも大きくすることで、画像形成ユニット5の移動スペースを確保するようにしている。このとき、クリーニング装置6上部に配置されている搬送ガイド部7も支点71にて矢印C方向上方に回動され、クリーニング装置6の上方が開放される。
そして、搬送ユニット4と搬送ガイド部7がそれぞれ解放(解除)された後に、画像形成ユニット5が用紙通紙方向(矢示A方向)に移動し、クリーニング装置6上方で停止され、クリーニング手段61が上昇して各ヘッドモジュール51のクリーニング動作(維持回復動作)に移行する。
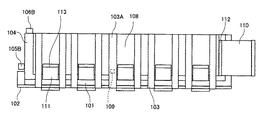
次に、この画像形成装置に適用した本発明の第1実施形態におけるヘッドモジュールについて図3ないし図6を参照して説明する。なお、図3は同ヘッドモジュールの側面説明図、図4は同じく平面説明図、図5は同じく正面説明図、図6は同ヘッドモジュールの1つのヘッドの底面説明図である。
1つのヘッドモジュール51は、液滴を吐出する複数(ここでは5個の例で示している。)のヘッド101を一列にL字形状のモジュールベース部材102上に並べて配置し、これら複数のヘッド101上にヘッド配列方向に沿って複数のヘッド101にインクを分配して供給する共通流路を形成するインク供給部材である分岐部材104が配置され、分岐部材104とベース部材102との間に架けた板バネで形成した押さえ部材103によってヘッド101が分岐部材104側に付勢されて一体化されている。
ここで、ヘッド101は、例えば図6に示すように、液滴を吐出する複数のノズル201を配列したノズル列201A、201Bを有するノズル面204を有している。ヘッド101は、これに限るものではなく、3列以上のノズル列を有するものを用いることもできる。
分岐部材104の内部はヘッド配列方向に沿って形成された図示しない隔壁によってヘッド101の各ノズル列201A、201Bに対応して2つの共通流路が形成されている。この分岐部材104には外部から各ノズル列201A、201Bに対応するインクを供給するインク供給口105A、105Bと、内部の空気を逃す空気穴106A、106Bがそれぞれ設けられている。
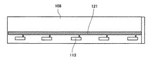
さらに、分岐部材104のヘッド配列方向と直交する方向の両面(両側面)には装置本体の制御部からの信号を中継する中継基板108,108が取り付けられ(直接的に貼り付けられ)、各中継基板108には分岐部材104の温度を検出する温度検出手段109が分岐部材104の側面との間に配されて設けられている。
この温度検出手段109は、分岐部材104とヘッド101を一体化する部材である押さえ部材103によって分岐部材104の側面に押付けられている。この場合、温度検出手段109を押付ける押さえ部材103Aは他の押さえ部材103よりも幅広に形成され、これによって放熱効果を上げている。また、温度検出手段109は、分岐部材104のヘッド配列方向における中央部に配置している。
中継基板108には装置本体の制御部に接続されたフレキシブルプリントケーブル(FPC:ハーネス)110がコネクタ112を介して接続されている。なお、回路構成に応じて、中継基板108にはヘッド101を駆動するヘッド駆動信号を発生するヘッド駆動信号発生手段やヘッド制御信号を発生するヘッド制御信号発生手段が配置される。また、中継基板108とヘッド101との間もフレキシブルプリントケーブル(FPC:ハーネス)111でコネクタ113を介して接続されている(図4及び図5では図示省略)。
このように、ヘッドモジュールの各ヘッドにインクを供給するインク供給部材に中継基板を設けた構成としたので、ヘッドモジュールの高さを低くすることができる。
また、インク供給部材に直接中継基板を設けることでヘッドとの間の距離を短くでき、中継基板と各ヘッド間を接続するハーネスの長さを短くできることにより、ハーネスの直流抵抗R、インダクタンスL、キャパシタンスCが小さくなるため、本体制御部にヘッド駆動制御信号発生手段を設けた場合にヘッド駆動信号の時間的遅れや電圧低下を小さくすることが可能になり、画像品質を向上させることができる。
また、中継基板に搭載する温度検出手段を押さえ部材によってインク供給部材に押し付けられる構成とすることで、インク供給部材の温度を直接計測することができる。さらに内部のインク温度とインク供給部材の表面温度との差を小さくするためには、インク供給部材の材質を熱伝導率の高い材質とし、インク供給部材内面がインクによって腐食されない材質を使用して、インク供給部材内面をコーティングすることによって、インク温度を適切に検知することが可能になり、各ヘッドのランクとインク温度及び印字モードによって決まる駆動波形の適切な選択が可能になり、インクの温度変化に対する画像品質の低下を防ぐことができる。
ここで、図示しない装置本体1側の制御部によるヘッドモジュール51の各ヘッド101からの滴吐出制御について図7及び図8をも参照して説明する。
まず、ここでは、画像形成ユニット5は、図7に示すように、8個のヘッドモジュール51を用紙搬送方向に沿って配列して構成した例で説明する。この場合、ヘッドモジュール51a、51bでイエロー(Y)の液滴を、ヘッドモジュール51c、51dでマゼンタ(M)の液滴を吐出し、また、ヘッドモジュール51e、51fでシアン(C)の液滴を、ヘッドモジュール51g、51fでブラック(K)の液滴を吐出するものとする。
図示しない制御部で作成された画像データはFPC110を介してヘッドモジュール51に転送される。ヘッドモジュール51に転送された画像データは、分岐部材104に貼付された中継基板108からハーネス111を介して各ヘッド101に転送される。
中継基板108は上述したように分岐部材104の両面に貼付されており、一方の面の中継基板108はヘッド101の一方のノズル列(ODD列)201Aにハーネス111を介して、他方の面の中継基板108はヘッド101の他方のノズル列(EVEN列)201Bにハーネス111を介して接続されている。
ここで、図8(a)に示すように、1つのヘッドモジュール51のヘッド101は2つのノズル列201A、201Bが所定の距離mだけ離れて千鳥配列で形成されているので、ノズル列201Aのノズル201から液滴を吐出した後、用紙Pを距離mだけ搬送したタイミングでノズル列201Bのノズル201から液滴を吐出することで、ノズル配列方向に沿う画素密度をノズルピッチの2倍に高めている。例えば1つのノズル列が150dpiの場合には2列で画素密度は300dpiとなる。
そこで、印刷開始後、用紙Pが或るヘッド101の滴吐出位置まで搬送されると、対応するヘッド101に対する画像データが図示しない制御部から転送され、そのヘッド101のノズル201からインク滴が吐出される。この時の各ヘッド101に対する滴吐出位置と滴の大きさに関する情報は、アプリケーションソフトにより制御部のメモリ(画像データ格納手段)に格納されており、用紙Pが図示しない用紙先端検知手段に到達すると、図示しない用紙送り方向エンコーダパルスのカウントを開始し、このカウント値に応じてインク滴情報を制御部のメモリから順に呼び出し、それをシリアルデータに変換してヘッドモジュール51に転送する。
図7の例では、エンコーダパルスのカウント値がヘッド101のODD列(ノズル列201A)を示しており、そのカウント値に相当するメモリアドレスからインク滴情報が読み出され、シリアルデータに変換されてヘッドモジュール51に転送され、図示しない制御部で作成されるヘッド駆動信号がヘッド101に出力されることにより、目的とする大きさのインク滴Dが目的の位置に吐出されて着弾する。この後、エンコーダパルスのカウント値がODD列(ノズル列201A)とEVEN列(ノズル列201B)間の距離mに相当する分だけ加算されると、メモリからEVEN列のインク滴情報が読み出され、ヘッド駆動信号がヘッド101に出力されることにより、インク滴Dの上に新たなインク滴が吐出されて1本の線が印刷される。更に、次のヘッドモジュール51についても、ヘッドモジュール間距離の用紙搬送が行われた時から同様な処理を行うことで、用紙幅相当分の1ラインの画像を形成することができる。
なお、前述したように、2つのヘッドモジュール51の2つのノズル列201A、201Bで異なる色の液滴を吐出する場合には、上述したノズル列間距離mに代えてヘッドモジュール間距離を使用して吐出タイミングを制御すればよい。
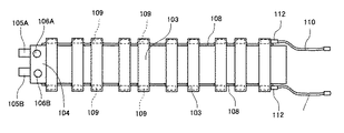
次に、本発明の第2実施形態におけるヘッドモジュールについて図9及び図10を参照して説明する。なお、図9は同ヘッドモジュールの正面説明図、図10は同ヘッドモジュールの中継基板の側面説明図である。
分岐部材104の両側面に貼付されている中継基板108、108には、分岐部材104の長手方向に沿ってグランド電極パターン(GNDパターン)121が形成されている。押さえ部材103は、導電性部材からなり、分岐部材104のヘッド101に対する供給口とヘッド101との連結部からインクが漏れないよう圧接するとともに、中継基板108に形成されたGNDパターン121にその一部103aがバネ圧により圧接されている。
これにより、分岐部材104の両側面に貼付されている中継基板108、108のGND電極が電気的に導通されている共通化されている。この場合、押さえ部材103を装置本体1側のフレーム部材に電気的に接続することにより、ヘッド101に過大な電圧がかかることを防ぎ、ヘッド101を過電圧による破壊から保護することができる。
次に、本発明の第3実施形態におけるヘッドモジュールについて図11及び図12を参照して説明する。なお、図11は同ヘッドモジュールの側面説明図、図12は同ヘッドモジュールの平面説明図である。
ここでは、1枚の中継基板108が分岐部材4の上面から両側面を覆うように分岐部材4に貼付されている。そして、中継基板108の上から押さえ部材103が掛けられて分岐部材104とヘッド101が圧接されている。
このように1枚の中継基板101を折り曲げて分岐部材104の両側面に貼付して配設することで、中継基板108のGND電極は基板108内で共通化されているので外部から共通化する必要がなく、押さえ部材103全面を分岐部材104に貼付された中継基板108に圧接することができるため、分岐部材104の放熱効果を向上させることができる。
次に、本発明の第4実施形態におけるヘッドモジュールについて図13及び図14を参照して説明する。なお、図13は同ヘッドモジュールの側面説明図、図14は同ヘッドモジュールの平面説明図である。
ここでは、インク供給部材として、前述した各実施形態の分岐部材104に代えてヘッド101に供給するインクを収容するサブタンク304を備えている。そして、サブタンク304には、サブタンク内のインク量が所定量以下になったことを検出する電極ピンで構成されるインクエンド検出手段305が設けられ、このインクエンド検出手段305によるインクエンド位置(液面高さ位置)よりも低い位置に温度検出手段109を配置している。
つまり、インク温度はサブタンク304の周囲の温度の影響を受けるだけでなく、ヘッド101の温度にも影響を受ける。ヘッド101の温度変化は、サブタンク304の下部(ヘッド近傍)から上部に伝わるため、ヘッド101内の共通液室に供給されるインクの温度は、サブタンク304の下部(ヘッド近傍)の温度を測定することが好ましい。また、サブタンク304内のインクが少なくなって温度検出器109の位置よりも低くなった場合、インク温度の測定ができなくなるので、サブタンク304内インクエンド検出位置306は、温度検出手段109の位置よりも高い位置に設定する。
なお、インクエンド検出手段305は、インクに浸されているときと、インクがないときとで電極ピン間の導通状態(抵抗値)が変化することで、インクエンドを検出する。インクエンドが検出されると、インク供給口105A、105Bよりインクが供給される。
また、サブタンク304と分岐部材104との違いは、サブタンク104がインクエンドになるとインクが供給されるのに対し、分岐部材104はインクをヘッド101に分配する共通流路を形成するだけで、前述したようにヘッド101からのインクの消費に伴ってインクタンク(サブタンク)81から常時インクが供給される点である。したがって、前述した第1ないし第3実施形態や後述する第5実施形態以降における分岐部材をサブタンクに代えることもできる。
次に、本発明の第5実施形態におけるヘッドモジュールについて図15及び図16を参照して説明する。なお、図15は同ヘッドモジュールの側面説明図、図16は同ヘッドモジュールの平面説明図である。
ここでは、各ヘッド101に対応してそれぞれ2個ずつ温度検出手段109を設けている。なお、各温度検出手段109は各ヘッド101について2つ設けられる押さえ部材103に対応した位置に配置している。
つまり、前述した画像形成装置では、分岐部材104は内部でヘッド101の2つのノズル列201A、201Bに対応して2室に分かれており、それぞれ別の色のインクを供給する構成としている。この場合、分岐部材104の一側面と他側面では温度特性の異なるインクを使用することになるので、両側面に温度検出手段109を配置することで、各インクの温度に関する情報を得ることができる。
そして、この実施形態の場合、各ヘッド101毎に2個ずつ温度検出手段109を配置し、ヘッド101のノズル配列方向両端の温度の平均値と各ヘッド101の温度ランク及び印字モードによって決まる駆動波形を使用してヘッド101を駆動している。この場合、印刷中の温度検出は1頁毎に行い、その結果選択された駆動波形は次の頁から適用することで、頁の途中で駆動波形が変わることはない。
また、分岐部材104内のインク温度と分岐部材104外表面の温度との差を小さくするためには、分岐部材104の材質を熱伝導率の高い材質で形成する。例えば、アルミニウム、銅などを使用する。また、分岐部材104に熱伝導率の高い材質を使用した場合、分岐部材104の内面がインクによって腐食されないよう、内面をアクリル樹脂などでコーティングすることが好ましい。
これによって、同一の分岐部材104に2色のインクを入れて画素密度を下げて印刷する場合でも、インクの温度変化に対する画像品質の低下を防ぐことができる。
次に、本発明の第6実施形態におけるヘッドモジュールについて図17ないし図19を参照して説明する。なお、図17は同ヘッドモジュールの側面説明図、図18は同ヘッドモジュールの平面説明図、図19は同ヘッドモジュールの正面説明図である。
ここでは、分岐部材104とヘッド101とを圧接するためのバネ部材からなる押さえ部材303の形状を、分岐部材104の上面及び両側面に跨る本体部分303aと、ヘッド101のノズル配列方向両端部に対応する脚部部分303b、303bとを有するノズル配列方向に幅広の形状としている。
つまり、装置本体1の制御部から出力されるヘッド駆動信号はハーネス110を通して各ヘッド101を駆動するため、ハーネス110に流れる電流が多くなると、中継基板108の温度が上昇し、それに伴って中継基板108が貼付されている分岐部材104の温度が上昇して分岐部材104内部のインク温度の上昇を招く可能性がある。
そこで、押さえ部材303の形状を前記各実施形態よりも幅広にして中継基板108と接触する面積が大きくなるような構成として、押さえ部材103による放熱効果を高めて、分岐部材104内部のインク温度の上昇を抑制している。また、押さえ部材303として板厚の大きな板バネを使用することにより、放熱効果をさらに高めることができる。
本発明に係る画像形成装置の一例の全体構成を説明する側面概略説明図である。 同じく要部平面説明図である。 本発明の第1実施形態におけるヘッドモジュールの側面説明図である。 同ヘッドモジュールの平面説明図である。 同ヘッドモジュールの正面説明図である。 同ヘッドモジュールの1つのヘッドの底面説明図である。 滴吐出制御の説明に供する画像形成ユニットの説明に供する模式的説明図である。 滴吐出制御の説明に供する説明図である。 本発明の第2実施形態におけるヘッドモジュールの正面説明図である。 同ヘッドモジュールの中継基板の側面説明図である。 本発明の第2実施形態におけるヘッドモジュールの側面説明図である。 同ヘッドモジュールの平面説明図である。 本発明の第3実施形態におけるヘッドモジュールの側面説明図である。 同ヘッドモジュールの平面説明図である。 本発明の第4実施形態におけるヘッドモジュールの側面説明図である。 同ヘッドモジュールの平面説明図である。 本発明の第5実施形態におけるヘッドモジュールの側面説明図である。 同ヘッドモジュールの平面説明図である。 同ヘッドモジュールの正面説明図である。
符号の説明
1…装置本体
4…搬送ユニット(搬送部)
5…画像形成ユニット(ヘッドモジュールアレイ)
6…クリーニング装置(維持回復機構)
7…搬送ガイド部
8…インクタンクユニット
9…メインタンクユニット
51…ヘッドモジュール
52…ラインヘッドベース部材
61…クリーニング手段
101…ヘッド
102…ベース部材
103、303…押さえ部材
104…分岐部材(インク供給部材)
108…中継基板
109…温度検出手段
304…サブタンク(インク供給部材)

Claims (6)

  1. 液滴を吐出する複数のノズルが配列されたノズル列を有する複数のヘッドが並べて配列されたベース部材と、
    前記複数のヘッドにインクを供給するインク供給部材と、
    前記インク供給部材のヘッド配列方向と直交する方向の面に取付けられ、装置本体側からの信号を中継する中継基板と、
    を有するヘッドモジュールを備えている
    ことを特徴とする画像形成装置。
  2. 前記中継基板には前記インク供給部材の温度を検出する温度検出手段が設けられ、前記インク供給部材と前記ベース部材を一体化する部材で前記インク供給部材に押付けられていることを特徴とする請求項1記載の画像形成装置。
  3. 前記インク供給部材のヘッド配列方向と直交する方向の両面に前記中継基板が独立して設けられていることを特徴とする請求項1又は2記載の画像形成装置。
  4. 前記インク供給部材の両面の前記中継基板にはグランド電極ラインが設けられ、前記インク供給部材と前記ベース部材を一体化する部材で前記グランド電極ラインが電気的に接続されていることを特徴とする請求項3記載の画像形成装置。
  5. 前記インク供給部材が前記ヘッドに供給するインクを収容するサブタンクであり、前記温度検出手段は前記サブタンクのインクエンド検出位置よりも低い位置に設けられていることを特徴とする請求項1ないし4のいずれか記載の画像形成装置。
  6. 前記インク供給部材が前記複数のヘッドにインクを分配する分岐部材であることを特徴とする請求項1ないし4のいずれか記載の画像形成装置。
JP2008235782A 2008-09-13 2008-09-13 画像形成装置 Expired - Fee Related JP5200798B2 (ja)

Priority Applications (1)

Application Number Priority Date Filing Date Title
JP2008235782A JP5200798B2 (ja) 2008-09-13 2008-09-13 画像形成装置

Applications Claiming Priority (1)

Application Number Priority Date Filing Date Title
JP2008235782A JP5200798B2 (ja) 2008-09-13 2008-09-13 画像形成装置

Publications (2)

Publication Number Publication Date
JP2010064468A true JP2010064468A (ja) 2010-03-25
JP5200798B2 JP5200798B2 (ja) 2013-06-05

Family

ID=42190461

Family Applications (1)

Application Number Title Priority Date Filing Date
JP2008235782A Expired - Fee Related JP5200798B2 (ja) 2008-09-13 2008-09-13 画像形成装置

Country Status (1)

Country Link
JP (1) JP5200798B2 (ja)

Citations (4)

* Cited by examiner, † Cited by third party
Publication number Priority date Publication date Assignee Title
JPH068446A (ja) * 1992-04-02 1994-01-18 Hewlett Packard Co <Hp> インクジェット・プリントヘッド及びその製造方法
JP2000094712A (ja) * 1998-09-18 2000-04-04 Fuji Electric Co Ltd インク残量検出装置
JP2000141698A (ja) * 1998-11-13 2000-05-23 Seiko Epson Corp インクジェットプリンタ
JP2005074763A (ja) * 2003-08-29 2005-03-24 Matsushita Electric Ind Co Ltd インクジェット式記録装置

Patent Citations (4)

* Cited by examiner, † Cited by third party
Publication number Priority date Publication date Assignee Title
JPH068446A (ja) * 1992-04-02 1994-01-18 Hewlett Packard Co <Hp> インクジェット・プリントヘッド及びその製造方法
JP2000094712A (ja) * 1998-09-18 2000-04-04 Fuji Electric Co Ltd インク残量検出装置
JP2000141698A (ja) * 1998-11-13 2000-05-23 Seiko Epson Corp インクジェットプリンタ
JP2005074763A (ja) * 2003-08-29 2005-03-24 Matsushita Electric Ind Co Ltd インクジェット式記録装置

Also Published As

Publication number Publication date
JP5200798B2 (ja) 2013-06-05

Similar Documents

Publication Publication Date Title
JP6067276B2 (ja) 記録装置
JP5169324B2 (ja) 画像形成装置
US20160082728A1 (en) Liquid discharge head and image forming apparatus
US8882241B2 (en) Liquid-jet head and liquid-jet head device
JP2009160854A (ja) 画像形成装置
JP4096318B2 (ja) 液体吐出ヘッド及びその製造方法
JP5043610B2 (ja) 画像形成装置
JP6064650B2 (ja) 液滴吐出装置
JP2010064466A (ja) 画像形成装置
JP2006297657A (ja) 液体吐出ヘッド及びその製造方法並びに画像形成装置
JP5012650B2 (ja) 記録装置
JP2006264268A (ja) 液体吐出ヘッド
JP4726159B2 (ja) 液体吐出ヘッド、液体吐出装置、画像形成装置
US8727494B2 (en) Droplet ejection device and image forming apparatus
JP6069994B2 (ja) キャップ部材、液体吐出装置、画像形成装置
JP2010058268A (ja) 画像形成装置
JP5200798B2 (ja) 画像形成装置
JP5849831B2 (ja) 記録装置
JP2017007322A (ja) 液体吐出ヘッドおよび画像形成装置
JP4890963B2 (ja) 液体吐出ヘッドの製造方法
JP2010214819A (ja) 画像形成装置
JP2010260283A (ja) 電子機器
US10882344B2 (en) Replaceable printing subassembly
JP6172585B2 (ja) 記録装置
JP2007152785A (ja) インクジェット記録装置

Legal Events

Date Code Title Description
A621 Written request for application examination

Free format text: JAPANESE INTERMEDIATE CODE: A621

Effective date: 20110804

A977 Report on retrieval

Free format text: JAPANESE INTERMEDIATE CODE: A971007

Effective date: 20120928

A131 Notification of reasons for refusal

Free format text: JAPANESE INTERMEDIATE CODE: A131

Effective date: 20121009

A521 Written amendment

Free format text: JAPANESE INTERMEDIATE CODE: A523

Effective date: 20121126

TRDD Decision of grant or rejection written
A01 Written decision to grant a patent or to grant a registration (utility model)

Free format text: JAPANESE INTERMEDIATE CODE: A01

Effective date: 20130115

A61 First payment of annual fees (during grant procedure)

Free format text: JAPANESE INTERMEDIATE CODE: A61

Effective date: 20130128

FPAY Renewal fee payment (event date is renewal date of database)

Free format text: PAYMENT UNTIL: 20160222

Year of fee payment: 3

LAPS Cancellation because of no payment of annual fees