JP2010064252A - 画像形成装置、泡塗布装置 - Google Patents

画像形成装置、泡塗布装置 Download PDF

Info

Publication number
JP2010064252A
JP2010064252A JP2008229693A JP2008229693A JP2010064252A JP 2010064252 A JP2010064252 A JP 2010064252A JP 2008229693 A JP2008229693 A JP 2008229693A JP 2008229693 A JP2008229693 A JP 2008229693A JP 2010064252 A JP2010064252 A JP 2010064252A
Authority
JP
Japan
Prior art keywords
foam
application
liquid
bubbles
image forming
Prior art date
Legal status (The legal status is an assumption and is not a legal conclusion. Google has not performed a legal analysis and makes no representation as to the accuracy of the status listed.)
Granted
Application number
JP2008229693A
Other languages
English (en)
Other versions
JP5181945B2 (ja
Inventor
Shinji Imoto
晋司 井本
Kazuyoshi Matsumoto
和悦 松本
Seiji Hoshino
誠治 星野
Naoaki Tsuda
直明 津田
Current Assignee (The listed assignees may be inaccurate. Google has not performed a legal analysis and makes no representation or warranty as to the accuracy of the list.)
Ricoh Co Ltd
Original Assignee
Ricoh Co Ltd
Priority date (The priority date is an assumption and is not a legal conclusion. Google has not performed a legal analysis and makes no representation as to the accuracy of the date listed.)
Filing date
Publication date
Application filed by Ricoh Co Ltd filed Critical Ricoh Co Ltd
Priority to JP2008229693A priority Critical patent/JP5181945B2/ja
Priority to PCT/JP2008/072581 priority patent/WO2009075339A1/en
Priority to US12/744,537 priority patent/US8540337B2/en
Priority to CN2008801206485A priority patent/CN101896348B/zh
Priority to EP08860317A priority patent/EP2231407B1/en
Publication of JP2010064252A publication Critical patent/JP2010064252A/ja
Application granted granted Critical
Publication of JP5181945B2 publication Critical patent/JP5181945B2/ja
Expired - Fee Related legal-status Critical Current
Anticipated expiration legal-status Critical

Links

Images

Landscapes

  • Coating Apparatus (AREA)
  • Ink Jet (AREA)

Abstract

【課題】処理液を均一な厚みで安定して塗布できるようにするとともに、塗布する泡の品質を保てるようにすることができる画像形成装置の提供。
【解決手段】泡210を生成する泡生成部205と、泡生成部205で生成された泡210を塗布ローラ212に供給する貯留部211と、貯留部211から余剰泡を回収する排出経路401と、排出経路401に排出された余剰泡を加熱して余剰泡を液状に戻す加熱手段501とを備え、排出経路401を通じて排出される泡が液状化された排出液は処理液201を収容する容器202内に戻している。
【選択図】図1

Description

本発明は画像形成装置及び泡塗布装置に関する。
プリンタ、ファクシミリ、複写装置、プロッタ、これらの複合機等の画像形成装置として、例えばインク液滴を吐出する記録ヘッドを用いた液体吐出記録方式の画像形成装置としてインクジェット記録装置などが知られている。この液体吐出記録方式の画像形成装置は、記録ヘッドからインク滴を、搬送される用紙(紙に限定するものではなく、OHPなどを含み、インク滴、その他の液体などが付着可能なものの意味であり、被記録媒体あるいは記録媒体、記録紙、記録用紙などとも称される。)に対して吐出して、画像形成(記録、印字、印写、印刷も同義語で使用する。)を行なうものであり、記録ヘッドが主走査方向に移動しながら液滴を吐出して画像を形成するシリアル型画像形成装置と、記録ヘッドが移動しない状態で液滴を吐出して画像を形成するライン型ヘッドを用いるライン型画像形成装置がある。
なお、本願において、液体吐出記録方式の「画像形成装置」は、紙、糸、繊維、布帛、皮革、金属、プラスチック、ガラス、木材、セラミックス等の媒体に液体を吐出して画像形成を行う装置を意味し、また、「画像形成」とは、文字や図形等の意味を持つ画像を媒体に対して付与することだけでなく、パターン等の意味を持たない画像を媒体に付与すること(単に液滴を媒体に着弾させること)をも意味する。また、「インク」とは、インクと称されるものに限るものではなく、吐出されるときに液体となるものであれば特に限定されるものではなく、例えば、DNA試料、レジスト、パターン材料なども含まれる。
このような液体吐出方式の画像形成装置においては、色材を含むインクを液滴化して画像形成を行うために、液滴で形成されるドットがひげ状に乱れるフェザリング、異なる色のインク滴が隣接して用紙に打たれた場合に、各色が相互に混ざり合って色境界が不鮮明になるカラーブリード等の不具合が生じることがあり、更に印字後の紙上の液滴が乾くまでに時間がかかるという問題がある。
そこで、従来から特許文献1に記載されているようにインクと反応して滲み防止を促す前処理液を塗布ローラで塗布したり、特許文献2に記載されているように前処理液を液体吐出ヘッドからミスト状に吐出させて塗布したり、特許文献3に記載されているように印字前又は印字後にインクの定着性を向上させる処理液を塗布ローラなどで塗布したりすることが行われる。
特開2002−137378号公報 特開2005−138502号公報 特開2003−205673号公報
しかしながら、上述した従来技術のように塗布ローラや液体吐出ヘッドで前処理液や後処理液を用紙に塗布するのでは、塗布ムラが発生するとともに、更に液体のために用紙上でインクと反応後の速乾性に問題があり、特に用紙がカールしたり、撓んだりし易くなることから、ジャム等が起こりやすいという課題がある。
そこで、本出願人は、既に、処理液を泡状化して被記録媒体などの被塗布部材に塗布することを提案しているが、塗布されずに残った余剰泡をそのままにしておくと、余剰泡が乾燥し、処理液成分が固着し、泡塗布性能の低下(塗布ムラの発生)や駆動系の性能低下などの不具合が発生するという新たな課題が生じた。
本発明は上記の課題に鑑みてなされたものであり、処理液を均一な厚みで安定して塗布できるようにするとともに、塗布する泡の品質を保てるようにすることを目的とする。
上記の課題を解決するため、本発明に係る画像形成装置は、
被記録媒体に画像を形成する画像形成手段と、
前記被記録媒体又は被記録媒体に塗布するための中間部材に対して液体及びゲルの少なくともいずれかの処理液を泡状にした泡を塗布する泡塗布手段と、を備え、
前記泡塗布手段は、
前記泡を塗布する塗布手段と、
塗布されずに残った余剰泡を回収する経路と、
前記経路内で前記余剰泡を加熱して前記余剰泡を液状に戻す加熱手段と、を有している
構成とした。
ここで、前記加熱手段によって前記余剰泡を加熱する第1のモードと、前記加熱手段によって前記余剰泡を加熱しない第2のモードとを備えている構成とできる。
また、前記経路は前記処理液から前記泡を生成する泡生成手段、泡生成手段に供給する前記処理液を収容した処理液収容部又は廃棄用収容部に接続されている構成とできる。
また、前記加熱手段は前記余剰泡が接触する複数の面を有している構成とできる。
また、前記余剰泡は、前記塗布手段に供給されなかった泡である構成とできる。
本発明に係る泡塗布装置は、
被塗布部材に液体及びゲルの少なくともいずれかの処理液を泡状にした泡を塗布する泡塗布装置において、
前記泡を塗布する塗布手段と、
塗布されずに残った余剰泡を回収する経路と、
前記経路内で前記余剰泡を加熱して前記余剰泡を液状に戻す加熱手段と、を有している
ことを特徴とする泡塗布装置。
なお、本発明における「泡」とは、液体又はゲルがその中に空気などの気体を含んで丸くなったものであり、気体を包む液体の表面張力により形作られ、ある時間立体的形状を保持できるものをいう。なお、このような形状保持性を有する泡としては、かさ密度0.05g/cm以下であり、泡径の分布範囲が10μm〜1mm、平均泡径が100μm以下であることが好ましく、また、泡は単体では丸く形成されるが、複数結合すると表面張力により個々の泡の形状は多面体形状をとる。また、「ゲル」とは、分散媒に分散しているコロイド溶液や高分子化合物が相互作用の為に独立した運動性を失い、粒子が互いにつながりあい、網状又は蜂の巣の様な構造をとるようになり、固化した半固体物質を意味する。
本発明に係る画像形成装置及び本発明に泡塗布装置によれば、泡を塗布する塗布手段と、塗布されずに残った余剰泡を回収する経路と、経路内で余剰泡を加熱して余剰泡を液状に戻す加熱手段とを有している構成としたので、液体又はゲル若しくは液体及びゲルを均一な厚みで塗布できるとともに、余剰泡を回収、廃棄して、塗布する泡の品質を均一に保てるようになる。
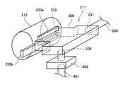
以下、本発明の実施の形態について添付図面を参照して説明する。まず、本発明に係る泡塗布装置を含む本発明に係る画像形成装置の一例について図1を参照して説明する。なお、図1は同画像形成装置の全体構成図である。
この画像形成装置は、被記録媒体である用紙100に液滴を吐出して画像を形成する画像形成手段としての記録ヘッドユニット101と、用紙100を搬送する搬送ベルト102と、用紙100を収容する給紙トレイ103と、記録ヘッドユニット101よりも用紙搬送方向上流側で被塗布部材である用紙100に泡状液体を塗布する本発明に係る泡塗布装置200とを備えている。
記録ヘッドユニット101は、液滴を吐出する複数のノズルを用紙幅相当分の長さに配列したノズル列を有するライン型液体吐出ヘッドから構成され、それぞれイエロー(Y)、マゼンタ(M)、シアン(C)、ブラック(K)の各色のインク滴を記録ヘッド101y、101m、101c、101kを備えている。なお、シリアル型画像形成装置として記録ヘッドをキャリッジに搭載する構成ともできる。
搬送ベルト102は、無端状ベルトであり、搬送ローラ121とテンションローラ122との間に掛け渡されて周回するように構成している。この搬送ベルト102に対する用紙100の保持は、例えば静電吸着、空気の吸引による吸着などを行う構成とすることやその他の公知の搬送手段を用いることができる。
給紙トレイ103に収容された用紙100はピックアップローラ131で1枚ずつ分離給紙されて搬送ローラ対132及び図示しない搬送ローラ対によって搬送路135を介して搬送ベルト102上に送り込まれて保持される。
そして、搬送ベルト102で搬送される被塗布部材としての被記録媒体100に対して、泡塗布装置200で泡210が塗布され、用紙100に塗布された泡210は速乾して、ヘッドユニット101から各色の液滴が吐出されて画像が形成され、その後排紙トレイ104に排出される。
一方、泡塗布装置200は、泡状態にすることが可能な液体又はゲル若しくは液体及びゲル(以下、これらを「処理液」又は「セット剤」と総称する。)201を収容した容器202と、この容器202から処理液201を圧送するポンプ203と、ポンプ203で供給路204を介して供給された処理液201から小径の塗布に適した状態の泡210を生成する泡生成手段としての泡生成部205と、泡生成部205から供給路206を介して泡210が供給されて導入口231から導入され、泡210を被記録媒体100(又は中間部材でもよい。)の幅方向に延展する貯留部(泡供給部)211と、この貯留部211の供給口232から泡210が供給され、泡210を周面に担持して、被記録媒体100に泡210を塗布する塗布手段としての塗布ローラ(塗布部材)212とを備えている。
また、貯留部211は、供給口232での泡210の流体抵抗を可変することにより塗布ローラ212に対して供給する泡210の量(塗布ローラ212による塗布量)を調整可能で、かつ、塗布ローラ212への泡210の供給領域(塗布ローラ212による塗布領域)を開閉量で規制する塗布量/塗布領域調整手段233と、塗布ローラ212に供給されなかった余剰な泡210を排出する排出口234を備えている。
この排出口234には塗布されずに残った(ここでは、塗布手段である塗布ローラ212に供給されずに残った)余剰泡を回収する経路である、排出経路401が接続されている。この排出経路401の他端部側は、処理液201を収容する処理液収容部である容器202に接続されている(通じている。)。
そして、排出経路401には、排出口234の流体抵抗を調整することで排出口234から排出される余剰泡の量を制御する調整バルブ403と、この調整バルブ403の下流側で排出口234から容器202への余剰泡の排出を補助する排出ポンプ402と、排出ポンプ402の下流側で排出経路401内を排出される余剰泡を加熱して液状に戻す加熱装置501が配置されている。なお、排出ポンプ402は余剰泡を圧縮することで消泡する作用も有している。
加熱装置501により泡を加熱することで泡の膜が乾燥し膜厚が薄くなるとともに泡の内部が熱膨張し、泡の内圧が高まるため、泡が大きくなり、更に泡の膜厚が薄くなり、その作用で消泡することができる。泡が消えた若しくは少なくなった排出液(これを「還元処理液」という。)を容器202に回収して、再度泡生成に用いる。
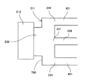
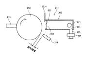
なお、ここでは、排出経路401は処理液201を収容する処理液収容部である容器202に接続しているが、図2に示すように、廃棄用収容部である廃棄タンク503に接続して還元処理液を回収廃棄することもできるし、また、図3に示すように、泡生成部205に接続して泡生成部205で再度泡生成に利用することもできる。
また、塗布ローラ212に担持された泡210の膜厚(塗布膜厚)を規制する厚さ規制手段214と、塗布後に塗布ローラ212周面に残っている泡210を除去するクリーニング部材215とを備えている。
ここで、泡状態になり得る処理液201は、用紙100の表面に塗布することで用紙100の表面を改質する改質材である。例えば、液体210は、予め用紙100(前述したように材質としての紙に限定されない。)にムラなく塗布しておくことで、インクの水分を速やかに用紙100に浸透させると共に色成分を増粘させ、更には乾燥も早めることによって滲み(フェザリング、ブリーディング等)や裏抜けを防止し、生産性(単位時間当たりの画像出力枚数)をあげることを可能にする定着剤(セット剤)である。
この処理液201は、組成的には、例えば界面活性剤(アニオン系、カチオン系、ノニオン系のいずれか、若しくはこれらを2種類以上混合させたもの)に対して、水分の浸透を促進するセルロース類(ヒドロキシプロピルセルロース等)とタルク微粉体の様な基剤を加えた溶液等を挙げることができる。更に微粒子を含有することもできる。
また、泡210としては、前述したように、液体又はゲルがその中に空気などの気体を含んで丸くなったものであり、気体を包む液体の表面張力により形作られ、ある時間立体的形状を保持できるものであって、かさ密度0.05g/cm以下であり、泡径の分布範囲が10μm〜1mm、平均泡径が100μm以下であることが好ましく、また、泡は単体では丸く形成されるが、複数結合すると表面張力により個々の泡の形状は多面体形状をとるものである。
このように、用紙100の表面に泡210を塗布することによって、空気を大量に含むことで微量液塗布が可能となって、塗布の均一性を図れ、速乾性が向上し、滲み、裏写り、濃度ムラ等のない良質な画像を出力することができる。
つまり、処理液を泡状態にして塗布することで、液体やミスト状の処理液と比べて、次のような利点(効果)がある。
(1)泡は空気を大量に含む為、微量液塗布が可能である。
(2)泡は固体に近いため、塗布してから削りとる等で塗布膜厚を容易に調整することができ、又、塗布手段から紙への塗布時に塗布手段からの剥離性が良いため、均一塗布が可能である。
(3)泡は紙の繊維に水分が浸透しにくいため、紙にシワやカールが発生しにくい。
このような泡塗布の長所は、処理液の種類に依存せず、同様な効果が得られる。なお、処理液は紙粉を抑える効果を持つことが好ましく、また、用紙の地肌色を変える効果があっても良い。
ところが、被記録媒体又は被記録媒体に塗布するための中間部材などの被塗布部材に対し、幅方向へ泡を均一量塗布するためには、塗布前に該方向へ十分に延展させる必要がある。しかしながら、泡は固体に近いことから、容易には延展しないことから、被記録媒体や中間部材の幅方向に延展することが難しい。また、塗布手段へ泡の供給量の制御が難しいという課題や供給された泡のかさ密度、発砲密度、泡径を均一に保つことが難しいという課題がある。
そこで、本実施形態では、被塗布部材に泡を塗布する塗布手段に供給口から泡を供給する供給手段に、塗布手段に供給されなかった泡を排出する排出口を有し、塗布手段に供給される泡の量よりも過剰な量の泡が導入される構成とすることで、液体又はゲル若しくは液体及びゲルを均一な厚みで塗布できるとともに、供給量を容易に制御でき、更に塗布する泡の品質を均一に保てるようになり、画質を向上することができるようになる。
先ず、泡塗布装置200における泡生成部205の一例について図4を参照して説明する。
この泡生成部205は、ポンプ203で容器202から供給される処理液201を収容する容器221と、容器231内に配置された円筒状の多孔部材222と、この多孔部材222内部に気体を供給する気体供給手段223とを備えている。気体供給手段223は例えばファンとダクトで空気を送り込む構成とできる。また、生成される泡210が容器221内で無秩序に広がらない様に多孔部材222を囲むとともに泡状態になる処理液201を充分に多孔部材222に供給するために、供給路206の一端部側が多孔部材222を囲む形状に形成され、この供給路206の入口部分(多孔部材222を配置する部分)に第1のスリット224、第2のスリット225が設けられている。
この泡生成部205においては、多孔部材222に気体が供給されることで処理液201から泡210が生成され、気体を供給して泡210を生成しているときには泡210が自身の堆積力で供給路206内を移動して(搬送されて)貯留部211に供給され、気体の供給を停止することで、泡210が堆積しなくなって搬送されなくなる。このように、特別な搬送手段を用いることなく泡自身の堆積力で生成された泡が搬送供給されるので、構成が簡単になる。
次に、泡塗布装置200における貯留部211の第1例について図5を参照して説明する。なお、図5は同貯留部の模式的斜視説明図である。
この貯留部211は、泡貯留容器300に、前述したように泡生成部205から供給路206を介して泡210が供給される導入口231と、塗布ローラ212に泡210を供給する供給口232と、塗布ローラ212に供給されなかった余剰な泡210を排出する排出口234とを備え、供給口232には塗布量/塗布領域調整手段233を備えている。
この貯留部211においては、泡生成部206から導入口231を介して泡貯留容器300内に泡210が送り込まれ、供給口232から塗布ローラ212側へと押し出される。調整バルブ403を閉じておき、供給によって圧力をかけることにより、泡210は泡貯留容器300内で用紙幅方向に延展される。このとき、調整バブル403は泡貯留容器300内に泡210が行渡る圧力に設定されている。
そして、所定のタイミングで調整バルブ403を開くことで、泡塗布ローラ212に対する供給量より多い泡210を泡貯留容器300内に導入(供給)しながら、余分な泡210を排出口234から排出経路401へ排出することで、所定の用紙幅方向に不足なく塗布されることになる。なお、調整バルブ403により流体抵抗を調節して塗布ローラ212に優先的に泡210が供給されるよう制御している。
ここで、塗布量/塗布領域調整手段233としては、図6に示すように、上下に昇降することで供給口232を開閉する調整板233aを備える構成、或いは、図5及び図7に示すように、上下方向の調整板233aとともに、横方向(用紙の幅方向に相当する。)に移動することで供給口232を開閉する調整板233bを備える構成とできる。
この場合、図6に示す調整板233aを備える構成では、供給口232の大きさを上下方向に可変させることで流体抵抗を可変させることができ、塗布ローラ212の周方向への塗布領域を調整することができ、これにより用紙100に対する搬送方向の塗布領域を制御することができる。また、図7に示す調整板233a、233bを備える構成では、開閉によって塗付ローラ212の周方向への塗付領域を調整することができるとともに、塗布ローラ212の軸方向への塗布領域を調整することができ、これにより用紙100に対する幅方向(搬送方向と直交する方向)の塗布領域も制御することができる。この図7に示す構成では、調整板233bは片方向に配置しているが、両側に配置することで用紙の幅方向の中央を基準とした中央基準の用紙搬送にも対応することができる。
また、厚さ規制部材214は、図8に示すように、塗布ローラ212との間の距離を制御することにより塗布膜厚を任意に調整でき、例えば、画像形成装置の操作表示部から所定の操作を行うことで、厚さ規制部材214が塗布ローラ212の周面に対して接線方向又は法線方向に図示しない駆動手段により移動して、調整できるようにしている。これにより、泡の塗布膜厚を任意の値に設定することができる。
次に、貯留部の第2例について図9の模式的斜視説明図を参照して説明する。
この貯留部211は、円筒状の泡貯留容器300の軸方向一端側側面に導入口231を、他端側側面に排出口234をそれぞれ設け、泡貯留容器300内の軸方向に沿ってスクリュー状の移送撹拌部材701を配設し、移送撹拌部材701を回転することで泡210が供給口232に均一に高速で広がるようにしている。これにより、導入口231から排出口234側まで短時間で泡210を移送することができる。
また、導入口231は泡貯留容器300の上側に、排出口234は泡貯留容器300の下側にそれぞれ設けることで、泡210が消泡して均一性が失われた泡を効率よく回収することができる。つまり、消泡した泡は比重が重くなり、下にいく性質を利用する。排出口234は供給口232より下側に設けることが好ましく、泡貯留容器300の最下部に設けることがより好ましい。
次に、貯留部の第3例について図10の模式的平面説明図を参照して説明する。
ここでは、貯留部211の泡貯留容器300内には導入口231から排出口234に向かって漸次狭くなる経路711を有し、この経路711の導入口231から排出口234に沿う方向(塗布ローラ212の軸方向)に供給口232が設けられている。このように構成することで、供給口232の幅方向全域に渡って泡210の供給圧が均一になり、また、経路711が狭くなっている分貯留部211内全体に泡210が充填されるまでに要する時間が短縮される。
次に、貯留部の第4例について図11の模式的平面説明図を参照して説明する。
ここでは、泡貯留容器300の両端部に排出口234、234が配置され、これらの排出口234、234の間に導入口231が配置されている。これらの排出口234、導入口231、排出口234の並び方向(塗布ローラ212の軸方向)に沿って供給口232が設けられている。このように構成することで、導入口231から導入される泡210が両側に広がることになり、容器300内に泡210が広がる距離が短くなる分、より速く泡210を貯留部211に貯めることができる。また、供給口232と排出口234の距離が短くなるのでより泡210の供給圧(塗布ローラ212に供給する圧力)を均一に保つことができる。
また、排出口234は用紙幅方向において塗布ローラ212よりも外側(供給口232より外側)に設けることが好ましい。このように構成することで、泡210の滞留がなくなり、消泡により均一性を失った泡が排出され易くなる。
次に、加熱手段501に第1例について図12ないし図14を参照して説明する。
加熱手段501は排出経路402に介装されており、前述したように排出経路402に排出された余剰泡を加熱することで消泡する(液状に戻す)。この加熱手段501は、熱伝導部505と、この熱伝導部505に熱を与える加熱部504で構成されている。
ここで、熱伝導部505は、泡に触れる面積を増やすため、排出方向に沿って多数の穴(通孔)505aを有した形状をしている。ただし、熱伝導部505の形状ないし構成は、これに限定されるものではなく、例えば図13に示すように、ヒートシンクで見られるような多数のフィン部505bを櫛歯形状のものや、図14に示すように、網状のフィルタでも同様な効果が得られる。すなわち、排出経路402を排出される余剰泡に多数の面で接するような形状とすることが好ましい。また、熱伝導部505は、熱伝導率と耐腐食性の優れたアルミニウムで構成しているが、これに限定されるものではなく、例えば銅合金やSUS等の金属若しくは熱伝導率の高い、プラスチックで形成することもできる。
加熱部504は、例えばセラミックヒータを熱伝導部505の周囲を覆うように配置して構成している。加熱方法、伝熱方法はこの限りではなく、伝熱方法は、伝導伝熱、対流伝熱、放射伝熱いずれでもよく、また、発熱方式はマイクロウェーブ加熱、電磁誘導加熱、放射加熱、抵抗加熱等いずれでもよい。
次に、泡生成部に還元処理液を回収する例(図3の例)について図15及び図16を参照して説明する。
加熱部501の上流には排出ポンプ402が配置されており、下流に向けて余剰泡を排出する。排出ポンプ402の下流で加熱手段501によって余剰泡を加熱することで液状に戻して泡を消泡させる。
更に、加熱部501の下流側で排出経路401は2つに分岐され、各分岐経路506、508には弁507と弁505が配置されており、分岐経路506は弁505の下流側で円筒状の多孔部材222の内部につながり、分岐経路508の弁507の下流側は容器(泡生成容器)221の上側から処理液201の液面の上面もしくは液面中につながっている。また、容器221には内部を大気に通じる大気連通路510とこの大気連通路510を開閉する大気開放弁509が設けられ、容器221内を大気に開放することが可能の構成としている。
次に、この泡生成部に還元処理液を回収する例における後述する泡制御部によって行われる制御する泡塗布中の動作について図17のフロー図を参照して説明する。
この泡塗布中動作では、泡生成容器221の大気開放弁209を閉じ、排出ポンプ402をON状態(作動状態)にし、弁507を閉じ、弁505を開き、加熱手段501をOFF状態にする。
つまり、泡塗布中は、泡生成部205で生成された泡210が貯留部211に送られ、塗布ローラ212に供給されて泡塗布が行われる。このとき、貯留部211から塗布ローラ212に供給されないで残っている余剰泡は排出ポンプ402により排出経路401を通って泡生成部205側に送られる。ここで、分岐経路508の弁507が閉じられ、分岐経路506の弁505が開かれているので、余剰泡は分岐経路506から円筒状の多孔部材222内部に送られて再び泡生成に供される。
そして、この泡塗布中は、余剰泡を再び泡化するため、消泡する必要がないことから、加熱手段501をOFFにする、つまり、加熱手段501によって余剰泡を液状にもどさないまま泡生成部205に回収する。また、容器221内の圧を保つため大気開放弁509は閉じられている。この泡塗布中動作が本発明における第1モードである。
次に、泡塗布動作が終了して余剰泡を回収し清掃する場合の制御について図18に示すフロー図を参照して説明する。
この泡回収清掃動作では、泡生成容器221の大気開放弁209を開放し、ポンプ203を逆転駆動して泡生成容器221から処理液201を容器202側に逆送し、泡生成容器221の液面高さを所定の高さに下げた状態にした後、加熱手段501をON状態(加熱状態)にし、排出ポンプ402をON状態(作動状態)にし、弁505を閉じ、弁507を開く。
つまり、余剰泡を回収する場合は、大気開放弁509を開放して泡生成容器221内を略大気圧にした状態に保ち、容器221内の処理液201を容器202に移送し、泡生成容器221内の処理液201の液面を、図16に示すように、泡生成が行えない位置(高さ:第1のスリット224より下の位置)まで下げる。この状態で、排出ポンプ402が稼動されることにより。搬送経路206内が負圧になり、スリット224から気体が搬送経路206内に入り、泡経路内全体の泡を貯留部211に完全に押し出すことが可能となる。
そこで、加熱手段501をON状態にして、排出ポンプ402を稼動させる。この作用により、貯留部211から排出経路401に余剰泡が排出され、加熱手段501によって加熱されることで泡は破裂し液体と気体に分離する。このとき、弁505が閉じられ、弁507が開放されているので、液状化した泡(還元処理液)は分岐経路508を通って泡生成容器221の上部から内部の処理液201の液面上に排出される。この泡回収清掃動作が本発明における第2モードである。
この場合、分岐経路508の出口からは液体(還元処理液)と気体の混合物が排出され、処理液中に戻すと気体が処理液201内を上昇するときに、再度泡化することがあるので、前述したように泡生成容器221の処理液201の液面を下げるとともに、処理液201の液面より上から排出するようにして、再度の泡化を防止している。
次に、上記画像形成装置の制御部の概要について図19のブロック説明図を参照して説明する。
この制御部は、本画像形成装置のシステム制御を行うCPU801と、CPU801が実行するプログラムなどの情報を格納するROM802と、ワーキングエリアとして使用するRAM803と、オペレータが各種設定等を行うため操作表示部804と、紙サイズ検知やジャム検知等を行う各種センサ805と、各種モータ等806と、各種センサ805及び各種モータ等806への出力制御信号を行うI/O807と、画像読取り装置(スキャナ)808を制御する読取り制御部809と、プロッタ部(印字機構部)810を制御する印字制御部811と、電話回線とのI/F制御を行う網制御装置812の制御も含めて、各種ファクシミリ通信制御を行う通信制御部813と、泡塗布装置200の制御を行う泡塗布制御部814等を備えている。
ここで、各種センサ805には、処理液201が容器202内にあるか否か検知する液体エンド検知手段を含み、また、各種モータ806には、ポンプ203、塗布ローラ212、供給量/供給領域調整手段233、厚み規制手段214、搬送ローラ121、給紙ローラ132及びピックアップローラ131などを回転させるモータを含む。
また、泡塗布制御部814は、泡塗布を制御するとともに、前述した図17及び図18で説明した泡塗布中動作の制御及び泡回収清掃動作の制御を行う。
ここで、この画像形成装置における印刷処理の一例について図20ないし図22に示すフロー図を参照して説明する。
図20を参照して、画像出力要求を受信したら、処理液(セット剤)塗布機能が有効に設定されているか否かを判別する。そして、処理液塗布機能が有効設定であるときには、泡生成部205の容器221内に所定量以上の処理液201が入っているか否かを判別する。このとき、泡生成部205の容器221内に所定量以上の処理液201が入っていなければ、ポンプ203を駆動して容器202から処理液201を泡生成部205の容器221内に補給した後、また、所定量以上の処理液201が入っていれば、そのまま、泡生成部205に対して気体を送り込んで泡210の生成を開始する。これにより、泡貯留部211に泡210が前述したように供給され、延展され、余剰の泡210は排出口234から排出経路401を経て排出される。
その後、図21に示すように、塗布ローラ212、搬送ベルト102の駆動を開始し、所定のタイミングで塗布量/塗布領域調整手段233を開き、塗布ローラ212の表面に泡210の供給を開始する。これにより、塗布ローラ212の表面には泡210が担持されて厚み規制部材214によって所定の厚みに規制され、搬送ベルト102側に移送される。
そこで、給紙部(給紙カセット103)からの被記録媒体(用紙)100の給紙を行って搬送ベルト102に被記録媒体100を送り込み、塗布ローラ212によって被記録媒体100上の泡210を塗布し、当該被記録媒体100の先端がヘッドユニット101による印字位置に到達したときから印字動作を開始する。一方、用紙100への印字領域分に相当する塗布ローラ212への泡210の供給が終了したときに、泡貯留部211の塗布量/塗布領域調整手段213を閉じて塗布ローラ212への泡210の供給を停止する。
そして、印字が終了した被記録媒体100を排紙した後、印字枚数分の印字が終了するまで上記給紙からの処理を繰り返し、印字枚数に達したときには、泡生成部205に対する気体の送り込みを停止して泡生成を停止する。その後、給紙ローラ131、搬送ローラ132の動作を停止し、所定時間経過後、つまり、塗布ローラ212のクリーニングが確実に終了する所定時間経過後に、搬送ベルト102、塗布ローラ212の駆動動作を停止する。
一方、図20において、例えば特別な被記録媒体を使用することで処理液の泡210を塗布する必要がない場合などには処理液塗布機能が無効に設定されるので、処理液塗布機能が有効設定でなければ、図22に示す処理に移行して、塗布ローラ212、搬送ベルト102の駆動を行い、給紙部からの被記録媒体100の給紙を行って、被記録媒体100に対するヘッドユニット101による印字を行った後排紙を行い、更に印字枚数に達したときには、給紙ローラ131、搬送ローラ132の動作を停止し、所定時間経過後、搬送ベルト102、塗布ローラ212の動作を停止する。
ここで、塗布ローラ212をも回転させるのは、塗布ローラ212と紙搬送ベルト102のギャップは最大で紙厚+泡状セット剤210の膜厚以下であるので、塗布ローラ212を駆動して被記録媒体100の搬送が阻害されないようにするためである。
なお、上記実施形態では泡塗布装置が画像形成前の用紙に対して泡を塗布する構成で説明しているが、記録ヘッドユニットの下流側に泡塗布装置を配置し、画像形成が行われた用紙上に泡を塗布する構成とすることもできる。また、上記実施形態では、泡状態にすることが可能な液体から泡を生成して塗布する例で説明しているが、本発明を、泡状態にすることが可能なゲルから泡を生成して被塗布部材に塗布する装置、この装置を備える画像形成装置にも適用することができる。
また、上記実施形態では塗布部材(塗布手段:塗布ローラ)に供給されなかった余剰泡を回収する例で説明しているが、例えば、塗布部材上に残った泡を掻き取り清掃する清掃部材を備え、この清掃部材で掻き取られた余剰泡を回収する経路を設け、この経路に加熱手段を配置する構成とすることもできる。
また、本発明に係る泡塗布装置は、例えば電子写真方式の画像形成装置にも適用することができる。例えば、紙等の媒体上のトナー等の樹脂を含有する微粒子を乱すことなく、かつ当該樹脂微粒子を付着した媒体に泡状定着液を塗布後は素早く樹脂微粒子の媒体への定着が行われ、更に媒体に残油感が発生しない程度の微量塗布が可能な樹脂微粒子の定着液を用いた、定着方法及び定着装置、並びに画像形成方法及び画像形成装置にも適用できる。
そこで、電子写真方式の画像形成装置に適用した場合の例について図23及び図24を参照して説明する。なお、図23及び図24はローラ塗布手段においてローラ塗布面と未定着樹脂微粒子が接する部分の拡大説明図であり、図23は塗布ローラと記録媒体との接触面での加圧が相対的に高い場合、図24は同加圧が相対的に低い場合である。また、塗布ローラ1011の回転方向及び被塗布部材としての記録媒体1010の移動方向はいずれも図中の矢印方向とする。
まず、塗布ローラ1011と記録媒体1010との接触面での加圧が高い場合、図23(a)に示す例では、塗布ローラ1011の塗布面で泡状の定着液1012は気泡1013の単層構造となっており、かつ、図23と図24の気泡径は同じであるため、泡状の定着液1012の層厚は同図(b)より薄くすることができる。しかしながら、図23(a)に示すように、気泡1013が単層であることから、気泡自身が表面張力により塗布ローラ1011の塗布面に付着しやすく、記録媒体1010上の樹脂微粒子(未定着トナー)1015の層へ定着液1012が不均一にしか塗布されず、樹脂微粒子1015が気泡1013に吸着して塗布ローラ1011の塗布面にオフセットしてしまう。
一方、図23(b)に示すように、塗布ローラ1011の塗布面で泡状の定着液1012が複数層の気泡層構造である場合、凹凸を有する未定着トナー1015の面への気泡の埋め込みが可能となり、泡状の定着液1012は気泡1013の層間で分離しやすくなり、トナー層に均一に塗布可能となり、トナーオフセットを極めて生じにくくすることができる。
したがって、塗布ローラ1011と記録媒体1010との接触面での加圧が高い場合、塗布ローラ1011に未定着トナー1015がオフセットしないようにするためには、予め生成する気泡の平均的な大きさを測定しておき、気泡層が複数層となるように、塗布ローラ1011上の泡状の定着液層の膜厚を気泡層の複数層分の厚みになるように制御すれば、塗布ローラ1011上には必ず複数層の気泡層からなる泡状の定着液層が形成され、トナーオフセットの防止が可能となる。
また、塗布ローラ1011と記録媒体1010との接触面での加圧が低い場合、図24(a)に示すように、塗布ローラ1011の塗布面で泡状の定着液1012は気泡1013の単層構造となっているため、凹凸を有する未定着トナー1015の面への気泡が付着しやすくなり、塗布ローラ1011の面から気泡層が剥離し、泡状の定着液1012は未定着トナー1015に塗布される。
一方、図24(b)に示すように、塗布ローラ1011の塗布面で泡状の定着液1012が複数層の気泡層構造である場合、気泡1013どうしの結合が強いため、気泡1013は塗布ローラ1011側に残りやすく、逆に未定着トナー1015が気泡1013に付着して、結果として塗布ローラ1011の面に未定着トナー1015がオフセットする。
したがって、塗布ローラ1011と記録媒体1010との接触面での加圧が低い場合、予め気泡の平均的な大きさを測定しておき、塗布ローラ面で単層の気泡層構造の泡状の定着液となるように液層厚みを制御すれば、塗布ローラ上には単層の気泡層構造の液膜が形成され、高加圧力条件でトナーオフセットを防止できる。また、塗布ローラ1011に未定着トナー1015がオフセットしないようにするためには、塗布ローラ1011上の気泡層が厚すぎると塗布ローラ1011と記録媒体1010との接触部に気泡層の流動が生じ、トナー粒子がその流れに沿って移動してしまし、画像が流れる不具合が発生するので、流動性が生じない範囲に泡状の定着液層の膜厚を制御することが好ましい。
このように、泡状の定着液に含有される気泡の大きさ、加圧力に応じて、定着液層の膜厚を制御することで、塗布ローラのような接触塗布手段へのトナーオフセットや画像流れを防止し、極めて微小の塗布による定着を可能とすることができる。
すなわち、樹脂微粒子の少なくとも一部を溶解又は膨潤させて樹脂微粒子を軟化させる軟化剤を用い、接触塗布手段にて媒体上の当該樹脂微粒子に定着液を塗布することで当該樹脂微粒子を媒体に定着する方法であり、当該定着液を該媒体上の当該樹脂微粒子表面に付与するときに、当該微粒子に定着液が接する塗布で、当該定着液が気泡を含有した泡状形態となっており、更に当該泡状の定着液層の膜厚を加圧力に応じて制御することにより、塗布ローラのような接触塗布手段へのトナーオフセットや画像流れを防止し、極めて微小の塗布による定着を可能とすることができる。また、樹脂微粒子として、電子写真技術に用いるトナー微粒子に対する効果が高く、この樹脂微粒子の層厚に応じて泡状の定着液層の膜厚を制御することでオフセットや画像流れを防止できる。
本発明に係る泡塗布装置を備える画像形成装置の一例を示す全体構成図である。 本発明に係る泡塗布装置を備える画像形成装置の他の例を示す全体構成図である。 本発明に係る泡塗布装置を備える画像形成装置の更に他の例を示す全体構成図である。 同泡塗布装置の泡生成部の一例を示す模式的説明図である。 同泡塗布装置の貯留部の第1例を示す模式的斜視説明図である。 同じく塗布量/塗布領域調整手段の一例を示す斜視説明図である。 同じく塗布量/塗布領域調整手段の他の例の説明に供する斜視説明図である。 同じく塗布膜厚の調整の説明に供する説明図である。 同泡塗布装置の貯留部の第2例を示す模式的斜視説明図である。 同泡塗布装置の貯留部の第3例を示す模式的斜視説明図である。 同泡塗布装置の貯留部の第4例を示す模式的斜視説明図である。 加熱手段の一例を示す斜視説明図である。 加熱手段の他の例を示す斜視説明図である。 加熱手段の更に他の例を示す斜視説明図である。 図3の画像形成装置における泡生成部への余剰泡回収の例の説明に供する模式的説明図である。 同じく泡回収清掃動作の説明に供する模式的説明図である。 泡塗布中動作(第1モード)の制御の説明に供するフロー図である。 泡回収清掃動作(第2モード)の制御の説明に供するフロー図である。 同画像形成装置の制御部の概要を説明するブロック説明図である。 同制御部による印刷処理の一例の説明に供するフロー図である。 同じく図20に続く処理の説明に供するフロー図である。 同じく図20に続く処理の説明に供するフロー図である。 電子写真方式の画像形成装置に適用した場合の塗布ローラと記録媒体との接触面での加圧が相対的に高い状態でのローラ塗布面と未定着樹脂微粒子が接する部分の拡大説明図である。 同じく塗布ローラと記録媒体との接触面での加圧が相対的に低い状態でのローラ塗布面と未定着樹脂微粒子が接する部分の拡大説明図である。
符号の説明
100…被記録媒体(用紙)
101…記録ヘッドユニット
102…搬送ベルト
103…給紙トレイ
200…泡塗布装置
201…処理液(泡状態になる液体又はゲル若しくは液体及びゲル)
210…泡
205…泡生成部
206…搬送経路
211…貯留部
212…塗布ローラ
234…排出口
401…排出経路
402…排出ポンプ
501…加熱手段

Claims (6)

  1. 被記録媒体に画像を形成する画像形成手段と、
    前記被記録媒体又は被記録媒体に塗布するための中間部材に対して液体及びゲルの少なくともいずれかの処理液を泡状にした泡を塗布する泡塗布手段と、を備え、
    前記泡塗布手段は、
    前記泡を塗布する塗布手段と、
    塗布されずに残った余剰泡を回収する経路と、
    前記経路内で前記余剰泡を加熱して前記余剰泡を液状に戻す加熱手段と、を有している
    ことを特徴とする画像形成装置。
  2. 前記加熱手段によって前記余剰泡を加熱する第1のモードと、前記加熱手段によって前記余剰泡を加熱しない第2のモードとを備えていることを特徴とする画像形成装置。
  3. 前記経路は前記処理液から前記泡を生成する泡生成手段、前記泡生成手段に供給する前記処理液を収容した処理液収容部又は廃棄用収容部に接続されていることを特徴とする画像形成装置。
  4. 前記加熱手段は前記余剰泡が接触する複数の面を有していることを特徴とする画像形成装置。
  5. 前記余剰泡は、前記塗布手段に供給されなかった泡であることを特徴とする画像形成装置。
  6. 被塗布部材に液体及びゲルの少なくともいずれかの処理液を泡状にした泡を塗布する泡塗布装置において、
    前記泡を塗布する塗布手段と、
    塗布されずに残った余剰泡を回収する経路と、
    前記経路内で前記余剰泡を加熱して前記余剰泡を液状に戻す加熱手段と、を有している
    ことを特徴とする泡塗布装置。
JP2008229693A 2007-12-12 2008-09-08 画像形成装置、泡塗布装置 Expired - Fee Related JP5181945B2 (ja)

Priority Applications (5)

Application Number Priority Date Filing Date Title
JP2008229693A JP5181945B2 (ja) 2008-09-08 2008-09-08 画像形成装置、泡塗布装置
PCT/JP2008/072581 WO2009075339A1 (en) 2007-12-12 2008-12-04 Image forming apparatus and foam application device
US12/744,537 US8540337B2 (en) 2007-12-12 2008-12-04 Image forming apparatus and foam application device
CN2008801206485A CN101896348B (zh) 2007-12-12 2008-12-04 图像形成设备和泡沫涂敷装置
EP08860317A EP2231407B1 (en) 2007-12-12 2008-12-04 Image forming apparatus and foam application device

Applications Claiming Priority (1)

Application Number Priority Date Filing Date Title
JP2008229693A JP5181945B2 (ja) 2008-09-08 2008-09-08 画像形成装置、泡塗布装置

Publications (2)

Publication Number Publication Date
JP2010064252A true JP2010064252A (ja) 2010-03-25
JP5181945B2 JP5181945B2 (ja) 2013-04-10

Family

ID=42190280

Family Applications (1)

Application Number Title Priority Date Filing Date
JP2008229693A Expired - Fee Related JP5181945B2 (ja) 2007-12-12 2008-09-08 画像形成装置、泡塗布装置

Country Status (1)

Country Link
JP (1) JP5181945B2 (ja)

Cited By (2)

* Cited by examiner, † Cited by third party
Publication number Priority date Publication date Assignee Title
JP2015157452A (ja) * 2014-02-25 2015-09-03 セイコーエプソン株式会社 液体吐出装置及び媒体の前処理方法
JP2015223734A (ja) * 2014-05-27 2015-12-14 キヤノン株式会社 画像形成方法、画像形成装置、画像記録方法、画像記録装置、立体物の製造方法およびその製造装置

Citations (6)

* Cited by examiner, † Cited by third party
Publication number Priority date Publication date Assignee Title
JPS5969179A (ja) * 1982-10-13 1984-04-19 Toshin Kogyo Kk 発泡液の塗布方法
JPS62241572A (ja) * 1986-04-11 1987-10-22 Nordson Kk 組立式発泡樹脂製鋳型模型の接合方法とその発泡型ホツトメルト接着剤の塗布装置
JPH07100415A (ja) * 1993-10-05 1995-04-18 Taikisha Ltd 水性塗料ミスト除去装置
JPH08327788A (ja) * 1995-05-29 1996-12-13 Mitsubishi Heavy Ind Ltd 廃液蒸発装置
JP2002517341A (ja) * 1998-06-11 2002-06-18 レックスマーク・インターナショナル・インコーポレーテツド インクジェットプリンタ用のコーティング機構
JP2004330569A (ja) * 2003-05-06 2004-11-25 Seiko Epson Corp インクジェット式印刷機及びその前処理液塗布方法

Patent Citations (6)

* Cited by examiner, † Cited by third party
Publication number Priority date Publication date Assignee Title
JPS5969179A (ja) * 1982-10-13 1984-04-19 Toshin Kogyo Kk 発泡液の塗布方法
JPS62241572A (ja) * 1986-04-11 1987-10-22 Nordson Kk 組立式発泡樹脂製鋳型模型の接合方法とその発泡型ホツトメルト接着剤の塗布装置
JPH07100415A (ja) * 1993-10-05 1995-04-18 Taikisha Ltd 水性塗料ミスト除去装置
JPH08327788A (ja) * 1995-05-29 1996-12-13 Mitsubishi Heavy Ind Ltd 廃液蒸発装置
JP2002517341A (ja) * 1998-06-11 2002-06-18 レックスマーク・インターナショナル・インコーポレーテツド インクジェットプリンタ用のコーティング機構
JP2004330569A (ja) * 2003-05-06 2004-11-25 Seiko Epson Corp インクジェット式印刷機及びその前処理液塗布方法

Cited By (2)

* Cited by examiner, † Cited by third party
Publication number Priority date Publication date Assignee Title
JP2015157452A (ja) * 2014-02-25 2015-09-03 セイコーエプソン株式会社 液体吐出装置及び媒体の前処理方法
JP2015223734A (ja) * 2014-05-27 2015-12-14 キヤノン株式会社 画像形成方法、画像形成装置、画像記録方法、画像記録装置、立体物の製造方法およびその製造装置

Also Published As

Publication number Publication date
JP5181945B2 (ja) 2013-04-10

Similar Documents

Publication Publication Date Title
JP5347527B2 (ja) 画像形成装置、泡塗布装置
CN101896348B (zh) 图像形成设备和泡沫涂敷装置
JP5075300B2 (ja) 画像形成装置
JP5321026B2 (ja) 画像形成装置、泡塗布装置
JP2009083475A (ja) 画像形成装置、泡を被塗布部材に塗布する装置
JP5476767B2 (ja) 画像形成装置、泡塗布装置
JP5181945B2 (ja) 画像形成装置、泡塗布装置
JP5359368B2 (ja) 画像形成装置、泡塗布装置
JP5206552B2 (ja) 画像形成装置、泡塗布装置
JP5182083B2 (ja) 画像形成装置
JP5182085B2 (ja) 画像形成装置
JP5321027B2 (ja) 画像形成装置、泡塗布装置
JP5288034B2 (ja) 画像形成装置
JP5332573B2 (ja) 画像形成装置、泡塗布装置
JP5257076B2 (ja) 画像形成装置
JP5146833B2 (ja) 画像形成装置
JP5434189B2 (ja) 画像形成装置、泡塗布装置
JP5272854B2 (ja) 画像形成装置、泡塗布装置
JP5347645B2 (ja) 画像形成装置、泡塗布装置
JP5212081B2 (ja) 画像形成装置、泡塗布装置
JP5182084B2 (ja) 画像形成装置
JP5375185B2 (ja) 画像形成装置、泡塗布装置
JP5218070B2 (ja) 画像形成装置及び泡塗布装置
JP5470971B2 (ja) 画像形成装置、泡塗布装置
JP5332817B2 (ja) 画像形成装置、泡塗布装置

Legal Events

Date Code Title Description
A621 Written request for application examination

Free format text: JAPANESE INTERMEDIATE CODE: A621

Effective date: 20110803

A131 Notification of reasons for refusal

Free format text: JAPANESE INTERMEDIATE CODE: A131

Effective date: 20120417

A521 Written amendment

Free format text: JAPANESE INTERMEDIATE CODE: A523

Effective date: 20120531

TRDD Decision of grant or rejection written
A01 Written decision to grant a patent or to grant a registration (utility model)

Free format text: JAPANESE INTERMEDIATE CODE: A01

Effective date: 20121218

A61 First payment of annual fees (during grant procedure)

Free format text: JAPANESE INTERMEDIATE CODE: A61

Effective date: 20121231

R151 Written notification of patent or utility model registration

Ref document number: 5181945

Country of ref document: JP

Free format text: JAPANESE INTERMEDIATE CODE: R151

FPAY Renewal fee payment (event date is renewal date of database)

Free format text: PAYMENT UNTIL: 20160125

Year of fee payment: 3

LAPS Cancellation because of no payment of annual fees