JP2010063734A - 遊技機 - Google Patents

遊技機 Download PDF

Info

Publication number
JP2010063734A
JP2010063734A JP2008234310A JP2008234310A JP2010063734A JP 2010063734 A JP2010063734 A JP 2010063734A JP 2008234310 A JP2008234310 A JP 2008234310A JP 2008234310 A JP2008234310 A JP 2008234310A JP 2010063734 A JP2010063734 A JP 2010063734A
Authority
JP
Japan
Prior art keywords
control unit
probability
game
special symbol
winning
Prior art date
Legal status (The legal status is an assumption and is not a legal conclusion. Google has not performed a legal analysis and makes no representation as to the accuracy of the status listed.)
Granted
Application number
JP2008234310A
Other languages
English (en)
Other versions
JP5154351B2 (ja
Inventor
Tomoya Momose
智哉 百瀬
Kota Kawakami
功太 川上
Current Assignee (The listed assignees may be inaccurate. Google has not performed a legal analysis and makes no representation or warranty as to the accuracy of the list.)
Kyoraku Sangyo Co Ltd
Original Assignee
Kyoraku Sangyo Co Ltd
Priority date (The priority date is an assumption and is not a legal conclusion. Google has not performed a legal analysis and makes no representation as to the accuracy of the date listed.)
Filing date
Publication date
Application filed by Kyoraku Sangyo Co Ltd filed Critical Kyoraku Sangyo Co Ltd
Priority to JP2008234310A priority Critical patent/JP5154351B2/ja
Publication of JP2010063734A publication Critical patent/JP2010063734A/ja
Application granted granted Critical
Publication of JP5154351B2 publication Critical patent/JP5154351B2/ja
Expired - Fee Related legal-status Critical Current
Anticipated expiration legal-status Critical

Links

Images

Landscapes

  • Pinball Game Machines (AREA)
  • Display Devices Of Pinball Game Machines (AREA)

Abstract

【課題】潜伏モードの際の興趣性を更に高めることが可能な遊技機を提供する。
【解決手段】盤ランプ116は、一列に整列された4つのランプ171,172,173,174を備えている。ランプ171は保留数が1のときに発光し、ランプ172は保留数が2のときに発光し、ランプ173は保留数が3のときに発光し、ランプ174は保留数が4のときに発光するものである。ランプ171〜174の各々は、少なくとも赤色および青色を発光する発光源を有する構成である。潜伏の場合と非潜伏の場合とで赤色出現率、青色出現率、同色出現率および異色出現率が異なる。ランプ171〜174の発光色の決定は、赤色出現率等を反映させた乱数により行われる。
【選択図】図18

Description

本発明は、遊技球の入賞によって大当たりの抽選を行うパチンコ遊技機等の遊技機に関するものである。
従来、始動口に遊技球が入賞することによって大当たりの抽選を行い、大当たりに当選したときに大入賞口の開閉を連続的に繰り返す大当たり遊技状態になり、より多くの賞球が得られる機会を与える遊技機としてのパチンコ遊技機が知られている。
また、大当たり後の大当たり抽選の際に大当たりの当選条件が異なるパチンコ遊技機も知られている。すなわち、このようなパチンコ遊技機は、所定ラウンド数の大当たり遊技状態が終了した後に、大当たりの当選確率が低確率から高確率に変動する確率変動(確変)状態を備えている。このため、内部状態が確変状態であることを報知する確変報知演出を例えば液晶画面で行うことにより、遊技の継続によって次の大当たりに当選するという遊技者の期待感を高めている。
また、確変状態であっても確変報知演出を行わない期間を設定し、その期間内に確変状態となっている可能性があることを報知する確変潜伏演出が行われる遊技機も知られている。このようなパチンコ遊技機では、本来遊技者の期待感が高まるはずの確変状態の遊技が消化ゲーム的な意味合いをもつことを防止し、確変状態遊技時の興趣性をより高めている。
また、確変状態である可能性を示唆する特別演出モードを終了させる終了条件が成立して特別演出モードから通常演出モードに移行した後にも、遊技の継続意欲を持続させることを目的とする遊技機が提案されている(例えば、特許文献1参照)。この遊技機は、終了条件が成立してから所定回数の図柄変動が経過するまでの間に特別演出モードを再開させる条件が成立する場合には通常演出モードから特別演出モードに移行させ、再び特別演出モードを開始させている。
特開2008−11954号公報
ここで、当選条件の異なる遊技状態に関する報知の態様を同一内容とし、遊技者にとって遊技状態の何れが設定されているかを把握できないこととした場合(潜伏モード)に、遊技者は遊技状態を予想する判断材料を遊技機から得ることができない。このことから、遊技者が当選条件の異なる遊技状態の何れが設定されているかを予想する楽しみが少なくなる。そのため、当選条件の異なる遊技状態に関する報知の態様を異なる内容とし、その相違を見つけ出すように仕向けることが遊技者の集中力や興味を長く継続させる観点から好ましい。その一方で、遊技を長く続けていると同じような報知の態様が繰り返されることがある。そのような場合には、遊技者がその相違を見つけ出す面白味が半減し、遊技者の集中力等を維持させることが難しくなる。
本発明は、潜伏モードの際の興趣性を更に高めることが可能な遊技機を提供することを目的とする。
本発明が適用される遊技機は、電動役物を作動させるか否かの抽選を行う抽選手段と、当該抽選手段による当該抽選が行われる条件を満たすことを検出する検出手段と、を備え、大当たり当選確率が通常状態の場合に通常演出を行い、大当たり当選確率が通常状態よりも高い高確率状態の場合に高確率状態の演出を行い、当該通常状態または当該高確率状態にあるときに当該高確率状態の演出と当該通常演出とが識別困難な潜伏状態の演出を制御する遊技機であって、前記抽選手段による前記抽選が保留されている数に対応してなされる保留表示の表示態様で前記潜伏状態の演出を含む演出を行う潜伏報知演出手段と、を備えることを特徴とするものである。
ここで、前記潜伏報知演出手段は、前記保留表示がなされる表示領域に第1の表示態様と当該第1の表示態様とは異なる第2の表示態様とを選択的に表示する演出により前記演出を行うことを特徴とすることができる。
また、前記第1の表示態様が選択される確率である第1の確率と前記第2の表示態様が選択される確率である第2の確率とを格納する格納部をさらに備え、前記格納部は、前記表示領域が複数あるときに当該表示領域の各々の前記第1の確率および前記第2の確率を格納していることを特徴とすることができる。
さらに、前記潜伏報知演出手段は、前記抽選が保留されている状態で前記検出手段による検出がなされる場合に、前記第1の確率および前記第2の確率を変更するための変更値を取得し、取得した当該変更値を用いて前記第1の確率および前記第2の確率を変更することを特徴とすることができる。
さらにまた、前記潜伏報知演出手段による前記演出が行われていないときの前記保留表示は、前記第1の表示態様および前記第2の表示態様とは異なる第3の表示態様により行われることを特徴とすることができる。
本発明によれば、潜伏モードの際の興趣性を更に高めることが可能になる。
以下、添付図面を参照して、本発明の実施の形態について詳細に説明する。
〔遊技機の基本構成〕
図1は、本実施の形態に係るパチンコ遊技機100の概略正面図である。
同図に示す遊技機の一例としてのパチンコ遊技機100は、遊技者の指示操作により打ち出された遊技球が入賞すると賞球を払い出すように構成されたものである。このパチンコ遊技機100は、遊技球が打ち出される遊技盤110と、遊技盤110を囲む枠部材150と、を備えている。遊技盤110は、枠部材150に着脱自在に取り付けられている。
遊技盤110は、前面に、遊技球により遊技を行うための遊技領域111と、下方から発射された遊技球が上昇して遊技領域111の上部位置へ向かう通路を形成するレール部材112と、遊技領域111の右側に遊技球を案内する案内部材113と、を備えている。
本実施の形態では、遊技者により視認され易い遊技領域111の位置に、演出のための各種の画像を表示する画像表示部114が配設されている。この画像表示部114は、遊技者によるゲームの進行に伴い、例えば、図柄抽選結果(図柄変動結果)を遊技者に装飾図柄により報知したり、キャラクタの登場やアイテムの出現による予告演出を表示したりする。なお、画像表示部114としては、例えば液晶表示装置、EL表示装置、LEDドット表示装置または7セグ表示装置等による構成例が考えられる。
また、本実施の形態では、遊技盤110の前面に、各種の演出に用いられる可動役物115および盤ランプ116を備えている。可動役物115は、遊技盤110に対して可動に構成され、可動による各種の演出を行い、また、盤ランプ116は、発光することで光による各種の演出を行う。
遊技領域111には、遊技球が落下する方向に変化を与えるための図示しない遊技くぎおよび風車等が配設されている。また、遊技領域111には、入賞や抽選に関する種々の役物が所定の位置に配設されている。また、遊技領域111には、遊技領域111に打ち出された遊技球のうち入賞口に入賞しなかったものを遊技領域111の外に排出する排出口117が配設されている。
本実施の形態では、入賞や抽選に関する種々の役物として、遊技球が入ると入賞して特別図柄抽選(大当たり抽選)が始動する第1始動口121と、第1始動口121の下方に位置し、遊技球が入ると入賞して特別図柄抽選が始動する第2始動口122と、遊技球が通過すると普通図柄抽選(開閉抽選)が始動するゲート124と、が遊技盤110に配設されている。ここにいう第1始動口121および第2始動口122とは、予め定められた1の特別電動役物(大入賞口125)、または予め定められた1の特別図柄表示器の何れかを作動させることとなる遊技球の入賞に係る入賞口をいう。
第2始動口122は、チューリップの花の形をした一対の羽根が電動ソレノイドにより開閉すると共に点灯する普通電動役物としての電動チューリップ123を備えている。電動チューリップ123は、羽根が閉じていると、遊技球は第2始動口122へ入り難い一方で、羽根が開くと第2始動口122の入口が拡大して遊技球が第2始動口122へ入り易くなるように構成されている。そして、電動チューリップ123は、普通図柄抽選に当選すると、点灯ないし点滅しながら羽根が規定時間(例えば6秒間)および規定回数(例えば3回)だけ開く。
なお、パチンコ遊技機100は、所定の条件下で、特別図柄抽選時に大当たりが抽選される大当たり確率が変動する場合(低確状態(例えば300分の1)から高確状態(例えば30分の1)への変動)がある。また、パチンコ遊技機100は、所定の条件下で、特別図柄抽選時の特別図柄変動時間が短縮されたり、普通図柄抽選時の当選する確率が高まったり、普通図柄抽選時の普通図柄変動時間が短縮されたり、電動チューリップ123の羽根の開時間が延長されたり、電動チューリップ123の羽根が開く回数が増えたりする(電チューサポート)場合がある。
また、本実施の形態では、入賞や抽選に関する種々の役物として、第2始動口122の下方に位置し、特別図柄抽選の結果に応じて開放する大入賞口125と、遊技球が入賞しても抽選が始動しない普通入賞口126と、が遊技盤110に配設されている。この大入賞口125は、通常は閉状態であるが特別図柄抽選の結果により所定条件(例えば30秒経過または遊技球10個の入賞)を満たすまで突出傾斜して開状態が維持されるラウンドを所定回数(例えば15回または2回)だけ繰り返す。
なお、本実施の形態では、遊技領域111に第1始動口121および第2始動口122が配設されているが、いずれか一方のみを配設する構成例や他の始動口を配設する構成例も考えられる。また、本実施の形態では、遊技領域111に大入賞口125が1つ配設されているが、大入賞口125を複数配設する構成例も考えられる。
本実施の形態では、遊技盤110の右下の位置に、抽選結果や保留数に関する表示を行う表示器130が配設されている。この表示器130の詳細は後述する。
賞球の払い出しについて説明する。第1始動口121、第2始動口122、大入賞口125および普通入賞口126に遊技球が入賞すると、遊技球が入賞した場所に応じて、1つの遊技球当たり規定個数の賞球が払い出される。その一例を示すと、第1始動口121に遊技球が入賞すると3個の賞球、第2始動口122に遊技球が入賞すると4個の賞球、大入賞口125に遊技球が入賞すると13個の賞球、普通入賞口126に遊技球が入賞すると10個の賞球がそれぞれ払い出される。なお、ゲート124を遊技球が通過したことを検出しても、それに連動した賞球の払い出しは無い。
なお、遊技盤110の後面には、図示しない各種の基板等が取り付けられる。この各種の基板等について付言すると、遊技盤110の後面には、メイン基板およびサブ基板が配設されている。すなわち、遊技盤110の後面には、メイン基板として、内部抽選および当選の判定等を行う後述の遊技制御部200が構成された遊技制御基板が配設されている。この遊技制御基板は、開封することにより痕跡が残るように透明部材で構成されたメイン基板ケースに密封されている。
また、サブ基板として、演出を統括的に制御する後述の演出制御部300が構成された演出制御基板、画像および音による演出を制御する後述の画像/音響制御部310が構成された画像制御基板、および、各種のランプおよび可動役物115による演出を制御する後述のランプ制御部320が構成されたランプ制御基板等が配設されている。また、遊技盤110の後面には、供給された24VのAC電源をDC電源に変換して各種の基板等に出力するスイッチング電源(不図示)が配設されている。
付言すると、払出球の払い出し制御を行う後述の払出制御部400が構成された払出制御基板と、払出制御基板により制御され、外部から補給された補給球を一時的に溜めておき、賞球の払い出しや貸し球の払い出しを行う払い出しユニット(不図示)と、が枠部材150に配設されている。
枠部材150は、遊技者がハンドル151に触れてレバー152を時計方向に回転させる操作を行うとその操作角度に応じた打球力にて遊技球を所定の時間間隔(例えば1分間に100個)で電動発射する発射装置(不図示)を備えている。また、枠部材150は、遊技者のレバー152による操作と連動したタイミングで発射装置に遊技球を1つずつ順に供給する供給装置(不図示)と、供給装置が発射装置に供給する遊技球を一時的に溜めておく皿153(図2参照)と、を備えている。この皿153には、例えば払い出しユニットによる払出球が払い出される。
なお、本実施の形態では、皿153を上下皿一体で構成しているが、上皿と下皿とを分離する構成例も考えられる。また、発射装置のハンドル151を所定条件下で発光させる構成例も考えられる。
また、枠部材150は、発射装置のハンドル151に遊技者が触れている状態であっても遊技球の発射を一時的に停止させるための停止ボタン154と、皿153に溜まっている遊技球を箱(不図示)に落下させて取り出すための取り出しボタン155と、を備えている。
また、枠部材150は、パチンコ遊技機100の遊技状態や状況を告知したり各種の演出を行ったりするスピーカ156および枠ランプ157を備えている。スピーカ156は、楽曲や音声、効果音による各種の演出を行い、また、枠ランプ157は、点灯点滅によるパターンや発光色の違い等で光による各種の演出を行う。なお、枠ランプ157については、光の照射方向を変更する演出を行うことを可能にする構成例が考えられる。
また、枠部材150は、遊技盤110を遊技者と隔てるための透明板(不図示)を備えている。
図2は、本実施の形態に係るパチンコ遊技機100を説明する図であり、(a)は、遊技盤110の右下に配設された表示器130の一例を示す拡大図であり、(b)は、パチンコ遊技機100の部分平面図である。
パチンコ遊技機100の表示器130は、図2の(a)に示すように、第1始動口121の入賞に対応して作動する第1特別図柄表示器221と、第2始動口122の入賞に対応して作動する第2特別図柄表示器222と、ゲートの通過に対応して作動する普通図柄表示器223と、を備えている。第1特別図柄表示器221は、第1始動口121の入賞による特別図柄を変動表示しその抽選結果を表示する。第2特別図柄表示器222は、第2始動口122の入賞による特別図柄を変動表示しその抽選結果を表示する。普通図柄表示器223は、遊技球がゲート124を通過することにより普通図柄を変動表示しその抽選結果を表示する。なお、本実施の形態では、第1特別図柄表示器221および第2特別図柄表示器222は、7セグ表示装置で構成され、また、普通図柄表示器223は、LED表示装置で構成されている。
また、表示器130は、第1特別図柄表示器221での保留に対応して作動する第1特別図柄保留表示器218と、第2特別図柄表示器222での保留に対応して作動する第2特別図柄保留表示器219と、普通図柄表示器223での保留に対応して作動する普通図柄保留表示器220と、を備えている。この保留について説明する。変動表示動作中(入賞1回分の変動表示が行なわれている間)にさらに他の遊技球による入賞があると、その入賞した遊技球に対する図柄の変動表示動作は、先に入賞した遊技球に対する変動表示動作が終了するまで、規定個数(例えば4個)を限度に保留される。このような保留がなされていることおよびその保留の数(未抽選数)が、第1特別図柄保留表示器218、第2特別図柄保留表示器219および普通図柄保留表示器220に表示される。なお、本実施の形態では、第1特別図柄保留表示器218、第2特別図柄保留表示器219および普通図柄保留表示器220の各々は、一列に配設したLED表示装置で構成され、その点灯態様によって保留数が表示される。
パチンコ遊技機100の枠部材150は、遊技者が演出に対する入力を行うための入力装置を備えている。図2の(b)に示すように、本実施の形態では、入力装置の一例として、演出ボタン161と、演出ボタン161に隣接し、略十字に配列された複数のキーからなる演出キー162と、が枠部材150に配設されている。演出キー162は、その中央に1つの中央キーを配置し、また、中央キーの周囲に略同一形状の4つの周囲キーを配置して構成されている。遊技者は、4つの周囲キーを操作することにより、画像表示部114に表示されている複数の画像のいずれかを選ぶことが可能であり、また、中央キーを操作することにより、選んだ画像を情報として入力することが可能である。
〔制御ユニットの構成〕
次に、パチンコ遊技機100での動作制御や信号処理を行う制御ユニットについて説明する。
図3は、制御ユニットの内部構成を示すブロック図である。同図に示すように、制御ユニットは、メイン制御手段として、内部抽選および当選の判定等といった払い出す賞球数に関する各種制御を行う遊技制御部200を備えている。また、サブ制御手段として、演出を統括的に制御する演出制御部300と、画像および音響を用いた演出を制御する画像/音響制御部310と、各種のランプおよび可動役物115を用いた演出を制御するランプ制御部320と、払出球の払い出し制御を行う払出制御部400と、を備えている。前述したように、遊技制御部200、演出制御部300、画像/音響制御部310、ランプ制御部320、および払出制御部400各々は、遊技盤110の後面に配設されたメイン基板としての遊技制御基板、さらにはサブ基板としての演出制御基板、画像制御基板、ランプ制御基板、および払出制御基板において個別に構成されている。
〔遊技制御部の構成・機能〕
遊技制御部200は、内部抽選および当選の判定等といった払い出し賞球数に関連する各種制御を行う際の演算処理を行うCPU201と、CPU201にて実行されるプログラムや各種データ等が記憶されたROM202と、CPU201の作業用メモリ等として用いられるRAM203と、を備えている。
遊技制御部200は、第1始動口121または第2始動口122に遊技球が入賞すると特別図柄抽選を行い、特別図柄抽選での当選か否かの判定結果を演出制御部300に送る。また、特別図柄抽選時の当選確率の変動設定(例えば300分の1から30分の1への変動設定)、特別図柄抽選時の特別図柄変動時間の短縮設定、および普通図柄抽選時の普通図柄変動時間の短縮設定を行い、設定内容を演出制御部300に送る。
さらに、遊技制御部200は、電動チューリップ123の羽根の開時間の延長、および電動チューリップ123の羽根が開く回数の設定、さらには羽根が開く際の開閉動作間隔の設定を制御する。また、遊技球が連続的に第1始動口121または第2始動口122へ入賞したときの未抽選分の限度個数(例えば4個)までの保留や、遊技球が連続的にゲート124を通過したときの未抽選分の限度個数(例えば4個)までの保留を設定する。
また、遊技制御部200は、特別図柄抽選の結果に応じて、大入賞口125が所定条件(例えば30秒経過または遊技球10個の入賞)を満たすまで突出傾斜して開状態を維持するラウンドを所定回数(例えば15回または2回)だけ繰り返すように制御する。さらには、大入賞口125が開く際の開閉動作間隔を制御する。
さらに、遊技制御部200は、第1始動口121、第2始動口122、大入賞口125および普通入賞口126に遊技球が入賞すると、遊技球が入賞した場所に応じて1つの遊技球当たり所定数の賞球を払い出すように、払出制御部400に対する指示を行う。例えば、第1始動口121に遊技球が入賞すると3個の賞球、第2始動口122に遊技球が入賞すると4個の賞球、大入賞口125に遊技球が入賞すると13個の賞球、普通入賞口126に遊技球が入賞すると10個の賞球をそれぞれ払い出すように、払出制御部400に指示命令(コマンド)を送る。なお、ゲート124を遊技球が通過したことを検出しても、それに連動した賞球の払い出しは払出制御部400に指示しない。
払出制御部400が遊技制御部200の指示に従って賞球の払い出しを行った場合には、遊技制御部200は、払い出した賞球の個数に関する情報を払出制御部400から取得する。それにより、払い出した賞球の個数を管理する。
遊技制御部200には、図3に示すように、第1始動口121への遊技球の入賞を検出する第1始動口検出部(第1始動口スイッチ(SW))211と、第2始動口122への遊技球の入賞を検出する第2始動口検出部(第2始動口スイッチ(SW))212と、電動チューリップ123を開閉する電動チューリップ開閉部213と、ゲート124への遊技球の通過を検出するゲート検出部(ゲートスイッチ(SW))214と、が接続されている。
さらに、遊技制御部200には、大入賞口125への遊技球の入賞を検出する大入賞口検出部(大入賞口スイッチ(SW))215と、大入賞口125を閉状態と突出傾斜した開状態とに設定する大入賞口開閉部216と、普通入賞口126への遊技球の入賞を検出する普通入賞口検出部(普通入賞口スイッチ(SW))217と、が接続されている。
また、遊技制御部200には、第1始動口121への遊技球の入賞により始動した特別図柄抽選(大当たり抽選)の未抽選分の保留個数を限度個数内(例えば4個)で表示する第1特別図柄保留表示器218と、第2始動口122への遊技球の入賞により始動した特別図柄抽選の未抽選分の保留個数を限度個数内で表示する第2特別図柄保留表示器219と、ゲート124への遊技球の通過により始動した普通図柄抽選(開閉抽選)が始動する未抽選分の保留個数を限度個数内で表示する普通図柄保留表示器220と、が接続されている。
さらに、遊技制御部200には、第1始動口121への遊技球の入賞により始動した特別図柄抽選の結果を表示する第1特別図柄表示器221と、第2始動口122への遊技球の入賞により始動した特別図柄抽選の結果を表示する第2特別図柄表示器222、普通図柄抽選の結果を表示する普通図柄表示器223と、が接続されている。
そして、第1始動口スイッチ211、第2始動口スイッチ212、ゲートスイッチ214、大入賞口スイッチ215および普通入賞口スイッチ217にて検出された検出信号が、遊技制御部200に送られる。また、遊技制御部200からの制御信号が、電動チューリップ開閉部213、大入賞口開閉部216、第1特別図柄保留表示器218、第2特別図柄保留表示器219、普通図柄保留表示器220、第1特別図柄表示器221、第2特別図柄表示器222および普通図柄表示器223に送られる。それにより、遊技制御部200は、上記した払い出し賞球数に関連する各種制御を行う。
さらに、遊技制御部200には、ホールに設置されたホストコンピュータ(不図示)に対して各種の情報を送信する盤用外部情報端子基板250が接続されている。そして、遊技制御部200は、払出制御部400から取得した払い出した賞球数に関する情報や遊技制御部200の状態等を示す情報を、盤用外部情報端子基板250を介してホストコンピュータに送信する。
〔演出制御部の構成・機能〕
次に、演出制御部300は、演出を制御する際の演算処理を行うCPU301と、CPU301にて実行されるプログラムや各種データ等が記憶されたROM302と、CPU301の作業用メモリ等として用いられるRAM303と、日時を計測するリアルタイムクロック(RTC)304と、を備えている。
演出制御部300は、例えば遊技制御部200から送られる特別図柄抽選での当選か否かの判定結果に基づいて、演出内容を設定する。その際に、演出ボタン161または演出キー162を用いたユーザからの操作入力を受けて、操作入力に応じた演出内容を設定する場合もある。また、遊技が所定期間中断された場合には、演出の一つとして客待ち用の画面表示の設定を指示する。
さらには、遊技制御部200が特別図柄抽選時の当選確率を変動させた場合、特別図柄抽選時の特別図柄変動時間を短縮させた場合、および普通図柄抽選時の普通図柄変動時間を短縮させた場合には、演出制御部300は設定された内容に対応させて演出内容を設定する。
また、演出制御部300は、設定した演出内容の実行を指示するコマンドを画像/音響制御部310およびランプ制御部320に送る。
〔画像/音響制御部の構成・機能〕
画像/音響制御部310は、演出内容を表現する画像および音響を制御する際の演算処理を行うCPU311と、CPU311にて実行されるプログラムや各種データ等が記憶されたROM312と、CPU311の作業用メモリ等として用いられるRAM313と、を備えている。
そして、画像/音響制御部310は、演出制御部300から送られたコマンドに基づいて、画像表示部114に表示する画像およびスピーカ156から出力する音響を制御する。
具体的には、画像/音響制御部310のROM312には、画像表示部114において遊技中に表示する図柄画像や背景画像、遊技者に抽選結果を報知するための装飾図柄、遊技者に予告演出を表示するためのキャラクタやアイテム等といった画像データが記憶されている。さらには、画像データと同期させて、または画像データとは独立にスピーカ156から出力させる楽曲や音声、さらにはジングル等の効果音等といった各種音響データが記憶されている。CPU311は、ROM312に記憶された画像データや音響データの中から、演出制御部300から送られたコマンドに対応したものを選択して読み出す。さらには、読み出した画像データを用いて背景画像表示、図柄画像表示、図柄画像変動、およびキャラクタ/アイテム表示等のための画像処理と、読み出した音響データを用いた音声処理とを行う。
そして、画像/音響制御部310は、画像処理された画像データにより画像表示部114での画面表示を制御する。また、音声処理された音響データによりスピーカ156から出力される音響を制御する。
〔ランプ制御部の構成・機能〕
ランプ制御部320は、盤ランプ116や枠ランプ157の発光、および可動役物115の動作を制御する際の演算処理を行うCPU321と、CPU321にて実行されるプログラムや各種データ等が記憶されたROM322と、CPU311の作業用メモリ等として用いられるRAM323と、を備えている。
そして、ランプ制御部320は、演出制御部300から送られたコマンドに基づいて、盤ランプ116や枠ランプ157の点灯/点滅や発光色等を制御する。また、可動役物115の動作を制御する。
具体的には、ランプ制御部320のROM322には、演出制御部300にて設定される演出内容に応じた盤ランプ116や枠ランプ157での点灯/点滅パターンデータおよび発光色パターンデータ(発光パターンデータ)が記憶されている。CPU321は、ROM322に記憶された発光パターンデータの中から、演出制御部300から送られたコマンドに対応したものを選択して読み出す。そして、ランプ制御部320は、読み出した発光パターンデータにより盤ランプ116や枠ランプ157での発光を制御する。
また、ランプ制御部320のROM322には、演出制御部300にて設定される演出内容に応じた可動役物115の動作パターンデータが記憶されている。CPU321は、可動役物115に対しては、読み出した動作パターンデータによりその動作を制御する。
〔払出制御部の構成・機能〕
払出制御部400は、払出球の払い出しを制御する際の演算処理を行うCPU401と、CPU401にて実行されるプログラムや各種データ等が記憶されたROM402と、CPU401の作業用メモリ等として用いられるRAM403と、を備えている。
そして、払出制御部400は、遊技制御部200から送られたコマンドに基づいて、払出球の払い出しを制御する。
具体的には、払出制御部400は、遊技制御部200から、遊技球が入賞した場所(第1始動口121等)に応じた所定数の賞球を払い出すコマンドを取得する。そして、コマンドに指定された数だけの賞球を払い出すように払出駆動部411を制御する。ここでの払出駆動部411は、遊技球の貯留部から遊技球を送り出す駆動モータで構成される。
また、払出制御部400には、払出駆動部411により遊技球の貯留部から実際に払い出された賞球の数を検出する払出球検出部412と、貯留部(不図示)での遊技球の貯留の有無を検出する球有り検出部413と、遊技者が遊技する際に使用する遊技球や払い出された賞球が保持される皿153が満タン状態に有るか否かを検出する満タン検出部414と、が接続されている。そして、払出制御部400は、払出球検出部412、球有り検出部413および満タン検出部414にて検出された検出信号を受け取り、これらの検出信号に応じた所定の処理を行う。
さらに、払出制御部400には、ホールに設置されたホストコンピュータに対して各種の情報を送信する枠用外部情報端子基板450が接続されている。そして、払出制御部400は、例えば払出駆動部411に対して払い出すように指示した賞球数に関する情報や払出球検出部412にて検出された実際に払い出された賞球数に関する情報等を枠外外部情報端子基板450を介してホストコンピュータに送信する。また、遊技制御部200に対しても、同様の情報を送信する。
〔遊技制御部の機能構成〕
続いて、遊技制御部200の機能構成を説明する。
図4は、遊技制御部200の機能構成を示すブロック図である。同図に示すように、遊技制御部200は、各種抽選処理を実行する機能部として、特別図柄抽選部231と、普通図柄抽選部232と、特別図柄変動制御部233と、特別図柄抽選結果判定部234と、普通図柄制御部237と、を備えている。特別図柄抽選部231と特別図柄抽選結果判定部234とは、抽選手段として機能する。
また、遊技制御部200は、特別図柄変動に伴う処理を実行する機能部として、変動パターン選択部235と、遊技進行制御部236と、を備えている。
さらに、遊技制御部200は、各種役物の動作制御や賞球等に関するデータ処理を実行する機能部として、大入賞口動作制御部238と、電動チューリップ動作制御部239と、賞球処理部240と、出力制御部241と、乱数制御部242と、を備えている。
特別図柄抽選部231は、第1始動口121や第2始動口122に遊技球が入賞した場合に、特別図柄の抽選を行う。
普通図柄抽選部232は、ゲート124を遊技球が通過した場合に、普通図柄抽選を行う。
特別図柄変動制御部233は、特別図柄の抽選が行われた場合に、その抽選結果に応じて特別図柄の変動を制御する。
特別図柄抽選結果判定部234は、特別図柄の抽選が行われた場合に、その抽選結果が「大当たりか否か」、「大当たりに当選した場合の大当たりの種類」、「大当たりに当選していない場合での小当たりかはずれか」を判定する。
ここで、「大当たり」の種類には、大当たり遊技の時間が長く多量の遊技球の払い出しが期待できる「長当たり」と、大当たり遊技の時間が短い「短当たり」とがある。例えば、「長当たり」では、大入賞口125の開状態が所定条件(例えば30秒経過または遊技球10個の入賞)を満たすまで維持されるラウンドが例えば15回繰り返される。また、「短当たり」では、大入賞口125でのラウンドが例えば2回繰り返される。
さらに、「長当たり」には、大当たり遊技の終了後に確率変動(確変)遊技状態および時間短縮(時短)遊技状態の両方を発生させる「15ラウンド確変当たり」とも呼ばれる大当たり(後段の「特定図柄A」での大当たり)と、大当たり遊技の終了後に時短遊技状態のみを発生させ確変遊技状態は発生させない「通常大当たり」とも呼ばれる大当たり(後段の「通常図柄」での大当たり)とがある。また、「短当たり」は、大当たり遊技の終了後に確変遊技状態を発生させ時短遊技状態を発生させない所謂「2ラウンド確変当たり」と呼ばれる大当たり(後段の「特定図柄B」での大当たり)である。
また、大当たりに当選していない場合の「小当たり」は、例えば大入賞口125の開閉が2回行われる小当たり遊技が行われ、終了した後においても小当たり当選時の遊技状態を継続する当たり(後段の「小当たり図柄」での当たり)である。すなわち、小当たり当選時の遊技状態が確変遊技状態である場合には、小当たり遊技の終了後においても確変遊技状態が継続され、遊技状態は移行しない。同様に、小当たりの当選時の遊技状態が確率変動も時間短縮もしていない通常の遊技状態(通常遊技状態)である場合には、小当たり遊技の終了後においても通常遊技状態が継続され、遊技状態は移行しない。
また、「はずれ」では、「大当たり」でも「小当たり」でもなく、遊技者に有利となる上記の遊技状態の何れも設定されない(後段の「はずれ図柄」の設定)。
変動パターン選択部235は、特別図柄の抽選結果が「大当たり」であった場合に、第1特別図柄表示器221や第2特別図柄表示器222にて表示する特別図柄の変動パターンを選択する。また、「リーチ演出を行うか否か」を判定する。ここでの「リーチ演出」とは、遊技者に大当たりを期待させるための画像表示部114等にて行われる演出である。
遊技進行制御部236は、各遊技状態において遊技の進行を制御する。
普通図柄制御部237は、普通図柄の抽選が行われた場合に、普通図柄の抽選結果が「当選かはずれであるか」を判定する。また、その抽選結果に応じて普通図柄の変動を制御する。
「当選」と判定された場合には、電動チューリップ123を規定時間(例えば6秒間)および規定回数(例えば3回)だけ開放し、第2始動口122への遊技球の入賞確率が高まる状態を発生させる。また、「はずれ」と判定された場合には、電動チューリップ123のこのような開放状態は発生されない。
大入賞口動作制御部238は、大入賞口125の開放動作を制御する。
電動チューリップ動作制御部239は、電動チューリップ123の開放動作を制御する。
賞球処理部240は、入賞や抽選に関する種々の役物への入賞個数の管理および入賞に応じた賞球の払い出しを制御する。
出力制御部241は、遊技制御部200から演出制御部300および払出制御部400へ制御用コマンドの出力を制御する。
乱数制御部242は、メイン制御手段やサブ制御手段による処理で用いられる各種の乱数値の更新を制御する。
〔遊技機の基本動作〕
次に、上記のように構成されたパチンコ遊技機100の基本動作を説明する。
パチンコ遊技機100の基本的な動作は、メイン制御手段である遊技制御部200により行われる。そして、この遊技制御部200の制御の下、サブ制御手段である演出制御部300により遊技上の演出の制御が行われ、払い出し制御部400により賞球の払い出しの制御が行われる。
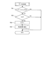
図5は、遊技制御部200の主要動作を示すフローチャートである。
遊技制御部200は、電源投入時や電源断時等の特殊な場合を除く通常の動作時において、図5に示す各処理を一定時間(例えば4ミリ秒)ごとに繰り返し実行する。図5を参照すると、乱数更新処理、始動口スイッチ(SW)処理、ゲートスイッチ(SW)処理、特別図柄処理、普通図柄処理、大入賞口処理、電動チューリップ(電チュー)処理、賞球処理、出力処理が順次実行される(ステップ501〜509)。
乱数更新処理(ステップ501)では、遊技制御部200の乱数制御部242は、メイン制御手段やサブ制御手段による処理で用いられる各種の乱数の値を更新する。乱数の設定および乱数値の更新の詳細については後述する。
始動口スイッチ処理(ステップ502)では、遊技制御部200の特別図柄抽選部231は、図3の第1始動口スイッチ211および第2始動口スイッチ212の状態を監視し、スイッチがONとなった場合に、特別図柄抽選のための処理を実行する。始動口スイッチ処理の詳細な内容については後述する。
ゲートスイッチ処理(ステップ503)では、遊技制御部200の普通図柄抽選部232は、図3のゲートスイッチ214の状態を監視し、スイッチがONとなった場合に、普通図柄抽選のための処理を実行する。ゲートスイッチ処理の詳細な内容については後述する。
特別図柄処理(ステップ504)では、遊技制御部200の特別図柄変動制御部233、特別図柄抽選結果判定部234、変動パターン選択部235、および遊技進行制御部236により、特別図柄変動およびこの図柄変動に伴う処理が行われる。特別図柄処理の詳細な内容については後述する。
普通図柄処理(ステップ505)では、遊技制御部200の普通図柄制御部237により、普通図柄変動およびこの図柄変動に伴う処理が行われる。普通図柄処理の詳細な内容については後述する。
大入賞口処理(ステップ506)では、遊技制御部200の大入賞口動作制御部238は、所定の条件に基づいて大入賞口125の開放動作を制御する。大入賞口処理の詳細な内容については後述する。
電動チューリップ処理(ステップ507)では、遊技制御部200の電動チューリップ動作制御部239は、所定の条件に基づいて電動チューリップ123の開放動作を制御する。電動チューリップ処理の詳細な内容については後述する。
賞球処理(ステップ508)では、遊技制御部200の賞球処理部240は、入賞個数の管理および入賞に応じた賞球の払い出しを制御する。
出力処理(ステップ509)では、遊技制御部200の出力制御部241は、演出制御部300および払出制御部400へ制御用コマンドを出力する。制御用コマンドは、ステップ508までの各処理において生成され、RAM203にセットされており、この出力処理で出力される。
〔遊技制御部での始動口スイッチ処理〕
図6は、始動口スイッチ処理(図5のステップ502)の内容を示すフローチャートである。
この始動口スイッチ処理において、遊技制御部200の特別図柄抽選部231は、まず、始動口121、122に遊技球が入賞して始動口スイッチ211、212がONとなったか否かを判断する(ステップ601)。始動口スイッチ211、212がONとなったならば、次に特別図柄抽選部231は、未抽選分の保留数Uが上限値未満か否かを判断する(ステップ602)。図6に示す例では、上限値を4個としている。保留数Uが上限値に達している場合は(ステップ602でNo)、それ以上未抽選分の入賞を保留することができないので、始動口スイッチ処理を終了する。
一方、保留数Uが上限値未満である場合(ステップ602でYes)、次に特別図柄抽選部231は、保留数Uの値を1加算する(ステップ603)。そして、今回の入賞による抽選のための乱数値を取得し、RAM203に保持する(ステップ604)。ここでは、始動口121、122の入賞なので、特別図柄抽選のための乱数値(大当たり乱数値、大当たり図柄乱数値、リーチ乱数値、変動パターン乱数値など)が取得される。また、演出のための乱数値(潜伏報知モード開始用の乱数値、報知程度決定用の乱数値、ボタン押し時間用の乱数値、クイズ正解用の乱数値など)が取得される。このとき取得される乱数値は、ステップ501の乱数更新処理で更新された値である。そして、この乱数値により特別図柄抽選の結果等が確定される。なお、演出用の乱数は、演出制御部300において設定更新を行うように構成することが考えられる。
〔遊技制御部でのゲートスイッチ処理〕
図7は、ゲートスイッチ処理(図5のステップ503)の内容を示すフローチャートである。
このゲートスイッチ処理において、遊技制御部200の普通図柄抽選部232は、まず、ゲート124を遊技球が通過してゲートスイッチ214がONとなったか否かを判断する(ステップ701)。ゲートスイッチ214がONとなったならば、次に普通図柄抽選部232は、未抽選分の保留数Gが上限値未満か否かを判断する(ステップ702)。図7に示す例では、上限値を4個としている。保留数Gが上限値に達している場合は(ステップ702でNo)、それ以上未抽選分の入賞を保留することができないので、ゲートスイッチ処理を終了する。
一方、保留数Gが上限値未満である場合(ステップ702でYes)、次に普通図柄抽選部232は、保留数Gの値を1加算する(ステップ703)。そして、今回の入賞による抽選のための乱数値を取得し、RAM203に保持する(ステップ704)。ここでは、ゲート124の入賞なので、普通図柄抽選のための乱数値(当たり乱数など)が取得される。
〔遊技制御部での特別図柄処理〕
図8は、特別図柄処理(図5のステップ504)の内容を示すフローチャートである。
この特別図柄処理において、遊技制御部200の特別図柄変動制御部233は、まず、パチンコ遊技機100の現在の状態が大当たり(特別図柄抽選の当選)中か否かを判断する(ステップ801)。大当たり中であれば、既に何らかの大当たりを表す特別図柄が選択されて停止している状態なので、特別図柄変動を開始することなく特別図柄処理を終了する(ステップ801でYes)。一方、大当たり中でない場合(ステップ801でNo)、次に特別図柄変動制御部233は、パチンコ遊技機100の現在の状態が特別図柄変動中か否かを判断する(ステップ802)。特別図柄変動中でない場合(ステップ802でNo)、次に特別図柄変動制御部233は、特別図柄の未抽選分の保留数U(図6参照)が1以上か判断する(ステップ803)。保留数U=0である場合は(ステップ803でNo)、特別図柄の抽選を始動するための入賞が無いことを意味するため、特別図柄変動を開始せずに処理を終了する。
これに対し、保留数Uが1以上である場合(ステップ803でYes)、特別図柄変動制御部233は、保留数Uの値を1減算し(ステップ804)、次に別ルーチンによる大当たり判定処理および変動パターン選択処理を実行する(ステップ805、806)。詳しくは後述するが、この大当たり判定処理および変動パターン選択処理によって、演出制御部300に送られる変動開始コマンドに含まれる設定情報(図柄、遊技状態、変動パターン等)が決定される。
この後、特別図柄変動制御部233は、大当たり判定処理および変動パターン選択処理で決定された設定情報を含んだ変動開始コマンドを生成し、RAM203にセットする(ステップ807)。そして、この設定情報に基づき、図3に示す第1特別図柄表示器221、第2特別図柄表示器222における特別図柄の変動を開始し(ステップ808)、変動パターンで設定された時間だけ特別図柄変動を行うために、変動時間の計測を開始する(ステップ809)。ステップ807でセットされた変動開始コマンドは、図5のステップ509に示した出力処理で演出制御部300へ送信される。
次に、ステップ802で特別図柄変動中と判断された場合(ステップ802でYes)、特別図柄変動制御部233は、変動時間が終了したか否かを判断する(ステップ810)。すなわち、ステップ809で計測開始された変動時間がステップ806の変動パターン選択処理で設定された変動時間に達したか否かが判断される。変動時間が終了していなければ(ステップ810でNo)、特別図柄変動が継続されるので、そのまま特別図柄処理が終了する。
一方、変動時間が終了した場合(ステップ810でYes)、特別図柄変動制御部233は、まず変動停止コマンドをRAM203にセットする(ステップ811)。次に、特別図柄変動制御部233は、第1特別図柄表示器221、第2特別図柄表示器222における特別図柄の変動を終了して(ステップ812)、計測された変動時間をリセットする(ステップ813)。そして、別ルーチンの停止中処理を実行する(ステップ814)。停止中処理の内容については後述する。ステップ811でセットされた変動開始コマンドは、図5のステップ509に示した出力処理で演出制御部300へ送信される。
〔遊技制御部による大当たり判定処理〕
図9は、大当たり判定処理(図8のステップ805)の内容を示すフローチャートである。
この大当たり判定処理において、遊技制御部200の特別図柄抽選結果判定部234は、まず、今回の特別図柄抽選における大当たり乱数の判定を行い(ステップ901)、大当たりしたか否かを判断する(ステップ902)。大当たりしたか否かは、図6のステップ604で取得した大当たり乱数の値が大当たりの当選値として設定された値と一致したか否かを判断することによって決定される。
ステップ901の判断で大当たりだった場合(ステップ902でYes)、次に特別図柄抽選結果判定部234は、大当たり図柄乱数の判定を行う(ステップ903)。この判定では、まず特別図柄抽選の当選確率を変動(確率変動、確変)するか否かを判断する(ステップ904)。確率変動するか否かは、図6のステップ604で取得した大当たり図柄乱数の値が予め設定された値と一致したか否かを判断することによって決定される。
確率変動する場合(ステップ904でYes)、次に特別図柄抽選結果判定部234は、図柄の変動時間を短縮(時間短縮、時短)するか否かを判断する(ステップ905)。時間短縮するか否かは、確率変動の判断と同様に、図6のステップ604で取得した大当たり図柄乱数の値が予め設定された値と一致したか否かを判断することによって決定される。
以上の判定の後、特別図柄抽選結果判定部234は、時間短縮する場合(ステップ905でYes)は、確率変動および時間短縮を伴う大当たりであることを表す図柄(以下、特定図柄A)を設定情報としてRAM203にセットする(ステップ906)。時間短縮しない場合(ステップ905でNo)は、確率変動を伴うが時間短縮を伴わない大当たりであることを表す図柄(以下、特定図柄B)を設定情報としてRAM203にセットする(ステップ907)。また、確率変動しない場合(ステップ904でNo)は、時間短縮を伴うが確率変動を伴わない大当たりであることを表す図柄(以下、通常図柄)を設定情報としてRAM203にセットする(ステップ908)。
大当たりしなかった場合(ステップ902でNo)、次に特別図柄抽選結果判定部234は、小当たりしたか否かを判断する(ステップ909)。小当たりしたか否かは、大当たりの判断と同様に、図6のステップ604で取得した大当たり乱数の値が小当たりの当選値として設定された値と一致したか否かを判断することによって決定される。
特別図柄抽選結果判定部234は、小当たりである場合(ステップ909でYes)は、確率変動も時間短縮も伴わない当たりであることを表す図柄(以下、小当たり図柄)を設定情報としてRAM203にセットする(ステップ910)。小当たりでない場合(ステップ909でNo)は、抽選にはずれたことを表す図柄(以下、はずれ図柄)を設定情報としてRAM203にセットする(ステップ911)。
〔遊技制御部による変動パターン選択処理〕
図10は、変動パターン選択処理(図8のステップ806)の内容を示すフローチャートである。
この変動パターン選択処理において、遊技制御部200の変動パターン選択部235は、まず、今回の特別図柄抽選で大当たりしたか否かを判断する(ステップ1001)。この判断は、大当たり判定処理(図9)のステップ901と同様である(ステップ901の判断結果を用いても良い)。そして、大当たりだった場合(ステップ1001でYes)、変動パターン選択部235は、大当たり用の変動パターンテーブルをROM202から読み出してRAM203にセットする(ステップ1002)。
一方、大当たりしなかった場合(ステップ1001でNo)、次に変動パターン選択部235は、遊技者に大当たりを期待させるためのいわゆるリーチ演出を行うか否かを決定するための乱数の判定を行う(ステップ1003)。リーチ演出を行うか否かは、図6のステップ604で取得したリーチ乱数の値が予め設定された値と一致したか否かを判断することによって決定される。
乱数を用いた判定の結果、リーチ演出を行う場合(ステップ1004でYes)、変動パターン選択部235は、リーチ用の変動パターンテーブルをROM202から読み出してRAM203にセットする(ステップ1005)。また、リーチ演出を行わない場合(ステップ1004でNo)、変動パターン選択部235は、はずれ用の変動パターンテーブルをROM202から読み出してRAM203にセットする(ステップ1006)。
ここで、変動パターンテーブルとは、予め用意されている複数の変動パターン(変動時間10秒、30秒、60秒、90秒など)と変動パターン乱数の値とを対応付けたテーブルである。
次に、変動パターン選択部235は、変動パターンを決定するための乱数(変動パターン乱数)を取得し、RAM203に保持する(ステップ1007)。そして、ステップ1002、1005、1006でセットされた変動パターンテーブルを用いて変動パターン乱数の判定を行う(ステップ1008)。すなわち、変動パターン選択部235は、RAM203にセットされた変動パターンテーブルを参照し、ステップ1007で取得した乱数値に応じた変動パターンを選択する。したがって、同じ乱数値が取得された場合でも、特別図柄抽選の結果が、大当たりしたか否か、大当たりしていない場合はリーチ演出を行うか否か、といった状態の違いに応じて参照される変動パターンテーブルが異なるので、決定される変動パターンが異なる場合がある。
この後変動パターン選択部235は、ステップ1008で選択した変動パターンを設定情報としてRAM203にセットする(ステップ1009)。ステップ1009でセットされた変動パターンの設定情報は、図8のステップ807でセットされる変動開始コマンドに含まれ、図5のステップ509に示した出力処理で演出制御部300へ送信される。
〔遊技制御部による停止中処理〕
図11は、停止中処理(図8のステップ814)の内容を示すフローチャートである。
この停止中処理において、遊技制御部200の遊技進行制御部236は、まず、今回の特別図柄抽選で大当たりしたか否かを判断する(ステップ1101)。そして、大当たりだった場合(ステップ1101でYes)、次に遊技進行制御部236は、確率変動を伴うか否かを判断し(ステップ1102)、さらに時間短縮を伴うか否かを判断する(ステップ1103)。
これらの判断は、大当たり判定処理(図9)のステップ902、904、905と同様である(ステップ902、904、905の判断結果を用いても良い)。また、大当たり判定処理(図9)で設定情報にセットされた図柄の種類に基づいて判断しても良い。すなわち、特定図柄Aがセットされているならば、ステップ1101〜1103全てでYesである。特定図柄Bがセットされているならば、ステップ1101、1102でYes、ステップ1103でNoである。通常図柄がセットされているならば、ステップ1101でYes、ステップ1102でNoである。はずれ図柄または小当たり図柄がセットされているならば、ステップ1101でNoである。
確率変動および時間短縮を伴う大当たり(特定図柄A)であった場合(ステップ1101〜1103全てでYes)、遊技進行制御部236は、RAM203の遊技状態の設定を確変遊技状態とし(ステップ1104)、大当たり開始コマンドをRAM203にセットして(ステップ1106)、大当たりの動作制御を開始する(ステップ1107)。確率変動のみを伴う大当たり(特定図柄B)であった場合(ステップ1101、1102でYes、ステップ1103でNo)、遊技進行制御部236は、RAM203の遊技状態の設定を潜伏遊技状態とし(ステップ1105)、大当たり開始コマンドをRAM203にセットして(ステップ1106)、大当たりの動作制御を開始する(ステップ1107)。確変遊技状態とは、特別図柄抽選の当選確率を高確率にシフトさせ(確率変動させ)、かつ図柄の変動時間を短縮させた(時間短縮させた)遊技状態である。潜伏遊技状態とは、確率変動させるが、時間短縮は行わない遊技状態である。また、大当たりの動作制御とは、大入賞口125の開放動作の制御である。確変遊技状態およびこれに基づく大当たりの動作制御にはいくつかの種類を設定することができる。どの確変遊技状態が適用されるかは、大当たり判定処理(図9)でセットされた特定図柄の種類によって決まる。
確率変動を伴わない大当たりであった場合(ステップ1101でYes、ステップ1102でNo)、遊技進行制御部236は、RAM203の遊技状態の設定を第1遊技状態の一例としての時短遊技状態とし(ステップ1108)、時短遊技状態での抽選回数(変動回数)Jを設定し(ステップ1109)、大当たり開始コマンドをRAM203にセットして(ステップ1106)、大当たりの動作制御を開始する(ステップ1107)。ここで、時短遊技状態とは、確率変動は行わず、時間短縮させた遊技状態である。この確率変動を伴わない大当たりにおける停止中処理では、抽選回数Jが指定されるので(図示の例では100回)、時短遊技状態における抽選が100回行われたならば、時短遊技状態が終了する。
大当たりでなかった場合(ステップ1101でNo)、次に遊技進行制御部236は、抽選回数Jが0か否かを調べる(ステップ1110)。抽選回数Jが0であれば(ステップ1110でYes)、停止中処理を終了する。抽選回数Jが0でなければ(ステップ1110でNo)、次に遊技進行制御部236は、抽選回数Jの値を1減算して(ステップ1111)、再度抽選回数Jが0か否かを調べる(ステップ1112)。抽選回数Jが0でなければ(ステップ1112でNo)、停止中処理を終了する。抽選回数Jが0であれば(ステップ1112でYes)、遊技進行制御部236は、RAM203の遊技状態の設定を通常遊技状態(確率変動も時間短縮もしていない通常の遊技状態)とし(ステップ1113)、停止中処理を終了する。
〔遊技制御部による普通図柄処理〕
図12は、普通図柄処理(図5のステップ505)の内容を示すフローチャートである。
この普通図柄処理において、遊技制御部200の普通図柄制御部237は、まず、パチンコ遊技機100の現在の状態が補助遊技(普通図柄抽選の当選)中か否かを判断する(ステップ1201)。補助遊技中であれば、既に普通図柄が選択されて停止している状態なので、普通図柄変動を開始することなく普通図柄処理を終了する(ステップ1201でYes)。一方、補助遊技中でない場合(ステップ1201でNo)、次に普通図柄制御部237は、パチンコ遊技機100の現在の状態が普通図柄変動中か否かを判断する(ステップ1202)。普通図柄変動中でない場合(ステップ1202でNo)、次に普通図柄制御部237は、普通図柄の未抽選分の保留数G(図7参照)が1以上か判断する(ステップ1203)。保留数G=0である場合は(ステップ1203でNo)、普通図柄の抽選を始動するための入賞が無いことを意味するため、普通図柄変動を開始せずに処理を終了する。
これに対し、保留数Gが1以上である場合(ステップ1203でYes)、普通図柄制御部237は、保留数Gの値を1減算し(ステップ1204)、今回の普通図柄抽選における当たり乱数の判定を行い(ステップ1205)、普通図柄抽選に当選したか否かを判断する(ステップ1206)。当選したか否かは、図7のステップ704で取得した当たり乱数の値が当選値として設定された値と一致したか否かを判断することによって決定される。普通図柄抽選に当選した場合(ステップ1206でYes)、普通図柄制御部237は、当選したことを表す図柄(以下、当たり図柄)を設定情報としてRAM203にセットする(ステップ1207)。一方、普通図柄抽選に当選しなかった場合(ステップ1206でNo)、普通図柄制御部237は、抽選にはずれたことを表す図柄(以下、はずれ図柄)を設定情報としてRAM203にセットする(ステップ1208)。
次に、普通図柄制御部237は、現在のパチンコ遊技機100の動作状態が確変遊技状態または時短遊技状態のいずれかに該当するか否かを判断する(ステップ1209)。いずれかの遊技状態に該当する場合(ステップ1209でYes)、普通図柄制御部237は、普通図柄変動の変動時間を短時間に設定する(ステップ1210)。図12に示す例では、3秒に設定される。これに対し、パチンコ遊技機100の現在の動作状態が確変遊技状態または時短遊技状態のいずれにも該当しない場合(ステップ1209でNo)、普通図柄制御部237は、普通図柄変動の変動時間を長時間に設定する(ステップ1211)。図12に示す例では、29秒に設定される。
この後、普通図柄制御部237は、ステップ1207またはステップ1208の設定内容に基づき、図3に示す普通図柄表示器223における普通図柄の変動を開始する(ステップ1212)。また、ステップ1210またはステップ1211で設定された時間だけ普通図柄変動を行うために、変動時間の計測を開始する(ステップ1213)。
次に、ステップ1202で普通図柄変動中と判断された場合(ステップ1202でYes)、普通図柄制御部237は、変動時間が終了したか否かを判断する(ステップ1214)。すなわち、ステップ1213で計測開始された変動時間がステップ1210またはステップ1211で設定された変動時間に達したか否かが判断される。変動時間が終了していなければ(ステップ1214でNo)、普通図柄変動が継続されるので、そのまま普通図柄処理が終了する。
一方、変動時間が終了した場合(ステップ1214でYes)、普通図柄制御部237は、まず、普通図柄表示器223における普通図柄の変動を終了して(ステップ1215)、計測された変動時間をリセットする(ステップ1216)。次に、普通図柄制御部237は、変動を終了して停止した普通図柄に基づき当選したか否かを判断する(ステップ1217)。当選したならば(ステップ1217でYes)、補助遊技の動作制御を開始する(ステップ1218)。一方、抽選にはずれたならば(ステップ1217でNo)、パチンコ遊技機100の現在の状態を保持したまま普通図柄処理を終了する。
〔遊技制御部による大入賞口処理〕
図13は、大入賞口処理(図5のステップ506)の内容を示すフローチャートである。
この大入賞口処理において、遊技制御部200の大入賞口動作制御部238は、まず、パチンコ遊技機100の現在の状態が大当たり中か否かを判断する(ステップ1301)。大当たり中でない場合、大入賞口125への入賞はないので、大入賞口処理を終了する(ステップ1301でNo)。一方、大当たり中である場合(ステップ1301でYes)、次に大入賞口動作制御部238は、パチンコ遊技機100が停止中処理(図11)で開始された大当たり時の動作制御におけるオープニング動作の最中か否かを判断する(ステップ1302)。
パチンコ遊技機100がオープニング中である場合(ステップ1302でYes)、次に大入賞口動作制御部238は、予め設定されたオープニング動作が行われるべき時間(オープニング時間)を経過したか否かを判断する(ステップ1303)。オープニング時間を経過していないならば、大入賞口125でのオープニング動作が継続されるので、大入賞口処理を終了する(ステップ1303でNo)。一方、オープニング時間を経過したならば(ステップ1303でYes)、次に大入賞口動作制御部238は、大入賞口125の開放ラウンド数Rの値を現在の値から1加算し(ステップ1304)、大入賞口125を開放する(ステップ1305)。
次に、大入賞口動作制御部238は、大入賞口125での開放状態が予め設定された時間(開放時間)を経過したか否かを判断する(ステップ1306)。大入賞口125での開放状態が開放時間を経過していない場合(ステップ1306でNo)、次に大入賞口動作制御部238は、大入賞口125への入賞個数Cが9個以上か否かを判断する(ステップ1307)。大入賞口125での開放状態が開放時間を経過しておらず、かつ入賞個数Cが9個未満である場合は、大入賞口125の開放状態が継続されるので、大入賞口処理を終了する(ステップ1307でNo)。一方、大入賞口125の開放状態が開放時間を経過したか(ステップ1306でYes)、または入賞個数Cが9個に達した場合(ステップ1307でYes)、大入賞口動作制御部238は、大入賞口125を閉口する(ステップ1308)。
次に、大入賞口動作制御部238は、大入賞口125の開放ラウンド数Rが予め設定された最大値に達したか否かを判断する(ステップ1309)。そして、最大値に達していないならば、大当たり時の動作制御が継続するので、大入賞口処理を終了する(ステップ1309でNo)。この最大値は、大当たり判定処理(図9)でセットされた特定図柄により特定される大当たりの種類に応じて設定される。例えば、上記した特定図柄Aおよび通常図柄の大当たりでは最大値は15ラウンド、特定図柄Bの大当たりでは最大値は2ラウンドに設定される。
大入賞口125の開放ラウンド数Rが最大値に達したならば(ステップ1309でYes)、次に大入賞口動作制御部238は、開放ラウンド数Rを0にリセットし(ステップ1310)、大当たり時の動作制御におけるエンディング動作を開始する(ステップ1311)。この後、大入賞口動作制御部238は、エンディング動作の開始からの経過時間が予め設定されたエンディング動作が行われるべき時間(エンディング時間)を経過したか否かを判断する(ステップ1312)。エンディング時間を経過していないならば、エンディング動作が継続されるので、大入賞口処理を終了する(ステップ1312でNo)。一方、エンディング時間を経過したならば(ステップ1312でYes)、次に大入賞口動作制御部238は、大当たりの動作制御を終了して大入賞口処理を終了する(ステップ1313)。
ステップ1302で、パチンコ遊技機100がオープニング中ではないと判断した場合(ステップ1302でNo)、次に大入賞口動作制御部238は、大入賞口125が開放中か否かを判断する(ステップ1314)。そして、開放中であるならば、上記ステップ1306以降の動作を実行する(ステップ1314でYes)。
大入賞口125が開放中でない場合(ステップ1314でNo)、次に大入賞口動作制御部238は、パチンコ遊技機100がエンディング中か否かを判断する(ステップ1315)。そして、エンディング中であるならば、上記ステップ1312以降の動作を実行する(ステップ1315でYes)。
パチンコ遊技機100がエンディング中でない場合(ステップ1315でNo)、次に大入賞口動作制御部238は、大入賞口125を閉口した後の経過時間が予め設定された開放ラウンドの実施間隔(インターバル時間)を経過したか否かを判断する(ステップ1316)。そして、インターバル時間を経過していない場合は、まだ次の開放ラウンドを実施しないので、大入賞口処理を終了する(ステップ1316でNo)。一方、大入賞口125を閉口した後の経過時間がインターバル時間を経過したならば、次の開放ラウンドを実施するため、上記ステップ1304以降の動作を実行する(ステップ1316でYes)。
〔遊技制御部による電動チューリップ処理〕
図14は、電動チューリップ処理(図5のステップ507)の内容を示すフローチャートである。
電動チューリップ処理において、遊技制御部200の電動チューリップ動作制御部239は、まず、パチンコ遊技機100の現在の状態が補助遊技中か否かを判断する(ステップ1401)。補助遊技中でない場合、電動チューリップ123は開放しないため、電動チューリップ処理を終了する(ステップ1401でNo)。一方、補助遊技中である場合(ステップ1401でYes)、次に電動チューリップ動作制御部239は、パチンコ遊技機100が補助遊技時の動作制御におけるオープニング動作の最中か否かを判断する(ステップ1402)。
パチンコ遊技機100がオープニング中である場合(ステップ1402でYes)、次に電動チューリップ動作制御部239は、予め設定されたオープニング動作が行われるべき時間(オープニング時間)を経過したか否かを判断する(ステップ1403)。オープニング時間を経過していないならば、オープニング動作が継続されるので、電動チューリップ処理を終了する(ステップ1403でNo)。一方、オープニング時間を経過したならば(ステップ1403でYes)、次に電動チューリップ動作制御部239は、現在のパチンコ遊技機100の動作状態が確変遊技状態または時短遊技状態のいずれかに該当するか否かを判断する(ステップ1404)。いずれかの遊技状態に該当する場合(ステップ1404でYes)、電動チューリップ動作制御部239は、電動チューリップ123の開放時間を長時間に設定する(ステップ1405)。図14に示す例では、3.5秒に設定される。これに対し、現在のパチンコ遊技機100の動作状態が確変遊技状態または時短遊技状態のいずれにも該当しない場合(ステップ1404でNo)、電動チューリップ動作制御部239は、電動チューリップ123の開放時間を短時間に設定する(ステップ1406)。図14に示す例では、0.2秒に設定される。
この後、電動チューリップ動作制御部239は、電動チューリップ123を開放し(ステップ1407)、解放後の経過時間を計測して、ステップ1405またはステップ1406で設定された開放時間を経過したか否かを判断する(ステップ1408)。そして、開放時間を経過していないならば、電動チューリップ123の開放が継続されるので、電動チューリップ処理を終了する(ステップ1408でNo)。
一方、電動チューリップ123の解放後の経過時間が開放時間を経過したならば(ステップ1408でYes)、次に電動チューリップ動作制御部239は、電動チューリップ123を閉口し(ステップ1409)、補助遊技時の動作制御を終了して電動チューリップ処理を終了する(ステップ1410)。
〔乱数による判定の手法〕
ここで、大当たり判定処理(図9)、変動パターン選択処理(図10)、普通図柄処理(図12)等で行われる、乱数による判定の手法について詳細に説明する。
図15は、本実施の形態で用いられる乱数の構成例を示す図である。
図15(a)には大当たり乱数の構成例、図15(b)には大当たり図柄乱数の構成例、図15(c)にはリーチ乱数の構成例、図15(d)には当たり乱数の構成例が、それぞれ示されている。
図15(a)を参照すると、大当たり乱数は、パチンコ遊技機100が通常遊技状態であるときの大当たりと確変遊技状態であるときの大当たりの2種類が設定されている。乱数の値の範囲はいずれも0〜299の300個である。通常遊技状態の場合、当選値は1つだけが設定され、当選確率は1/300である。また確変遊技状態の場合、当選値は10個設定され、当選確率は10/300(=1/30)である。すなわち図示の例では、確変遊技状態で始動口121、122に入賞し特別図柄抽選が行われると、通常遊技状態で特別図柄抽選が行われる場合に比べて、当選確率が10倍となる。
図15(b)を参照すると、大当たり図柄には、通常図柄と特定図柄Aと特定図柄Bの3種類が用意されている。ここで、大当たり判定処理(図9)の説明において述べたように、通常図柄は確率変動を伴わない大当たりであることを表す図柄であり、特定図柄Aは確率変動および時間短縮を伴う大当たりであることを表す図柄であり、特定図柄Bは確率変動を伴うが時間短縮を伴わない大当たりであることを表す図柄である。乱数の値の範囲は0〜9の10個である。そして、通常図柄と特定図柄Aに、それぞれ4個ずつの値が割り当てられている。また、特定図柄Bに、2個の値が割り当てられている。すなわち図示の例では、大当たりした場合に、確率変動する確立が6/10(=4/10+2/10=3/5)、確率変動しない確率が4/10(=2/5)となる。なお、図示の例では、大当たり図柄を通常図柄と特定図柄2種類の合計3種類としているが、大当たりの内容を4種類以上に分類して乱数値を割り当てても良い。
図15(c)を参照すると、乱数の値の範囲は0〜249の250個であり、リーチ演出を行う抽選結果(リーチ有)に22個の乱数値が割り当てられ、リーチ演出を行わない抽選結果(リーチ無)に228個の乱数値が割り当てられている。すなわち図示の例では、特別図柄抽選で大当たりしなかった場合に、22/228(=11/114)の確率でリーチ演出が行われる。
図15(d)を参照すると、乱数の値の範囲は0〜9の10個であり、当選値は9個設定されている。すなわち図示の例では、ゲート124を遊技球が通過して普通図柄抽選が行われると、9/10の確率で当選する。
これらの乱数値は、所定の初期値から始まって、図5に示す乱数更新処理(ステップ501)が行われるたびに1ずつ加算される。そして、各抽選が行われた時点の値が始動口スイッチ処理(図6)およびゲートスイッチ処理(図7)で取得され、特別図柄処理(図8)や普通図柄処理(図12)で使用される。なお、このカウンタは無限ループカウンタであり、設定されている乱数の最大値(例えば大当たり乱数では299)に達した後は再び0に戻る。また、乱数更新処理は一定時間ごとに行われるため、各乱数の初期値が特定されてしまうと、これらの情報に基づいて当選値が推定される恐れがある。そこで、一般に、適当なタイミングで各乱数の初期値をランダムに変更する仕組みが導入されている。
次に、演出制御部300の動作を説明する。
図16は、遊技制御部200からコマンドを受信した際の演出制御部300の動作を示すフローチャートである。
演出制御部300は、コマンドを受信すると、まず、何らかの演出を実行中か否かを判断する(ステップ1601)。演出実行中でないならば(ステップ1601でNo)、次に、受信したコマンドが変動開始コマンドか否かを判断する(ステップ1602)。変動開始コマンドでない場合は(ステップ1602でNo)、そのまま演出表示処理を終了する。
一方、受信したコマンドが変動開始コマンドならば(ステップ1602でYes)、次に演出制御部300は、取得した変動開始コマンドを解析し(ステップ1603)、この変動開始コマンドに含まれている演出パターン乱数の値に基づいて演出パターンを判定する(ステップ1604)。そして、判定された演出パターンにしたがって、画像表示や音声出力、ランプの点灯などによる演出を実行する(ステップ1605)。
コマンド受信時に、何らかの演出が実行されていたならば(ステップ1601でYes)、次に演出制御部300は、受信したコマンドが変動終了コマンドか否かを判断する(ステップ1606)。変動終了コマンドでない場合は(ステップ1606でNo)、そのまま演出表示処理を終了する。一方、受信したコマンドが変動終了コマンドならば(ステップ1606でYes)、演出制御部300は、実行中の演出を終了する(ステップ1607)。
〔潜伏モード〕
以上の説明を踏まえ、本実施の形態に係るパチンコ遊技機100での潜伏モードについて説明する。
第1始動口121又は第2始動口122への遊技球の入賞を契機に特別図柄抽選が行われ、その抽選結果を例えば画像表示部114を通じて報知しない場合には、パチンコ遊技機100の内部状態が確変であるか否かが遊技者は区別できないことがある。このような遊技状態を「潜伏モード」と呼ぶ。
このような潜伏モードとなる場合について、上述した本実施の形態の構成にて具体例を説明する。その一つの具体例としては、抽選された特別図柄が特定図柄Aの場合と通常図柄の場合である。特定図柄Aの場合および通常図柄の場合はいずれも、大入賞口125の開放ラウンド数が15ラウンドである点で同じである。しかしながら、特定図柄Aの場合には内部状態が高確率である一方で、通常図柄の場合には低確率のままである点で異なる。
また、他の具体例としては、抽選された特別図柄が特定図柄Bの場合と小当たり図柄の場合である。特定図柄Bの場合および小当たり図柄の場合はいずれも、大入賞口125の開放ラウンド数が2ラウンドであり、また、電チューサポートがない点で同じである。しかしながら、大当たりになったときに低確率のときには、特定図柄Bの場合には内部状態が高確率である一方で、小当たり図柄の場合には低確率のままである点で異なる。
本実施の形態に係るパチンコ遊技機100の遊技制御部200は、大当たり当選確率が低確率状態となる大当たりの場合と高確率状態となる大当たりの場合とで大入賞口125の開放回数を同一または近似させるように制御している。また、パチンコ遊技機100の演出制御部300は、通常演出手段として機能することにより低確率状態にて低確率演出を行い、また、高確率演出手段として機能することによって、高確率状態にて高確率状態の演出を行う。また、演出制御部300は、潜伏状態制御手段として機能することで、所定条件下で高確率状態にて高確率の演出が省略された潜伏状態を制御している。このように、パチンコ遊技機100の何らかの演出がないと高確率になっているのか否かが遊技者にはわからない場面である潜伏モードの場合に、「潜伏報知モード」が実行される。この潜伏報知モードでは、後述する潜伏報知モード処理が行われる。そして、予め定められた条件が成立すると、その遊技状態を遊技者に報知する。
潜伏モードと潜伏報知モードとの関係について付言する。潜伏モードの場合には常に潜伏報知モードを実行する場合のほか、潜伏モードの場合に潜伏報知モードを開始する開始条件を予め設定し、その開始条件を満たすときに、潜伏報知モードを実行する場合も考えられる。そのような潜伏報知モードの開始条件としては、例えば潜伏報知モード開始用の乱数を取得することで潜伏報知モードを実行するか否かを判断する制御例が考えられる。この場合には、演出制御部300が潜伏報知モードの開始条件を満たすか否かを判断する。
なお、第1始動口検出部211および第2始動口検出部212は、第1始動口121および第2始動口122への遊技球の入球により入賞したことを検出する検出手段として機能する。また、ゲート検出部214は、ゲート124の遊技球の通過を検出する検出手段として機能する。
また、演出制御部300は、保留数に対応してなされる保留表示の表示態様で通常演出および高確率状態の演出とは異なる演出である潜伏報知演出を行う潜伏報知演出手段として機能する。
〔第1の実施の形態〕
図17は、第1の実施の形態に係る潜伏報知モード処理の内容を示すフローチャートである。なお、この潜伏報知モード処理において、演出制御部300のCPU301は、遊技制御部200から取得した制御用コマンドにより処理開始条件の発生を検出する。これにより、潜伏報知モード処理が開始される。
演出制御部300は、受信したコマンドが遊技制御部200から第1特別図柄保留数コマンドであるか否かを判断する(ステップ1701)。この第1特別図柄保留数コマンドは、第1特別図柄の保留数U1の増減があったときに遊技制御部200が演出制御部300に送信するものである。
さらに説明すると、遊技制御部200の特別図柄抽選部231は、始動口スイッチ処理(図6参照)において、特別図柄抽選の未抽選分である保留数Uの管理を行う。この保留数Uとしては、第1特別図柄保留数としての保留数U1と、第2特別図柄保留数としての保留数U2と、がある。
保留数U1は、第1始動口SW211がONとなったときに未抽選分として1が加算され、保留されていた第1始動口121の入賞に対応する回転変動が開始されると1が減算される。また、保留数U2は、第2始動口SW212がONとなったときに未抽選分として1が加算され、保留されていた第2始動口122の入賞に対応する回転変動が開始されると1が減算される。
そして、特別図柄抽選部231は、保留数U1に変動があったときには、第1特別図柄保留数コマンドを演出制御部300に送信し、また、保留数U2に変動があったときには、第2特別図柄保留数コマンドを演出制御部300に送信する。
演出制御部300は、第1特別図柄保留数コマンドに含まれる保留数U1を取得すると(ステップ1701でYes)、潜伏報知の演出をするか否かを判断するために、保留数U1が閾値K1よりも大きいか否かを判断する(ステップ1702)。この閾値K1は、演出制御部300のROM302に予め格納されている。この閾値K1の一例としては、保留数U1が上限値に達している否かを判断できる「3」である。
そして、保留数U1が閾値K1よりも大きいときには(ステップ1702でYes)、保留数U1は4であり、演出制御部300は、後述する潜伏報知の演出を行う(ステップ1703)。また、保留数U1が閾値K1以下であれば(ステップ1702でNo)、第1特別図柄保留数コマンドに関する処理から、後述の第2特別図柄保留数コマンドに関する処理に移行する。
なお、変形例として、保留数U1が4の場合(ステップ1702でYes)に第1始動口入賞コマンドを受信すると潜伏報知の演出を行うようにする制御例も考えられる。この制御例は、後述するオーバーフローの場合に潜伏報知の演出を行うことになる。
すなわち、演出制御部300は、受信したコマンドが遊技制御部200から第2特別図柄保留数コマンドであるか否かを判断する(ステップ1704)。この第2特別図柄保留数コマンドは、第2特別図柄の保留数U2の増減があったときに遊技制御部200が演出制御部300に送信するものである。
演出制御部300は、第2特別図柄保留数コマンドに含まれる保留数U2を取得すると(ステップ1704でYes)、保留数U2が閾値K2よりも大きいか否かを判断する(ステップ1705)。保留数U2が閾値K2よりも大きいときには(ステップ1705でYes)、演出制御部300は、後述する潜伏報知の演出を行う(ステップ1703)。潜伏報知の演出は、入賞のタイミングで行われる。
また、保留数U2が閾値K2以下であれば(ステップ1705でNo)、潜伏報知モード処理を終了する。
ここで、閾値K2は、演出制御部300のROM302に予め格納されているものであり、その一例としては「0」である。すなわち、第2始動口SW212がONとなったときに第2特別図柄抽選の未抽選分の保留が発生した場合に、潜伏報知の演出を行うように閾値K2を設定することが考えられる。第2始動口122は電動チューリップ123を備えているため、普通図柄抽選に当選して電動チューリップ123の羽根が開かないと、第2始動口122に入球して第2始動口SW212がONになって入賞することは一般的には困難である。したがって、閾値K2を「0」にすることで、潜伏報知の演出に移行し易くしている。
さらに説明すると、保留数U1が1以上であり、かつ、保留数U2が1以上であるときの特別図柄抽選は、保留数U2の未抽選分を優先して消化していく。このような優先消化という事情および第2始動口122に入賞し難いという事情を考慮すれば、保留数U2が1以上になるという事態はあまり発生しないとも考えられる。しかしながら、例えば、第1特別図柄抽選に伴う回転変動中に第2始動口122に入賞したときには、保留数U2が1以上になる場合があり得る。
なお、保留数U1,U2は、他の各種の制御に用いられる。例えば、画像表示部114での基本となる図柄変動時間は、保留数U1,U2に応じて設定される。より具体的にその一例を説明すると、保留数U1,U2が4であれば4秒が図柄変動時間として最低保証され、保留数U1,U2が3であれば8秒となり、それ未満であれば12秒となる。
また、リーチ確率も保留数U1,U2に応じて選択される。
図18は、第1の実施の形態での潜伏報知の演出例の内容を説明する図である。同図の(a)は盤ランプ116の構成例を示す図であり、(b)は潜伏の場合および非潜伏の場合の報知の演出の一例を説明する表である。
同図の(a)に示すように、盤ランプ116は、一列に整列された4つのランプ171,172,173,174を備えている。ランプ171は保留数が1のときに発光し、ランプ172は保留数が2のときに発光し、ランプ173は保留数が3のときに発光し、ランプ174は保留数が4のときに発光するものである。したがって、保留数が増えるにしたがって、ランプ171〜174の順で発光し、発光数が増えていく。ランプ171〜174は、保留表示がなされる表示領域の一例である。
これらのランプ171〜174の各々は、少なくとも、第1の表示態様の一例としての赤色および第2の表示態様の一例としての青色を発光する発光源を有する構成である。このため、ランプ制御部320は、ランプ171〜174の各々が赤色と青色のいずれかを発光させることが可能である。すなわち、ランプ制御部320は、ランプ171〜174の各々の発光色を制御する。なお、ランプ制御部320は、演出制御部300からの指示に従って、所定の発光パターンでランプ171〜174を発光させる。具体的な発光パターンについては、後述する。
ここで、一般的に、ランプ171〜174の発光が赤色であれば、潜伏状態である可能性が高く、また、青色であれば、非潜伏状態である可能性が高いという示唆がなされる。したがって、保留数が増えることで発光するランプ171〜174の数が多くなった場合に、赤色が多いと、遊技者は潜伏状態である可能性が高いと感じる。その逆に、青色が多いと、遊技者は非潜伏状態である可能性が高いと感じる。
また、これらのランプ171〜174は、赤色と青色以外の第3の色を発光する発光源を有する構成例も考えられる。すなわち、ランプ制御部320は、潜伏報知の演出の際にはランプ171〜174が赤色と青色のいずれか一方を発光するように制御し、また、潜伏報知の演出以外の通常の演出の場合には、第3の色で発光するように制御する。これにより、遊技者に潜伏報知の演出がなされていることを示唆することができ、遊技者の集中力を維持することが可能になり、また、遊技者の期待感を高めることが可能になる。
演出制御部300は、例えば、内部状態が確変であること(潜伏状態)または内部状態が確変でないこと(非潜伏状態)という情報と保留数U1,U2の情報とを用いて、ランプ171〜174の発光を制御する。そして、演出制御部300は、その制御信号をランプ制御部320に出力すると、ランプ制御部320は、その制御信号に基づいてランプ171〜174の一部または全部を発光させる。
同図の(b)に示す演出例は、閾値K1,K2が「3」の場合に行われるものである。すなわち、第1特別図柄保留数コマンドに含まれる保留数U1が4の場合または第2特別図柄保留数コマンドに含まれる保留数U2が4の場合に行われる演出例である。以下、保留数U1,U2を保留数Uということがある。
保留数Uが3の場合には、ランプ171〜173の発光色はいずれも赤色である。そして、保留数Uが増えて4になると、ランプ174を用いて潜伏報知の演出が行われる。
具体的に説明する。潜伏の場合には、ランプ174の発光色としてランプ171〜173と同じ赤色が出現する確率である同色出現率は100%である。また、ランプ174の発光色としてランプ171〜173とは異なる青色が出現する確率である異色出現率は0%である。すなわち、潜伏の場合には、ランプ174の発光色は常に赤色である。
そして、非潜伏の場合には、ランプ174の同色出現率は0%であり、異色出現率は100%である。すなわち、非潜伏の場合には、ランプ174の発光色は常に青色である。
このように、保留数Uが4の場合に潜伏報知演出(潜伏状態の演出を含む演出)が行われるので、ランプ171〜173が発光することを契機に遊技球の発射を中止する所謂止め打ちを遊技者が行うことを防止することが期待できる。
図19は、第1の実施の形態での潜伏報知の他の演出例の内容を説明する図である。(a)は潜伏の場合の報知の演出の一例を説明する表であり、(b)は非潜伏の場合の報知の演出の一例を説明する表である。なお、この演出例は、閾値K1,K2が「0」の場合に行われるものである。すなわち、保留数Uが1以上の場合に行われる演出例である。
同図の(a)に示すように、潜伏の場合において、潜伏報知の演出の際には、ランプ171の発光色は、赤色が出現する赤色出現率が50%で、青色が出現する青色出現率が50%である。また、ランプ172の発光色は、赤色出現率が70%で、青色出現率が30%である。
そして、ランプ173の発光色については、ランプ172の発光色と同じ色が出現する確率である同色出現率が70%で、ランプ172の発光色と異なる色が出現する確率である異色出現率が30%である。すなわち、ランプ172が赤色の場合にランプ173に同じ赤色が出現する確率が70%であり、ランプ172が青色の場合にランプ173に同じ青色が出現する確率が70%である。また、ランプ172が赤色の場合にランプ173に異なる青色が出現する確率が30%であり、ランプ172が青色の場合にランプ173に異なる赤色が出現する確率が30%である。
同様に、ランプ174の発光色については、ランプ173の発光色と同じ色が出現する確率である同色出現率(同色比率)が70%で、ランプ173の発光色と異なる色が出現する確率である異色出現率(異色比率)が30%である。
したがって、同図の(a)に示す発光パターンは、ランプ172の発光色が赤色であれば、ランプ173,174が赤色である確率が高く、また、ランプ172の発光色が青色であれば、ランプ173,174が青色である確率が高くなる制御例と言える。付言すると、潜伏の場合に発光する赤色の数が必ず多くなるというわけではない。
なお、ランプ171〜174の発光色の決定は、赤色出現率、青色出現率、同色出現率および異色出現率を反映させた乱数により行われる。この乱数は、演出制御部300で設定更新されるものである。また、赤色出現率、同色出現率および異色出現率は、第1の表示態様としての赤色が出現する確率である第1の確率の一例である。また、青色出現率、同色出現率および異色出現率は、第2の表示態様としての青色が出現する確率である第2の確率の一例である。
同図の(b)に示すように、非潜伏の場合において、潜伏報知の演出の際には、ランプ171の発光色は、潜伏の場合と同様、赤色出現率が50%で、青色出現率が50%である。また、ランプ172の発光色は、赤色出現率が70%、青色出現率が30%であり、潜伏の場合とは赤色と青色とで確率が逆転している。そして、ランプ173の発光色は、赤色出現率が10%で、青色出現率が90%であり、また、ランプ174の発光色は、赤色出現率が0%、青色出現率が100%である。
したがって、非潜伏の場合には、保留数が増えれば増えるほど非潜伏状態であることの示唆が行われることになる。非潜伏の場合には、ランプ174の発光色により遊技者は潜伏状態でないことを把握可能である。
なお、本実施の形態では、盤ランプ116のランプ171〜174を用いて潜伏報知演出を行う場合の構成を採用しているが、ランプ171〜174に相当する画像を、表示領域の一例としての画像表示部114に表示させる構成例も考えられる。この場合には、ランプ171〜174に相当する画像を画像表示部114に表示させて表示色を制御する制御例のほかに種々の制御例が考えられる。例えば、ランプ171〜174に相当する画像の大きさを変えたり、ランプ171〜174に相当する画像を予め定められたキャラクタの画像に置き変えたりすることで潜伏報知を行う制御例である。このように、画像表示部114を利用することで、表示態様の幅を持たせることが可能になる。
また、本実施の形態では、特別図柄抽選の保留数に応じた制御を行っているが、普通図柄抽選の保留数に応じた制御に適用することも考えられる。
〔第2の実施の形態〕
図20は、第2の実施の形態に係る潜伏報知モード処理の内容を示すフローチャートである。
演出制御部300は、第1始動口121の入賞があるか否かを判断する(ステップ1901)。第1始動口121の入賞があることの判断は、第1始動口SW211がONになると遊技制御部200から出力される第1始動口入賞コマンドを演出制御部300が受信することにより行うことができる。
演出制御部300は、第1始動口121の入賞があると判断すると(ステップ1901でYes)、保留数としてのパラメータiの値を1加算し(ステップ1902)、第1始動口の入賞がないと判断すると(ステップ1901でNo)、ステップ1903に進む。すなわち、演出制御部300は、始動口入賞があったことをカウントしていく。
また、演出制御部300は、第2始動口122の入賞があるか否かを判断する(ステップ1903)。第2始動口122の入賞があることの判断は、第2始動口SW212がONになると遊技制御部200から出力される第2始動口入賞コマンドを演出制御部300が受信することにより行うことができる。
そして、演出制御部300は、第2始動口122の入賞があると判断すると(ステップ1903でYes)、保留数としてのパラメータjの値を1加算し(ステップ1904)、第2始動口122の入賞がないと判断すると(ステップ1903でNo)、ステップ1905に進む。
また、演出制御部300は、第1始動口121の入賞に対応する回転変動が開始したか否かを判断する(ステップ1905)。すなわち、演出制御部300は、受信したコマンドが、遊技制御部200からの第1変動開始コマンドであるか否かを判断する。この第1変動開始コマンドは、第1始動口SW211のONを検出して回転変動が開始されると遊技制御部200が出力するコマンドである。
演出制御部300は、第1変動開始コマンドの受信があると判断すると(ステップ1905でYes)、パラメータiの値を1減算し(ステップ1906)、第1変動開始コマンドの受信がないと判断すると(ステップ1905でNo)、ステップ1907に進む。演出制御部300は、変動回数をカウントしていく。
その後、演出制御部300は、第2始動口122の入賞に対応する回転変動が開始したか否かを判断する(ステップ1907)。すなわち、演出制御部300は、受信したコマンドが、遊技制御部200からの第2変動開始コマンドであるか否かを判断する。この第2変動開始コマンドは、第2始動口SW212のONを検出して回転変動が開始されると遊技制御部200が出力するコマンドである。
そして、演出制御部300は、第2変動開始コマンドの受信があると判断すると(ステップ1907でYes)、パラメータjの値を1減算し(ステップ1908)、第2変動開始コマンドの受信がないと判断すると(ステップ1907でNo)、ステップ1909に進む。
このように、演出制御部300において、パラメータi,jの各々は、始動口入賞により加算され(インクリメント)、回転変動により減算されている(デクリメント)。このため、このパラメータi,jは、特別図柄抽選の未抽選の数である保留数に相当するものである。
さらに説明すると、このパラメータi,jは、遊技制御部200での保留数コマンドに含まれる保留数U1,U2と同じとも言える。しかしながら、パラメータi,jは、上限値の設定がなされていない点で、上限値が設定されている保留数U1,U2とは異なる。このため、本実施の形態のようにパラメータi,jを用いることで、遊技制御部200で処理される保留数U1,U2の上限値よりも大きい数の入賞数をカウントすることが可能である。したがって、本実施の形態では、特別図柄抽選の未抽選分の入賞を保留することができない状態での始動口入賞の数も算出することができる。なお、以下、パラメータi,jを、保留数i,jということがある。
次に、演出制御部300は、潜伏報知の演出をするか否かを判断するために、パラメータi,jの評価を行う。すなわち、まず、パラメータiが閾値K3よりも大きいか否かを判断し(ステップ1909)、その後に、パラメータjが閾値K4よりも大きいか否かを判断する(ステップ1910)。そして、パラメータiが閾値K3よりも大きいとき(ステップ1909でYes)またはパラメータjが閾値K4よりも大きいとき(ステップ1909でNo、かつ、ステップ1910でYes)には、後述する潜伏報知の演出を行う(ステップ1911)。
なお、閾値K3,K4は、演出制御部300のROM302に予め格納されている。この閾値K3の一例としては、オーバーフロー状態での入賞が行われたか否かを判断できる「4」である。また、閾値K3,K4として、第1の実施の形態の場合と同じものを用いることも考えられる。
パラメータiが閾値K3以下の値であり(ステップ1909でNo)、かつパラメータjが閾値K4以下の値であるとき(ステップ1910でNo)には、演出制御部300は、リセット条件が発生しているか否かを判断する(ステップ1912)。演出制御部300は、リセット条件が発生していると判断すると(ステップ1912でYes)、パラメータi,jを0にリセットする(ステップ1913)。演出制御部300は、リセット条件が発生していないと判断すると(ステップ1912でNo)、潜伏報知モード処理を終了する。
ここにいうリセット条件としては、電源オン時や客待ち画面時を挙げることができる。なお、この客待ち画面について付言すると、遊技制御部200での保留数U1,U2がいずれも最小値である0になったときに、客待ちコマンドを演出制御部300に出力する。演出制御部300は、その客待ちコマンドを受信した後に例えば入賞コマンド等を受信することなく所定時間(例えば90秒)が経過すると、画像/音響制御部310に客待ち画面の出力を指示する。これにより、画像表示部114は客待ち画面となる。
また、パラメータi,jの各々についてリセット条件を予め設定することも考えられる。すなわち、パラメータiについてのリセット条件が発生していると判断すると、パラメータiを0にリセットする一方でパラメータjをリセットしない。また、パラメータjについてのリセット条件が発生していると判断すると、パラメータjを0にリセットする一方でパラメータiをリセットしない。パラメータiのリセット条件が発生すると共にパラメータjのリセット条件が発生したときには、パラメータi,jを0にリセットすることになる。
付言すると、遊技制御部200での保留数U1,U2が0〜4のいずれかであるときに、パラメータi,jの値が保留数U1,U2と同一となるか否かを判断することも考えられる。
図21は、第2の実施の形態での潜伏報知の演出に用いる報知率Lを説明する図であり、同図の(a)〜(c)の各々は、報知率Lを説明する表である。なお、本実施の形態での潜伏報知の演出は、基本的には、図18および図19を用いて説明した第1の実施の形態の場合と同じである。本実施の形態では、第1の実施の形態と異なり、パラメータi,jの値やオーバーフロー後のリーチ演出時の入賞等の状況を基に報知率Lが予め設定される。そして、設定された報知率Lを用いて、赤色出現率、青色出現率、同色出現率および異色出現率の調整を行っている。以下、報知率Lと赤色出現率、青色出現率、同色出現率および異色出現率の調整について説明する。なお、設定された報知率L(L1〜L9)は、赤色出現率等を変更する変更値の一例である。また、報知率Lは、格納部の一例としてのROM302に予め格納され、必要に応じて読み出される。
潜伏報知の演出に際し、演出制御部300は、パラメータi,jの値に応じて報知率Lを決定する。すなわち、同図の(a)に示すように、パラメータi,jが1のときには報知率L1であり、パラメータi,jが2のときには報知率L2であり、パラメータi,jが3のときには報知率L3であり、パラメータi,jが4のときには報知率L4である。報知率L1,L2,L3,L4の順でその値が大きくなる。このように、報知率Lを入賞時の保留数(保留球数)に応じて変化させている。
なお、報知率L1〜L4の具体的な値については、任意の数値を採用することができ、例えば、報知率L1として0.5%を採用することが考えられる。また、報知率L1〜L4を互いに異なる値とする場合のほか、例えば報知率L1,L2を互いに同じ値とすることも考えられる。
また、同図の(b)に示すように、所定期間中にパラメータi,jが4を超えて5以上になったとき、すなわちオーバーフローのときには、報知率L1〜L4の値よりも大きい報知率L5である。報知率L5として例えば5%を採用することが考えられる。
そして、オーバーフロー中の入賞によりさらに報知率Lの値を上げていく。オーバーフロー後に始動口入賞があったときには、報知率L5よりも大きい値の報知率L6である。
ここで、上述したように、潜伏の場合と非潜伏の場合の赤色出現率はいずれも50%であり、また、青色出現率も50%である(図19の(a)および(b)参照)。したがって、確率上は、潜伏報知の演出開始後にランプ171が赤色または青色が発光しても、その発光色からは潜伏と非潜伏とを区別することができない。
ところが、本実施の形態のように報知率Lを考慮することで、潜伏の場合と非潜伏の場合とでメリハリをつけることが可能である。具体的に説明すると、例えばパラメータi,jが5以上のときには、図21の(b)を参照すると、報知率L5である。
この報知率L5を赤色出現率および青色出現率に反映させると、潜伏の場合には、ランプ171の赤色出現率が50+L5になり、青色出現率が50−L5になる。また、非潜伏の場合には、ランプ171の赤色出現率が50−L5になり、青色出現率が50+L5になる。
また、同図の(c)に示すように、オーバーフロー後の入賞の形態をさらに細分して報知率Lを設定することも考えられる。すなわち、オーバーフロー発生時の演出状態に応じた報知率Lを設定する。ここにいう演出状態としては、例えば、通常変動中、リーチ中(ノーマルリーチ中)、スーパーリーチ中などを挙げることができる。なお、ここにいうスーパーリーチとは、複数のリーチが存在し、ノーマルリーチよりも大当たり期待度が高いリーチである。
具体的に説明すると、オーバーフロー後の通常変動中の入賞では、報知率L5よりも大きい値の報知率L7を採用する。回転変動中の入賞によって一層高い報知率L7を付与する制御とすることで、回転変動中にも遊技を楽しむことが可能になる。
また、オーバーフロー後のリーチ中の入賞では、報知率L7よりも大きい値の報知率L8を採用する。また、オーバーフロー後のスーパーリーチ中の入賞では、報知率L8よりも大きい値の報知率L9を採用する。リーチ中の入賞によって尚一層高い報知率L8,L9を付与する制御とすることで、リーチ中にも遊技を楽しむことが可能になる。なお、スーパーリーチ中の入賞する場合の報知率L9として、例えば10%を採用することが考えられる。
〔第3の実施の形態〕
図22は、第3の実施の形態に係る潜伏報知モード処理の内容を示すフローチャートである。
演出制御部300は、第1特別図柄保留数が増加したか否かを判断し(ステップ2101)、増加したと判断すると(ステップ2101でYes)、入賞に関する累積値としてのパラメータmの値を1加算し(ステップ2102)、予め定められたキャラクタを画像表示部114に表示するように画像/音響制御部310に指示する。すなわち、演出制御部300は、パラメータmの数と同一の数の画像を表示するように画像/音響制御部310に指示する。指示を受けた画像/音響制御部310は、画像表示部114でのキャラクタの表示数を増やす(ステップ2103)。
その後、演出制御部300は、第2特別図柄保留数が増加したか否かを判断し(ステップ2104)、増加したと判断すると(ステップ2104でYes)、パラメータmの値を1加算し(ステップ2105)、画像表示部114でのキャラクタの表示数を増やす(ステップ2106)。
ここで、第1特別図柄保留数とは、第1始動口SW211のON時の特別図柄抽選の未抽選分を示す保留数をいい、例えば、第1の実施の形態での第1特別図柄保留数コマンドに含まれる保留数U1を用いることが可能である。また、第2の実施の形態でのパラメータiを用いることが可能である。
また、第2特別図柄保留数とは、第2始動口SW212のON時の特別図柄抽選の未抽選分を示す保留数をいう。例えば、第1の実施の形態での第2特別図柄保留数コマンドに含まれる保留数U2を用いることが可能であり、また、第2の実施の形態でのパラメータjを用いることが可能である。
さらに説明すると、パラメータmは、第1特別図柄保留数の増加により加算され、また、第2特別図柄保留数の増加によっても加算される。すなわち、パラメータmは、保留数の増加分を集計して算出された積算値である。そして、このパラメータmは、増えていく一方で減っていかない。この点で、パラメータmは、第2の実施の形態でのパラメータi,jとは異なる。なお、パラメータmについて後述の初期化が行われると、0になる。
したがって、第1特別図柄保留数として、第1特別図柄保留数コマンドに含まれる保留数U1を用い、また、第2特別図柄保留数として、第2特別図柄保留数コマンドに含まれる保留数U2を用いるときには、パラメータmは、所定期間内に発生した未抽選の数の合計になる。なお、この場合のパラメータmには、オーバーフロー中の入賞の数が含まれない。
また、第1特別図柄保留数としてパラメータiを用い、また、第2特別図柄保留数としてパラメータjを用いるときには、パラメータmは、始動口入賞の数の合計になる。この場合のパラメータmは、オーバーフロー中であるか否かを問わず、始動口入賞の数になる。
さらに、第1特別図柄保留数としてパラメータiを用い、また、第2特別図柄保留数としてパラメータjを用いることで、パラメータmがオーバーフロー中の始動口入賞の数の合計となるように制御することも考えられる。
このようにして算出されたパラメータmについて演出制御部300が評価を行う。すなわち、演出制御部300は、報知抽選を行うか否かを判断するために、パラメータmが閾値K5よりも大きいか否かを判断する(ステップ2107)。この閾値K5は、演出制御部300のROM302に予め格納されている。この閾値K5の一例としては、10である。
演出制御部300は、パラメータmが閾値K5よりも大きいときには(ステップ2107でYes)、パラメータnの値を1加算し(ステップ2108)、その後に、パラメータmを0にリセットし(ステップ2109)、報知抽選を行う(ステップ2110)。
パラメータnは、パラメータmが閾値K5よりも大きくなった回数をカウントするためのものである。そして、パラメータnが加算されるごとに報知抽選を行う。言い換えると、閾値K5が10であれば、保留数の合計が10になる毎に、または、始動口入賞の数の合計が10になる毎に、報知抽選が行われる。したがって、パラメータnは、報知抽選が行われた回数ということができる。
ここにいう報知抽選とは、潜伏報知の演出を行うか否かを決定するための抽選であり、例えば、所定の乱数を用いることで行われるものである。付言すると、パラメータnが大きくなるに従って潜伏報知の可能性や信憑性が高まっていくように制御することが考えられる。
演出制御部300は、報知抽選の結果、当選したか否かを判定する(ステップ2111)。当選したときには(ステップ2111でYes)、潜伏報知の演出を行う(ステップ2112)。潜伏報知の演出としては、上述した第1の実施の形態の場合と同様の内容にしてもよく、また、上述した第2の実施の形態の場合と同様の内容にしてもよい。
パラメータmが閾値K5以下であると判断すると(ステップ2107でNo)、演出制御部300は、リセット条件が発生しているか否かを判断する(ステップ2113)。演出制御部300は、リセット条件が発生していると判断すると(ステップ2113でYes)、パラメータm,nを0にリセットする(ステップ2114)。演出制御部300は、リセット条件が発生していないと判断すると(ステップ2113でNo)、画像表示部114の全キャラクタの表示を終了する(ステップ2115)。すなわち、演出制御部300は、画像表示部114に表示されているキャラクタを表示しないように、画像/音響制御部310に指示し、これにより、画像表示部114のキャラクタ表示が終了する。これにより潜伏報知モード処理が終了する。
なお、ここにいうリセット条件としては、第2の実施の形態でのリセット条件と同じものを用いることができる。付言すると、リセット条件が発生するまで、画像表示部114に表示されるキャラクタの数が増えていくことになる。このため、変形例として、パラメータmが0になったら、画像表示部114に表示されているキャラクタを表示しないようにし、その代わりに、今まで表示されていたキャラクタとは異なるプレミアムキャラクタを1つ表示させるようにすることが考えられる。すなわち、表示されるキャラクタの数はパラメータmと同じ値であり、また、表示されるプレミアムキャラクタの数をパラメータnと同じ値とする制御例である。
このように、上述した実施の形態では、潜伏報知の演出の有無を保留数に関連付けている。すなわち、第1の実施の形態および第2の実施の形態では、潜伏報知の演出を行うか否かの判定を保留数U1,U2ないしパラメータi,jを用いて行っている。言い換えると、保留数U1,U2ないしパラメータi,jが所定数以上になったことをトリガーとして潜伏報知の演出を行う。
また、第3の実施の形態では、潜伏報知の演出を行うか否かの報知抽選を、保留数の累積値に応じて行っている。言い換えると、パラメータmが所定数以上になったことをトリガーとして潜伏報知の演出を行うか否かを決める報知抽選を行う。
このため、上述した実施の形態では、特別図柄抽選の未抽選分(保留数)が多くなって例えばオーバーフローになっても遊技を継続することで、内部状態が確変であるか否かの潜伏報知の演出を実行させることができ、これにより、遊技者は内部状態が確変であるか否かの推測が可能になる。このように、上述した実施の形態によれば、潜伏モードの際の興趣性を更に高めることが可能になる。
また、上述した実施の形態では、始動口入賞を契機として保留表示を用いた潜伏報知の演出を実行している。すなわち、盤ランプ116の4つのランプ171〜174の発光色を赤または青にすることで、遊技者に内部状態が確変であるか否かの示唆を行っている。このため、画像表示部114での回転変動中やリーチ演出中であっても、潜伏報知の演出を行うことが可能になる。
また、上述した実施の形態では、内部状態が確変であるか否かによって、ランプ171〜174の保留表示態様を変えている。具体的には、ランプ171〜174の赤色出現率、青色出現率、同色出現率および異色出現率の数値を、内部状態が確変であるか否かで変えている。このため、保留状態でも遊技を継続することで4つのランプ171〜174のすべてを点灯させると、より高い信憑性で内部状態が確変であるか否かの推測を行うことが可能になる。このように、潜伏モードの際の興趣性を更に高めることが可能になる。
また、保留後の入賞ないしオーバーフロー後の入賞によって報知率が決定され、この報知率によって内部状態が確変であるか否かの推測を遊技者が行い易いように、赤色出現率等が変更される。すなわち、保留後やオーバーフロー後でも遊技を中止することなく遊技を継続することで、より信頼性の高い示唆を得ることが可能になる。
本実施の形態に係るパチンコ遊技機の概略正面図である。 本実施の形態に係るパチンコ遊技機を説明する図であり、(a)は、遊技盤の右下に配設された表示器の一例を示す拡大図であり、(b)は、パチンコ遊技機の部分平面図である。 制御ユニットの内部構成を示すブロック図である。 遊技制御部の機能構成を示すブロック図である。 遊技制御部の主要動作を示すフローチャートである。 始動口スイッチ処理の内容を示すフローチャートである。 ゲートスイッチ処理の内容を示すフローチャートである。 特別図柄処理の内容を示すフローチャートである。 大当たり判定処理の内容を示すフローチャートである。 変動パターン選択処理の内容を示すフローチャートである。 停止中処理の内容を示すフローチャートである。 普通図柄処理の内容を示すフローチャートである。 大入賞口処理の内容を示すフローチャートである。 電動チューリップ処理の内容を示すフローチャートである。 本実施の形態で用いられる乱数の構成例を示す図である。 遊技制御部からコマンドを受信した際の演出制御部の動作を示すフローチャートである。 第1の実施の形態に係る潜伏報知モード処理の内容を示すフローチャートである。 第1の実施の形態での潜伏報知の演出の内容を説明する図である。 第1の実施の形態での潜伏報知の他の演出例の内容を説明する図である。 第2の実施の形態に係る潜伏報知モード処理の内容を示すフローチャートである。 第2の実施の形態での潜伏報知の演出に用いる報知率を説明する図である。 第3の実施の形態に係る潜伏報知モード処理の内容を示すフローチャートである。
符号の説明
100…パチンコ遊技機、114…画像表示部、116…盤ランプ、121…第1始動口、122…第2始動口、171,172,173,174…ランプ、200…遊技制御部、211…第1始動口SW、212…第2始動口SW、300…演出制御部、320…ランプ制御部、i,j,m,n…パラメータ、K1,K2,K3,K4,K5…閾値、L…報知率、U,U1,U2…保留数

Claims (5)

  1. 電動役物を作動させるか否かの抽選を行う抽選手段と、当該抽選手段による当該抽選が行われる条件を満たすことを検出する検出手段と、を備え、大当たり当選確率が通常状態の場合に通常演出を行い、大当たり当選確率が通常状態よりも高い高確率状態の場合に高確率状態の演出を行い、当該通常状態または当該高確率状態にあるときに当該高確率状態の演出と当該通常演出とが識別困難な潜伏状態の演出を制御する遊技機であって、
    前記抽選手段による前記抽選が保留されている数に対応してなされる保留表示の表示態様で前記潜伏状態の演出を含む演出を行う潜伏報知演出手段と、
    を備えることを特徴とする遊技機。
  2. 前記潜伏報知演出手段は、前記保留表示がなされる表示領域に第1の表示態様と当該第1の表示態様とは異なる第2の表示態様とを選択的に表示する演出により前記演出を行うことを特徴とする請求項1に記載の遊技機。
  3. 前記第1の表示態様が選択される確率である第1の確率と前記第2の表示態様が選択される確率である第2の確率とを格納する格納部をさらに備え、
    前記格納部は、前記表示領域が複数あるときに当該表示領域の各々の前記第1の確率および前記第2の確率を格納していることを特徴とする請求項2に記載の遊技機。
  4. 前記潜伏報知演出手段は、前記抽選が保留されている状態で前記検出手段による検出がなされる場合に、前記第1の確率および前記第2の確率を変更するための変更値を取得し、取得した当該変更値を用いて前記第1の確率および前記第2の確率を変更することを特徴とする請求項3に記載の遊技機。
  5. 前記潜伏報知演出手段による前記演出が行われていないときの前記保留表示は、前記第1の表示態様および前記第2の表示態様とは異なる第3の表示態様により行われることを特徴とする請求項3または4に記載の遊技機。
JP2008234310A 2008-09-12 2008-09-12 遊技機 Expired - Fee Related JP5154351B2 (ja)

Priority Applications (1)

Application Number Priority Date Filing Date Title
JP2008234310A JP5154351B2 (ja) 2008-09-12 2008-09-12 遊技機

Applications Claiming Priority (1)

Application Number Priority Date Filing Date Title
JP2008234310A JP5154351B2 (ja) 2008-09-12 2008-09-12 遊技機

Related Child Applications (2)

Application Number Title Priority Date Filing Date
JP2012266171A Division JP5470445B2 (ja) 2012-12-05 2012-12-05 遊技機
JP2012266172A Division JP5470446B2 (ja) 2012-12-05 2012-12-05 遊技機

Publications (2)

Publication Number Publication Date
JP2010063734A true JP2010063734A (ja) 2010-03-25
JP5154351B2 JP5154351B2 (ja) 2013-02-27

Family

ID=42189856

Family Applications (1)

Application Number Title Priority Date Filing Date
JP2008234310A Expired - Fee Related JP5154351B2 (ja) 2008-09-12 2008-09-12 遊技機

Country Status (1)

Country Link
JP (1) JP5154351B2 (ja)

Cited By (11)

* Cited by examiner, † Cited by third party
Publication number Priority date Publication date Assignee Title
JP2013248202A (ja) * 2012-05-31 2013-12-12 Newgin Co Ltd 遊技機
JP2013248199A (ja) * 2012-05-31 2013-12-12 Newgin Co Ltd 遊技機
JP2014161348A (ja) * 2013-02-21 2014-09-08 Daikoku Denki Co Ltd パチンコ遊技機
JP2014193202A (ja) * 2013-03-28 2014-10-09 Daiichi Shokai Co Ltd 遊技機
JP2014195482A (ja) * 2013-03-28 2014-10-16 株式会社大一商会 遊技機
JP2015228901A (ja) * 2014-06-03 2015-12-21 株式会社大一商会 遊技機
JP2015228902A (ja) * 2014-06-03 2015-12-21 株式会社大一商会 遊技機
JP2016026767A (ja) * 2015-10-27 2016-02-18 株式会社三共 遊技機
JP2019136596A (ja) * 2018-12-27 2019-08-22 株式会社三洋物産 遊技機
JP2019136595A (ja) * 2018-09-25 2019-08-22 株式会社三洋物産 遊技機
JP2019136597A (ja) * 2019-02-25 2019-08-22 株式会社三洋物産 遊技機

Citations (10)

* Cited by examiner, † Cited by third party
Publication number Priority date Publication date Assignee Title
JP2003230680A (ja) * 2002-02-12 2003-08-19 Aruze Corp パチンコ遊技機、パチンコ遊技機の制御方法、サーバ及び記憶媒体
JP2004065388A (ja) * 2002-08-02 2004-03-04 Abilit Corp 遊技機
JP2004248975A (ja) * 2003-02-21 2004-09-09 Aruze Corp 遊技機およびシミュレーションゲームプログラム
JP2007289422A (ja) * 2006-04-25 2007-11-08 Aruze Corp 遊技機
JP2008113885A (ja) * 2006-11-06 2008-05-22 Aruze Corp 遊技機
JP2008119037A (ja) * 2006-11-08 2008-05-29 Toyomaru Industry Co Ltd 遊技機
JP2008155056A (ja) * 2008-03-24 2008-07-10 Sankyo Kk 遊技機
JP2008154686A (ja) * 2006-12-21 2008-07-10 Okumura Yu-Ki Co Ltd 遊技機
JP2009011409A (ja) * 2007-07-02 2009-01-22 Takao:Kk 遊技機
JP2010017425A (ja) * 2008-07-11 2010-01-28 Sankyo Co Ltd 遊技機

Patent Citations (10)

* Cited by examiner, † Cited by third party
Publication number Priority date Publication date Assignee Title
JP2003230680A (ja) * 2002-02-12 2003-08-19 Aruze Corp パチンコ遊技機、パチンコ遊技機の制御方法、サーバ及び記憶媒体
JP2004065388A (ja) * 2002-08-02 2004-03-04 Abilit Corp 遊技機
JP2004248975A (ja) * 2003-02-21 2004-09-09 Aruze Corp 遊技機およびシミュレーションゲームプログラム
JP2007289422A (ja) * 2006-04-25 2007-11-08 Aruze Corp 遊技機
JP2008113885A (ja) * 2006-11-06 2008-05-22 Aruze Corp 遊技機
JP2008119037A (ja) * 2006-11-08 2008-05-29 Toyomaru Industry Co Ltd 遊技機
JP2008154686A (ja) * 2006-12-21 2008-07-10 Okumura Yu-Ki Co Ltd 遊技機
JP2009011409A (ja) * 2007-07-02 2009-01-22 Takao:Kk 遊技機
JP2008155056A (ja) * 2008-03-24 2008-07-10 Sankyo Kk 遊技機
JP2010017425A (ja) * 2008-07-11 2010-01-28 Sankyo Co Ltd 遊技機

Cited By (11)

* Cited by examiner, † Cited by third party
Publication number Priority date Publication date Assignee Title
JP2013248202A (ja) * 2012-05-31 2013-12-12 Newgin Co Ltd 遊技機
JP2013248199A (ja) * 2012-05-31 2013-12-12 Newgin Co Ltd 遊技機
JP2014161348A (ja) * 2013-02-21 2014-09-08 Daikoku Denki Co Ltd パチンコ遊技機
JP2014193202A (ja) * 2013-03-28 2014-10-09 Daiichi Shokai Co Ltd 遊技機
JP2014195482A (ja) * 2013-03-28 2014-10-16 株式会社大一商会 遊技機
JP2015228901A (ja) * 2014-06-03 2015-12-21 株式会社大一商会 遊技機
JP2015228902A (ja) * 2014-06-03 2015-12-21 株式会社大一商会 遊技機
JP2016026767A (ja) * 2015-10-27 2016-02-18 株式会社三共 遊技機
JP2019136595A (ja) * 2018-09-25 2019-08-22 株式会社三洋物産 遊技機
JP2019136596A (ja) * 2018-12-27 2019-08-22 株式会社三洋物産 遊技機
JP2019136597A (ja) * 2019-02-25 2019-08-22 株式会社三洋物産 遊技機

Also Published As

Publication number Publication date
JP5154351B2 (ja) 2013-02-27

Similar Documents

Publication Publication Date Title
JP5154351B2 (ja) 遊技機
JP5548397B2 (ja) 遊技機
JP5323454B2 (ja) 遊技機
JP5590787B2 (ja) 遊技機
JP2011239916A (ja) 遊技機
JP4977662B2 (ja) 遊技機
JP5435451B2 (ja) 遊技機
JP2010125099A (ja) 遊技機
JP5248293B2 (ja) 遊技機
JP5507087B2 (ja) 遊技機
JP4792493B2 (ja) 遊技機
JP5470446B2 (ja) 遊技機
JP4913792B2 (ja) 遊技機
JP5153533B2 (ja) 遊技機
JP5683090B2 (ja) 遊技機
JP5470445B2 (ja) 遊技機
JP4966289B2 (ja) 遊技機
JP5596212B2 (ja) 遊技機
JP5577438B2 (ja) 遊技機
JP2011015781A (ja) 遊技機
JP2010233842A (ja) 遊技機
JP5121641B2 (ja) 遊技機
JP5755629B2 (ja) 遊技機
JP5584334B2 (ja) 遊技機
JP5452522B2 (ja) 遊技機

Legal Events

Date Code Title Description
A621 Written request for application examination

Free format text: JAPANESE INTERMEDIATE CODE: A621

Effective date: 20110629

A131 Notification of reasons for refusal

Free format text: JAPANESE INTERMEDIATE CODE: A131

Effective date: 20120717

A521 Written amendment

Free format text: JAPANESE INTERMEDIATE CODE: A523

Effective date: 20120820

TRDD Decision of grant or rejection written
A01 Written decision to grant a patent or to grant a registration (utility model)

Free format text: JAPANESE INTERMEDIATE CODE: A01

Effective date: 20121106

A61 First payment of annual fees (during grant procedure)

Free format text: JAPANESE INTERMEDIATE CODE: A61

Effective date: 20121205

FPAY Renewal fee payment (event date is renewal date of database)

Free format text: PAYMENT UNTIL: 20151214

Year of fee payment: 3

R150 Certificate of patent or registration of utility model

Ref document number: 5154351

Country of ref document: JP

Free format text: JAPANESE INTERMEDIATE CODE: R150

Free format text: JAPANESE INTERMEDIATE CODE: R150

R250 Receipt of annual fees

Free format text: JAPANESE INTERMEDIATE CODE: R250

LAPS Cancellation because of no payment of annual fees