JP2010063416A - 包被切断装置及びシャッタ片の寸法確認装置 - Google Patents

包被切断装置及びシャッタ片の寸法確認装置 Download PDF

Info

Publication number
JP2010063416A
JP2010063416A JP2008233980A JP2008233980A JP2010063416A JP 2010063416 A JP2010063416 A JP 2010063416A JP 2008233980 A JP2008233980 A JP 2008233980A JP 2008233980 A JP2008233980 A JP 2008233980A JP 2010063416 A JP2010063416 A JP 2010063416A
Authority
JP
Japan
Prior art keywords
shutter
shutter member
shutter piece
piece
cutting
Prior art date
Legal status (The legal status is an assumption and is not a legal conclusion. Google has not performed a legal analysis and makes no representation as to the accuracy of the status listed.)
Granted
Application number
JP2008233980A
Other languages
English (en)
Other versions
JP4246789B1 (ja
Inventor
Masao Kobayashi
将男 小林
Hironori Kobayashi
博紀 小林
Toru Fukiage
透 吹上
Current Assignee (The listed assignees may be inaccurate. Google has not performed a legal analysis and makes no representation or warranty as to the accuracy of the list.)
Kobird Co Ltd
Original Assignee
Kobird Co Ltd
Priority date (The priority date is an assumption and is not a legal conclusion. Google has not performed a legal analysis and makes no representation as to the accuracy of the date listed.)
Filing date
Publication date
Application filed by Kobird Co Ltd filed Critical Kobird Co Ltd
Priority to JP2008233980A priority Critical patent/JP4246789B1/ja
Application granted granted Critical
Publication of JP4246789B1 publication Critical patent/JP4246789B1/ja
Publication of JP2010063416A publication Critical patent/JP2010063416A/ja
Active legal-status Critical Current
Anticipated expiration legal-status Critical

Links

Images

Landscapes

  • Formation And Processing Of Food Products (AREA)
  • Manufacturing And Processing Devices For Dough (AREA)

Abstract

【課題】本発明は、シャッタ片の摩耗に対して正確に新品のときと同じ程度の状態に再設定するようにシャッタ片の位置調整を行うことができる包被切断装置を提供することを目的とする。
【解決手段】複数のシャッタ片30を互いに摺接面で当接させて囲まれた切断領域を形成するとともにシャッタ片をそれぞれ回転軸を中心に回動させて切断領域を開閉することで切断領域を通過する食材を包被切断する包被切断装置において、シャッタ片30は、回転軸に着脱可能に装着される台座部33と、シャッタ片30の先端方向に移動可能に台座部33に装着されるとともに台座部33に位置決め固定されるガイド部32と、ガイド部32に固定されたシャッタ部材31と、シャッタ部材31の先端部31bの位置調整を行う調整用ネジ34とを備えている。
【選択図】図3

Description

本発明は、複数のシャッタ片を用いて食材を包被切断する包被切断装置及びそのシャッタ片の寸法確認装置に関する。
従来より餡等の内材を外皮材で包み込んで成形された包被食品が製造されている。包被食品を成形する装置としては、棒状に連続吐出される内材の周囲に密着させて外皮材を筒状に連続吐出して棒状に連続成形された成形体を複数のシャッタ片の開閉動作により分割成形することで包被食品を成形する包被切断装置が開発されている。
こうした包被切断装置では、複数のシャッタ片により囲まれた切断領域を開閉する場合シャッタ片を互いに摺接させながら開閉動作するので、シャッタ片の摺接部分が摩耗しやすくなる。特に、切断する食材に、砂糖又はナッツ等の粒状物や牛肉の筋等の固形物が含まれている場合、シャッタ片のシャッタ部材が樹脂材料から構成されているから、開閉動作を繰り返す間にシャッタ部材が摩耗してシャッタ片の間に隙間が形成されるようになる。シャッタ片の間に隙間が形成されると、食材を切断する際に隙間に食材が残留するようになって分割成形される成形品に残留物が付着して仕上がりが悪くなるといった問題が生じる。
こうした問題点に対処するために、例えば、特許文献1では、回転軸に対して偏心した外周面を有するホルダにシャッタ体を取り付け、シャッタ体を適宜所定角度回転させてホルダに取り付けることで回転軸に対するシャッタ体の位置調整を行うシャッタ位置補正機構が記載されている。また、特許文献2では、シャッタ部とホルダ部とを少なくとも2つの偏心軸によって軸着し、偏心軸をシャッタ体の回動軸に対して直角方向に設けるようにしたシャッタ位置決め装置が記載されている。また、特許文献3では、互いに隣接するシャッタ片がシャッタ片に設けた溝に嵌合する結合部材によって摺接した状態を保持して摺動するように組み合わせ、結合部材を隣接するシャッタの摺動面の隙間を調整できるように設けた包被切断装置が記載されている。
特許第2540446号公報 特許第2887780号公報 特許第3377964号公報
上述した特許文献1及び2に記載の装置では、シャッタ片の位置調整が可能であるものの微小な補正しかできず、長期間使用することによる大きな摩耗には十分対応することができない。また、特許文献3では、シャッタ片に形成した溝内に結合部材及び調整部材を挿入して取り付けているので、これらの部材ががたつくことがないように取り付ける必要があるが、これらの部材を取り出して調整作業を繰り返して行う間にがたつくようになり、調整精度が悪化することは避けられない。
そこで、本発明は、シャッタ片の摩耗に対して正確に新品のときと同じ程度の状態に再設定するようにシャッタ片の位置調整を行うことができる包被切断装置を提供することを目的とする。また、シャッタ片の摩耗状態について寸法確認して簡単かつ正確に位置調整を行うことができる寸法確認装置を提供することを目的とする。
本発明に係る包被切断装置は、複数のシャッタ片を互いに摺接面で当接させて囲まれた切断領域を形成するとともにシャッタ片をそれぞれ回転軸を中心に回動させて切断領域を開閉することで切断領域を通過する食材を包被切断する包被切断装置において、前記シャッタ片は、前記回転軸に着脱可能に装着される台座部と、シャッタ部材を支持固定するとともに前記台座部に移動可能に装着されて当該シャッタ部材の先端部の位置調整を行う位置調整部とを備えていることを特徴とする。さらに、前記位置調整部は、前記シャッタ部材の先端部の位置調整を行う調整用ネジを備えていることを特徴とする。さらに、前記位置調整部は、前記シャッタ部材を固定するとともに前記台座部に移動可能に装着されたガイド部を備えていることを特徴とする。
本発明に係るシャッタ片の寸法確認装置は、上記のシャッタ片の寸法確認装置であって、前記台座部を装着して固定する基台と、前記基台に固定されるとともに前記シャッタ部材の先端部の基準位置を設定する基準面が形成された当接部とを備えていることを特徴とする。
上記のような構成を有することで、シャッタ部材を固定した位置調整部によりシャッタ部材の先端部を位置調整することができるので、シャッタ片が摩耗した場合でも簡単に位置調整して正確に新品のときと同じ程度の状態に再設定することが可能となる。
また、シャッタ片を寸法確認装置の基台に装着してシャッタ片の先端が当接部に接触するか否かで摩耗状態について簡単に寸法確認できる。そして、寸法確認装置に装着した状態でシャッタ片の位置調整を行った後包被切断装置にシャッタ片を装着すれば、シャッタ片を包被切断装置に装着した状態で位置調整作業を行う必要がなくなり、シャッタ片の正確な位置調整作業を簡単かつ迅速に行うことができる。
以下、本発明に係る実施形態について詳しく説明する。なお、以下に説明する実施形態は、本発明を実施するにあたって好ましい具体例であるから、技術的に種々の限定がなされているが、本発明は、以下の説明において特に発明を限定する旨明記されていない限り、これらの形態に限定されるものではない。
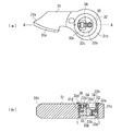
図1は、本発明に係る実施形態に関する正面図である。包被切断装置は、内材及び外皮材となる2種類の食材を供給する供給部1、内材を外皮材で包み込んだ棒状体を連続成形する棒状成形部2、連続成形された棒状体を包被切断して成形するシャッタ部3、及び、成形品を支持する支持部4を備えている。
供給部1は、2種類の食材をそれぞれホッパ10及び12に投入してホッパ内の図示されないスクリューによって送入される。ホッパ10から送入された内材である食材G(例えば、餡、ジャム、挽肉)はベーンポンプ11により棒状成形部2に圧送される。また、ホッパ12から送入された外皮材である食材F(例えば、餅、小麦粉を用いた生地)はベーンポンプ13により棒状成形部2に圧送される。
なお、3種類以上の食材を供給する場合には、ホッパ及びベーンポンプを増設して供給すればよい。その場合には、内材が2種類供給されることになる。
棒状成形部2は、食材F及びGを連続して吐出するノズル20を備えている。ノズル20は二重ノズルに構成されており、内ノズルから食材Gを連続吐出し外ノズルから食材Fを連続吐出して、内材である食材Gの周囲を外皮材である食材Fが被覆するように棒状に連続成形される。内材が2種類以上供給される場合にはノズル20を多重化して内材を多層にして連続吐出するようにしてもよい。
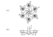
シャッタ部3は、連続成形された棒状成形体を包被切断する複数のシャッタ片30を備えている。図2は、シャッタ部3に関する平面図で、図2(a)はシャッタ片30が開く方向に回動した状態を示しており、図2(b)はシャッタ片30が閉じる方向に回動した状態を示している。この例では、6枚のシャッタ片30が等間隔で配置されており、それぞれ図示せぬ回動軸に着脱可能に取り付けられている。各シャッタ片30のシャッタ部材31は、ガイド部32に固定されており、シャッタ部材31の側部に形成された摺接面31aに隣接するシャッタ部材31の先端部31bが密着して摺動するように設定されている。
そして、各シャッタ片30により囲まれた領域Sが切断領域となっている。連続成形された棒状成形体が上方から垂下して切断領域を通過した後各シャッタ片30を回動させて先端部31bを摺接面31aに摺動させながら切断領域の中心に集まるように閉じ動作を行なうことで棒状成形体が包被切断される。
図3は、シャッタ片30に関する平面図(図3(a))及びA−A断面図(図3(b))である。シャッタ部材31を固定したガイド部32は、台座部33に装着されて先端部31bの方向に移動可能に設定されている。ガイド部32は、円筒状の外筒部32a及び底面部32bが一体形成された金属製の部材で、シャッタ部材31の基部31cに穿設された装着孔部31dに外筒部32aが嵌合してシャッタ部材31を固定するようになっている。
台座部33は、ガイド部32よりも外径がわずかに小さい円板状に形成されている。そのため、平面視でガイド部32及び台座部33の中心位置を一致させた状態では、シャッタ部材31の装着孔部31dと台座部33の外周面との間には隙間tが生じるようになる。
図4は、台座部33にガイド部32を装着した状態を示す外観斜視図であり、図5は、その分解斜視図である。
台座部33の下面には、図示せぬ取付台に台座部33を着脱可能に装着するための嵌合凹部33aが形成されており、台座部33の中心位置には図示せぬ回動軸を軸着するための軸穴33bが穿設されている。回動軸に台座部33の軸穴33bを取付固定することで、台座部33が回動軸とともに回動するようになる。
台座部33の上面には所定幅のレール部33eがシャッタ部材31の先端部31bの方向に向かって形成されており、レール部33eに対向してガイド部32の下面には所定幅の溝部32eが形成されている。ガイド部32の溝部32eは台座部33のレール部33eに嵌合してガイド部32がシャッタ部材31の先端部31bの方向に移動可能に装着される。
上述したように、台座部33の周囲にはシャッタ部材31との間に隙間tが形成されているため、隙間tの距離だけガイド部32が台座部33に対して移動することができる。したがって、ガイド部32に固定されたシャッタ部材31は、先端部31bの方向に進退動作することが可能となる。
ガイド部32の底面部32bには、移動方向に沿って調整用長孔32cが穿設されており、台座部33のレール部33eから立設した支持台33cが調整用長孔32cに嵌入してガイド部32内に突出している。
支持台33cには、調整用ネジ34を装着する支持穴33fが穿設されており、支持穴33fを貫通して装着された調整用ネジ34は、ガイド部32の移動方向に沿って支持されてガイド部32の外筒部32aに穿設されたネジ穴32dに螺着されている。調整用ネジ34には、支持台33cを挟持するように抜け止め用のナット35が螺合されており、調整用ネジ34が軸方向に移動しないように設定されている。
そのため、調整用ネジ34をネジ穴32d内に螺入していくと、シャッタ部材31の先端部31bとは逆方向に向かってガイド部32を移動させるように作用する。逆に調整用ネジ34をネジ穴32dから螺出させていくと、ガイド部32を先端部32dに向かう方向に移動させるように作用する。こうして調整用ネジ34を操作することでガイド部32の位置調整を行うことができる。
ガイド部32の調整用長孔32cには、固定用ネジ36が挿入されて台座部33の上面に穿設されたネジ穴33dに螺着されている。固定用ネジ36を締付固定することで台座部33にガイド部32を固定することができる。そのため、固定用ネジ36を緩めて調整用ネジ34を操作してガイド部32の位置調整し、固定用ネジ36を締付固定することで簡単かつ正確に位置決め固定することが可能となる。
この例では、位置調整部として、シャッタ部材31を固定して台座部33に移動可能に装着されたガイド部32及びガイド部32を移動させてシャッタ部材31の先端部31bの位置調整を行う調整用ネジ34を備えている。なお、ガイド部32の移動機構としては、調整用ネジ以外のもの(例えば、カム機構等の公知の機構等)を用いてもよく、特に限定されない。
支持部4は、シャッタ部3の下方に配設された受け台40、受け台40の下面に固定されて受け台40を支持する支持ロッド41、支持ロッド41を介して受け台40を上下動させるカム駆動機構42を備えており、受け台40の上面にはベルトコンベヤ43の搬送ベルト44がセットされている。そして、受け台40を上昇させて包被切断される成形品を下方から支持して搬送ベルト44上に載置するとともに、受け台40を下降させることで成形して得られた成形品をそのまま搬送ベルト44で搬送する。
図6から図9は、棒状成形体をシャッタ片30により包被切断する工程に関する説明図である。図6では、シャッタ片30が反時計回りに回動して開いた状態に設定され、ノズル20から外皮材Fが内材Gの周囲を被覆するように連続吐出されて成形された棒状成形体が下方に向かって垂下し、各シャッタ片30により囲まれた切断領域を通過していく。
棒状成形体が所定の長さ分だけ切断領域を通過すると、図7に示すように、各シャッタ片30が時計回りに回動し、切断領域が閉じられていく。そして、各シャッタ片30の摺接面31aが棒状成形体に接触する位置まで到達する。各シャッタ片30をさらに時計回りに回動していくと、各シャッタ片30の摺接面31aが棒状成形体の外周を摺接しながら閉じる方向に動作し、図8に示すように、各摺接面31aが突き当たって棒状成形体が切断されるようになる。そして、各シャッタ片30をさらに時計回りに回動させることで、図9に示すように、各シャッタ片30の先端部31bが突き当たって棒状成形体の外皮材Fが寄せ集められ、内材Gを外皮材Fで被覆する包被切断動作が確実に行われるようになる。
以上のように包被切断動作においてシャッタ片30の先端部31bが隣接するシャッタ片に常時摺接するため、動作を繰り返すうちに摩耗するようになる。特に、食材に硬い粒状物(砂糖、ナッツ類等)が含まれていると、摩耗が進みやすくなる。
先端部31bが摩耗してくると、摺接面31aとの間に隙間が生じたり、先端部31同士が突き当たる際に隙間が生じてくる。こうして形成された隙間には食材が残留するようになり、包被切断動作が不完全となって成形品の仕上がりが悪化してくる。そのため、先端部31bの摩耗の程度に応じて隙間が生じないようにシャッタ片の位置調整を行う必要がある。
上述したように、シャッタ片30にはシャッタ部材31の位置調整機能が付加されており、調整用ネジ34を操作することでシャッタ部材31を先端部31bに向かって移動させて位置調整を行うことができる。しかしながら、複数のシャッタ片30を装着した状態で、図9に示すように、各先端部31bが正確に1点で突き当たるように位置調整することは難しい。そこで、本実施形態では、シャッタ片30を個別に摩耗状態を確認して新品のときと同じ程度の状態に位置調整することができる寸法確認装置を用いる。
図10は、寸法確認装置5に関する外観斜視図であり、図11は、寸法確認装置5にシャッタ片30を装着した状態を示す平面図(図11(a))及びB−B断面図(図11(b))である。寸法確認装置5は、シャッタ片30を装着する基台50及びシャッタ部材31の先端部31bの摩耗状態について寸法確認して新品のときと同じ程度の基準位置に調整する当接部51を備えている。
基台50は、断面矩形状の金属製の棒状体からなり、上面にはシャッタ片30の台座部33の嵌合凹部33aを装着固定する嵌合凸部50aが形成されている。当接部51は基台50の一端部に固定ネジにより締付固定され、その両側には基台50の両側面に固定された一対の支持板51bが当接して、当接部51が前後左右に動かないようにしっかりと固定されている。
当接部51の上部は基台50側に突出して基準面51aが形成されている。基準面51aは、基台50に装着されたシャッタ片30が回動した際に先端部31bが回動する軌跡と一致するように平面視円弧状に形成されている。そして、シャッタ片30の回動中心である軸穴33bから基準面51aまでの距離Lは、シャッタ片30を包被切断装置のシャッタ部に装着した場合において新品のシャッタ片30のシャッタ部材31の先端から回動中心までの距離になるように設定されている。
したがって、基台50に装着されたシャッタ片30の先端部31bが基準面51aとの間にどの程度隙間が生じているかにより摩耗状態について寸法確認することができ、基準面51aに当接して回動する位置となるように調整用ネジ34を操作してガイド部32を位置調整すれば、簡単かつ正確にシャッタ片30の先端部31bを新品のときと同じ程度の状態に位置調整を行うことができる。
この場合、調整用ネジ34をネジ穴32d内に螺入していくと、シャッタ部材31の先端部31bとは逆方向に向かってガイド部32を移動させるように作用する。逆に調整用ネジ34をネジ穴32dから螺出させていくと、ガイド部32を先端部32dに向かう方向に移動させるように作用する。こうして調整用ネジ34を操作することでシャッタ部材31を固定したガイド部32の位置調整を行うことができる。
こうして寸法確認装置5によりシャッタ片30の位置調整を行った後固定用ネジ36を締付固定することで位置調整した状態でシャッタ部材31が固定される。そして、位置調整されたシャッタ片30をシャッタ部3に装着することで、先端部31bが新品のときと同じ程度の状態で確実にセットすることができる。
以上説明したように、シャッタ片30の先端部31bに摩耗が生じた場合でも寸法確認装置を用いて簡単に先端部31bを新品のときと同じ程度の状態に再設定して使用することができ、長期間にわたって正確な包被切断動作を維持することが可能となる。また、シャッタ片30の台座部33に装着されたガイド部32は数mmまで移動可能に設計することが可能で、先端部31bの摩耗量が大きくなった場合でも十分対応することができ、経済性に優れたものとなっている。
上述した実施形態では、6枚のシャッタ片を用いた例について説明したが、6枚以外の枚数のシャッタ片を用いる場合でも適用することができる。例えば、図12には4枚のシャッタ片を用いた場合の開いた状態(図12(a))及び閉じた状態(図12(b))を示している。この場合にも6枚のシャッタ片を用いる場合と同様に、各シャッタ片60のシャッタ部材61が回動することで切断領域が開閉するようになり、各シャッタ片60の先端部が突き当たることで包被切断動作が行なわれる。
図13は、寸法確認装置5にシャッタ片60を装着した状態を示す平面図(図13(a))及びC−C断面図(図13(b))である。寸法確認装置5の基台50にシャッタ片60の台座部63を装着してシャッタ部材61の先端部61bと基準面51aとの間に隙間が生じているかにより摩耗状態についてを寸法確認し、隙間がある場合には調整用ネジ64を操作してガイド部62を位置調整することで、シャッタ部材61の先端部61bを基準面51aに当接させるように位置調整を行う。シャッタ部材61の位置調整後固定用ネジ66を締付固定することでシャッタ片60の先端部が新品のときと同じ程度の状態に再設定することができる。
この例においても、位置調整部として、シャッタ部材61を固定して台座部63に移動可能に装着されたガイド部62及びガイド部62を移動させてシャッタ部材61の先端部61bの位置調整を行う調整用ネジ64を備えている。
図14は、4枚のシャッタ片を2組用いる2連式のシャッタ部を示す平面図であり、図14(a)は開いた状態を示し、図14(b)は閉じた状態を示している。この例では、シャッタ部が2つの組のシャッタ片により同時に包被切断動作を行なうことができる。
2つの組の間には共通軸シャッタ片70が2個設けられており、共通軸シャッタ片70には直交方向に延設されたシャッタ部材71及び72を備えている。そして、共通軸シャッタ片70を1つの回動軸で回動させることで、シャッタ部材71及び72が同時に回動して包被切断動作を行うことができ、シャッタ片の駆動機構を簡略化することが可能となる。
こうした共通軸シャッタ片についても各シャッタ部材の先端部に摩耗が生じるため新品のときと同じ程度の状態に再設定するための位置調整を行う必要がある。図15は、共通軸シャッタ片に関する平面図(図15(a))、D−D断面図(図15(b))及びE−E断面図(図15(c))である。シャッタ部材71の基部71cは、下半分が切り欠かれて厚さが薄く形成されており、シャッタ部材72の基部72cは、上半分が切り欠かれて厚さが薄く形成されている。そして基部72cの上面に基部71cを重ねて両シャッタ部材を設置する。基部71c及び72cには、それぞれ円形状の装着孔部71b及び72bが穿設されており、装着孔部71b及び72bにはそれぞれリング状のガイド部74及び75が嵌着されている。
ガイド部74及び75は重なり合うように上下に配置されて、その内部に平面視円形状の台座部73が嵌合している。ガイド部74は、内周面が楕円形状に形成されてシャッタ部材71の先端部71aに向かう方向が長軸となるように設定されている。そして、楕円形状の短軸方向の径が台座部73の径とほぼ等しく、長軸方向の径が台座部73の径よりも数mm程度大きくなるように設定されており、ガイド部74が台座部73に対して先端部71aに向かって移動可能となっている。
ガイド部75は、ガイド部74と同様に内周面が楕円形状に形成されてシャッタ部材72の先端部72aに向かう方向が長軸となるように設定されている。そして、楕円形状の短軸方向の径が台座部73の径とほぼ等しく、長軸方向の径が台座部73の径よりも数mm程度大きくなるように設定されており、ガイド部75が台座部73に対して先端部72aに向かって移動可能となっている。
台座部73は、図示せぬ取付台に台座部73を着脱可能に装着するための嵌合凹部73aが形成されており、台座部73の中心位置には図示せぬ回動軸を軸着するための軸穴73bが穿設されている。回動軸に台座部73の軸穴73bを取付固定することで、台座部73が回動軸とともに回動するようになる。
図15(b)に示すように、シャッタ部材71の先端部71aの反対側の端部には側面から装着孔部71bに向けて挿入孔が穿設されており、挿入孔には調整用ネジ76が挿着されている。挿着された調整用ネジ76には基部71cを挟持するように抜け止め用のナット77が螺合されており、さらに台座部73に穿設されたネジ穴73cに螺着されている。そして、調整用ネジ76をネジ穴73cに螺入させていくことでシャッタ部材71が先端部71aに向かって移動し、ネジ穴73cから螺出させれば逆方向に移動するようになる。したがって、調整用ネジ76を操作することでシャッタ部材71の先端部71aを進退移動させて位置調整を行うことができる。シャッタ部材71の位置調整後調整用ネジ76の先端部に螺着した固定用ナット78を締付固定することで台座部73に対してシャッタ部材71を位置決め固定される。
図15(c)に示すように、シャッタ部材72の先端部72aの反対側の端部には側面から装着孔部72bに向けて挿入孔が穿設されており、挿入孔には調整用ネジ79が挿着されている。調整用ネジ79の先端部は、台座部73に穿設されたネジ穴73dに螺着されている。そして、調整用ネジ79をネジ穴73dに螺入させていくことでシャッタ部材72が先端部72aに向かって移動し、ネジ穴73dから螺出させれば逆方向に移動するようになる。したがって、調整用ネジ79を操作することでシャッタ部材72の先端部72aを進退移動させて位置調整を行うことができる。
台座部73には、調整用ネジ79と直交する方向に固定用ネジ80が螺着されており、シャッタ部材72の位置調整後調整用ネジ79の先端部に固定用ネジ80の先端を押し当てるように固定用ネジ80を操作する。固定用ネジ80の先端が押し当てられた調整用ネジ79は位置調整された状態で固定され、台座部73に対してシャッタ部材72が位置決め固定される。
以上説明したシャッタ部材71及び72の位置調整は、上述した寸法確認装置5に各シャッタ部材を順次挿着して摩耗状態について寸法確認した後基準面51aに各シャッタ部材の先端が当接した状態となるように位置調整することで簡単かつ正確に新品のときと同じ程度の状態に再設定することができる。
図16は、6枚のシャッタ片を2組用いる2連式のシャッタ部を示す平面図であり、図16(a)は開いた状態を示し、図16(b)は閉じた状態を示している。この例でも図14に示す例と同様に、シャッタ部が2つの組のシャッタ片により同時に包被切断動作を行なうことができる。
2つの組の間には共通軸シャッタ片80が2個設けられており、共通軸シャッタ片80には120度の角度で開く方向に延設されたシャッタ部材81及び82を備えている。そして、共通軸シャッタ片80を1つの回動軸で回動させることで、シャッタ部材81及び82が同時に回動して包被切断動作を行うことができ、シャッタ片の駆動機構を簡略化することが可能となる。
この例の場合でも、図14に示す例と同様の台座部83及びガイド部84を備えており、シャッタ部材71と同様にシャッタ部材81の位置調整を行うことができる。また、シャッタ部材82についてもガイド部84の下方に設けられたガイド部及び台座部83を用いてシャッタ部材72と同様の位置調整を行うことができる。そして、寸法確認装置5にシャッタ部材81及び82を順次装着して摩耗状態について寸法確認し、調整用ネジによりシャッタ部材の先端を新品のときと同じ程度の状態に再設定することができる。
以上説明したように、様々なタイプのシャッタ部にガイド部及び台座部を取り付けて調整用ネジを操作することでシャッタ片の先端が摩耗した場合でも簡単かつ正確に新品のときと同じ程度の状態に再設定することができる。以上の例では、6枚及び4枚の枚数を用いる例について説明したが、これ以外の枚数のシャッタ片を用いる場合でも適用することができる。また、2連式以外の多連式のシャッタ部の場合でも適用することが可能で、特に限定されることはない。
本発明に係る実施形態に関する正面図である。 シャッタ部に関する平面図である。 シャッタ片に関する平面図及び断面図である。 台座部にガイド部を装着した状態を示す外観斜視図である。 台座部及びガイド部に関する分解斜視図である。 包被切断工程に関する説明図である。 包被切断工程に関する説明図である。 包被切断工程に関する説明図である。 包被切断工程に関する説明図である。 寸法確認装置に関する外観斜視図である。 寸法確認装置にシャッタ片を装着した状態を示す平面図及びB−B断面図である。 4枚のシャッタ片を用いたシャッタ部の平面図である。 位置調整具にシャッタ片を装着した状態を示す平面図及びC−C断面図である。 4枚のシャッタ片を2組用いる2連式のシャッタ部を示す平面図である。 共通軸シャッタ片に関する平面図、D−D断面図及びE−E断面図である。 6枚のシャッタ片を2組用いる2連式のシャッタ部を示す平面図である。
符号の説明
F 外皮材
G 内材
H 成形品
1 供給部
2 棒状成形部
20 ノズル
3 シャッタ部
30 シャッタ片
31 シャッタ部材
32 ガイド部
33 台座部
4 支持部
5 寸法確認装置
50 基台
51 当接部
60 シャッタ片
61 シャッタ部材
62 ガイド部
63 台座部
70 シャッタ片
71 シャッタ部材
72 シャッタ部材
73 台座部
74 ガイド部
75 ガイド部
80 シャッタ片
81 シャッタ部材
82 シャッタ部材
83 台座部
84 ガイド部

Claims (4)

  1. 複数のシャッタ片を互いに摺接面で当接させて囲まれた切断領域を形成するとともにシャッタ片をそれぞれ回転軸を中心に回動させて切断領域を開閉することで切断領域を通過する食材を包被切断する包被切断装置において、前記シャッタ片は、前記回転軸に着脱可能に装着される台座部と、シャッタ部材を固定するとともに前記台座部に移動可能に装着されて当該シャッタ部材の先端部の位置調整を行う位置調整部とを備えていることを特徴とする包被切断装置。
  2. 前記位置調整部は、前記シャッタ部材の先端部の位置調整を行う調整用ネジを備えていることを特徴とする請求項1に記載の包被切断装置。
  3. 前記位置調整部は、前記シャッタ部材を固定するとともに前記台座部に移動可能に装着されたガイド部を備えていることを特徴とする請求項1又は2に記載の包被切断装置。
  4. 請求項1から3のいずれかに記載のシャッタ片の寸法確認装置であって、前記台座部を装着して固定する基台と、前記基台に固定されるとともに前記シャッタ部材の先端部の基準位置を設定する基準面が形成された当接部とを備えていることを特徴とする寸法確認装置。
JP2008233980A 2008-09-11 2008-09-11 包被切断装置及びシャッタ片の寸法確認装置 Active JP4246789B1 (ja)

Priority Applications (1)

Application Number Priority Date Filing Date Title
JP2008233980A JP4246789B1 (ja) 2008-09-11 2008-09-11 包被切断装置及びシャッタ片の寸法確認装置

Applications Claiming Priority (1)

Application Number Priority Date Filing Date Title
JP2008233980A JP4246789B1 (ja) 2008-09-11 2008-09-11 包被切断装置及びシャッタ片の寸法確認装置

Publications (2)

Publication Number Publication Date
JP4246789B1 JP4246789B1 (ja) 2009-04-02
JP2010063416A true JP2010063416A (ja) 2010-03-25

Family

ID=40612062

Family Applications (1)

Application Number Title Priority Date Filing Date
JP2008233980A Active JP4246789B1 (ja) 2008-09-11 2008-09-11 包被切断装置及びシャッタ片の寸法確認装置

Country Status (1)

Country Link
JP (1) JP4246789B1 (ja)

Cited By (2)

* Cited by examiner, † Cited by third party
Publication number Priority date Publication date Assignee Title
US20160353750A1 (en) * 2014-01-29 2016-12-08 Rheon Automatic Machinery Co., Ltd., Shutter piece and food shaping device
KR102071877B1 (ko) * 2019-04-25 2020-01-31 채형원 포피식품 퍼짐방지장치가 구비된 셔터장치

Families Citing this family (1)

* Cited by examiner, † Cited by third party
Publication number Priority date Publication date Assignee Title
JP5813264B1 (ja) * 2015-04-08 2015-11-17 株式会社コバード 包被切断装置

Cited By (3)

* Cited by examiner, † Cited by third party
Publication number Priority date Publication date Assignee Title
US20160353750A1 (en) * 2014-01-29 2016-12-08 Rheon Automatic Machinery Co., Ltd., Shutter piece and food shaping device
US10182576B2 (en) * 2014-01-29 2019-01-22 Rheon Automatic Machinery Co., Ltd. Shutter piece and food shaping device
KR102071877B1 (ko) * 2019-04-25 2020-01-31 채형원 포피식품 퍼짐방지장치가 구비된 셔터장치

Also Published As

Publication number Publication date
JP4246789B1 (ja) 2009-04-02

Similar Documents

Publication Publication Date Title
JP4246789B1 (ja) 包被切断装置及びシャッタ片の寸法確認装置
JP4437843B1 (ja) ドーナツ状食品成形装置及び方法
US7837025B2 (en) Centring drum for filter assembly machines
KR101904697B1 (ko) 고무링커팅기
US20090232924A1 (en) Shape-forming shutter apparatus and shutter piece thereof
JP5839529B1 (ja) 封着装置及びそれを備えた包被食品成形装置
US20160353750A1 (en) Shutter piece and food shaping device
JP5813264B1 (ja) 包被切断装置
JP4274569B2 (ja) 食品素材の押し出し方法及びその装置
JP5461891B2 (ja) 包あん機
JP4316662B1 (ja) 食品加工装置
JP6767754B2 (ja) 回転式粉体圧縮成形機
JP3811788B2 (ja) 食品成形装置
CA3170803A1 (en) Tablet cassette
JP3814686B2 (ja) 米飯食品成形装置
KR100195849B1 (ko) 포피 절단 장치
KR101571540B1 (ko) 반죽시트 형성 노즐유닛 및 이를 구비한 제과장치
JP2003135045A (ja) 食品成形装置
JP4679421B2 (ja) 食品成形装置の米飯供給機構
JP6275550B2 (ja) 散粉方法及び散粉装置
JP2020114246A (ja) ミキサー
US12133532B2 (en) Food dough forming device
JPH05317019A (ja) 棒状食品体の連続分割用ブロック片及び連続分割装置
JPH05304873A (ja) 自動製麺機の麺生地圧延装置
JPH07132037A (ja) 製麺機

Legal Events

Date Code Title Description
TRDD Decision of grant or rejection written
A01 Written decision to grant a patent or to grant a registration (utility model)

Free format text: JAPANESE INTERMEDIATE CODE: A01

Effective date: 20090106

A01 Written decision to grant a patent or to grant a registration (utility model)

Free format text: JAPANESE INTERMEDIATE CODE: A01

A61 First payment of annual fees (during grant procedure)

Free format text: JAPANESE INTERMEDIATE CODE: A61

Effective date: 20090108

R150 Certificate of patent or registration of utility model

Ref document number: 4246789

Country of ref document: JP

Free format text: JAPANESE INTERMEDIATE CODE: R150

Free format text: JAPANESE INTERMEDIATE CODE: R150

FPAY Renewal fee payment (event date is renewal date of database)

Free format text: PAYMENT UNTIL: 20120116

Year of fee payment: 3

FPAY Renewal fee payment (event date is renewal date of database)

Free format text: PAYMENT UNTIL: 20120116

Year of fee payment: 3

FPAY Renewal fee payment (event date is renewal date of database)

Free format text: PAYMENT UNTIL: 20120116

Year of fee payment: 3

FPAY Renewal fee payment (event date is renewal date of database)

Free format text: PAYMENT UNTIL: 20140116

Year of fee payment: 5

R250 Receipt of annual fees

Free format text: JAPANESE INTERMEDIATE CODE: R250

R250 Receipt of annual fees

Free format text: JAPANESE INTERMEDIATE CODE: R250

R250 Receipt of annual fees

Free format text: JAPANESE INTERMEDIATE CODE: R250

R250 Receipt of annual fees

Free format text: JAPANESE INTERMEDIATE CODE: R250

R250 Receipt of annual fees

Free format text: JAPANESE INTERMEDIATE CODE: R250

R250 Receipt of annual fees

Free format text: JAPANESE INTERMEDIATE CODE: R250

R250 Receipt of annual fees

Free format text: JAPANESE INTERMEDIATE CODE: R250

R250 Receipt of annual fees

Free format text: JAPANESE INTERMEDIATE CODE: R250