JP2010063341A - ケーブル受け具 - Google Patents

ケーブル受け具 Download PDF

Info

Publication number
JP2010063341A
JP2010063341A JP2008259047A JP2008259047A JP2010063341A JP 2010063341 A JP2010063341 A JP 2010063341A JP 2008259047 A JP2008259047 A JP 2008259047A JP 2008259047 A JP2008259047 A JP 2008259047A JP 2010063341 A JP2010063341 A JP 2010063341A
Authority
JP
Japan
Prior art keywords
cable
metal plate
rigid metal
back plate
receiving surface
Prior art date
Legal status (The legal status is an assumption and is not a legal conclusion. Google has not performed a legal analysis and makes no representation as to the accuracy of the status listed.)
Granted
Application number
JP2008259047A
Other languages
English (en)
Other versions
JP4884447B2 (ja
Inventor
Shigeyuki Yokobori
茂幸 横堀
Morio Nakano
守男 中野
Current Assignee (The listed assignees may be inaccurate. Google has not performed a legal analysis and makes no representation or warranty as to the accuracy of the list.)
Asaba Manufacturing Co Ltd
Original Assignee
Asaba Manufacturing Co Ltd
Priority date (The priority date is an assumption and is not a legal conclusion. Google has not performed a legal analysis and makes no representation as to the accuracy of the date listed.)
Filing date
Publication date
Application filed by Asaba Manufacturing Co Ltd filed Critical Asaba Manufacturing Co Ltd
Priority to JP2008259047A priority Critical patent/JP4884447B2/ja
Publication of JP2010063341A publication Critical patent/JP2010063341A/ja
Application granted granted Critical
Publication of JP4884447B2 publication Critical patent/JP4884447B2/ja
Active legal-status Critical Current
Anticipated expiration legal-status Critical

Links

Images

Landscapes

  • Patch Boards (AREA)
  • Laying Of Electric Cables Or Lines Outside (AREA)

Abstract

【課題】 軽量化を図ると同時にケーブルを傷つけずに受け止めることができ、かつ、樹脂部分が火災で溶融劣化して破壊しても、ケーブルの受け止め機能は十分に維持できるようにする。
【解決手段】 剛性金属板3が、ケーブルの布設箇所に固定した支持金具への支承部である背板部1と、背盤部1の前面より突出してケーブルの受け部になる上向き円弧面状の受け面21を備えて受け面21の下側が額縁状に形成されている肩部2とにわたって、インサートされている合成樹脂製の型物成形品であって、剛性金属板3の背板部1に埋め込まれている後側周縁部3aには左右方向へ折り曲がった状態で袖板32が設けられている構成である。
【選択図】図1

Description

本発明は、通信ケーブル等をトンネルの壁面部に沿って布設するときに用いる、ケーブル受け具に関する。
ケーブルを布設するときに用いる従来のケーブル受け具は、一般的にはケーブルの布設箇所に固定した支持金具への支承部である背盤部と、該背盤部の前面より突出してケーブルの受け部になる上向き円弧面状の受け面を備えた肩部が一体的に構成されている、合成樹脂製の型物成形品(例えば、特許文献1参照)である。なお、上記支持金具は、アンカーボルト等を用いて壁面部への固定部となる上下両端に連設された耳部を除いて、断面形状がコの字状であって、その左右両辺は背盤部を掛け止めできるように内向きの掛止縁に形成されている。
実開平723945号公報
上記従来のケーブル受け具は、トンネル内で発生する高温火災の影響を直接受けた場合等に樹脂が溶融劣化して破壊し、支持金具への支承機能が喪失してケーブルが脱落する事故は避けられないという問題がある。かかる問題を解消するために、一枚の鉄板をプレス加工して背盤部と肩部が一体的に構成された金属板製ケーブル受け具が必要に応じて用いられて来ているが、加工及び素材の両面で上記合成樹脂製のものと比較しかなりのコスト高になるとことは避けられず、その解決策が要望されていた。
本発明はこのような問題を解決したものであって、その目的は、背盤部と肩部が一体的に構成されている型物成形品を剛性金属板のインサート成形による複合構造として、ケーブルを傷つけずに受け止めできることは勿論、樹脂部分が溶融劣化して破壊しても、ケーブルの受け止め機能は剛性金属板によって十分に維持できるように改良したケーブル受け具を提供することにある。
上記目的を達成するために、本発明の特徴とするケーブル受け具は、剛性金属板が、ケーブルの布設箇所に固定した支持金具への支承部である背盤部と、その背盤部の前面より突出してケーブルの受け部になる上向き円弧面状の受け面を備えて該受け面の下側が額縁状に形成されている肩部とにわたって、インサートされている合成樹脂製の型物成形品であって、その剛性金属板の上記背盤部に埋め込まれている背側周縁部には左右方向へ折り曲がった状態で袖板が設けられている構成である。
本発明の上記構成において、左右一対の袖板は段違い状にして剛性金属板の背側周縁部の上下両端寄りにそれぞれ設けられていることが、前述したような災害時でも支持金具にケーブル受け具を支承させることができて、ケーブルの不当な脱落を防止る上で好ましい。また、受け面の下面とその下側周縁との間には、剛性金属板を挟着する状態で、合成樹脂層による補強リブを間隔を置いて設け、堅牢なケーブル受け具を構成できるように実施する。
なお、補強リブは背盤部と肩部の下側つけ根の部分にも、剛性金属板3を挟着する状態で背盤部1の前面11と下側周縁との間に同様な目的で設けられていることが望ましい。また、前記した支持金具の前面側に形成されている掛止縁に背盤部の左右両側部分が掛け止められて支持金具への支承が果たされるように、肩部は背盤部の左右両側寄り部分にスペースを残して背盤部に突設されており、本ケーブル受け具の成形に用いられる素材は、好ましくは難燃性ナイロンと耐蝕めっき鋼板である。
剛性金属板のインサート成形によるの複合構造の型物成形品であるから強度に優れており、軽量で取り扱い易く、素材である剛性金属板の最小限度の使用が可能でコストダウン化を図ることができる。また、ケーブルに直接接触する箇所(円弧面状の受け面)は合成樹脂層であるからケーブルの損傷を防止できることは勿論、火災時でも剛性金属板の存在によりケーブル脱落防止の受け止め機能を完全に発揮できる顕著な効果を奏するものである。
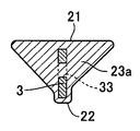
以下に、本発明の実施形態を図面を参照して説明する。1はケーブルの布設箇所に固定した支持金具(図示せず)への支承部である背盤部、2は背盤部1の前面11より突出しケーブル(図示せず)の受け部になる上向き円弧面状の受け面21を備えて該受け面の下側が額縁状に形成されている肩部であり、この肩部2は背盤部1の左右両側寄り部分にスペースを残して突設されている。背盤部1と肩部2は剛性金属板3が一体的にインサートされている合成樹脂製の型物成形品であって、その成形に使用される素材は、好ましくは難燃性ナイロンと厚みが2.3mmの耐蝕めっき鋼板である。
剛性金属板3の背盤部1に埋め込まれている背側周縁部31aには左右方向へ折り曲がった状態で一対の袖板32,32が段違い状に設けられており、図示の場合、一対の袖板32,32は背側周縁部31の上下両端側にそれぞれ設けられている。また、受け面21の下面と背盤部1の前面11及び肩部2の下側周縁22との間には、剛性金属板3を挟着する状態で、合成樹脂層による補強リブ23a,23bが間隔を置いて設けられている(図示の場合は5箇所)。
補強リブ23a,23bは、樹脂と金属板との結合を強固にするため、成形時に剛性金属板3にあけられていた孔33(図4,5参照)に充填された樹脂と一体化しており、背盤部1と肩部2の下側つけ根の部分にも、剛性金属板3を挟着する状態で、背盤部1の前面11及び下側周縁22との間に同様な目的で補強リブ24が設けられている。なお、樹脂の使用量低減と樹脂成形部分の厚み(受け面21では3mm程度)均一化の目的で、背盤部1の背面部側は中央部分を除いて袖板32の存在しない部分が凹み部12に、また中央部分は両側面からの刳り貫いたトンネル部13にそれぞれ形成されている。図中、34は受け面21に受け止めたケーブルを縛着するために剛性金属板3にあけた縛着用窓穴、25は縛着用窓穴34との間に縛着用ワイヤーを掛け止めるために肩部2の下側周縁22に突設した掛け止め部、25aは掛け止め部25に穿設した掛け止め孔、35は剛性金属板3の下側周縁部31bに設けて掛け止め部25に埋め込まれる補強用突起、36はインサート成形時の支持ピン挿通用孔である。
本発明に係るケブル受け具の実施の一形態を一部を切り欠いて背面方向から見た斜視図である。 図1に示すものの正面図である。 図1に示すものの側面図である。 図3のA−A線断面図である。 図1に示すものにインサートされている剛性金属板を側面方向から見た斜視図である。
符号の説明
1は背盤部
2は肩部
3は剛性金属板
11は前面
21は受け面
22は下側周縁
23a,23b、24は補強リブ
31aは背側周縁部
32は袖板

Claims (3)

  1. 剛性金属板が、ケーブルの布設箇所に固定した支持金具への支承部である背板部と、その背盤部の前面より突出してケーブルの受け部になる上向き円弧面状の受け面を備えて該受け面の下側が額縁状に形成されている肩部とにわたって、インサートされている合成樹脂製の型物成形品であって、その剛性金属板の上記背板部に埋め込まれている背側周縁部には左右方向へ折り曲がった状態で袖板が設けられていることを特徴とするケーブル受け具。
  2. 左右一対の袖板は段違い状にして、その各一対が剛性金属板の上下両端寄りにそれぞれ設けられていることを特徴とする請求項1記載のケーブル受け具。
  3. 受け面の下面とその下側周縁との間には、剛性金属板を挟着する状態で、合成樹脂層による補強リブが間隔を置いて設けられていることを特徴とする請求項1又は2記載のケーブル受け具。
JP2008259047A 2008-09-05 2008-09-05 ケーブル受け具 Active JP4884447B2 (ja)

Priority Applications (1)

Application Number Priority Date Filing Date Title
JP2008259047A JP4884447B2 (ja) 2008-09-05 2008-09-05 ケーブル受け具

Applications Claiming Priority (1)

Application Number Priority Date Filing Date Title
JP2008259047A JP4884447B2 (ja) 2008-09-05 2008-09-05 ケーブル受け具

Publications (2)

Publication Number Publication Date
JP2010063341A true JP2010063341A (ja) 2010-03-18
JP4884447B2 JP4884447B2 (ja) 2012-02-29

Family

ID=42189523

Family Applications (1)

Application Number Title Priority Date Filing Date
JP2008259047A Active JP4884447B2 (ja) 2008-09-05 2008-09-05 ケーブル受け具

Country Status (1)

Country Link
JP (1) JP4884447B2 (ja)

Cited By (1)

* Cited by examiner, † Cited by third party
Publication number Priority date Publication date Assignee Title
JP2013005706A (ja) * 2011-06-22 2013-01-07 West Japan Railway Co トンネル用ケーブル支持具

Citations (2)

* Cited by examiner, † Cited by third party
Publication number Priority date Publication date Assignee Title
JPS5851716A (ja) * 1981-09-24 1983-03-26 日東電工株式会社 ケ−ブル支持具
JPS5953009A (ja) * 1982-09-17 1984-03-27 四国レジンコンクリ−ト株式会社 電力ケ−ブル受棚部材

Patent Citations (2)

* Cited by examiner, † Cited by third party
Publication number Priority date Publication date Assignee Title
JPS5851716A (ja) * 1981-09-24 1983-03-26 日東電工株式会社 ケ−ブル支持具
JPS5953009A (ja) * 1982-09-17 1984-03-27 四国レジンコンクリ−ト株式会社 電力ケ−ブル受棚部材

Cited By (1)

* Cited by examiner, † Cited by third party
Publication number Priority date Publication date Assignee Title
JP2013005706A (ja) * 2011-06-22 2013-01-07 West Japan Railway Co トンネル用ケーブル支持具

Also Published As

Publication number Publication date
JP4884447B2 (ja) 2012-02-29

Similar Documents

Publication Publication Date Title
KR101492041B1 (ko) 케이블 가설용 행거
US7430836B2 (en) Door with glass
JP5352141B2 (ja) 外装材
JP2013090494A (ja) ケーブル支持具
JP2010063341A (ja) ケーブル受け具
CN103388372B (zh) 吊顶石材干挂构造及其施工方法
JP2013091903A (ja) 金属サイディング
JP2006257718A (ja) 断熱材の支持金具
KR20130138441A (ko) 거푸집 설치용 단열재 고정유닛
CN203113693U (zh) 墙面保温石材板安装扣件
CN211923380U (zh) 一种扣合式铝合金踢脚线
JP2010178525A (ja) トラフ蓋の固定構造及び固定方法
KR200277919Y1 (ko) 건축 콘크리트 타설용 거푸집
JP3154531U (ja) 内部に空間を設けた鉄履帯用ゴムパット
JP3204900U (ja) 端太
JP3734209B2 (ja) 型枠用セパレーター
CN219863801U (zh) 一种饰面砖开槽防脱墙体结构
JP2004324369A (ja) 型枠兼断熱建材およびその建材の連結金具
JP3938492B2 (ja) 冷蔵庫の扉
CN219973286U (zh) 一种适用于大尺寸的井盖支座结构
KR101524087B1 (ko) 시트 커버링 서스펜더 및 이를 이용한 시트 커버링 조립기구
CN212271487U (zh) 装配式软硬包安装结构
JP4825312B1 (ja) コンクリート構造物
CN213734166U (zh) 一种极简热敏打印机
KR101850140B1 (ko) 데크플레이트

Legal Events

Date Code Title Description
A977 Report on retrieval

Free format text: JAPANESE INTERMEDIATE CODE: A971007

Effective date: 20101013

A131 Notification of reasons for refusal

Free format text: JAPANESE INTERMEDIATE CODE: A131

Effective date: 20110329

A521 Request for written amendment filed

Free format text: JAPANESE INTERMEDIATE CODE: A523

Effective date: 20110530

RD02 Notification of acceptance of power of attorney

Free format text: JAPANESE INTERMEDIATE CODE: A7422

Effective date: 20110530

TRDD Decision of grant or rejection written
A01 Written decision to grant a patent or to grant a registration (utility model)

Free format text: JAPANESE INTERMEDIATE CODE: A01

Effective date: 20111108

A01 Written decision to grant a patent or to grant a registration (utility model)

Free format text: JAPANESE INTERMEDIATE CODE: A01

A61 First payment of annual fees (during grant procedure)

Free format text: JAPANESE INTERMEDIATE CODE: A61

Effective date: 20111206

FPAY Renewal fee payment (event date is renewal date of database)

Free format text: PAYMENT UNTIL: 20141216

Year of fee payment: 3

R150 Certificate of patent or registration of utility model

Free format text: JAPANESE INTERMEDIATE CODE: R150

Ref document number: 4884447

Country of ref document: JP

Free format text: JAPANESE INTERMEDIATE CODE: R150

R250 Receipt of annual fees

Free format text: JAPANESE INTERMEDIATE CODE: R250

R250 Receipt of annual fees

Free format text: JAPANESE INTERMEDIATE CODE: R250

R250 Receipt of annual fees

Free format text: JAPANESE INTERMEDIATE CODE: R250

R250 Receipt of annual fees

Free format text: JAPANESE INTERMEDIATE CODE: R250

R250 Receipt of annual fees

Free format text: JAPANESE INTERMEDIATE CODE: R250

R250 Receipt of annual fees

Free format text: JAPANESE INTERMEDIATE CODE: R250

R250 Receipt of annual fees

Free format text: JAPANESE INTERMEDIATE CODE: R250

R250 Receipt of annual fees

Free format text: JAPANESE INTERMEDIATE CODE: R250

R250 Receipt of annual fees

Free format text: JAPANESE INTERMEDIATE CODE: R250

R250 Receipt of annual fees

Free format text: JAPANESE INTERMEDIATE CODE: R250

R250 Receipt of annual fees

Free format text: JAPANESE INTERMEDIATE CODE: R250

R250 Receipt of annual fees

Free format text: JAPANESE INTERMEDIATE CODE: R250