JP2010059825A - 送風装置 - Google Patents

送風装置 Download PDF

Info

Publication number
JP2010059825A
JP2010059825A JP2008225065A JP2008225065A JP2010059825A JP 2010059825 A JP2010059825 A JP 2010059825A JP 2008225065 A JP2008225065 A JP 2008225065A JP 2008225065 A JP2008225065 A JP 2008225065A JP 2010059825 A JP2010059825 A JP 2010059825A
Authority
JP
Japan
Prior art keywords
air
blower
casing
fan
motor
Prior art date
Legal status (The legal status is an assumption and is not a legal conclusion. Google has not performed a legal analysis and makes no representation as to the accuracy of the status listed.)
Granted
Application number
JP2008225065A
Other languages
English (en)
Other versions
JP5157762B2 (ja
Inventor
Takahiro Ota
高広 太田
Current Assignee (The listed assignees may be inaccurate. Google has not performed a legal analysis and makes no representation or warranty as to the accuracy of the list.)
Denso Corp
Original Assignee
Denso Corp
Priority date (The priority date is an assumption and is not a legal conclusion. Google has not performed a legal analysis and makes no representation as to the accuracy of the date listed.)
Filing date
Publication date
Application filed by Denso Corp filed Critical Denso Corp
Priority to JP2008225065A priority Critical patent/JP5157762B2/ja
Publication of JP2010059825A publication Critical patent/JP2010059825A/ja
Application granted granted Critical
Publication of JP5157762B2 publication Critical patent/JP5157762B2/ja
Expired - Fee Related legal-status Critical Current
Anticipated expiration legal-status Critical

Links

Images

Landscapes

  • Structures Of Non-Positive Displacement Pumps (AREA)

Abstract

【課題】モータの冷却のために取り込んだ空気の中に含まれている水分がモータ内部への浸入するのを防止する送風装置を提供する。
【解決手段】送風ファン22によりファンケーシング21内に送り出された空気の一部を取り入れてモータ23に冷却風として送り込むための空気取入口28に、水滴浸入防止用の段差部31を形成する。
【選択図】図1

Description

本発明は、冷却用空気を取り入れてモータを冷却する機構を有する送風装置に関し、例えば車両用空調装置に用いて好適な送風装置に関するものである。
従来、車両用の空調装置等の送風装置として、送風ファンを取り囲むファンケーシングの吐出口付近に設けた空気取入口から送風の一部を冷却風として取り入れ、モータ側に案内してモータを冷却する構成のものがある。
このような送風装置においては、送風される空気中に含まれている水分がモータ内に浸入するのを防止する対策として、ファンケーシング内に取り込まれた水が送風ファンの風圧よりモータ内に案内されるのを防止する突起が設けられている。しかしながら、ファンケーシングの吐出口付近に設けた空気取入口から取り入れた冷却風に水分が含まれていた場合には、モータに到達する前にこの水分を取り除くための構成は備えられていない。
そこで、特許文献1における送風装置1では、下記のような構成の浸水防止手段を開示している。
ここでの送風装置1では、図10に示すように、吸込口3、吐出口4と有するファンケーシング2と、ファンケーシング2のスクロールケーシング部5の内側に配置される送風ファン6と、モータの冷却のために取り込んだ空気の中に含まれている水分がモータ内部への浸入するのを防止するために、スクロールケーシング部5よりも下流側に形成されたノーズ部側壁7に設けられた空気取入口8と、この空気取入口8と連通してスクロールケーシング部5の外に形成されたチャンバー9と、このチャンバー9内で空気取入口8よりも重力方向下側の位置に開口され、空気取入口8と連通してモータを冷却する空気の取入れ口となる冷却空気口10と、チャンバー9内に配置し、空気取入口8から冷却空気口10に至る経路に介在させた防水壁11とを備えた構成としている(図11参照)。
すなわち、上記送風装置1では、防水壁11を、取入れる通路下流の冷却取入口横に設けたり、空気取入口8近傍のノーズ部側壁7に堰12を突設することで浸水を防止している。
特開2007−1541号公報
しかしながら、これでは通風路が狭まるため、モータ冷却風を取入れにくくなり、モータが冷却されないという背反や、堰が高くなることで樹脂型での成形ができなくなるといった問題が生じている。
そこで、送風機内に浸入した水が、スクロールから壁面を伝い、モータ冷却取入口に浸入するといった、水滴の挙動に注目し、スクロール下流の通路壁面を伝う水滴を通路入口より下方へ排水する手段を講ずれば、モータへの冷却風を減らさずに浸水を防止することができるであろうという観点に至った。
本発明は、以上のような観点から提案されたものであって、モータの冷却のために取り込んだ空気の中に含まれている水分がモータ内部への浸入するのを防止する送風装置を提供することを目的とする。
上記課題を解決するために、請求項1に記載の発明では、吸込口(24)と吐出口(27)とを有するスクロール状ファンケーシング(21)と、このファンケーシング(21)内に空気を導入して吐出する送風ファン(22)と、この送風ファン(22)を駆動するモータ(23)と、ファンケーシング(21)における吐出口(27)寄りの送風通路側壁に、ファンケーシング(21)内に送り出された空気の一部を取り入れてモータ(23)に冷却風として送り込むための空気取入口(28)を設けた送風装置において、空気取入口(28)は、ファンケーシング(21)内に送り出された空気の送風通路を避けて段差形成した、水滴浸入防止用の段差部(31)を備えたことを特徴とする。
これにより、モータ(23)の冷却のためにファンケーシング(21)内に送り出された空気の一部を空気取入口(28)から取り込んだ空気の中に水分が含まれていた場合、空気中の水分は通路壁面に触れて結露して水滴化し、かかる水滴は通路壁面を伝い、空気取入口(28)表面より、空気の送風通路を避けて段差形成した段差部(31)に誘導される。
段差部(31)は、通風通路に比較して風圧が低いため、水滴は自重により、送風方向ではなく下方に流下し、排水されることとなる。
請求項2に記載の発明では、段差部(31)は、ファンケーシング(21)における上ケーシング(21a)から下ケーシング(21b)との分割面(PL)より下方部位まで延在させた段差縁部(31a)を備えたことを特徴とする。
これにより、段差縁部(31a)に誘導された水滴を、自重により、下ケーシング(21b)との分割面(PL)より下方部位まで誘導し、排水に供することができる。
請求項3に記載の発明では、下ケーシング(21b)に、通風通路に通ずる水抜き用スリット(32)を形成したことを特徴とする。
これにより、段差縁部(31a)により、下ケーシング(21b)との分割面(PL)より下方部位まで誘導された水滴は、水抜き用スリット(32)を通じて通風通路に排水される。
請求項4に記載の発明では、空気取入口(28)は、上方からの水の浸入を阻止するための傾斜上縁部(33)を備えたことを特徴とする。
これにより、空気取入口(28)に、送風方向のみでなく、上方から水滴が流下してきても、傾斜上縁部(33)に当たり、上方から壁を伝い、浸入する水滴を一段低い面に誘導し、傾斜する壁を伝い、送風方向に設けた段差部(31)へ誘導し、下方へ排水することができる。
請求項5に記載の発明では、段差縁部(31a)は、複数段に段差形成したことを特徴とする。
これにより、水滴の量が多く、一段では誘導しきれない場合でも、一段目よりさらに風圧の影響が小さい2段目により、確実に水滴を下方に排水させることができる。
さらに請求項6に記載の発明では、傾斜上縁部(33)は、複数段に段差形成したことを特徴とする。
これにより、上方から水滴が大量に流下してきても、傾斜上縁部(33)に当たり、上方から壁を伝い、浸入する水滴を複数段に段差形成した箇所に誘導し、下方へ排水することができる。
なお、上記各手段の括弧内の符号は、後述する実施形態の具体的手段との対応関係を示す一例である。
(第1実施形態)
図1に、本発明にかかる車両用空調装置に用いられる送風装置20の一例を示し、以下、詳細に説明する。なお、車両用空調装置の主たる構成部品としては、図示は省略するが、車両室内に空気を導入する空調ダクト、この空調ダクト内に空気を送り込む送風手段としての送風装置20、冷凍サイクル、温水回路、およびエアコン制御装置とを具備している。
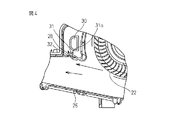
送風装置20では、上ケーシング21a、下ケーシング21bとを一体的に嵌合して構成した、スクロール状ファンケーシング21と、このファンケーシング21内に空気を導入して吐出する送風ファン22と、この送風ファン22を駆動するモータ23とを備えている。
ファンケーシング21は、上部に設けられた送風ファン22の吸込口24と、この吸込口24の下方に設けられた送風ファン22を取り囲むスクロール形状のスクロールケーシング部25と、スクロールケーシング部25の下流側に設けられた側方へ突出する流路を形成するノーズ部26とを備えている。このノーズ部26の端部にはファンケーシング21の吐出口27が形成されている。
またファンケーシング21のノーズ部26外側には、空気取入口28を介して連通するチャンバー29が設けられている。かかるチャンバー29には、送風ファン22によりファンケーシング21内に送り出された空気の一部を取入れるようになっている。さらに、チャンバー29には、空気取入口28が設けられた位置より斜め下方の位置に、モータ23に冷却風として送り込む通路に通ずる冷却空気口30を設けている。
そして、以上のようなチャンバー29における空気取入口28には、詳細は後述するが、水滴浸入防止用の段差部31を備えている。
送風ファン22は、遠心式ファンであり、ファンの外周部に備えたブレードbrの入口と出口の遠心力の差を用いて空気に動圧を与えるようにしている。このような遠心式ファンとしては、例えば、前向きブレードを有するシロッコファンや、後ろ向きブレードを有するターボファンがある。
吸込口24の内径は送風ファン22の外径よりも小さく形成され、吸込口24に略平行に送風ファン22の吸込口が位置している。モータ23により送風ファン22を回転させることで、外気、内気が吸込口24を介してファンケーシング21内に吸い込まれると共に、送風ファン22の遠心方向に吐き出され、スクロールケーシング部25内で整流されて吐出口27から送り出されて蒸発器(図示省略)へ送風されるようになっている。
スクロールケーシング部25は、送風ファン22から遠心方向に放射してくる空気の流れを整流して一方向にまとめ、送風ファン22で得られた動力を効率よく静圧に変換する機能を有している。
スクロールケーシング部25の内周面形状は、対数螺旋状であり、送風ファン36とスクロールケーシング部25の内周面との間隔は、ファンの回転方向について徐々に大きくなるように構成されている。
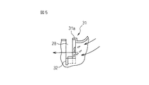
そして、スクロールケーシング部25下流側のノーズ部26とチャンバー29とを連通する空気取入口28に設けられた、水滴浸入防止用の段差部31について説明する。
段差部31は、ファンケーシング21における上ケーシング21a側のノーズ部26側壁に設けた空気取入口28に、空気流の、上流側から下流側に向かって先端縁部を、一段、チャンバー29側に所定寸法、送風通路を避けて段差形成した段差縁部31aを設けている。
かかる段差部31は、ファンケーシング21における上ケーシング21aから下ケーシング21bとの分割面(PL)より下方部位まで延在し、且つ、段差部31の下端部は、下ケーシング21b側に形成した水抜き用スリット32につながっている(図2参照)。
次に、以上のように構成される送風装置20において、動作、作用を説明する。
モータ23に電力を供給し、送風装置20を運転すると、内気または外気は、モータ23により回転する送風ファン22によって吸込口24に吸い込まれ、送風ファン22の遠心方向に吐き出され、スクロールケーシング部25内で整流されて吐出口27から送り出されて蒸発器(図示省略)へ送風される。
スクロールケーシング部25内で整流されて吐出口27から送風される際、この送風された空気の一部は、ノーズ部26側壁の空気取入口28から取り込まれ、チャンバー29内に至る。次いでチャンバー29で一旦溜められた空気は、チャンバー29内の空気取入口28下方位置に形成された冷却空気口30を通じて、冷却空気通路(図示省略)を介しモータ23にもたらされ、これによりモータ23を冷却することができる。その後、モータ23を冷却した空気は、外部に向けて排出される。
ところで、送風ファン22によって吸込口24に吸い込まれ、スクロールケーシング部25内に取り込まれた空気中に存在する水分(水の粒子、水蒸気)は、スクロールケーシング部25内壁に触れて結露し、水滴となる。かかる水滴は、風圧によってスクロールケーシング部25内壁を伝い、ノーズ部26内壁を進行する(図2参照)。
そして、かかる水滴は、ノーズ部26側壁の空気取入口28に達すると、一段、チャンバー29側に所定寸法、段差形成した段差縁部31aに風圧によって流動し回りこむ。
段差縁部31aに水滴がもたらされると、風圧が急激に低下するので、段差縁部31aにおいて、水滴は、自重によって段差縁部31aを伝って流下し、段差部31下方端部に達したところで、下ケーシング21bに形成した水抜き用スリット32を介し、通風通路へ排水される(図3、図4、図5参照)。
これによって、水滴が、チャンバー29内の空気取入口28下方位置に形成された冷却空気口30まで達することはなく、冷却空気通路を通じ、モータ23に水滴が浸入することを阻止することができる。
以上のように、上述の送風装置20によれば、これまでのように、モータに冷却風を送り込む際に、水滴の浸入を防止するために、冷却空気口30を覆うように防水壁を設けたり、空気取入口の堰を高くすることで、通風路が狭まり、モータ冷却風を取入れにくくなり、モータが冷却されないという背反や、樹脂型での成形ができなくなるといった問題を解決することができた。
本発明は、上述の実施形態に限られるものではない。
(第2実施形態)
例えば、スクロールケーシング部25下流側のノーズ部26とチャンバー29とを連通する空気取入口28に設けられた、水滴浸入防止用の段差部31は、一段、チャンバー29側に所定寸法、段差形成した段差縁部31aで構成されるものに限らない。
すなわち、水滴浸入防止用の段差部31は、図6、図7に示すように、段差縁部31aを複数段(ここでは2段)、チャンバー29側に退行させて構成している。
段差縁部31aを複数段とすることで、送風空気中に含まれる水分の量が比較的多く、大量に水滴が生じる場合に対処可能となる。
(第3実施形態)
さらに、送風装置20は、図8、図9に示すように構成することもできる。
この場合、空気取入口28に設けられた、水滴浸入防止用の段差部31は、空気取入口28は、上方からの水の浸入を阻止するための傾斜上縁部33を具備している。
これにより、上方から水滴が流下してきても、傾斜上縁部33に当たり、上方から壁を伝い、浸入する水滴を一段低い面に誘導し、傾斜する壁を伝い、送風方向に設けた段差へ誘導し、下方へ排水することができる。なお、かかる傾斜上縁部33においても、段差部31の段差縁部31a同様、複数段差状に形成することで、上方からの水の浸入が大量にあっても、効果的に対処することができる。
また、空気取入口28に段差縁部31aと傾斜上縁部33とを組合わせて形成することで、送風空気中に含まれる水分ばかりでなく、上方からの水の浸入が大量にあっても、一層、効果的に排水することができ、モータ23への浸水を阻止することができる。
本発明に係る送風装置の一実施形態の構成を示す横断面説明図である。 図1に示す送風装置の縦断面説明図である。 図1における送風装置において、A−A線に沿う、要部切断矢視図である。 図1に示した送風装置における空気取入口の段差部の作用を説明するための要部断面説明図である。 図4に示した空気取入口の段差部の作用を説明するための、要部斜視説明図である。 本発明に係る送風装置の別の実施形態の構成を示す部分的な横断面説明図である。 図6における送風装置において、B−B線に沿う、要部切断矢視図である。 本発明に係る送風装置の別の実施形態の構成を示す部分的な横断面説明図である。 図8における送風装置において、C−C線に沿う、要部切断矢視図である。 従来の送風装置のファンケーシングの一例を示す、模式的な要部平面図である。 従来の送風装置のファンケーシングの一例を示す、模式的な部分平面図である。
符号の説明
20 送風装置
21 ファンケーシング
21a 上ケーシング
21b 下ケーシング
22 送風ファン
23 モータ
24 吸込口
25 スクロールケーシング部
26 ノーズ部
27 吐出口
28 空気取入口
29 チャンバー
30 冷却空気口
31 段差部
31a 段差縁部
32 水抜き用スリット
33 傾斜上縁部
PL 分割面
br ブレード

Claims (6)

  1. 吸込口(24)と吐出口(27)とを有するスクロール状ファンケーシング(21)と、
    このファンケーシング(21)内に空気を導入して吐出する送風ファン(22)と、
    この送風ファン(22)を駆動するモータ(23)と、
    前記ファンケーシング(21)における吐出口(27)寄りの送風通路側壁に、前記ファンケーシング(21)内に送り出された空気の一部を取り入れて前記モータ(23)に冷却風として送り込むための空気取入口(28)を設けた送風装置において、
    前記空気取入口(28)は、前記ファンケーシング(21)内に送り出された空気の送風通路を避けて段差形成した、水滴浸入防止用の段差部(31)を備えたことを特徴とする送風装置。
  2. 前記段差部(31)は、前記ファンケーシング(21)における上ケーシング(21a)から下ケーシング(21b)との分割面(PL)より下方部位まで延在させた段差縁部(31a)を備えたことを特徴とする請求項1に記載の送風装置。
  3. 前記下ケーシング(21b)に、通風通路に通ずる水抜き用スリット(32)を形成したことを特徴とする請求項2に記載の送風装置。
  4. 前記空気取入口(28)は、上方からの水の浸入を阻止するための傾斜上縁部(33)を備えたことを特徴とする請求項1に記載の送風装置。
  5. 前記段差縁部(31a)は、複数段に段差形成したことを特徴とする請求項2に記載の送風装置。
  6. 前記傾斜上縁部(33)は、複数段に段差形成したことを特徴とする請求項4に記載の送風装置。
JP2008225065A 2008-09-02 2008-09-02 送風装置 Expired - Fee Related JP5157762B2 (ja)

Priority Applications (1)

Application Number Priority Date Filing Date Title
JP2008225065A JP5157762B2 (ja) 2008-09-02 2008-09-02 送風装置

Applications Claiming Priority (1)

Application Number Priority Date Filing Date Title
JP2008225065A JP5157762B2 (ja) 2008-09-02 2008-09-02 送風装置

Publications (2)

Publication Number Publication Date
JP2010059825A true JP2010059825A (ja) 2010-03-18
JP5157762B2 JP5157762B2 (ja) 2013-03-06

Family

ID=42186897

Family Applications (1)

Application Number Title Priority Date Filing Date
JP2008225065A Expired - Fee Related JP5157762B2 (ja) 2008-09-02 2008-09-02 送風装置

Country Status (1)

Country Link
JP (1) JP5157762B2 (ja)

Cited By (6)

* Cited by examiner, † Cited by third party
Publication number Priority date Publication date Assignee Title
JP2013100817A (ja) * 2011-11-09 2013-05-23 Hamilton Sundstrand Corp ギアボックス、および空気とオイルの混合物からオイルを除去する方法
JP2017200806A (ja) * 2016-05-06 2017-11-09 株式会社デンソー 送風装置及び車両用空調装置
KR101911883B1 (ko) 2012-06-26 2018-10-25 한온시스템 주식회사 차량용 공조장치의 송풍기
DE112017003590T5 (de) 2016-07-15 2019-05-23 Mitsubishi Heavy Industries Thermal Systems, Ltd. Gebläsevorrichtung und fahrzeugklimaanlage
JP2020076349A (ja) * 2018-11-06 2020-05-21 株式会社ケーヒン ブロワユニット
JP2021092171A (ja) * 2019-12-09 2021-06-17 株式会社ヴァレオジャパン 遠心送風機及び遠心送風機が搭載された車両

Citations (4)

* Cited by examiner, † Cited by third party
Publication number Priority date Publication date Assignee Title
JPS61175115A (ja) * 1985-01-28 1986-08-06 Hitachi Ltd 車両用ブロワモ−タ装置
JPH03106196U (ja) * 1990-02-15 1991-11-01
JPH03106197U (ja) * 1990-02-15 1991-11-01
JP2004040935A (ja) * 2002-07-04 2004-02-05 Asmo Co Ltd 電動ファンモータ装置

Patent Citations (4)

* Cited by examiner, † Cited by third party
Publication number Priority date Publication date Assignee Title
JPS61175115A (ja) * 1985-01-28 1986-08-06 Hitachi Ltd 車両用ブロワモ−タ装置
JPH03106196U (ja) * 1990-02-15 1991-11-01
JPH03106197U (ja) * 1990-02-15 1991-11-01
JP2004040935A (ja) * 2002-07-04 2004-02-05 Asmo Co Ltd 電動ファンモータ装置

Cited By (12)

* Cited by examiner, † Cited by third party
Publication number Priority date Publication date Assignee Title
JP2013100817A (ja) * 2011-11-09 2013-05-23 Hamilton Sundstrand Corp ギアボックス、および空気とオイルの混合物からオイルを除去する方法
US9028576B2 (en) 2011-11-09 2015-05-12 Hamilton Sundstrand Corporation Gearbox deoiler with pre-pressuring component
KR101911883B1 (ko) 2012-06-26 2018-10-25 한온시스템 주식회사 차량용 공조장치의 송풍기
JP2017200806A (ja) * 2016-05-06 2017-11-09 株式会社デンソー 送風装置及び車両用空調装置
DE112017003590T5 (de) 2016-07-15 2019-05-23 Mitsubishi Heavy Industries Thermal Systems, Ltd. Gebläsevorrichtung und fahrzeugklimaanlage
US11629724B2 (en) 2016-07-15 2023-04-18 Mitsubishi Heavy Industries Thermal Systems, Ltd. Blower device and vehicular air-conditioning device
JP2020076349A (ja) * 2018-11-06 2020-05-21 株式会社ケーヒン ブロワユニット
JP7141914B2 (ja) 2018-11-06 2022-09-26 マーレ インターナショナル ゲゼルシャフト ミット ベシュレンクテル ハフツング ブロワユニット
JP2021092171A (ja) * 2019-12-09 2021-06-17 株式会社ヴァレオジャパン 遠心送風機及び遠心送風機が搭載された車両
CN113027786A (zh) * 2019-12-09 2021-06-25 法雷奥日本株式会社 离心鼓风机以及搭载有离心鼓风机的车辆
CN113027786B (zh) * 2019-12-09 2022-10-04 法雷奥日本株式会社 离心鼓风机以及搭载有离心鼓风机的车辆
JP7394609B2 (ja) 2019-12-09 2023-12-08 株式会社ヴァレオジャパン 遠心送風機及び遠心送風機が搭載された車両

Also Published As

Publication number Publication date
JP5157762B2 (ja) 2013-03-06

Similar Documents

Publication Publication Date Title
JP5157762B2 (ja) 送風装置
US8499580B2 (en) Air conditioner
JP2008281286A (ja) 空気調和機の室外機
KR101949984B1 (ko) 백연 저감 냉각탑
JP6956816B2 (ja) 分離型ターボブロワーの外函
JP2011252478A (ja) 多翼遠心ファンおよびそれを用いた車両用空調装置
TW201632798A (zh) 除濕機
CN1928443B (zh) 空气调节器
JP2004068741A (ja) 遠心送風機
TWI572833B (zh) Heating Ventilator
CN109562670B (zh) 送风装置、车辆用空气调节装置
CN101457953B (zh) 空调机室内单元
KR20110003671A (ko) 차량용 공조장치
US20060110267A1 (en) Air blower
US20080199311A1 (en) Blower scroll
JP5617931B2 (ja) エレベータの冷却装置
KR102592167B1 (ko) 차량용 공조장치
KR101149260B1 (ko) 블로워 모터 냉각용 공기 흡입구 구조
CN220552089U (zh) 集水盘、厨房空调
JP2009001093A (ja) 車両用空調装置
JP6038356B2 (ja) 送風装置、及びその送風装置を備えた空気調和装置
JP2006298180A (ja) ブロワモータ冷却構造
KR101094841B1 (ko) 자동차 공조 장치용 송풍기
JP6808288B2 (ja) 自動車の空調装置
KR100563533B1 (ko) 환기장치용 후드

Legal Events

Date Code Title Description
A621 Written request for application examination

Free format text: JAPANESE INTERMEDIATE CODE: A621

Effective date: 20101027

A977 Report on retrieval

Free format text: JAPANESE INTERMEDIATE CODE: A971007

Effective date: 20120425

A131 Notification of reasons for refusal

Free format text: JAPANESE INTERMEDIATE CODE: A131

Effective date: 20120508

A521 Request for written amendment filed

Free format text: JAPANESE INTERMEDIATE CODE: A523

Effective date: 20120619

TRDD Decision of grant or rejection written
A01 Written decision to grant a patent or to grant a registration (utility model)

Free format text: JAPANESE INTERMEDIATE CODE: A01

Effective date: 20121113

A61 First payment of annual fees (during grant procedure)

Free format text: JAPANESE INTERMEDIATE CODE: A61

Effective date: 20121126

R151 Written notification of patent or utility model registration

Ref document number: 5157762

Country of ref document: JP

Free format text: JAPANESE INTERMEDIATE CODE: R151

FPAY Renewal fee payment (event date is renewal date of database)

Free format text: PAYMENT UNTIL: 20151221

Year of fee payment: 3

R250 Receipt of annual fees

Free format text: JAPANESE INTERMEDIATE CODE: R250

R250 Receipt of annual fees

Free format text: JAPANESE INTERMEDIATE CODE: R250

R250 Receipt of annual fees

Free format text: JAPANESE INTERMEDIATE CODE: R250

R250 Receipt of annual fees

Free format text: JAPANESE INTERMEDIATE CODE: R250

R250 Receipt of annual fees

Free format text: JAPANESE INTERMEDIATE CODE: R250

R250 Receipt of annual fees

Free format text: JAPANESE INTERMEDIATE CODE: R250

R250 Receipt of annual fees

Free format text: JAPANESE INTERMEDIATE CODE: R250

R250 Receipt of annual fees

Free format text: JAPANESE INTERMEDIATE CODE: R250

LAPS Cancellation because of no payment of annual fees