JP2010058649A - 鉄道車両用3軸操舵台車及び鉄道車両 - Google Patents

鉄道車両用3軸操舵台車及び鉄道車両 Download PDF

Info

Publication number
JP2010058649A
JP2010058649A JP2008226153A JP2008226153A JP2010058649A JP 2010058649 A JP2010058649 A JP 2010058649A JP 2008226153 A JP2008226153 A JP 2008226153A JP 2008226153 A JP2008226153 A JP 2008226153A JP 2010058649 A JP2010058649 A JP 2010058649A
Authority
JP
Japan
Prior art keywords
steering
shaft
carriage
axis
railway vehicle
Prior art date
Legal status (The legal status is an assumption and is not a legal conclusion. Google has not performed a legal analysis and makes no representation as to the accuracy of the status listed.)
Granted
Application number
JP2008226153A
Other languages
English (en)
Other versions
JP5267857B2 (ja
Inventor
Takuji Nakai
拓自 中居
Yoshi Sato
與志 佐藤
Satoshi Kikko
智 亀甲
Arihito Tsutsui
有仁 筒井
Current Assignee (The listed assignees may be inaccurate. Google has not performed a legal analysis and makes no representation or warranty as to the accuracy of the list.)
Nippon Steel Corp
Original Assignee
Sumitomo Metal Industries Ltd
Priority date (The priority date is an assumption and is not a legal conclusion. Google has not performed a legal analysis and makes no representation as to the accuracy of the date listed.)
Filing date
Publication date
Application filed by Sumitomo Metal Industries Ltd filed Critical Sumitomo Metal Industries Ltd
Priority to JP2008226153A priority Critical patent/JP5267857B2/ja
Publication of JP2010058649A publication Critical patent/JP2010058649A/ja
Application granted granted Critical
Publication of JP5267857B2 publication Critical patent/JP5267857B2/ja
Active legal-status Critical Current
Anticipated expiration legal-status Critical

Links

Images

Landscapes

  • Steering-Linkage Mechanisms And Four-Wheel Steering (AREA)

Abstract

【課題】操舵装置を設けた場合であっても、台車の構成が複雑になることを回避する。
【解決手段】台車1に設けられる車軸2f、2m、2rが、主電動機6によって駆動される2つの駆動軸Mpと、主電動機によって駆動されない1つの付随軸Tsとで対をなす鉄道車両用3軸操舵台車及びこの3軸操舵台車を備えた鉄道車両である。車軸を操舵する操舵装置3が、前記付随軸Tsのみに取り付けられている。この3軸操舵台車を鉄道車両に少なくとも1台備える場合は、3軸操舵台車の付随軸Tsが、車両の進行方向における最も後ろ側になるように備えさせる。
【効果】操舵装置を付随軸のみに取り付けるので、3軸操舵台車に搭載する駆動・制動装置として、従来の駆動・制動装置を流用することができる。
【選択図】図1

Description

本発明は、主電動機によって駆動される2つの駆動軸と、主電動機によって駆動されない1つの付随軸を、同一の台車内に有する3軸操舵台車、及びこの3軸操舵台車を有する鉄道車両に関するものである。
曲線路を通過する際、車輪に作用する旋回抵抗力(横圧)を低減するために、車軸を曲線路に沿って移動させる操舵台車がある。
この操舵台車では、車体と台車間の相対変位(ボギー変位)を利用して車軸を曲線路の中心に向け、車輪が曲線路に対して持つ角度(アタック角)を低下させ、曲線路を通過する時の旋回抵抗力(横圧)を低減させるようにしている。
ところで、機関車等では、通常、台車に取り付けられた全ての車軸が駆動軸となっている。従って、前記横圧を低減するために、台車の固定軸距を短くする場合が多い。しかしながら、主に機関車等で用いられている3軸台車の場合、進行方向に向かって前方の車軸(以下、先頭軸という。)と後方の車軸(以下、後尾軸という。)の軸間距離が長くなるので、前記横圧が増加する傾向がある。
このため、例えば特許文献1では、先頭軸及び後尾軸を操舵させる機構を有した操舵台車が提案されている。
特開平9−11899号公報
ところで、3軸台車では、例えば図3のように、台車1に設けられた3本の車軸2f、2m、2rの内、後尾軸2rのみに操舵装置3を取り付けた場合も、台車枠1a及び後尾軸2rを効率的に操舵させることができる。
この構成では、後尾軸2rに取り付けた操舵装置3により、先頭軸2f及び進行方向の真中の車軸(以下、中間軸2mという。)を支持する台車枠1aが、リンク支持点3aを介して操舵方向に荷重を受ける(図4)。この荷重により先頭軸2fに取り付けた車輪のアタック角及び横圧を低減することが可能になる。このときに、操舵装置3を取り付けた後尾軸2rは、台車枠1aに対してヨーイング方向に大きく移動することになる。
なお、図4中の白抜き矢印イは先頭軸2fに作用する内軌側横圧、白抜き矢印ロは先頭軸2fに作用する外軌側横圧、白抜き矢印ハは後尾軸2rに作用する縦クリープ力、白抜き矢印ニは台車枠1aに作用する作用力、矢印ホは台車枠1aに作用するステアリングモーメントを示す。
操舵装置3を取り付ける後尾軸2rが、台車枠1aに主電動機及び歯車装置を取り付ける必要のない付随軸の場合、台車枠1aには、後尾軸2rに装着したブレーキディスク4に作用させるディスクブレーキ装置5を取り付けるだけである。従って、図5に示したように、図4に示した操舵台車を構成することは比較的容易である。
しかしながら、操舵装置3を取り付ける後尾軸2rが、台車枠1aに主電動機6及び歯車装置7を取り付ける必要がある駆動軸の場合、歯車装置7及び可撓継ぎ手8の許容変位を大きくする必要がある。また、後尾軸2rと主電動機6の隙間を大きくするために、小型の主電動機6aを採用する必要がある。さらに、ディスクブレーキ装置の取り付けができないので、車輪9の踏面に押し付ける踏面ブレーキ装置10を取り付けることになるが、この踏面ブレーキ装置10の動き量(ストローク)を大きくする必要がある(図6参照)。
このように、駆動軸を操舵する操舵台車の場合、操舵する側の車軸を駆動する主電動機、可撓継ぎ手、踏面ブレーキ装置等の駆動・制動装置は、台車枠と車軸の前後方向及びヨーイング方向の相対移動量を大きくとれるような装置構成にすることが必要になる。
そこで、2軸台車ではあるが、特許文献2で、車軸の前後方向の変位を大きくとれる軸箱支持装置を有する操舵台車が提案されている。
特許第3394151号公報
また、輪重を低減するために、3軸台車に換えて、図7に示すように、2つの2軸駆動台車Aの間に2軸付随台車Bを取り付けた例もある。
本発明が解決しようとする問題点は、駆動軸を操舵する3軸操舵台車の場合、台車に搭載する駆動・制動装置に台車枠と車軸の前後方向及びヨーイング方向の相対移動量を大きくとれるようにする必要があり、台車の構成が複雑になるという点である。
本発明の鉄道車両用3軸操舵台車は、
操舵装置を設ける場合であっても、台車の構成が複雑になることを回避するために、
台車に設けられる車軸が、主電動機によって駆動される2つの駆動軸と、主電動機によって駆動されない1つの付随軸とで対をなし、
車軸を操舵する操舵装置が、前記付随軸のみに取り付けられていることを最も主要な特徴としている。
本発明の3軸操舵台車では、操舵装置を台車内の1つの車軸のみに取り付けて横圧を低減させる際、操舵装置を付随軸のみに取付けることで、通常の3軸台車と同様の駆動・制動装置の装着が可能となる。
本発明の3軸操舵台車を、鉄道車両に少なくとも1台備える場合には、前記付随軸が、鉄道車両の進行方向における最も後ろ側になるように備えさせる。これが本発明の鉄道車両である。このようにすることで、脱線に対する安全性を高めることができる。
また、本発明の3軸操舵台車を、鉄道車両の進行方向の前後両側に備える場合には、前記両操舵台車の付随軸を、車両の最も内側になるように備えさせる。これが本発明の鉄道車両である。このようにすることで、鉄道車両のどちらを進行方向の前側としても良くなる。
本発明によれば、操舵装置を付随軸のみに取り付けるので、3軸操舵台車に搭載する駆動・制動装置として、従来の駆動・制動装置を流用することができる。
そして、本発明の3軸操舵台車を、鉄道車両に少なくとも1台備える場合には、付随軸が鉄道車両の進行方向における最も後ろ側になるように備えさせれば、脱線に対する安全性を高めることができる。
また、本発明の3軸操舵台車を、鉄道車両の両側に備える場合には、両操舵台車の付随軸を車両の最も内側になるように備えさせれば、鉄道車両のどちらを進行方向の前側としても良くなる。
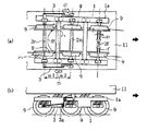
以下、本発明を実施するための最良の形態について、図1及び図2を用いて説明する。
先に説明したように、後尾軸のみに操舵装置を取り付けた3軸操舵台車を考えると、付随軸を操舵する図5の場合、台車に車軸のヨーイング方向移動に対応可能なディスクブレーキ装置を装着することで、3軸操舵台車を構成することが可能である。
一方、駆動軸を操舵する図6の場合、操舵装置を取り付けない先頭軸及び中間軸については、台車に通常の駆動装置及び踏面ブレーキ装置を取り付けることが可能である。しかしながら、操舵装置を取り付ける後尾軸の場合は、車軸のヨーイング方向変位に対応できる特殊な踏面ブレーキ装置及び駆動装置を台車に取り付ける必要がある。
そこで、本発明では、図1のように、操舵装置3を取り付ける後尾軸2rを付随軸として、この付随軸と対をなす先頭軸2f及び中間軸2mは、主電動機6、歯車装置7等からなる駆動装置を取り付ける駆動軸とする。このような構成とすれば、特殊構造の駆動・制動装置を必要とせずに3軸操舵台車を構成することができる。
本発明の3軸操舵台車に採用する操舵装置3は、後尾軸2rを操舵できるものであれば、特に構成は問わない。例えば図1では、車体11側と台車枠1a側を第1のリンク3bでそれぞれ回動が自在なように連結し、この第1のリンク3bの中間部と後尾軸2rの軸箱12を、第2のリンク3cでそれぞれ回動が自在なように連結した構成のものを示している。このリンク機構を用いた操舵装置3の場合、曲線路では台車1が車体11に対して旋回すると、その旋回角に応じて後尾軸2rが曲線方向に向くので、駆動源を必要としない。
本発明の3軸操舵台車を、鉄道車両に少なくとも1台備える本発明の鉄道車両では、前記付随軸を、車両の進行方向における最も後ろ側になるように備えさせる。すなわち、本発明の鉄道車両では、3軸操舵台車の操舵装置3は進行方向の最も後位に取り付けられるので、付随軸が後尾軸2r、操舵装置3を取付けない駆動軸が前軸2f及び中間軸2mの構成になる。
このような構成の本発明の鉄道車両では、駆動軸を軸重の大きい進行方向の前側に、付随軸を進行方向の後側に各々配置することで、進行方向前位の輪重抜けを防止しながら、脱線に対する安全性を高めることができる。また、従来の駆動・制動装置を流用することができる。
また、3軸全てに操舵装置を取り付ける操舵台車と比較して、操舵装置の構造が簡単になる分重量が軽くなる。
従って、車体11及び台車枠1aを負担する輪軸1本当たりの負担荷重(軸重、輪重)を2軸台車並に低減させながら、操舵機構により車輪に作用する横圧を低減することが可能になって、横圧対輪重比(Q/P)を低減できる。
また、車軸1本当たりの負担荷重を最大化すれば、機関車等を大型化することが可能になる。さらに、図7のように2軸台車を3台使用するに比べて、床下のスペースを確保でき、搭載性が向上する。またさらに、輪重の低下により車両から発生する騒音が低減する。
本発明の3軸操舵台車を、鉄道車両の進行方向の前後両側に備えた本発明の鉄道車両では、図2のように、前記両操舵台車の付随軸Tsを、車両の最も内側になるように備えさせる。このような構成とすれば、鉄道車両のどちらを進行方向の前側としても良くなる。なお、図2中のMpは駆動軸を示す。
本発明は上記した例に限らないことは勿論であり、請求項に記載の技術的思想の範疇であれば、適宜実施の形態を変更しても良いことは言うまでもない。
本発明の3軸操舵台車の要部の一例を示した図で、(a)は底面から見た図、(b)は側面から見た図である。 本発明の3軸操舵台車を進行方向の前後両側に備えた本発明の鉄道車両を示した図である。 直線路走行時の3軸操舵台車の一例を示した図1と同様の図である。 曲線路走行時の3軸操舵台車の後尾軸を操舵する際のメカニズムを示した図1と同様の図である。 付随軸のみに操舵装置を装着した3軸操舵台車を示した図1と同様の図である。 駆動軸のみに操舵装置を装着した3軸操舵台車を示した図1と同様の図である。 2軸操舵台車を3台備えた鉄道車両を示した図である。
符号の説明
1 台車
2f 先頭軸
2m 中間軸
2r 後尾軸
3 操舵装置
6 主電動機
7 歯車装置
Ts 付随軸
Mp 駆動軸

Claims (4)

  1. 台車に設けられる車軸が、主電動機によって駆動される2つの駆動軸と、主電動機によって駆動されない1つの付随軸とで対をなし、
    車軸を操舵する操舵装置が、前記付随軸のみに取り付けられていることを特徴とする鉄道車両用3軸操舵台車。
  2. 前記操舵装置が、リンクを用いた操舵機構によるものであることを特徴とする請求項1に記載の鉄道車両用3軸操舵台車。
  3. 請求項1又は2に記載の3軸操舵台車を、鉄道車両に少なくとも1台備えた鉄道車両であって、
    前記3軸操舵台車の付随軸が、車両の進行方向における最も後ろ側になるように備えさせたことを特徴とする鉄道車両。
  4. 請求項1又は2に記載の3軸操舵台車を、鉄道車両の進行方向の前後両側に備えた鉄道車両であって、
    前記両3軸操舵台車の付随軸を、車両の最も内側になるように備えさせたことを特徴とする鉄道車両。
JP2008226153A 2008-09-03 2008-09-03 鉄道車両用3軸操舵台車及び鉄道車両 Active JP5267857B2 (ja)

Priority Applications (1)

Application Number Priority Date Filing Date Title
JP2008226153A JP5267857B2 (ja) 2008-09-03 2008-09-03 鉄道車両用3軸操舵台車及び鉄道車両

Applications Claiming Priority (1)

Application Number Priority Date Filing Date Title
JP2008226153A JP5267857B2 (ja) 2008-09-03 2008-09-03 鉄道車両用3軸操舵台車及び鉄道車両

Publications (2)

Publication Number Publication Date
JP2010058649A true JP2010058649A (ja) 2010-03-18
JP5267857B2 JP5267857B2 (ja) 2013-08-21

Family

ID=42185962

Family Applications (1)

Application Number Title Priority Date Filing Date
JP2008226153A Active JP5267857B2 (ja) 2008-09-03 2008-09-03 鉄道車両用3軸操舵台車及び鉄道車両

Country Status (1)

Country Link
JP (1) JP5267857B2 (ja)

Cited By (3)

* Cited by examiner, † Cited by third party
Publication number Priority date Publication date Assignee Title
CN102267471A (zh) * 2011-05-12 2011-12-07 西南交通大学 高速机车a1a轴式弹性架悬转向架
JP2017024580A (ja) * 2015-07-23 2017-02-02 幸徳 川本 鉄道車両の台車装置
CN112622942A (zh) * 2021-01-11 2021-04-09 宝鸡中铁中联科技发展有限公司 电传动六轴轨道牵引车

Citations (7)

* Cited by examiner, † Cited by third party
Publication number Priority date Publication date Assignee Title
US3212456A (en) * 1962-10-17 1965-10-19 Gen Motors Corp Articulated truck
JPS4932816B1 (ja) * 1970-11-13 1974-09-03
US5613444A (en) * 1995-11-08 1997-03-25 General Electric Company Self-steering railway truck
JP2000272514A (ja) * 1999-03-29 2000-10-03 West Japan Railway Co 鉄道車両用台車の操舵方法と装置
US20020098034A1 (en) * 2001-01-24 2002-07-25 Conaway Jerry Lee Multi-degree of freedom elastomeric joint
US20080196618A1 (en) * 2005-07-13 2008-08-21 Rudolf Sommerer Running gear for rail vehicles
JP2010058650A (ja) * 2008-09-03 2010-03-18 Sumitomo Metal Ind Ltd 鉄道車両用操舵台車及び鉄道車両、連接車両

Patent Citations (7)

* Cited by examiner, † Cited by third party
Publication number Priority date Publication date Assignee Title
US3212456A (en) * 1962-10-17 1965-10-19 Gen Motors Corp Articulated truck
JPS4932816B1 (ja) * 1970-11-13 1974-09-03
US5613444A (en) * 1995-11-08 1997-03-25 General Electric Company Self-steering railway truck
JP2000272514A (ja) * 1999-03-29 2000-10-03 West Japan Railway Co 鉄道車両用台車の操舵方法と装置
US20020098034A1 (en) * 2001-01-24 2002-07-25 Conaway Jerry Lee Multi-degree of freedom elastomeric joint
US20080196618A1 (en) * 2005-07-13 2008-08-21 Rudolf Sommerer Running gear for rail vehicles
JP2010058650A (ja) * 2008-09-03 2010-03-18 Sumitomo Metal Ind Ltd 鉄道車両用操舵台車及び鉄道車両、連接車両

Cited By (4)

* Cited by examiner, † Cited by third party
Publication number Priority date Publication date Assignee Title
CN102267471A (zh) * 2011-05-12 2011-12-07 西南交通大学 高速机车a1a轴式弹性架悬转向架
CN102267471B (zh) * 2011-05-12 2013-07-03 西南交通大学 高速机车a1a轴式弹性架悬转向架
JP2017024580A (ja) * 2015-07-23 2017-02-02 幸徳 川本 鉄道車両の台車装置
CN112622942A (zh) * 2021-01-11 2021-04-09 宝鸡中铁中联科技发展有限公司 电传动六轴轨道牵引车

Also Published As

Publication number Publication date
JP5267857B2 (ja) 2013-08-21

Similar Documents

Publication Publication Date Title
CN101868395B (zh) 铁道车辆用径向转向架、铁道车辆和连接车辆
CN102317134B (zh) 导轨式车辆用转向架
KR100916594B1 (ko) 지렛대작용을 이용한 철도차량용 능동 조향대차
JP2010221949A (ja) 軌道系車両用台車
WO2015056560A1 (ja) 走行台車、及び軌道系交通システムの車両
JP2014172437A (ja) 平行カルダン駆動方式の操舵台車
JP2013023094A (ja) 鉄道車両用操舵台車
JP5765432B2 (ja) 鉄道車両用台車の操舵方法及び装置並びに台車
JP5512108B2 (ja) 鉄道車両用操舵台車及び鉄道車両、連接車両
KR101654896B1 (ko) 철도차량용 공간절약형 대차
JP5267857B2 (ja) 鉄道車両用3軸操舵台車及び鉄道車両
JP2009173225A (ja) 車輪ユニット、台車、鉄道車両及び鉄道システム
KR101288526B1 (ko) 철도차량용 윤축 조향장치
JP6079881B2 (ja) 鉄道車両用台車
KR101329001B1 (ko) 고속 저상 독립차륜형 조향장치
JP4690712B2 (ja) 車両
KR20220069418A (ko) 철도차량용 림 대차
KR20130080527A (ko) 철도차량용 윤축 조향 시스템
JP7298978B2 (ja) 台車および車両
JPH08104233A (ja) 鉄道車両用台車の操舵装置
JP2017024536A (ja) 鉄道車両用台車
JP2006273078A (ja) 台車
JPH092263A (ja) 鉄道車両用台車
JPS6157227B2 (ja)
JPH11198809A (ja) 鉄道車両用台車

Legal Events

Date Code Title Description
A621 Written request for application examination

Free format text: JAPANESE INTERMEDIATE CODE: A621

Effective date: 20100927

A977 Report on retrieval

Free format text: JAPANESE INTERMEDIATE CODE: A971007

Effective date: 20120517

A131 Notification of reasons for refusal

Free format text: JAPANESE INTERMEDIATE CODE: A131

Effective date: 20120619

A521 Written amendment

Free format text: JAPANESE INTERMEDIATE CODE: A523

Effective date: 20120820

A521 Written amendment

Free format text: JAPANESE INTERMEDIATE CODE: A821

Effective date: 20120820

A521 Written amendment

Free format text: JAPANESE INTERMEDIATE CODE: A523

Effective date: 20121011

A711 Notification of change in applicant

Free format text: JAPANESE INTERMEDIATE CODE: A712

Effective date: 20121011

TRDD Decision of grant or rejection written
A01 Written decision to grant a patent or to grant a registration (utility model)

Free format text: JAPANESE INTERMEDIATE CODE: A01

Effective date: 20130411

A61 First payment of annual fees (during grant procedure)

Free format text: JAPANESE INTERMEDIATE CODE: A61

Effective date: 20130424

R151 Written notification of patent or utility model registration

Ref document number: 5267857

Country of ref document: JP

Free format text: JAPANESE INTERMEDIATE CODE: R151

S533 Written request for registration of change of name

Free format text: JAPANESE INTERMEDIATE CODE: R313533

R350 Written notification of registration of transfer

Free format text: JAPANESE INTERMEDIATE CODE: R350