JP2010057764A - 遊技機の可変入賞装置 - Google Patents

遊技機の可変入賞装置 Download PDF

Info

Publication number
JP2010057764A
JP2010057764A JP2008227525A JP2008227525A JP2010057764A JP 2010057764 A JP2010057764 A JP 2010057764A JP 2008227525 A JP2008227525 A JP 2008227525A JP 2008227525 A JP2008227525 A JP 2008227525A JP 2010057764 A JP2010057764 A JP 2010057764A
Authority
JP
Japan
Prior art keywords
opening
ball
game board
closing
winning device
Prior art date
Legal status (The legal status is an assumption and is not a legal conclusion. Google has not performed a legal analysis and makes no representation as to the accuracy of the status listed.)
Granted
Application number
JP2008227525A
Other languages
English (en)
Other versions
JP5144438B2 (ja
Inventor
Kiyoshi Kadonaga
清 門永
Current Assignee (The listed assignees may be inaccurate. Google has not performed a legal analysis and makes no representation or warranty as to the accuracy of the list.)
Heiwa Corp
Original Assignee
Heiwa Corp
Priority date (The priority date is an assumption and is not a legal conclusion. Google has not performed a legal analysis and makes no representation as to the accuracy of the date listed.)
Filing date
Publication date
Application filed by Heiwa Corp filed Critical Heiwa Corp
Priority to JP2008227525A priority Critical patent/JP5144438B2/ja
Publication of JP2010057764A publication Critical patent/JP2010057764A/ja
Application granted granted Critical
Publication of JP5144438B2 publication Critical patent/JP5144438B2/ja
Expired - Fee Related legal-status Critical Current
Anticipated expiration legal-status Critical

Links

Images

Landscapes

  • Pinball Game Machines (AREA)

Abstract

【課題】過入賞が生じるのを極力低減させつつ、遊技者の遊技意欲を損なわぬようバリエーションに富んだ球の動きが実現可能な可変入賞装置を提供する。
【解決手段】遊技盤の遊技領域内に打ち出し機構により打ち出された球の一部を遊技領域内に形成された開口部より遊技盤の前後方向に延長する内部空間に受け入れる収容体と、開口部の外側に配置され、打ち出された球が前記内部空間に進入するのを閉成状態において阻止し、打ち出された球が空間内に進入するのを開成状態において許容する開閉体と、内部空間に受け入れられた球を取込む入賞口とを備える可変入賞装置であって、可変入賞装置は前記開口部の一部に沿って設けられ、空間と連通する複数の通過口を備え、複数の通過口は遊技盤左右方向に対して傾斜を有し、かつ遊技盤の上下に配置され、内部空間に進入が許容された球を検出する検出器を備える構成とした。
【選択図】図2

Description

本発明は、遊技機に配置される入賞装置に関し、特にパチンコ遊技機の遊技盤の遊技領域内に配置され、球を取込む入賞口を備える可変入賞装置に関する。
従来、パチンコ遊技機の形態としてパチンコ球と称される球を打ち出し機構により連続的乃至は間欠的に発射し、発射された球(以下、発射球と称する)が遊技盤上の遊技領域内に配置された可変入賞装置内に進入し、さらに可変入賞装置に形成された特別入賞口に球が取込まれることによって、遊技者にとって有利な遊技状態(大当り)が開始される形態の遊技機が知られている。
引用文献1乃至引用文献3に示すように可変入賞装置の基本的構成としては、遊技盤上に開口し、発射球を受け入れる空間を形成する収容体と、収容体に設けられ、かつ、駆動手段により開閉する一対の阻止部材と、当該収容体に横架され空間を上下に仕切るステージと、ステージ近傍に設けられる特別入賞口及び一般入賞口とを備える。
一対の阻止部材は、通常時は閉成状態に維持され、発射球が収容体により形成される空間内に進入するのを阻止する一方、所定の条件が満たされ開閉手段が駆動することにより開成状態となり、発射球が空間内に進入するのを許容する。そして、空間内への進入が許容された発射球はステージ上に形成された凹凸、障壁等によりステージ上における進路を誘導又は妨害されつつ、最終的にステージ近傍に形成された一般入賞口又は特別入賞口に取込まれる。一般入賞口及び特別入賞口の近傍又は下流側には近接センサ等の検出器が設けられており、球が取込まれたことを検出すると、検出信号を遊技機全体の制御を行う主制御装置に出力する。主制御装置は、前記検出器から検出信号が入力されると、検出信号の種別に基づいて賞球払出処理や、遊技者にとって有利な状態となる処理及びその他遊技に関する処理を実行する。ここで、賞球払出処理とは、例えば発射球が最終的に一般入賞口又は特別入賞口に取込まれたことに基づいて、遊技者に対して例えば賞球としての球を10個払い出すこと等により実現される。また、遊技者にとって有利な状態となる処理とは、例えば発射球が特別入賞口に取込まれたことに基づいて実行される処理であって、予め設定された条件(例えば阻止部材が18回開閉するまで、又は一般入賞口又は特別入賞口に取込まれる球の総数が10個となるまで)が成立するまで、阻止部材を連続して開閉する処理(開閉処理)を1サイクル(1ラウンド)とし、1サイクル中に球が再び特別入賞口に取込まれた場合には、再度開閉処理を繰り返すこと等により実現される。即ち、遊技者にとって有利な状態とは一度に多くの払出しを受けることができる状態をいう。なお、主制御装置はこの他、外部通信端末を備え、遊技機が設置される遊技施設全体の管理を行うホストコンピュータに対し、払出情報、不正監視情報等の各種の情報を出力する。よって、遊技者にとっての最大の関心事は、阻止部材により空間内への球の進入が阻止されずに発射球が空間内に進入することはもとより、さらに空間内に進入した発射球が一般入賞口ではなく、特別入賞口に取込まれるか否かにある。しかし、特別入賞口に取込まれるか否かは阻止部材又は空間内に設けられた凹凸、障壁に依拠するため、発射球が単一の進入経路から空間内に進入した場合、進入した発射球は毎回ステージ上の略同じ位置から誘導され、ステージ内の球の動きが単調になり易く、遊技者は空間内に進入した球が特別入賞口に取込まれないことを瞬間的に判断することができる機会が増大し、遊技意欲が減退する要因となる。
引用文献2及び引用文献3に記載された発明は上記問題を解消するため、阻止部材に複数の誘導路を設けることにより、誘導路から空間内に進入する際の球の軌跡にバリエーションを加え、以ってステージ上の球の動きにバリエーションを付与する構成ではあるが、空間内に進入した発射球をカウントし、賞球払出信号を送出する検出器が一般入賞口及び特別入賞口の近傍又は下流側にのみ設けられている構成であるため、先行して空間内に進入した球が直ぐに一般入賞口及び特別入賞口に取込まれずにステージ上を動く間に、後続の球が空間内に進入することにより、最終的に検出器によりカウントされる球の個数が予め設定された開閉処理の終了条件(例えば10個)を超えてカウントされるいわゆる「過入賞」が生じ易く、遊技施設にとっては想定した払出数よりも多くの球が払い出される等、球の払出管理上の不都合が生じる。
また、引用文献1に記載された発明は、阻止部材の直下に検出器を設けることにより、空間内に進入する球を即時にカウントし、賞球払出処理を実行することにより過入賞を低減させる構成ではあるが、空間内に進入する際の発射球の軌跡がバリエーションに乏しく遊技意欲の減退を招き易い。
特開2006−230487号公報 特開平02−177985号公報 特開平01−131688号公報
そこで、本発明は上記課題を解決すべく過入賞が生じるのを極力低減させつつ、遊技者の遊技意欲を損なわぬように発射球が可変入賞装置へ進入する際のスピード感を維持し、さらに、可変入賞装置に進入した後の発射球の動きをバリエーションに富んだものとすることが可能な可変入賞装置を提供する。
上記課題を解決するため、本発明の第一の構成として、遊技盤に配置され、遊技盤の遊技領域内に打ち出し機構により打ち出された球の一部を遊技領域内に形成された開口部より、遊技盤の前後方向に延長する内部空間に受け入れる収容体と、開口部の外側に配置され、打ち出された球が前記内部空間に進入するのを閉成状態において阻止し、打ち出された球が空間内に進入するのを開成状態において許容する開閉体と、内部空間に受け入れられた球を取込む入賞口とを備える可変入賞装置であって、可変入賞装置は前記開口部の一部に沿って設けられ、空間と連通する複数の通過口を備え、複数の通過口は遊技盤左右方向に対して傾斜を有し、かつ遊技盤の上下に配置され、内部空間に進入が許容された球を検出する検出器を備える構成とした。
本構成からなる可変入賞装置によれば、複数の通過口が開口部の一部に沿って設けられ、遊技盤の上下に配置されたことにより、開閉体により内部空間に進入するのを許容された球が高さの異なる複数の通過口を通過した後に開口部から内部空間内に進入することができるため、内部空間に進入した後の球の動きが変化に富んだものとなる。
また、複数の通過口が遊技盤左右方向に対して傾斜を有していることから、開閉体により空間内への進入を許容された球がスムーズに空間内に進入することができる。
さらに、複数の通過口が球を検出する検出器を備えたことにより、空間内に進入する球を即時に検出することができるため、過入賞が生じる可能性を低減することができる。
また、本発明の第二の構成として、開閉体は一端が複数の通過口に近接し、他端が前記複数の通過口よりも外側に位置する支持軸により回動自在に支持される誘導片を備え、誘導片の傾斜角度は前記開閉体の開閉動作に伴って複数の通過口と対応する角度に変化し、誘導片は開閉体の開成動作に伴って下方の通過口への進路を漸次閉鎖し、球を上方に位置する通過口に誘導する構成とした。
本構成によれば、第一の構成から生じる効果に加え、開閉体の備える誘導片が開閉体の動作に伴って角度を変化させるため、開閉体の開閉状況によって複数の通過口のうち、いずれの通過口を通過させるかを振り分けることができる。
また、誘導片が開閉体の開成動作に伴って下方の誘導口への進路を漸次閉鎖するため、閉成状態から開成状態に至るまでの間は球を上方に位置する通過口に誘導することができる。
また、本発明の第三の構成として、誘導片が開閉体の閉成動作に伴って下方の通過口への進路を漸次開放し、球を下方に位置する通過口に誘導する構成とした。
本構成によれば第二の構成から生じる効果に加え、誘導片が開閉体の閉成動作に伴って下方の誘導口への進路を漸次開放するため、開成状態から閉成状態に至るまでの間は球を下方に位置する通過口に誘導することができる。
また、本発明の第四の構成として、支持軸は上方に位置する通過口の下端よりも上方かつ、球の直径よりも外側に位置する構成とした。
本構成によれば、第二,第三の構成から生じる効果に加え、支持軸が上方に位置する通過口の下端よりも上方に位置することにより誘導片が複数の通過口に対して常に傾斜した形態を維持することができるとともに、球の直径よりも外側に位置していることから、誘導片と複数の通過口との間で球を挟み込む状態、即ち、球噛みの発生を防止することができ、開閉体により空間内に進入が許容された球を通過口に対してスムーズに誘導することができる。
また、本発明の第五の構成として、複数の通過口のうち、少なくとも1つの通過口が、開閉体の開成限度位置における誘導片の遊技盤左右方向に対する傾斜角度以上の傾斜を有して配置される構成とした。
本構成によれば、第二乃至第四の構成から生じる効果に加え、通過口が開閉体の開成限度位置における誘導片の遊技盤左右方向に対する傾斜角度以上の傾斜を有して配置されたことにより、開閉体が開成限度位置まで開成した状態において開閉体の傾斜によって加速しながら空間内方向に転動する球と、通過口とが互いに干渉することがなくなるため、球の速度を殺さずに空間内に進入させることができる。また、通過口の傾斜角度を開成限度位置における誘導片の遊技盤左右方向に対する傾斜角度よりも大きくして配置すれば球の速度を増加させて空間内に進入させることができる。
なお、後に詳述するが、開成限度位置とは開閉体が閉成状態から開成状態へ移行する場合に、閉成状態における開閉体の傾斜角度に対して最も大きい角度差が生じる位置をいい、開閉体が最大限に開いた状態をいうものとする。
また、本発明の第六の構成として、通過口が開閉体の方向に突出する戻り球防止片を備える構成とした。
本構成によれば、第一乃至第五の構成から生じる効果に加え、通過口が開閉体の方向に突出する戻り防止片を備えたことにより、一旦通過口を通過して検出器により検出された球が台のゆれや他の外乱により、他の通過口が備える検出器により再度検出される二重検出を防止することができる。
なお、上記発明の概要は、本発明の必要な特徴の全てを列挙したものではなく、これらの特徴群のサブコンビネーションもまた、発明となり得る。
以下、発明の実施形態を通じて本発明を詳説するが、以下の実施形態は特許請求の範囲に係る発明を限定するものではなく、また実施形態の中で説明される特徴の組み合わせの全てが発明の解決手段に必須であるとは限らない。また、本明細書において前,後,左,右とは各図において矢印で示す方向により特定されるものとする。
図1は、可変入賞装置50が配置されたパチンコ遊技機10の概略正面図である。
同図においてパチンコ遊技機10は、パチンコ遊技機10の躯体を構成し、遊技施設内の島と称される設備に設置される外枠11と、外枠の前面一側部に設けられた一対のヒンジ12,13により軸支される内枠14とを備える。内枠14は、前記一対のヒンジ12,13に軸支されることにより外枠11の前後方向に開閉可能である。
内枠14の上部には矩形状の開口部が設けられ、遊技盤100が開口部を閉塞するように遊技盤100に設けられた取り付け機構15aを介して交換可能に取り付けられる。
内枠14の前面の上方一側部には図外のヒンジにより、窓部15を備える前面枠16が内枠14の前後方向に開閉可能に取り付けられる。前面枠16は内枠14の上方を覆うように閉鎖された状態において、ロック機構16aが操作されると内枠14と一体に係合され、遊技者は窓部15を通して窓部15の形状の範囲内で遊技盤100の一部が視認可能となる。
内枠14の下方一側部には図外のヒンジにより、内枠14の前後方向に開閉可能なパネル体17が取り付けられる。パネル体17は内枠14の下方を覆うように閉鎖された状態において、図外のロック機構が操作されることにより内枠14と一体に係止される。
パネル体17の前面には払出口18が開設され、皿構造体20及びハンドル24が前側に突設される。払出口18は、遊技盤100の裏側に設置された図外の球払出機構から払出される球を上側の皿構造体20上に排出する。上側の皿構造体20は上記払出口18から排出された、或いは遊技者によって供給された貯留球を整列させつつ、打ち出し機構22側に供給する図外の供給路を備える。供給路は払出口18から漸次降下する傾斜面として形成され、貯留された球を一列に整列させながら打ち出し機構22へ流下させる構造である。
皿構造体20に貯留された球が図外の供給路を流下して、打ち出し機構22に供給された状態において、遊技者によりハンドル24が回動操作されると、打ち出し機構22はハンドル24の操作量に応じた打ち出し力により球を遊技盤100の上方へ打ち出す。
なお、上記内枠14と一体に係止される前面枠16及びパネル体17の前面には図外の複数の表示灯やスピーカが配設され、遊技の進行やエラーの発生等に合わせて後述する主制御部200により駆動される。
遊技盤100内には外ガイドレール36及び内ガイドレール37とにより囲まれる遊技領域100aが形成される。外ガイドレール36は遊技盤100の周囲を囲繞するように湾曲して配設される。内ガイドレール37は外ガイドレール36の一部の範囲に沿って並列配置される部材である。また、外ガイドレール36と内ガイドレール37との間に挟まれる遊技盤100の左方の領域には打ち出し通路100bが形成される。遊技盤100には概略、遊技領域100aの略中央に配置される可変入賞装置50と、可変入賞装置50を取り囲むように配置される複数の一般入賞口31と、遊技領域100aの下方において左右方向に隔てて配置される複数の始動入賞口32と、遊技領域100aの最下方の略中央に配置されるアウト口33と、可変入賞装置50の近傍に配置される一対の風車34,34と、始動入賞口32の略直上に配置される誘導風車35,35と、遊技盤100に対して打ち込まれる多数の釘38を備える。また、遊技盤100の遊技領域100aの略中央には後述の可変入賞装置50の収容体49を遊技盤100の前側から挿入するための略矩形の貫通孔が開設される。
上記構成からなる遊技盤100上に打ち出し機構22から連続的、間欠的に打ち出された球が打ち出し通路100bと遊技領域100aとを隔てる球戻り防止片37aを押し開けて遊技領域100aの上方まで到達すると、打ち出された球は遊技領域100aの上方から下方に流下する過程において、多数の釘38や風車34或いは誘導風車35と接触しながら誘導され、上方から流下する球の一部が一般入賞口31や始動入賞口32に取込まれ、これらの入賞口に取込まれなかった球は最下方のアウト口33に取込まれる。
一般入賞口31、始動入賞口32及びアウト口33に取込まれた球は遊技盤100の裏側に設けられた図外の排出機構を介して排出される。また、球が一般入賞口31に取込まれると、後述の主制御部200が一般入賞口31に設けられた一般球検出器31aからの検出信号に基づいて後述の払出機構206を駆動して払出処理を実行する。
また、球が始動入賞口32に取込まれると、主制御部は始動入賞口32に設けられた始動球検出器32aからの検出信号に基づいて払出機構206に対して払出処理を実行するとともに、可変入賞装置50に設けられた後述の開閉体110a,110bの開閉処理を実行する。開閉処理が実行されると開閉体110a,110bは相対的に短い時間間隔(例えば0.4秒)で一回又は二回連続的に開閉する。そして、開閉体110a,110bが相対的に短い時間開成した状態において、遊技領域100aに到達した球のうち、一部の球が可変入賞装置50内に形成された後述の内部空間R内に取込まれる。
なお、上記主制御部200による開閉処理及び、球Pが可変入賞装置50の空間内に取込まれる過程については後述する。
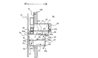
図2は、可変入賞装置50を示す拡大斜視図である。
可変入賞装置50は概略、収容体49と、取り付け基板51と、開閉体110a,110bと、複数の通過口140a乃至140d(図4参照)とを主たる構成とする。以下、順を追って各構成について説明する。取り付け基板51は左右方向に張り出す拡翼部52a,52bを有する盤体であって、固定手段によって、遊技盤100の前面に取り付けられる。拡翼部52a,52bよりも下方の形状は拡翼部52a,52bから下方に向かって複数の折曲部が形成されることにより、左右の幅が漸次縮小する形状である。拡翼部52a,52bよりも上方の形状は拡翼部52a,52bから上方に向かって複数の湾曲部が形成されることにより、左右の幅が漸次縮小する形状である。なお、取り付け基板51の形状は上記形状に何ら限定されるものではなく、意匠上の多様な変更が可能である。
取り付け基板51には二点鎖線で示す開口部40が開設される。
開口部40は遊技盤100の左右方向に延長し、中央に突部を有する下縁40aと、下縁40aの両端部から上方に立ち上がる側縁40b,40cと、後述の開放片68,69と同一形状の切り欠き縁40d,40eと、切り欠き縁40d,40eの端部からくの字状に折曲して互いに近接しつつ上方に立ち上がる肩縁40f,40gと、肩縁40f,40gの上端同士を結ぶ上縁40hとにより形成される後述の内部空間Rへの入り口となる開口である。また、開口部40の略直上には後述のアーチ体120と上側閉鎖体130とが配置され、開口部40の肩縁40f,40gよりも外側には後述の開閉体110a,110bが配置される。
図3は可変入賞装置50を遊技盤100に取り付けた状態を示す断面図である。
可変入賞装置50は収容体49を遊技盤100の前側から後側に挿入することにより取り付けられる。具体的には、取り付け基板51と収容体49とを図外の係合手段により係合した後に、収容体49の後側を遊技盤100の前側から遊技盤100に開設された略矩形の貫通孔に対して挿入し、取り付け基板51が遊技盤100の前面に対して螺子等の固定手段により固着されることにより取り付けられる。つまり、開口部40は遊技盤100の遊技領域100aに臨む開口として形成される。
収容体49は概略、遊技盤100の前後方向に延長する矩形の底板52と、底板52の後端より立ち上がる背面板53と、底板52の左右端面から略垂直に立ち上がり、遊技盤100の前後方向に延長する左右の下部側面板54,55及び左右の上部側面板56,57よりなる前方及び上方開口の略箱型形状である。
底板52は後端部に球排出孔60を備える底面61と、取り付け基板51よりも前方において湾曲部62を介して上方に立ち上がる前側面63により形成される。湾曲部62は後述の特別入賞口90又は後述の一般入賞口91に取込まれた球を球排出孔60へと誘導する空間である。球排出孔60は孔壁に排出球検出器60aを備える。排出球検出器60aは特別入賞口90又は一般入賞口91に取込まれた球が湾曲部62を経て排出球検出器60aを通過した時に、球排出信号を後述の主制御部200へ送出する。
背面板53の外面には後述の開閉体110a,110bを駆動するアクチュエータとしてのソレノイド64と、ソレノイド64のプランジャ151と連結され、後述の支持棒141を介して開閉体110a,110bに開閉力を付与する後述の開閉手段が取り付けられる。
左右の下部側面板54,55は背面板53から遊技盤100の貫通孔及び取り付け基板51の開口部40を超えて遊技盤100の前側まで延長する。下部側面板54,55は取り付け基板51よりも前側において、開口部40の外側に張り出す一対の開放片68,69を備える。開放片68,69は開口部40の外側へ互いに離間して延長する斜片70a,70bと、斜片70a,70bの上端部から互いに対向するように略垂直に立ち上がり延長する垂直片71a,71bとによりなる。斜片70には後述の把持体122a,122bの一部が取り付けられる。
左右の上部側面板56,57は背面板53から取り付け基板51の裏面に当接するまで延長し、外面に後述の支持棒141を支承する貫通孔72を備える。貫通孔72は遊技盤100の前後方向に延長する孔として形成され、貫通孔72内には後述の支持棒141が挿通される。
左右の下部側面板54,55との間には内部空間Rを上下に仕切るように第一ステージ80と第二ステージ85とが架け渡される。第二ステージ85は底板52よりも球Pの直径以上上方に離間した位置に配置される。第二ステージ85の後端部85aは背面板53に固着され、前端部85bが後述の特別入賞口90と近接する位置まで延長する。第二ステージ85は遊技盤100の前方に延長するに伴い、漸次連続して下方に傾斜する傾斜面として形成される。即ち、第二ステージ85上に乗った球Pは矢印で示すように遊技盤100の前方に向かって誘導される。
第二ステージ85の前端部85bの中央及び前側面63の上端縁左右中央との間には特別入賞口90が開設される。特別入賞口90は前側面63から前端部85bに相対向して延長する一対の隔壁92,92の内壁面に、球Pの直径以上の通過孔を有する特別球検出器90aが配置されることにより形成される。特別球検出器90aとしては例えば球Pが通過孔を通過した時にインピーダンスが変化する回路を備えるプレート状の近接スイッチ等が採用される。球Pが第二ステージ85の後方から前方に誘導され、特別入賞口90に取込まれると特別球検出器90aは特別入賞口90に球Pが取込まれた旨の特別入賞信号を後述の主制御部200へ送出する。即ち、球Pが特別入賞口90に取込まれることにより、遊技者にとって有利な遊技状態となる処理が開始される。特別入賞口90に取込まれなかった球Pは一般入賞口91に取込まれる。一般入賞口91は一対の隔壁92,92の外側面と下部側面板54,55の内側面との間に形成される空間であって、空間内に取込まれた球Pは図外の誘導路及び湾曲部62を経て球排出孔60から遊技盤100の裏側へ排出される。即ち、球Pが特別入賞口90及び一般入賞口91のいずれに取込まれた場合であっても、球排出孔60から遊技盤100の裏側へと排出され、排出球検出器60aにより検出される。
第一ステージ80は第二ステージ85よりも球Pの直径以上上方に離間した位置に配置される。第一ステージ80の後端部80aは背面板53の折曲部53aに対して固着され、前端部80bが第二ステージ85の前端部85bよりも前方に延長する。第一ステージ80の後部かつ左右方向中央には収容体49の上下方向に貫通する中央流下口82が開設される。また、第一ステージ80の後部かつ左右方向の両端部には収容体49の上下方向に貫通する図外の左右流下口が開設される。中央流下口82の周縁にはモータ等の図外の駆動手段によって間欠的又は連続的に回転する振り分け体83が設けられる。振り分け体83としては、例えば上下方向に延長する円筒体の周壁に下方から上方へ窪む凹状の切り欠き部が複数形成された回転体を採用し、回転体が間欠的又は連続的に回転することにより、凹状の切り欠き部を通過した球のみが中央流下口82を流下できるようにすること等が考えられるが、これに何ら限定されるものではなく、振り分け体83を設けない構成としてもよい。また、第一ステージ80、第二ステージ85の形態はこれに限るものではなく、多様な誘導部材、障害部材を配置することにより内部空間R内に進入した後の球の動きに変化を加えることが可能である。第一ステージ80は遊技盤100の後方に延長するに伴い、複数の折曲部を介して段階的に下方に傾斜する傾斜面として形成される。
即ち、第一ステージ80に乗った球Pは矢印で示すように遊技盤100の前方から後方に向かって誘導され、振り分け体83により中央流下口82又は図外の左右流下口を通過して、下方に位置する第二ステージ85の後方へ落下する。
以上説明したとおり、可変入賞装置50は、遊技盤100を前後方向に貫通する底板52、下部側面板54,55、上側側面板56,57と、遊技盤100の裏側において遊技盤100の左右方向に延長する背面板53と、上部側面板56,57により構成される収容体49が遊技盤100の前後左右に広がる内部空間Rを形成し、内部空間R内に複数の入賞口90,91を備える構成である。
そして、収容体49が取り付け基板51を介して遊技盤100に取り付けられると、取り付け基板51の開口部40が遊技盤100の遊技領域100a内において開口し、取り付け基板51よりも前側に位置する前側面63、前側面63の両端から立ち上がる左右の下部側面板54,55、及び一対の開放片68,69が取り付け基板51からあたかも露出する形態となる。また、前記窓部15が閉じられた状態において窓部15の裏面と、前側面63、左右の下部側面板54,55及び一対の開放片68,69の前端面との距離Lは球Pの直径より狭い。
よって、遊技領域100aに到達した球Pは前側面63、左右の下部側面板54,55及び一対の開放片68,69より前側から内部空間R内に進入することはなく、球Pは取り付け基板51の前面に取り付けられた後述の開閉体110a,110bの開成によってのみ内部空間R内への進入が許容され、後述の複数の通過口140a乃至140dを通過することにより、遊技領域100a内に設けられた入り口としての開口部40から内部空間R内に進入することができる。
図4は遊技盤100の前面に取り付けられた取り付け基板51の開口部40を中心とする部分拡大図である。
以下、図2及び図4を参照して開閉体110a,110b及び開口部40の近傍に設けられる複数の通過口140a乃至140dの構成について詳説する。
同図において、取り付け基板51の前面にはアーチ体120が取り付けられる。アーチ体120は開口部40の上縁40hに沿って遊技盤100の左右方向に弓なりに延長する部材であって、取り付け基板51の前面に対して遊技盤100の前側に突設される。アーチ体120の前端面120aと、窓部15が閉じられた状態における窓部15の裏面との距離は球Pの直径よりも狭く、アーチ体120より前方から球Pが内部空間R内に進入することはない。アーチ体120の下面左右端部は開口部40の内側から外側に向かうに従い漸次上昇する傾斜面121として形成される。アーチ体120よりも下方には複数の上通過口140a,140b及び下通過口140c,140dが設けられる。
複数の上通過口140a,140b及び下通過口140c,140dは後述する把持体122a,122b、及び進入球検出器132により構成される。以下、複数の通過口140a乃至140dの具体的構成について説明する。
図5(a)は把持体122a,122bの拡大図である。
なお、把持体122a,122bはそれぞれ開口部40の一部である肩縁40f,40gに沿って左右対称に取り付けられる一対の部材であり、説明の簡略化のため、一方の把持体122aを例として説明する。
把持体122aは後片123の上端部より遊技盤100の前側に延長する上部片124と、後片123の略中間部より遊技盤100の前側に延長する上中間片125と、後片123の略中間部において上中間片125よりも下方の位置から遊技盤100の前側に延長する下中間片126と、後片123の下端部より遊技盤100の前側に延長する下部片127とからなる。
上部片124と上中間片125とは互いに正対する受入れ面124a,125aを備える。受入れ面124aの左右端部には互いに対向して下方に延長する一対の左右側壁129が設けられる。受入れ面124aの左右側壁129は受入れ面124aに対して直交する壁である。受入れ面125aの左右端部には互いに対向して上方に延長する一対の左右側壁129が設けられる。受入れ面125aの左右側壁129は受入れ面125aに対して直交する壁である。即ち、上部片124と上中間片125とは互いに正対する断面コの字状の片として形成される。上部片124と上中間片125との間には後述の進入球検出器132が嵌め込まれる。
下中間片126と下部片127とは、互いに正対する受入れ面126a,127aを備える。受入れ面126a,127aは上方に位置する受入れ面124a及び受入れ面125aに対して異なる角度の傾斜を有する。具体的には把持体122aが開口部40の肩縁40fに沿って取り付けられた状態において、受入れ面124a及び125aが遊技盤100の左側から右側に向かうに従って下方に傾斜する角度よりも、急な角度をもって下方に傾斜する(図4参照)。受入れ面126aの左右端部には互いに対向して下方に延長する一対の左右側壁129が設けられる。受入れ面126aの左右側壁129は受入れ面126aに対して直交する壁である。即ち、下中間片126は断面コの字状の片として形成される。受入れ面127aの左右端部には互いに対向して上方に延長する一対の左右側壁129が設けられる。左右側壁129は受入れ面127aに対して直交する壁である。即ち、下部片127は断面コの字状の片として形成される。即ち、下中間片126と下部片127とは互いに正対する断面コの字状の片として形成される。下中間片126と下部片127との間には後述の進入球検出器132が嵌め込まれる。
上記構成からなる把持体122a,122bは上部片124が上向き、下部片127が下向きとなるように、それぞれアーチ体120の傾斜面121と開放片68,69の斜片70a,70bとの間に固着される。そして、把持体122a,122bが傾斜面121と斜片70a,70bに固着されると、開口部40の一部である上縁40h及び、くの字状に折曲する肩縁40f,40gの周囲をアーチ体120及び把持体122a,122bが取り囲む形態となる。
前記把持体122a,122bには進入球検出器132が嵌め込まれる。進入球検出器132が把持体122a,122bの上部片124と上中間片125との間に遊技盤100の前側から嵌め込まれると遊技盤100の左右方向(水平方向)に対して傾斜する上通過口140a,140bが形成される。具体的には、上通過口140a,140bが互いにハの字となるように開口部40の外側に開いた形態である。
進入球検出器132が下中間片126と下部片127との間に遊技盤100の前側から嵌め込まれると前記上通過口140a,140bよりも下方に位置する下通過口140c,140dが形成される。つまり、下通過口140c,140dは其々、上通過口140a,140bと対応するように上下に隣接するように連続的に配置される。
また、下中間片126と下部片127との間に嵌め込まれる進入球検出器132の遊技盤100の左右方向(水平方向)に対する角度は、上部片124と上中間片125との間に嵌め込まれる進入球検出器132の遊技盤100の左右方向に対する角度よりも急な角度を有する。よって、下通過口140c,140dは上方に位置する上通過口140a,140bよりも開口部40の外側にハの字状に開いた形態である。
即ち、前記上下複数の通過口140a乃至140dは収容体49の一部を構成するように開口部40の肩縁40f,40gに沿って設けられるとともに、収容体49の内部空間Rと連通する部材として構成され、後述する開閉体110a,110bにより進入が許容された球Pを内部空間R内に通過させる構成である。
そして、前記上下複数の通過口140a乃至140dを通過する球Pは、前記特別球検出器90aと同様に、球Pの直径よりも大径な通過孔を通過することにより、インピーダンスが変化する回路を備えるプレート状の近接スイッチ等から構成される進入球検出器132により検出され、球Pが内部空間R内に進入した旨の球進入信号が後述の主制御部200へ送出される。主制御部200は当該球進入信号の入力に基づいて賞球払出処理を実行する。
上記構成からなる上通過口140a,140b及び下通過口140c,140dによれば、球Pが上下いずれの通過口を通過して、開口部40を介して内部空間R内に進入した場合であっても、内部空間R内に進入する球を相対的に早期に検出し、主制御部200が賞球払出処理を実行するため、過入賞が生じる可能性を低減させることができる。
なお、上記複数の通過口140a乃至140dが遊技盤100の左右方向に対して傾斜をもって設けられたことの効果は後述の開閉体110a,110bの説明と併せて述べる。
図5(b)は把持体122a,122bの異なる形態の把持体180a,180bを示す。なお、把持体122a,122bと同一の構成については同一符号を用い、説明を省略する。同図において把持体180a,180bは戻り球防止片185を備える。戻り球防止片185は、受入れ面125aの左右側壁129の内、開閉体110a(110b)側に位置する一方の側壁129の上端面が仮想線で示す把持体122a(122b)の受入れ面125aの左右側壁129の上端面よりも、例えば球Pの直径以上張り出す形態に形成される。即ち、戻り球防止片185は把持体180a,180bが傾斜面121と開放片68,69の斜片70a,70bとの間に固着された状態において、開閉体110a,110bの方向へ突出する片として構成される。
本構成からなる通過口140a乃至140dによれば、上通過口140a又は140bを通過して進入球検出器132により一度検出された球が何らかの外乱(遊技機を遊技者が叩く等)により上通過口140a又は140bから開閉体110a,110bの方向へと戻った場合でも、戻り球防止片185が開閉体110a,110bの方向へ突出しているので下方に位置する下通過口140c又は140dに再度検出されるという「二重検出」が発生する可能性を低減させることができる。
図2,図4に示すようにアーチ体120よりも上方には、上側閉鎖体130が設けられる。上側閉鎖体130は取り付け基板51から遊技盤100の前側に突設される部材である。窓部15が閉鎖された状態において、上側閉鎖体130の前端面130aと、窓部15の裏面との距離は球Pの直径よりも狭く、前端面130aよりも前方から球Pが内部空間R内に進入することはない。上側閉鎖体130は馬蹄形状の基部131と、基部131の下縁から遊技盤100の左右方向に延出する左右の阻止突片132a,132bとからなる。
複数の通過口140a乃至140dよりも外側には一対の開閉体110a,110bが設けられる。即ち、開閉体110aは、上通過口140a及び下通過口140cよりも左側に離れた位置に設けられる。開閉体110bは上通過口140b及び下通過口140dよりも右側に離れた位置に設けられる。
開閉体110a,110bは図示の状態において遊技盤100の上下方向に延長する板状部材である。開閉体110a,110bの阻止突片132a,132bと近接する上端部には開口部40の方向へ延長する阻止端片111a,111bが形成される。上下方向に延長する開閉体110a,110bの中間部よりも下方には遊技盤100の前後方向へ貫通する貫通孔112が形成される。貫通孔112は開閉体110a,110bの外側面から外方へ湾曲する湾曲部により形成される。貫通孔112の内部にはソレノイド64のプランジャ151と連結手段を介して連結された前記支持棒141が係合される。支持棒141は上方に位置する上通過口140a,140bの下端よりも上方かつ、球の直径よりも外側に配置される。
具体的には、支持棒141の軸芯Kが二点鎖線で示す上通過口140a,140bの下端点Sよりも上方に位置し、二点鎖線で示す上通過口140a,140bの左右端点Tよりも少なくとも球Pの直径L以上離間した位置に配置される(図6参照)。要するに、開閉体110a,110bが閉成状態の時に球Pが下通過口140c,140dに進入可能であればよく、上記構成とすれば開閉体110a,110bの開閉動作によって球Pが通過口140a乃至140dとの間に挟まれる状態(球噛み状態)となるのを防止することができる。前記支持棒141がソレノイド64により回転駆動されると、開閉体110a,110bは支持軸としての支持棒141を回転中心として、左右方向に開閉する。
以下、ソレノイド64の駆動により開閉する開閉体110a,110bの開閉動作について詳説する。
図6は前記ソレノイド64により開閉駆動する開閉体110a,110bが閉成状態から開成状態へ移行する場合の動作を示す概略図である。
図6(a)は球Pが内部空間R内に進入するのを阻止された状態(閉成状態)を示す。この閉成状態において、開閉体110a,110bの阻止端片111a,111bと、上側閉鎖体130の阻止突片132a,132bとは、球Pの直径よりも狭い間隔で近接する。よって、遊技領域100a内に打ち出された球Pは収容体49の内部空間R内に進入することはできない。即ち、開閉体110a,110bは閉成状態において球Pが内部空間R内に進入するのを阻止する。
図6(b)は開閉体110a,110bがソレノイド64の駆動により、閉成状態から開成状態へと移行する過程を示す。なお、開成状態とは阻止端片111a,111bと、上側閉鎖体130の阻止突片132a,132bとの離間距離が球Pの直径以上離間し、球Pが内部空間R内に進入し得る状態を意味する。開閉体110a,110bが閉成状態から開成状態へ移行すると、阻止端片111a,111bは阻止突片132a,132bから円弧状の軌跡を描いて離間する。
一方で、開閉体110a,110bにおける支持棒141の軸芯Kより下方の領域である誘導片113の下端部113a,113bは上通過口140a,140bの方向へ円弧状の軌跡を描いて近接する。そして、この開閉体110a,110bが閉成状態から開成状態へ移行した際に、遊技領域100aに打ち出された球Pが開閉体110a,110b上を開口部40方向に転動した場合、図6(c)に示すように誘導片113が下通過口140c,140dへの進路を閉鎖する一方で、球Pを上通過口140a,140bへと誘導する。
即ち、誘導片113は開閉体110a,110bの開成動作に伴って下通過口140c,140dへの進路を漸次閉鎖し、球Pを上通過口140a,140bに誘導する。誘導片113によって上通過口140a,140bに誘導された球Pは、例えば図6(c)に示す放物線の軌跡を描いて開口部40から内部空間R内へと進入する。そして、第一ステージ80を左右方向に揺れながら転動し、第一ステージ80の後方に形成された中央流下口82又は左右流下口へ向かって誘導される。
図6(c)の部分拡大図は、開閉体110a,110bが開成限度位置まで開成した状態における誘導片113と、上通過口140a,140bとの関係を示す。
なお、開成限度位置とは前述のとおり開閉体110a,110bが閉成状態から開成状態へ移行した場合に、ソレノイド64の励磁が解除された状態における開閉体110a,110bの傾斜角度(略垂直)に対して最も大きい角度差が生じる位置をいい、開閉体が最大限に開いた状態をいうものである。本例において、上通過口140a,140bの遊技盤100の左右方向に対する傾斜角度αと、開閉体110a,110bが開成限度位置まで開成した状態における誘導片113の遊技盤100の左右方向に対する傾斜角度βは例えば其々10°と5°の角度となるように設定される。これにより、開閉体110a,110b上を転動する球Pは上通過口140a,140bを通過する際に、速度を増加させて開口部40から内部空間R内に進入することができる。また、開閉体110a,110bの開成限度位置における傾斜角度は上記角度に限定されるものではなく、例えば誘導片113の傾斜角度βを5°として設定し、上通過口140a,140bの傾斜角度αを5°として設定してもよい。これにより、開閉体110a,110b上を転動する球Pは上通過口140a,140bに干渉されることなく一直線に上通過口140a,140bを通過し、開口部40から内部空間R内に進入することができる。
つまり、上通過口140a,140bの遊技盤100の左右方向に対する傾斜角度αは開閉体110a,110bが開成限度位置まで開成した状態における誘導片113の遊技盤100の左右方向に対する傾斜角度β以上の角度を有するように設定される。
上記構成からなる誘導片113及び上通過口140a,140bによれば、開閉体110a,110bの傾斜によって加速しながら開口部40方向に転動する球と、通過口とが互いに干渉することがなく、球の速度を殺さずに内部空間R内に進入させることができる。さらに、傾斜角度aを傾斜角度βよりも大きく設定すれば球Pの速度を増加させて内部空間R内に進入させることができる。即ち、スピード感に富んだ遊技を提供することができる。
また、本例においては開閉体110a,110bにおける支持棒141の軸芯Kより上方の領域と、下方の領域である誘導片113とが一直線となるように構成したが、軸芯Kより上方の領域と、下方の領域である誘導片113とをくの字状となるように構成してもよい。但し、上記構成であっても、上通過口140a,140bの遊技盤100の左右方向に対する傾斜角度αは開閉体110a,110bが開成限度位置まで開成した状態における誘導片113の遊技盤100の左右方向(水平方向)に対する傾斜角度β以上の角度を有するように配置される。
図7はソレノイド64により開閉駆動する開閉体110a,110bが開成状態から閉成状態へ移行する場合の動作を示す概略図である。
図7(b)に示すように、開閉体110a,110bが開成状態から閉成状態へ移行すると、阻止端片111a,111bは阻止突片132a,132bの方向へ円弧状の軌跡を描いて近接する。一方で、開閉体110a,110bにおける支持棒141の軸芯Kより下方の領域である誘導片113の下端部113a,113bは上通過口140a,140bから円弧状の軌跡を描いて離間する。そして、この開閉体110a,110bが開成状態から閉成状態へ移行する際に、遊技領域100aに打ち出された球Pが開閉体110a,110b上を開口部40方向に転動した場合、図7(c)に示すように誘導片113が下通過口140c,140dへの進路を開放し、球Pを下通過口140c,140dへと誘導する。
即ち、誘導片113は開閉体110a,110bの閉成動作に伴って下通過口140c,140dへの進路を漸次開放し、球Pを下通過口140c,140dに誘導する。
誘導片113によって下通過口140c,140dに誘導された球Pは、例えば図7(c)に示す軌跡を描いて内部空間R内へと進入し、第一ステージ80を左右方向に揺れながら転動し、第一ステージ80の傾斜面に中央流下口82又は図外の左右流下口へと誘導される。
上記構成からなる誘導片113によれば、遊技領域100a内に打ち出された球Pが開閉体110a,110bが閉成状態から開成状態へ移行する際に開閉体110a,110b上を転動するのか、開閉体110a,110bが開成状態から閉成状態へ移行する際に開閉体110a,110b上を転動するのか、即ち、開閉体110a,110bの開閉状況によって上通過口140a,140bを通過させるか又は下通過口140c,140dを通過させるかを振り分けることができる。そして、図6,図7に示したとおり、上通過口140a,140b又は下通過口140c,140dのうち何れの通過口を通過したかによって、球Pの第一ステージ80における着地点が異なるため、第一ステージ80上における球Pの動きをバリエーションに富んだものとすることができる。以下、開閉体110a,110bの開閉手段たるソレノイド64及び支持棒141等の構成について説明する。
図8は、収容体49を裏側から見た概略斜視図である。開閉体110a,110bの開閉手段は概略、ソレノイド64、プランジャ151、回転変動体154、回転クランク157及び支持棒141から構成される。図8においてソレノイド64はベース板150を介して背面板53の左右方向に離間して複数設けられる。ベース板150の下面からはソレノイド64内部の可動鉄心から延長するプランジャ151が下方に突出する。プランジャ151は遊技盤100の前後方向に離間する断面コの字状の先端部151a,151bと先端部151a,151bの直上に形成される円形板152を備える。円形板152とベース板150との間にはスプリング153が介挿される。プランジャ151はソレノイド64が後述の主制御装置200の駆動信号に基づいて励磁されるとスプリング153に抗して上昇し、励磁が解除されるとスプリング153によって原位置に復帰する構成である。なお、プランジャ151の原位置は開閉体110a,110bが閉成状態(略垂直状態)となる位置である。プランジャ151の先端部151a,151bとの間には回転変動体154の変動板155が背面板53の左右方向に延長する。
回転変動体154は、背面板53から突出するピン157によって回動自在に軸支される回転基部158と、断面略コの字状の保持アーム159を備える。回転基部158と保持アーム159とを結ぶ変動板155は背面板53の左右方向に延長する長孔160を有する。長孔160内にはプランジャ151の先端部151a,151b間を貫通する図外のピンが挿通される。この状態においてソレノイド64が駆動されると回転変動体154は回転基部158を支点として回動し、図外のピンが長孔160内を摺動するため、保持アーム159が上下方向に変位可能となる。
回転クランク161は背面板53の前後方向に延長する円筒状の基部162と、基部162から背面板53の内側に延長する連結板を介して背面板53の前後方向に延長する円筒状の支持筒163を備える。基部162は背面板53の前後方向に貫通する係合孔162aを有する。支持筒163は背面板53の後側に延長するピン163aを備え、ピン163aは前述の保持アーム159に回転可能に保持される。基部162の係合孔162aには支持棒141の後端部が挿通され、係合手段によって脱落不能に固定される。
支持棒141は上部側面板56,57に形成された遊技盤100の前後方向に延長する貫通孔72に挿通され、回動自在に支承される丸棒体である。支持棒141の先端部は開閉体110a,110bに形成された貫通孔112に挿通され、図外の係止手段により脱落不能に固定される。上記構成からなる開閉手段によれば、ソレノイド64が励磁されることによってプランジャ151が上昇すると、回転変動体154、回転クランク161が直動運動を回転運動に変換し、支持棒141が回転するため、支持棒141に固定される開閉体110a,110bは図6,図7に示す軌跡を描いて開閉動作することができる。
図9は、本発明に係る可変入賞装置50を備える遊技機の主制御部200を中心とした概略ブロック図である。以下、遊技機の制御の概略を説明する。
同図において遊技盤100は遊技全般を制御する主制御部200を備える。主制御部200はCPUと、賞球情報や演出情報等を始めとする遊技に必要なプログラムが書き込まれたROMと、プログラムの実行に必要な作業領域としてのRAMとを備える。
主制御部200には、入力ポート201を介して一般球検出器31aと、始動球検出器32aと、排出球検出器60aと、特別球検出器90aと、進入球検出器132とが接続される。始動球検出器32aは遊技領域100a内に複数設けられた一般入賞口32に球が取込まれたことを検出し、主制御部200に一般入賞信号を送出する。始動球検出器32aは遊技領域100a内に複数設けられた始動入賞口32に球が取込まれたことを検出し、主制御部200に始動入賞信号を送出する。排出球検出器60aは内部空間R内に進入した球が球排出孔60から排出されたことを検出し、球排出信号を主制御部200に送出する。特別球検出器90aは、特別入賞口90に球が取込まれたことを検出し、特別遊技信号を主制御部200に送出する。進入球検出器132は球が複数の通過口140a乃至140dを通過したことを検出し、進入球検出信号を主制御部200に送出する。
なお、前記各信号は主制御部200に設けられた図外のカウント手段によってカウントされる。
主制御部200は上記複数の信号に基づいて、出力ポート202を介して接続される演出制御部203、開閉体制御部204、払出制御部205に対して賞球指示コマンドを送出する。以下、複数の信号の入力に基づいて実行される通常の遊技制御について説明する。
主制御部200は一般入賞信号、始動入賞信号、進入球検出信号が入力されると払出制御部205に対して払出コマンドを送出する。賞球指示コマンドはROMに記憶された賞球テーブルを参照し、上記各賞球信号に対応する賞球個数を抽出することにより生成される。賞球テーブルとしては、例えば一般入賞信号が入力された場合は3個、始動入賞信号の場合は5個、進入球検出信号の場合は10個等のように、各入賞口とこれに対応する球の個数と対応関係が規定されたような情報である。
払出制御部205は主制御部200から賞球指示コマンドが入力されると、遊技盤100の裏側に設置された払出機構206を駆動し、払出処理を実行する。払出機構206により払出された賞球は払出検出器207により検出され、賞球払出信号が払出制御部205に送出される。払出制御部205は主制御部200によって入力された賞球指示コマンドにより指示された賞球個数(指示賞球個数)と、実際に払いだされた賞球(実賞球個数)とが一致するまで払出機構206を駆動し、一致した時に駆動を停止する。
主制御部200は始動入賞信号が入力されると、前記払出コマンドを払出制御部205に送出するとともに、開閉体駆動信号を送出しソレノイド64を駆動する。開閉体駆動信号はROMに記憶された開閉回数テーブルを参照し、開閉回数テーブルを抽出することにより生成される。開閉回数テーブルとしては、例えば遊技盤100の左右に位置する始動入賞口32に球が取込まれた場合には開閉体110a,110bを0.4秒の間に一回開閉し、遊技盤100の中央に位置する始動入賞口32に球が取込まれた場合には開閉体110a,110bを連続して二回開閉する等、各始動入賞口とこれに対応する開閉回数との対応関係が規定されたような情報である。なお、始動入賞口の種類に拘らず開閉回数をランダムに抽出し、ソレノイド64を駆動することや、始動入賞口の種類に拘らず開閉回数を同一回数としてもよい。
主制御部200の開閉体駆動信号によりソレノイド64が励磁されると開閉体110a,110bは一回又は二回開閉動作を行う。開閉体110a,110bの開閉動作により球が複数の通過口140a乃至140dを通過すると進入球検出器132が主制御部200に対して進入球検出信号を送出する。この時、開閉体駆動信号の送出が行われていないのにも拘らず、進入球検出信号が検出された場合には何らかの不正,不具合が生じた可能性があるため、主制御部200は図外の報知手段を介して遊技異常情報をホールコンピュータに送出する。また、進入球検出信号のカウント値と、球排出孔60に設けられた排出球検出器60aの空間入賞信号のカウント値が一定時間以上不一致の場合等にも何らかの不正、或いは内部空間R内で球が詰まった等の不具合が生じた可能性があるため、主制御部200は図外の報知手段を介して遊技異常情報をホールコンピュータに送出する。以上、通常の遊技状態における主制御部200による遊技制御を説明したが、以下遊技者にとって有利な状態となった場合の主制御部200による遊技制御について説明する。
主制御部200は内部空間R内に設けられた特別球検出器90aにより特別遊技信号が入力されると、遊技者にとって有利な遊技状態となる処理を実行する。
具体的には、主制御部200は特別球検出器90aから特別遊技信号が入力されるとソレノイド64に対して特別開閉体駆動信号を送出する。この場合の特別開閉体駆動信号は、ROMに記憶された特別開閉回数テーブルを参照し、ラウンド最高継続回数を抽出することにより生成される。特別開閉回数テーブルとしては、ラウンド継続回数を常に15ラウンドとして予め設定しておくことや、特別入賞口90に球が取込まれるタイミングによって、例えば1回,3回,5回,10回,15回等ランダムに最高継続回数が抽出されるような情報であってもよい。
遊技者にとって有利な遊技状態となる処理は主制御部200がソレノイド64を励磁し、1ラウンドの間に開閉体110a,110bを例えば27秒間の間に18回繰り返して開閉させる。1ラウンドは開閉体110a,110bが18回の開閉動作を終了するか、進入球検出器132による進入球検出信号が例えば10回カウントされるかのうち、いずれか早い方の条件が成立することにより終了する。このように単位時間当たりの開閉体110a,110bの開閉回数が増大することにより、通常の場合と比較して遊技領域100aに打ち出された球が内部空間R内に進入する機会も増大し、進入球検出信号に基づく払出処理が実行されるため、遊技者は通常遊技状態の場合と比較して、一度に多数の払出しを得ることができる。即ち、遊技者にとって有利な状態が提供される。そして、主制御部200は1ラウンドが継続している途中又は終了後から所定時間内に、特別球検出器90aから特別遊技信号の入力があったか否かを判定(継続判定)し、入力があった場合は再度ソレノイド64を駆動し、当該処理を最高継続回数に達するまで繰り返し行い、最高継続回数に達した時に通常の遊技に復帰する。
一方で特別遊技信号の入力がない場合は、予め設定された最高継続回数に到達する以前であっても遊技者にとって有利な遊技状態となる処理を終了し、通常の遊技処理に復帰する。なお、上記主制御部200による継続判定を実行せず、予め設定された最高継続回数に到達するまでは遊技者にとって有利な遊技状態となる処理を必ず繰り返す構成としてもよい。
主制御部200は演出制御部203に対して演出コマンドを送出する。演出コマンドはROMに記憶された演出テーブルを参照し、演出情報を抽出することにより生成される。演出テーブルとしては例えば開閉体110a,110bが開閉動作をする時に生じる所定の効果音情報や、遊技者にとって有利な遊技状態の時に表示灯を点滅させる点灯情報等、各入賞口とこれに対応する演出との対応関係が規定された情報である。なお、球が各入賞口に取込まれなくともデモ演出として効果音や表示灯を点灯させるようにしてもよい。
演出制御部203は主制御部200からの演出コマンドに応じてスピーカ、表示灯を駆動する。
以上、本発明を実施の形態に基いて説明したが、本発明の技術的範囲は上記実施形態に何ら限定されることはなく、多様な変更,改良を行い得ることが当業者において明らかである。また、そのような多様な変更,改良を加えた形態も本発明の技術的範囲に含まれ得ることが特許請求の範囲の記載から明らかである。
パチンコ遊技機10の概略正面図。 可変入賞装置50の拡大斜視図。 可変入賞装置50を遊技盤100に取り付けた状態を示す断面図。 開口部40を中心とする部分拡大図。 把持体122a,122b(180a,180b)の拡大図。 開閉体110a,110bが閉成状態から開成状態へ移行する動作を示す概略図。 開閉体110a,110bが開成状態から閉成状態へ移行する動作を示す概略図。 収容体49を裏側から見た概略斜視図。 主制御部200を中心とする概略ブロック図。
符号の説明
10 パチンコ遊技機、40 開口部、49 収容体、50 可変入賞装置、
51 取り付け基板、60a 排出球検出器、61 ソレノイド、100 遊技盤、
100a 遊技領域、110a,110b 開閉体、113 誘導片、
122a,122b 把持体、132 進入球検出器、140a乃至140d 通過口、
185 戻り防止片、200 主制御部。

Claims (6)

  1. 遊技盤に配置され、遊技盤の遊技領域内に打ち出し機構により打ち出された球の一部を
    遊技領域内に形成された開口部より遊技盤の前後方向に延長する内部空間に受け入れる収容体と、
    前記開口部の外側に配置され、打ち出された球が前記内部空間に進入するのを閉成状態において阻止し、打ち出された球が前記空間内に進入するのを開成状態において許容する開閉体と、
    前記内部空間に受け入れられた球を取込む入賞口とを備える可変入賞装置であって、
    前記可変入賞装置は前記開口部の一部に沿って設けられ、前記空間と連通する複数の通過口を備え、
    前記複数の通過口は遊技盤左右方向に対して傾斜を有し、かつ遊技盤の上下に配置され、
    前記内部空間に進入が許容された球を検出する検出器を備えることを特徴とする可変入賞装置。
  2. 前記開閉体は一端が前記複数の通過口に近接し、他端が前記複数の通過口よりも外側に位置する支持軸により回動自在に支持される誘導片を備え、
    前記誘導片の傾斜角度は前記開閉体の開閉動作に伴って前記複数の通過口と対応する角度に変化し、
    前記誘導片は前記開閉体の開成動作に伴って下方の通過口への進路を漸次閉鎖し、球を上方に位置する通過口に誘導することを特徴とする請求項1に記載の可変入賞装置。
  3. 前記誘導片は前記開閉体の閉成動作に伴って下方の通過口への進路を漸次開放し、球を下方に位置する通過口に誘導することを特徴とする請求項2に記載の可変入賞装置。
  4. 前記支持軸は上方に位置する通過口の下端よりも上方かつ、球の直径よりも外側に位置することを特徴とする請求項2又は請求項3に記載の可変入賞装置。
  5. 前記複数の通過口のうち、少なくとも1つの通過口が、前記開閉体の開成限度位置における前記誘導片の傾斜角度以上の傾斜を有して配置されることを特徴とする請求項2乃至請求項4いずれかに記載の可変入賞装置。
  6. 前記通過口が前記開閉体の方向に突出する戻り球防止片を備えることを特徴とする請求項1乃至請求項5いずれかに記載の可変入賞装置。
JP2008227525A 2008-09-04 2008-09-04 遊技機の可変入賞装置 Expired - Fee Related JP5144438B2 (ja)

Priority Applications (1)

Application Number Priority Date Filing Date Title
JP2008227525A JP5144438B2 (ja) 2008-09-04 2008-09-04 遊技機の可変入賞装置

Applications Claiming Priority (1)

Application Number Priority Date Filing Date Title
JP2008227525A JP5144438B2 (ja) 2008-09-04 2008-09-04 遊技機の可変入賞装置

Publications (2)

Publication Number Publication Date
JP2010057764A true JP2010057764A (ja) 2010-03-18
JP5144438B2 JP5144438B2 (ja) 2013-02-13

Family

ID=42185256

Family Applications (1)

Application Number Title Priority Date Filing Date
JP2008227525A Expired - Fee Related JP5144438B2 (ja) 2008-09-04 2008-09-04 遊技機の可変入賞装置

Country Status (1)

Country Link
JP (1) JP5144438B2 (ja)

Citations (6)

* Cited by examiner, † Cited by third party
Publication number Priority date Publication date Assignee Title
JP2001104562A (ja) * 1999-10-07 2001-04-17 Sansei R & D:Kk パチンコ遊技機
JP2001314583A (ja) * 2000-05-10 2001-11-13 Heiwa Corp パチンコ機
JP2002336485A (ja) * 2001-05-14 2002-11-26 Heiwa Corp パチンコ機
JP2004113775A (ja) * 2003-05-26 2004-04-15 Sanyo Product Co Ltd 遊技機
JP2004242787A (ja) * 2003-02-12 2004-09-02 Abilit Corp パチンコ機
JP2005329116A (ja) * 2004-05-21 2005-12-02 Sophia Co Ltd 遊技機

Patent Citations (6)

* Cited by examiner, † Cited by third party
Publication number Priority date Publication date Assignee Title
JP2001104562A (ja) * 1999-10-07 2001-04-17 Sansei R & D:Kk パチンコ遊技機
JP2001314583A (ja) * 2000-05-10 2001-11-13 Heiwa Corp パチンコ機
JP2002336485A (ja) * 2001-05-14 2002-11-26 Heiwa Corp パチンコ機
JP2004242787A (ja) * 2003-02-12 2004-09-02 Abilit Corp パチンコ機
JP2004113775A (ja) * 2003-05-26 2004-04-15 Sanyo Product Co Ltd 遊技機
JP2005329116A (ja) * 2004-05-21 2005-12-02 Sophia Co Ltd 遊技機

Also Published As

Publication number Publication date
JP5144438B2 (ja) 2013-02-13

Similar Documents

Publication Publication Date Title
JP5980728B2 (ja) 遊技機
JP6249704B2 (ja) 遊技機
JP4535711B2 (ja) 遊技機
JP5985441B2 (ja) 遊技機
JP2008264203A (ja) 遊技機
JP5547892B2 (ja) 遊技機
JP5144438B2 (ja) 遊技機の可変入賞装置
JP2005034591A (ja) 遊技機
JP6137618B2 (ja) 遊技機
JP4411448B2 (ja) 遊技機
JP7122737B2 (ja) 遊技機
JP2004223288A (ja) 弾球遊技機
JP4725836B2 (ja) 弾球遊技機
JP4740175B2 (ja) 遊技機の役物および遊技機
JP2016154709A (ja) 遊技機
JP7272380B2 (ja) 遊技機
JP2002315875A (ja) 組み合わせ遊技機
JP2008029455A (ja) 遊技機
JP2004000746A (ja) パチンコ機の入賞装置
JP2002263277A (ja) パチンコ遊技機の入球装置
JP2005152142A (ja) 遊技機
JP4682172B2 (ja) 遊技機の入賞球抽選装置および遊技機
JP4642728B2 (ja) 遊技機
JP2002315874A (ja) 組み合わせ遊技機
JP2009034357A (ja) 弾球遊技機

Legal Events

Date Code Title Description
A621 Written request for application examination

Free format text: JAPANESE INTERMEDIATE CODE: A621

Effective date: 20110620

TRDD Decision of grant or rejection written
A977 Report on retrieval

Free format text: JAPANESE INTERMEDIATE CODE: A971007

Effective date: 20121114

A01 Written decision to grant a patent or to grant a registration (utility model)

Free format text: JAPANESE INTERMEDIATE CODE: A01

Effective date: 20121120

A01 Written decision to grant a patent or to grant a registration (utility model)

Free format text: JAPANESE INTERMEDIATE CODE: A01

A61 First payment of annual fees (during grant procedure)

Free format text: JAPANESE INTERMEDIATE CODE: A61

Effective date: 20121122

FPAY Renewal fee payment (event date is renewal date of database)

Free format text: PAYMENT UNTIL: 20151130

Year of fee payment: 3

R150 Certificate of patent or registration of utility model

Ref document number: 5144438

Country of ref document: JP

Free format text: JAPANESE INTERMEDIATE CODE: R150

Free format text: JAPANESE INTERMEDIATE CODE: R150

R250 Receipt of annual fees

Free format text: JAPANESE INTERMEDIATE CODE: R250

R250 Receipt of annual fees

Free format text: JAPANESE INTERMEDIATE CODE: R250

R250 Receipt of annual fees

Free format text: JAPANESE INTERMEDIATE CODE: R250

R250 Receipt of annual fees

Free format text: JAPANESE INTERMEDIATE CODE: R250

R250 Receipt of annual fees

Free format text: JAPANESE INTERMEDIATE CODE: R250

LAPS Cancellation because of no payment of annual fees