JP2010055665A - 再生装置及び再生プログラム - Google Patents

再生装置及び再生プログラム Download PDF

Info

Publication number
JP2010055665A
JP2010055665A JP2008217624A JP2008217624A JP2010055665A JP 2010055665 A JP2010055665 A JP 2010055665A JP 2008217624 A JP2008217624 A JP 2008217624A JP 2008217624 A JP2008217624 A JP 2008217624A JP 2010055665 A JP2010055665 A JP 2010055665A
Authority
JP
Japan
Prior art keywords
attribute
track
playback
display
item
Prior art date
Legal status (The legal status is an assumption and is not a legal conclusion. Google has not performed a legal analysis and makes no representation as to the accuracy of the status listed.)
Granted
Application number
JP2008217624A
Other languages
English (en)
Other versions
JP4760877B2 (ja
Inventor
Shuntaro Kashi
俊太郎 樫
Current Assignee (The listed assignees may be inaccurate. Google has not performed a legal analysis and makes no representation or warranty as to the accuracy of the list.)
Onkyo Corp
Original Assignee
Onkyo Corp
Priority date (The priority date is an assumption and is not a legal conclusion. Google has not performed a legal analysis and makes no representation as to the accuracy of the date listed.)
Filing date
Publication date
Application filed by Onkyo Corp filed Critical Onkyo Corp
Priority to JP2008217624A priority Critical patent/JP4760877B2/ja
Publication of JP2010055665A publication Critical patent/JP2010055665A/ja
Application granted granted Critical
Publication of JP4760877B2 publication Critical patent/JP4760877B2/ja
Expired - Fee Related legal-status Critical Current
Anticipated expiration legal-status Critical

Links

Images

Landscapes

  • Signal Processing For Digital Recording And Reproducing (AREA)
  • Indexing, Searching, Synchronizing, And The Amount Of Synchronization Travel Of Record Carriers (AREA)
  • Management Or Editing Of Information On Record Carriers (AREA)

Abstract

【課題】所望のコンテンツファイルを指定すれば、そのコンテンツファイルに関連する他のコンテンツファイルを連続再生できる再生装置を提供する。
【解決手段】
再生装置1のHDD12は、複数のトラックと、複数のトラックに対応した複数の属性情報とを記憶する。属性情報は、アーティストやアルバムといった属性項目の属性値を含む。CPU11は、ユーザ操作により指定された属性項目の属性値をソートしてディスプレイ16に表示する。CPU11はさらに、再生時のトラックのソートに利用される属性項目の指定を新たに受け付け、ユーザ操作により指定された属性項目でトラックをソートする。そして、先に指定された属性値で特定されるトラックからソート順にトラックを連続再生する。
【選択図】図1

Description

本発明は、再生装置及び再生プログラムに関し、さらに詳しくは、音声や映像、画像といったコンテンツファイルを再生する再生装置及び再生プログラムに関する。
最近、音声や曲、映像、画像等のコンテンツファイル(以下、トラックという)を大量に記憶する再生装置が登場している。このような再生装置には、たとえば、ハードディスクドライブ(HDD)を内蔵するポータブルプレイヤーやAVプレイヤー等がある。このような再生装置は、大量のトラックを蓄積することができる。
再生装置は、通常、連続再生機能を有する。しかしながら、大量のトラックが蓄積されている場合、ユーザが所望するトラック群を容易に連続再生できる機能が望まれる。
通常、再生装置は、自身が蓄積するトラックに関する属性情報を持つ。属性情報は、対応するトラックに関する複数の属性値を含む。具体的には、属性情報は、複数の属性項目に分類された属性値を含む。属性項目とは、トラックが曲ファイルの場合、そのトラックが収録されたアルバムや、アーティスト、ジャンル、タイトル等の項目であり、属性値とは、それらの属性項目の具体的なデータ(情報)である。
従来の再生装置は、この属性情報を用いてトラックをソートし、ソートされた順にトラックを連続再生する。たとえば、ユーザが所望のアーティストのトラックを聴きたい場合、ユーザは、ソートしたい属性項目「アーティスト」を指定する。再生装置はユーザ操作を受け付けて、アーティストでトラックをソートしたリスト(以下、アーティストリストという)を作成する。たとえば、再生装置は、アーティストを50音順にソートしたアーティストリストを作成する。そして、属性情報のうちのアーティスト項目の属性値(つまり、アーティスト名)をソート順にディスプレイに表示する。ユーザは、ディスプレイに表示されたアーティスト名から所望のアーティスト名を指定する。再生装置は、指定されたアーティスト名のトラックからアーティストリストに列挙された順にトラックを連続再生する。
同様に、ユーザが所望のトラックを聴きたい場合、再生装置は、ユーザ操作に応じてトラックのタイトルが50音順に列挙されたリスト(以下、トラックリストという)を作成し、トラックリストをディスプレイに表示する。ユーザは表示されたトラックリストの中から所望のトラックを指定する。再生装置は、指定されたトラックからトラックリストに列挙された順に連続再生する。
上述のとおり、従来の再生装置は、所望のアーティストの指定に対してはアーティストリストを作成し、所望のトラックの指定に対してはトラックリストを作成し、指定されたアーティスト又はトラックに基づいて、リストに列挙された順にトラックを連続再生する。したがって、所望のトラックを指定した場合、所望のトラックの次に再生されるトラックは、トラックリストにおいて、所望のトラックの次に列挙されたトラックとなる。要するに、タイトル順に再生されてしまう。したがって、ユーザは、所望のトラックを指定したとき、所望のトラックの再生後に、アーティストやアルバムが所望のトラックと関連する他のトラックを連続して聴くことができない。
特開2007−80381号公報に開示された再生装置では、所定のリストに基づいてトラックを連続再生した後、再生履歴に基づいてユーザ嗜好に沿った他のトラックを連続再生する。しかしながら、ユーザが所望の1つのトラックを指定した場合の連続再生処理については開示されていない。また、再生履歴はユーザの全般的な嗜好を示すものの、所望のトラックを指定したときのユーザ嗜好を必ずしも反映しない。
特開2007−80381号公報
本発明の目的は、所望のコンテンツファイルを指定すれば、そのコンテンツファイルに関連する他のコンテンツファイルを連続再生できる再生装置を提供することである。
本発明の他の目的は、所望のコンテンツファイルを指定すれば、ユーザ嗜好に沿った他のコンテンツファイルを連続再生できる再生装置を提供することである。
課題を解決するための手段及び発明の効果
本発明の再生装置は、記憶手段と、表示指定手段と、表示ソート手段と、表示手段と、属性値指定手段と、再生ソート手段と、再生手段とを備える。記憶手段は、複数のコンテンツファイルと、各々が各コンテンツファイルに対応した複数の属性情報とを記憶する。各属性情報は、互いに階層関係を有する複数の属性項目と、当該複数の属性項目に対応した複数の属性値を含む。表示指定手段は、複数の属性項目の中から所望の表示用属性項目を指定する。表示ソート手段は、複数の属性情報内の表示用属性項目に対応する属性値をソートする。表示手段は、ソートされた属性値のリストを表示する。属性値指定手段は、表示されたリストの中から所望の属性値を指定する。再生ソート手段は、表示用属性項目よりも上位の属性項目で複数のコンテンツファイルをソートする。再生手段は、再生ソート手段によりソートされた順に、指定された属性値を含む属性情報に対応するコンテンツファイルから順次再生する。ここで、コンテンツファイルとは、たとえば、音声、曲、映像、画像等のコンテンツのファイルである。また、属性項目とはたとえば、コンテンツのジャンル、アーティスト、アルバム、タイトル等である。
本発明による再生装置は、指定された属性値に対応する属性項目よりも上位の属性項目でコンテンツファイルをソートし、指定された属性値を含む属性情報に対応したコンテンツファイルから順次再生する。したがって、たとえば、属性項目「タイトル」でソートされたリストに基づいて、タイトルの所望の属性値を指定した場合、属性項目「タイトル」よりも上位の属性項目「アーティスト」でソートされた順に、指定された属性項目のコンテンツファイルから順次再生できる。そのため、たとえば、ユーザが、指定したコンテンツファイルが属する上位の属性項目の属性値(たとえばアーティストやアルバム)を知らなくても、下位の属性項目の属性値(たとえばタイトル)を指定すれば、指定した属性値で特定されるコンテンツファイルと同じアーティスト又はアルバムに属する他のコンテンツファイルを連続して聴くことができる。
好ましくは、再生装置はさらに、再生指定手段を備える。再生指定手段は、複数の属性項目の表示用属性項目よりも上位の再生用属性項目を指定する。再生ソート手段は、指定された再生用属性項目で複数のコンテンツファイルをソートする。
この場合、ユーザは自身の嗜好に基づいて、再生用属性項目を選択できる。そのため、ユーザ嗜好に基づいて、指定された属性値を含む属性情報に対応するコンテンツファイルと関連性を有する他のコンテンツファイルを容易に連続再生できる。
好ましくは、再生手段はさらに、再生ソート手段によりソートされた複数のコンテンツファイルのうち、指定された再生用属性項目の属性値が指定された属性値を含む属性情報に対応したコンテンツファイルと同じコンテンツファイルを再生する。
この場合、再生装置は、たとえば、指定された属性値を含む属性情報に対応したコンテンツと同じアーティストの他のコンテンツを再生する。そのため、コンテンツを指定したときのユーザ嗜好により即したコンテンツを連続再生できる。
この場合、たとえば、たとえば属性項目「タイトル」の属性値を指定したときに、属性項目「アーティスト」でソートされた順に既に再生している場合、そのソート順を利用して指定された属性値を含む属性情報に対応したコンテンツから順次再生できる。
好ましくは、再生手段はさらに、再生ソート手段によりソートされた複数のコンテンツファイルのうち、指定された再生用属性項目の属性値が指定された属性値を含む属性情報に対応したコンテンツファイルと同じコンテンツファイルを再生する。
この場合、再生装置は、たとえば、指定されたタイトルのコンテンツのアーティストの他のコンテンツを再生する。そのため、コンテンツを指定したときのユーザ嗜好により即したコンテンツを連続再生できる。
好ましくは、表示ソート手段はさらに、表示用属性項目で複数の属性情報をソートする。表示手段はさらに、ソートされた属性情報のリストを表示する。再生装置はさらに、受付手段を備える。受付手段は、表示されたリスト内の所望の属性情報内の所望の属性値の指定を受け付ける。属性値指定手段は、受け付けた属性値を指定する。再生ソート手段は、受け付けた属性値の属性項目でソートする。
この場合、指定手段は1回の受け付けで属性項目とコンテンツファイルとを指定できる。
本発明の再生プログラムは、上述の手段による動作をコンピュータに実行させる。
以下、図面を参照し、本発明の実施の形態を詳しく説明する。図中同一又は相当部分には同一符号を付してその説明は繰り返さない。
[第1の実施の形態]
[全体構成]
図1を参照して、本実施の形態による再生装置1は、CPU11と、ハードディスクドライブ12と、メモリ13と、信号処理回路14と、出力端子15と、ディスプレイ16とを備える。
HDD12には、予め再生プログラムが格納されている。HDD12はまた、複数のコンテンツファイル(以下、トラックという)を蓄積する。以下、トラックが音楽ファイルであると仮定して説明するが、トラックは映像ファイルであってもよいし、画像ファイルであってもよいし、他のコンテンツファイルであってもよい。HDD12はさらに、蓄積された複数のトラックの属性に関する属性情報を記憶する。属性情報は、複数の属性項目の属性値を含む。ここで、属性項目とは、アーティスト、アルバム、タイトル、ジャンル等であり、属性値とは、各属性項目の実際のデータ(たとえば、アーティスト名やアルバム名等)である。
CPU11は、再生プログラムに基づいて、再生装置1全体を制御する。具体的には、CPU11は、HDD12から所定のトラックを読み出して復号し、再生処理を実行する。CPU11はさらに、連続再生するためのプレイリストを作成する。
信号処理回路14は、CPU11により再生処理されたトラック信号に対して所定の信号処理を実行する。信号処理回路14はたとえば、デジタルシグナルプロセッサ(Digital Signal Processor:DSP)である。信号処理されたトラック信号は、出力端子15を介して図示しないスピーカ又はヘッドフォンに伝送され、外部に出力される。
上述のとおり、HDD12は、蓄積された複数のトラックの属性情報を記憶する。具体的には、各トラックの属性情報は、図2に示す属性データベースに登録される。HDD12は、属性データベースを記憶する。
図2を参照して、属性データベース内の各レコードは、HDD12に格納されたトラックに関する情報が登録されている。各レコードは、絶対IDを登録するためのフィールドと、属性情報を登録するためのフィールドと、そのトラックの格納場所であるファイルパスを登録するためのフィールドとを含む。属性情報を登録するためのフィールドはさらに、属性情報内の各属性項目の属性値を登録するためのフィールドを含む。図2では一例として、属性項目「アーティスト」の属性値(つまり、アーティスト名)を登録するためのフィールドと、属性項目「アルバム」の属性値(つまり、アルバム名)を登録するためのフィールドと、属性項目「トラック」の属性値(つまり、トラックのタイトル名)を登録するためのフィールドとを含む。絶対IDは、各トラックがHDD12に記憶されるときに付与される識別子であり、各トラックに固有の識別子である。
CPU11は、トラックをHDD12に記憶するごとに、記憶したトラックに関する情報を属性データベースに記憶する。つまり、属性データベースには、HDD12がトラックを記憶した順に、トラックに関する情報が登録される。
[再生装置の動作]
[モード再生]
はじめに、再生装置1で実行されるモード再生について説明する。モード再生は、HDDに記憶された複数のトラックのうち、アーティスト、アルバム、トラックといった各属性項目でソートしたプレイリストをツリー構造で作成し、プレイリストに列挙された順にトラックを再生する。ソートは、たとえば、50音順でもよいし、アルファベット順でもよい。また、データ量順であってもよいし、HDD12への登録順であってもよい。
たとえば、ユーザがアーティスト「Eagle△」の曲を聴きたい場合、ディスプレイ16に表示された再生モード選択画面で、属性項目「アーティスト」を選択する。このとき、CPU11は、属性データベースを用いて、属性項目「アーティスト」でトラックをソートしたプレイリストを作成し、ディスプレイ16に表示する。以下、属性項目「アーティスト」トラックをソートしたプレイリストをアーティストリストという。
CPU11は、アーティストリストを図3に示すツリー構造でメモリ13に登録する。図3を参照して、アーティストリストのツリーは、複数の階層を有する。図3では、アーティストリストは、4つの階層(第1階層〜第4階層)を持つ。第1階層(root階層)には、選択された属性項目が規定される。ここでは、アーティストが選択されたため、属性項目「アーティスト」を示す「3」が規定される。続いて、第2階層(folder階層)には、ソートされたアーティストの一覧が規定される。ここでは、アーティストを50音順でソートし、先頭のアーティストから順に、「0」、「1」、「2」と番号が振られる。ソートの方法は50音順以外であってもよい。第3階層(album階層)には、各アーティストのアルバムがソートされた一覧が規定される。第3階層で各アルバムごとに割り振られる番号は、そのアルバムが属するアーティストごとにリセットされる。具体的には、アーティスト「アーチ」の2つのアルバム「Birthday」及び「Transit」にはそれぞれ番号「0」、「1」が割り振られ、異なるアーティスト「Eagle△」のアルバムは新たに「0」から番号が割り振られる。第4階層(track階層)には、各アルバムに属するトラック(タイトル)の一覧が規定される。第4階層でトラックごとに割り振られる番号は、トラックが属するアルバムごとにリセットされる。具体的には、アルバム「Birthday」に10曲のトラックが属する場合、各トラックに「0」〜「9」の番号が付与される。一方、アルバム「Transit」に8曲のトラックが属する場合、各トラックに「0」〜「7」の番号が付与される。各階層の属性値に割り振られた番号は、割り振られた属性値と対応付けてメモリ13に格納される。
以上のとおり、本実施の形態による再生装置1は、属性情報内の属性項目を階層化する。具体的には、上位から下位に向かって、属性項目「アーティスト」、「アルバム」、「トラック」の順に、階層化する。換言すれば、これらの属性項目は階層関係を有する。上位の階層(属性項目)ほど、その属性値に属するトラック数が多くなる。一方、最下位の階層である属性項目「トラック」では、1つの属性値に属するトラックは1つである。
アーティストリスト内の各トラックは、第1階層〜第4階層の各階層で付与された番号に基づいて相対IDが付与される。相対IDは、第1階層〜第4階層の番号を左から順に列挙したものであり、たとえば、図3中のトラック「sweethearts」の相対IDは(3.0.0.1)である。
CPU11は、図4に示すように、アーティストリストの作成により決定された各トラックの相対IDと、属性データベース内の各トラックの絶対IDとを対応付けた相対表200をメモリ13に格納する。つまり、相対表200の相対IDの列挙順はアーティストリストのトラックの列挙順と同じである。
CPU11は、作成されたアーティストツリーのうち、第2階層(folder階層)でソートされた複数のアーティスト(属性値)をディスプレイ16に表示する。ユーザは表示された複数のアーティストの中から所望のアーティスト「Eagle△」を指定する。このとき、CPU11は、メモリ13を参照して、指定されたアーティストの属性値「Eagle△」に割り振られた番号を特定する。図3では、アーティスト「Eagle△」に割り振られた番号が「1」である。そこで、CPU11は、図4の相対表を参照して、相対IDの第2階層に相当する数値、つまり、左から2番目の数値が「1」であるトラック群のうち、先頭に位置するトラックを特定する。そして、特定されたトラックからアーティストリストでソートされた順(つまり、相対表200の列挙順)に、トラックを順次再生する。
第2階層に相当する番号が「1」である相対IDのトラック群を全て再生したとき、第2階層に相当する番号が「2」である相対IDのトラック群を先頭から順次連続再生する。つまり、アーティスト「Eagle△」のトラック群の再生が完了したとき、アーティストリストにおいて、「Eagle△」の次に列挙されたアーティスト「風間○○」のトラックを再生する。換言すれば、再生モードとして属性項目「アーティスト」を選択した場合、再生装置1は、所望のアーティストのトラックからアーティストリストに列挙されたアーティスト順に連続再生する。
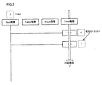
一方、ユーザが聴きたいトラックのタイトルが分かっている場合、モード再生として属性項目「トラック」が指定される。属性項目「トラック」が指定された場合、作成されるプレイリスト(以下、トラックリストという)のツリー構造は図5に示すとおりとなる。具体的には、第1階層(root階層)には、モード再生が「トラック」であることを示す番号「5」が割り振られる。そして、第2階層及び第3階層では属性項目ごとに分類されず、第4階層でソートされたトラックの一覧が規定される。そのため、第2及び第3階層に割り振られる番号は「0」とし、第4階層では、各トラックに対して、ソートされた順に「0」、「1」、「2」と順次番号を付与する。したがって、メモリに格納される相対表300は図6に示すとおりとなる。
要するに、トラックリストは、タイトルがソートされたトラックを列挙する。図5では、50音順にソートされている。そして、CPU11は、50音順に列挙されたタイトルをディスプレイ16に表示する。ユーザはディスプレイ16を参照して、または、キーワードによる検索を実行して、所望のトラックを指定する。このとき、CPU11は、指定されたトラックの相対IDから絶対IDを特定し、そのトラックを再生する。そして、再生が終了したのち、トラックツリーにおいて、指定されたトラックの次に列挙されたトラックを特定し、特定されたトラックを再生する。要するに、再生モードとして「トラック」を指定した場合、CPU11は、トラックリストに列挙されたトラック順に、つまり、タイトル順に、連続再生を実行する。
このようなモード再生だけでは、次のような問題が生じる。
ユーザがトラックのタイトルは知っているものの、そのトラックのアーティスト名やトラックが属するアルバム名を知らない場合がある。この場合、ユーザはタイトルしか分からないため、モード再生で属性項目「トラック」を選択し、所望のトラックを指定する。このとき、再生装置1は、指定されたトラックを再生するが、指定されたトラックの次に再生するトラックをトラックリストにしたがって決定する。つまり、タイトル順に次に再生するトラックを決定する。そのため、次に再生されるトラックは、指定されたトラックのアーティストと異なるアーティストである可能性が極めて高く、指定トラックとの関連性が極めて低くなる。
つまり、上述のモード再生では、ユーザが指定した属性値が上位の属性項目(たとえば、トラックに対するアーティストやアルバム)のものである場合、その属性値には、複数のトラックが属している。そのため、ユーザが指定した属性値を共有するトラックが複数存在する。したがって、プレイリストには、指定された属性値を共有するトラックがリスト上に連続して並ぶ。そのため、プレイリストに基づいて連続再生すれば、ユーザは再生されるトラックの関連性を認識できる。
しかしながら、指定した属性値が下位の属性項目(たとえばアーティストやアルバムに対するトラック)のものである場合、その属性値を共有するトラックは存在しない。したがって、指定された属性値の属性項目(トラック)でプレイリストを作成すれば、リスト中で、指定された属性値のトラックの前後に並ぶトラックは相互に関連性が低い。そのため、連続再生されるトラックの関連性を認識できない。
本実施の形態による再生装置1は、この問題を解決する。具体的には、下位の属性項目(たとえばトラック)の属性値(タイトル名)を指定した場合、指定されたタイトル名のトラック(以下、指定トラックという)の次に再生するトラックを、上位の属性項目(たとえばアーティスト、アルバム)が指定トラックと共通するトラックとする。これにより、ユーザは所望の属性値を指定すれば、指定された属性値で特定されるトラックと、上位の属性項目(アーティスト又はアルバム等)が共通する他のトラックを連続して聴くことができる。以下、再生装置1の動作について詳述する。
[本実施の形態による再生装置の動作]
図7を参照して、CPU11は、複数の属性項目(アーティスト、アルバム、タイトル)の中から、トラックを検索するための属性項目の指定を受けたか否かを監視する(S1)。以下、トラックを検索するための属性項目を表示用属性項目という。ユーザが所望のトラック(ここではタイトル「真夏の○○」のトラックとする)を聴きたい場合、図8に示すディスプレイ16の表示画面から、「Track名から検索」を選択する。つまり、最下位の属性項目「トラック」を指定する。このとき、CPU11は、表示用属性項目として「トラック」を指定する(S1でYES)。以下、表示用属性項目として最下位の属性項目「トラック」が指定されたと仮定して説明と続ける。
表示用属性項目として「トラック」を指定したとき、CPU11は、現在、モード再生中か否かを判断する(S2)。モード再生中である場合(S2でYES)、CPU11は、モード再生の種類(属性項目)が表示用属性項目よりも上位であるか否か判断する(S15)。たとえば、属性項目「アーティスト」でモード再生がされている場合、CPU11は、属性項目「アーティスト」は表示用属性項目「トラック」よりも上位であると判断する(S15でYES)。そこで、属性項目「アーティスト」を再生用属性項目としてメモリ13に格納する(S4)。再生用属性項目は、再生用のプレイリストを作成するために利用される。なお、属性項目「アルバム」でモード再生中の場合も、属性項目「アルバム」は属性項目「トラック」よりも上位であるため(S15でYES)、属性項目「アルバム」を再生用属性項目としてメモリ13に格納する。なお、ステップS15で判断した結果、モード再生の属性項目が表示用属性項目よりも下位である場合、たとえば、モード再生の属性項目が「タイトル」であり、表示用属性項目が「アルバム」である場合(S15でNO)、ステップS3に進む。
ステップS2で判断の結果、モード再生中でない場合(S2でNO)、たとえば、再生停止中に表示用属性項目の指定を受けた場合、CPU11は、メモリ13に格納された問い合わせフラグをONにする(S3)。問い合わせフラグは、後でユーザに、再生時のプレイリストを構築するための再生用属性属性項目を選択させるためのフラグである。
続いて、CPU11は、表示用属性項目でその属性値をソートしたリストを作成する(S5)。具体的には、具体的には、CPU11は、属性データベースを用いて、図5に示すトラックリスト及び図6に示す相対表300を作成する。CPU11は、作成されたトラックリストに基づいて、ソートされたトラックのタイトルをディスプレイ16に表示する(S6)。表示画面の一例を図9に示す。
続いて、CPU11は、表示用属性項目の属性値(ここではトラック名)の指定を受け付ける(S7)。ユーザは、図9に示す表示画面のトラックリストをスクロールして、所望のトラック名「真夏の○○」を見つける。そして、ユーザは、所望のトラック名「真夏の○○」をカーソルで選択する。このとき、CPU11は、トラック名「真夏の○○」を指定する(S7でYES)。
CPU11は、指定されたトラック名に対応するトラック(以下、指定トラックという)の再生を開始する(S8)。具体的には、CPU11は、トラックリストにより指定されたトラック名の相対IDを特定し、次いで、相対表300により相対IDに対応した絶対IDを特定する。そして、属性データベースに基づいて、特定された絶対IDに対応するレコード内のファイルパスを読み出す。そして読み出されたファイルパスからHDD12内の指定トラックを読み出し、再生する。なお、既にモード再生中である場合、CPU11は、再生中のトラックの再生が完了したのち、指定トラックの再生を開始する。読み出された絶対IDは、メモリ13に格納される。なお、表示用属性項目が「アルバム」である場合、ステップS7で指定された属性値(アルバム名)に対応するトラックが複数存在する場合がある。このとき、CPU11は、複数のトラックのうち任意の1つのトラックを指定トラックに決定し、指定トラックを再生する(S8)。
指定トラックの再生を開始したとき、CPU11は、メモリ13に格納された問い合わせフラグがONか否かを判断する(S9)。問い合わせフラグがOFFである場合(S9でNO)、既にステップS4で既に再生用属性項目が記憶されている。そのため、ステップS13の連続再生処理に進む。
ステップS9での判断の結果、問い合わせフラグがONである場合(S9でYES)、モード再生が実行されていない。したがって、CPU11は、ユーザに、指定されたトラックに対して、どの属性項目(再生用属性項目)が関連するトラックを連続再生したいかを問い合わせる。具体的には、CPU11は、再生用属性項目の指定を受け付ける(S10)。たとえば、図10に示すように、ディスプレイ16にポップアップ画面を表示し、再生用属性項目の指定を受け付ける。
ユーザはたとえば図示しないマウス等の入力装置に応じて、ポップアップ画面上の属性項目を選択する。属性項目が選択されたとき、CPU11は、その属性項目を再生用属性項目に指定する(S10でYES)。ここでは、「アーティスト」が指定されたとして説明を続ける。
CPU11はさらに、指定された再生用属性項目がステップS1で指定された表示用属性項目よりも上位か否かを判断する。ここでは、再生用属性項目が「アーティスト」であり、表示用属性項目「タイトル」よりも上位である(S11でYES)。したがって、CPU11は、指定された再生用属性項目「アーティスト」をメモリ13に格納する(S12)。なお、再生用属性項目が表示用属性項目よりも下位である場合(S11でNO)、CPU11は、ステップS10に戻って再び再生用属性項目の指定を受け付ける。
ステップS12で再生用属性項目を記憶した後、CPU11は、指定トラックの再生後に連続再生するトラックを決定し、連続再生する(S13:連続再生処理)。図11を参照して、CPU11は、ステップS4又はS21でメモリ13に格納された再生用属性項目を読み出す(S21)。ここでは、再生用属性項目「アーティスト」が読み出される。そして、CPU11は、再生用属性項目「アーティスト」でHDD12内のトラックをソートし、アーティストリストを生成する(S22)。このとき、図4に示す相対表200も作成される。続いて、CPU11は、ステップS8でメモリ13に格納された指定トラックの絶対IDを読み出す(S23)。そして、ステップS22で作成されたアーティストリスト及び相対表200を参照して、読み出された絶対IDに対応する相対IDを読み出す(S24)。これにより、ステップS22で作成されたアーティストリストにおける指定トラックの位置がわかる。そのためCPU11は、指定トラックの再生が完了したとき、アーティストリストにおいて、指定トラックの次に列挙されたトラックからソート順に順次トラックを再生する(S25)。
以上のとおり、CPU11は、トラックを指定したとき、再生用属性項目「アーティスト」でソートされた順に、指定トラックから順次トラックを連続再生する。
再生用属性項目「アーティスト」でソートした場合、アーティストリストには、属性項目「アーティスト」の属性値(つまり、アーティスト名)が同じトラックが連続して並ぶ。そのため、ソート順に再生すれば、指定トラックと同じアーティストのトラックを連続再生することができる。そのため、ユーザは、再生用属性項目「アーティスト」よりも下位の表示用属性項目「トラック」の属性値(トラック名)を指定すれば、指定トラックと関連性(同じアーティスト名)を有する他のトラックを連続して聴くことができる。
また、ユーザは、ステップS10で再生用属性項目を指定できる。そのため、ユーザは、現在の自分の嗜好に応じて、指定トラックと後続のトラックとの関連性を決めることができる。たとえば、指定トラックと同じアーティストのトラックを連続して聴きたければ、ユーザは再生用属性項目「アーティスト」を指定すればよいし、指定トラックと同じアルバムのトラックを連続して聴きたければ、再生用属性項目「アルバム」を選択すればよい。
さらに、既にモード再生中の場合、そのモード(属性項目)を再生用属性項目として、指定トラックと関連する他のトラックを連続再生する。要するに、モード再生時のモードでソートされた順に、指定トラックから順次再生し直す。モード再生している場合、ユーザは、そのモード(属性項目)に沿ってトラックを連続再生したい場合が多い。したがってこの場合、ユーザは、あらためて再生用属性項目を選択することなく、表示用属性項目の属性値(ここではトラック名)を指定するだけで、現在の自分の嗜好に応じた複数のトラックを連続して聴くことができる。
上述のステップS25の処理では、単にアーティストリストに沿ってトラックを再生したが、指定された再生属性項目の属性値が指定トラックと同じトラックのみを連続再生してもよい。この場合のステップS25の処理は図12に示すとおりとなる。図12を参照して、CPU11はまず、アーティストリスト及び相対表200に基づいて、指定トラックの相対IDの次に列挙された相対IDを特定する(S251)。続いて、特定された相対IDのうち、再生用属性項目(アーティスト)に相当する数値、つまり左から2番目の数値(以下、アーティスト数値という)が指定トラックの相対IDと同じか否かを判断する。アーティスト数値が指定トラックの相対IDと同じである場合(S252でYES)、ステップS251で特定されたトラックを次に再生する指定トラックとして、メモリ13に登録する(S253)。一方、ステップS252での判断の結果、アーティスト数値が指定トラックと異なる場合(S252でNO)、アーティストリスト及び相対表200に基づいて、アーティスト数値が指定トラックと同じ相対IDを特定する。そして、特定された相対IDのうち、アーティストリスト及び相対表200内で最上位に列挙された相対IDを特定する(S254)。そして、特定された相対IDのトラックを指定トラックとしてメモリ13に登録する(S255)。
再生中のトラックの再生が完了したとき、CPU11は、上述の処理により更新された新たな指定トラックの再生を開始する(S256)。そして、再生停止指示をユーザから受け付けるまで(S257でYES)、S251〜S256までの処理を継続する。再生停止処理を受け付けたとき(S257でYES)、CPU11はトラックの再生を停止する(S258)。
なお、上述の実施の形態では、表示用属性項目として「トラック」を指定したが、これに限らず、表示用属性項目として「アルバム」を指定してもよい。この場合、再生用属性項目として表示用属性項目「アルバム」よりも上位の属性項目(ここではアーティスト)を指定する。そうすれば、表示用属性項目の属性値(アルバム名)で指定された指定トラックとアーティストが共通する他のトラックが連続再生される。そのため、ユーザは、指定トラックと後続のトラックとは、属性項目「アーティスト」が共通すると認識できる。
[第2の実施の形態]
再生装置1が図13に示すような画面をディスプレイ16に表示する場合の、再生装置1の動作処理を説明する。
図13及び図14を参照して、CPU11は初めに、HDD12が記憶する複数の属性情報のリストを作成し、図13に示すように、ディスプレイ16の表示画面に表示する(S31)。図13を参照して、表示画面に表示されたリストには、複数のレコードを含む。各レコードは、各トラックの属性情報を含む。具体的には、各レコードは、属性項目「トラック」の属性値が登録されるトラックフィールド201と、属性項目「アーティスト」の属性値が登録されるアーティストフィールド202と、属性項目「アルバム」の属性値が登録されるアルバムフィールド203とを含む。各フィールドの最上位には、対応する属性項目タブ(トラックタブ204、アーティストタブ205及びアルバムタブ206)が表示される。
ユーザが所望のタイトル「真夏の○○」のトラックを聴きたいとき、ユーザは、マウス等の図示しない入力装置を用いて、図13中のトラックタブ204を選択する。このとき、CPU11は、表示用属性項目として属性項目「トラック」を指定する(S32でYES)。CPU11は、属性情報を表示用属性項目でソートしてリストを再作成する(S33)。つまり、属性情報をトラックのタイトル順にソートし、ディスプレイ16に表示する(S34)。この場合もリストには各トラックの属性情報(アルバム名、アーティスト名、タイトル名)が表示される。
ユーザは、図13に示す表示画面内のリストをスクロールして、所望の属性値「真夏の○○」が表示されたレコードを指定する。指定にはたとえば、マウス等の入力装置を用いる。CPU11は、レコードの指定を受け付ける(S35)。
続いて、CPU11は、ユーザがレコードを指定したとき、3つのフィールドのいずれのフィールドを選択したかを特定する。ユーザはリスト内のレコードを指定するとき、トラックフィールド201、アーティストフィールド202及びアルバムフィールド203のいずれかのフィールドを選択する。つまり、属性情報内の所定の属性値を選択する。これにより、CPU11は、指定されたフィールド(属性値)を含むレコードで特定されるトラックを指定し、かつ、指定されたフィールドの属性項目を再生属性項目として指定する(S36)。つまり、本実施の形態による再生装置では、1回のユーザ操作で指定トラック及び再生属性項目を指定できる。
CPU11は、指定トラックの絶対ID及び属性項目をメモリ13に格納し(S37)、指定トラックを再生する(S38)。そして、第1の実施の形態と同様に連続再生処理を実行する(S12)。なお、ステップS36で指定された再生属性項目がステップS32で指定された表示用属性項目よりも下位である場合、指定をやり直してもよい。
以上、図13の表示画面上のリストを用いれば、ユーザは、1回の操作で所望のトラック及び所望の属性項目の指定をすることができる。
上述の実施の形態では、再生用属性項目を指定したが、最上位の属性項目を常に再生用属性項目としてもよい。上述の例では、属性項目「アーティスト」を再生用属性項目として固定していてもよい。この場合、ユーザが再生用属性項目を指定する必要がなくなる。
第1の実施の形態において、所定の再生モードで再生中であっても、問い合わせフラグをONとして、ステップS10で再生モードを受け付けてもよい。たとえば、現在アーティストモードで再生中であっても、指定トラック以降の再生をアルバムモードで再生したいとユーザが希望する場合もあるからである。
また、上述の実施の形態では、指定トラックの再生を開始した後に連続再生処理を実行したが、ステップS12の連続再生処理が実行されるまで指定トラックを再生せず、連続再生処理内のステップS25で、指定トラックからソート順にトラックを連続再生してもよい。
以上、本発明の実施の形態を説明したが、上述した実施の形態は本発明を実施するための例示に過ぎない。よって、本発明は上述した実施の形態に限定されることなく、その趣旨を逸脱しない範囲内で上述した実施の形態を適宜変形して実施することが可能である。
本発明の第1の実施の形態による再生装置の構成を示す機能ブロック図である。 図1に示したハードディスクドライブが記憶する属性データベースのデータ構造を示す図である。 図1に示した再生装置が作成するプレイリストの一例を示す図である。 図1に示した再生装置が作成する相対表の一例を示す図である。 図3と異なる他のプレイリストの一例を示す図である。 図4と異なる他の相対表の一例を示す図である。 図1に示した再生装置の動作の詳細を示すフロー図である。 図7の動作中のディスプレイの表示画面の一例である。 図8と異なる他の表示画面の一例である。 図8及び図9と異なる他の表示画面の一例である。 図7中の連続再生処理の詳細を示すフロー図である。 図11に示した連続再生処理の他の例を示すフロー図である。 本発明の第2の実施の形態による再生装置のディスプレイの表示画面の一例を示す図である。 第2の実施の形態の再生装置の動作の詳細を示すフロー図である。
符号の説明
1 再生装置
12 ハードディスクドライブ
13 メモリ
16 ディスプレイ

Claims (6)

  1. コンテンツファイルを再生する再生装置であって、
    複数のコンテンツファイルと、各々が前記各コンテンツファイルに対応する複数の属性情報とを記憶する記憶手段を備え、
    前記属性情報は、互いに階層関係を有する複数の属性項目に対応した複数の属性値を含み、
    前記再生装置はさらに、
    前記複数の属性項目の中から所望の表示用属性項目を指定する表示指定手段と、
    前記複数の属性情報内の前記表示用属性項目に対応する属性値をソートする表示ソート手段と、
    前記ソートされた属性値のリストを表示する表示手段と、
    前記表示されたリストの中から所望の属性値を指定する属性値指定手段と、
    前記表示用属性項目よりも上位の属性項目で前記複数のコンテンツファイルをソートする再生ソート手段と、
    前記再生ソート手段によりソートされた順に、前記指定された属性値を含む属性情報に対応したコンテンツファイルから順次再生する再生手段とを備えることを特徴とする再生装置。
  2. 請求項1に記載の再生装置であってさらに、
    前記複数の属性項目の中から、前記表示用属性項目よりも上位の再生用属性項目を指定する再生指定手段を備え、
    前記再生ソート手段は、前記再生用属性項目で前記複数のコンテンツファイルをソートすることを特徴とする再生装置。
  3. 請求項2に記載の再生装置であって、
    前記再生手段はさらに、前記再生ソート手段によりソートされた複数のコンテンツファイルのうち、前記指定された再生用属性項目の属性値が前記指定された属性値を含む属性情報に対応したコンテンツファイルと同じコンテンツファイルを再生することを特徴とする再生装置。
  4. 請求項1に記載の再生装置であって、
    前記再生手段はさらに、前記属性値が指定されたときに所定の属性項目でソートされた順にコンテンツファイルを再生中である場合、前記所定の属性項目でソートされた順に、前記指定された属性値を含む属性情報に対応したコンテンツファイルから順次再生することを特徴とする再生装置。
  5. 請求項1に記載の再生装置であって、
    前記表示ソート手段はさらに、前記表示用属性項目で前記複数の属性情報をソートし、
    前記表示手段はさらに、前記ソートされた属性情報のリストを表示し、
    前記再生装置はさらに、
    前記表示されたリスト内の所望の属性情報内の所望の属性値の指定を受け付ける受付手段を備え、
    前記属性値指定手段は、前記受け付けた属性値を指定し、
    前記再生ソート手段は、前記受け付けた属性値の属性項目でソートすることを特徴とする再生装置。
  6. 複数のコンテンツファイルと、各々が前記各コンテンツファイルに対応し、互いに階層関係を有する複数の属性項目の属性値を含む複数の属性情報を記憶するステップと、
    前記複数の属性項目の中から所望の表示用属性項目を指定するステップと、
    前記複数の属性情報内の前記表示用属性項目に対応する属性値をソートするステップと、
    前記ソートされた属性値のリストを表示するステップと、
    前記表示されたリストの中から所望の属性値を指定するステップと、
    前記表示用属性項目よりも上位の属性項目で前記複数のコンテンツファイルをソートするステップと、
    前記指定された属性値を含む属性情報に対応したコンテンツファイルからソートした順にコンテンツファイルを再生するステップとを備えることを特徴とする再生プログラム。
JP2008217624A 2008-08-27 2008-08-27 再生装置及び再生プログラム Expired - Fee Related JP4760877B2 (ja)

Priority Applications (1)

Application Number Priority Date Filing Date Title
JP2008217624A JP4760877B2 (ja) 2008-08-27 2008-08-27 再生装置及び再生プログラム

Applications Claiming Priority (1)

Application Number Priority Date Filing Date Title
JP2008217624A JP4760877B2 (ja) 2008-08-27 2008-08-27 再生装置及び再生プログラム

Publications (2)

Publication Number Publication Date
JP2010055665A true JP2010055665A (ja) 2010-03-11
JP4760877B2 JP4760877B2 (ja) 2011-08-31

Family

ID=42071425

Family Applications (1)

Application Number Title Priority Date Filing Date
JP2008217624A Expired - Fee Related JP4760877B2 (ja) 2008-08-27 2008-08-27 再生装置及び再生プログラム

Country Status (1)

Country Link
JP (1) JP4760877B2 (ja)

Cited By (4)

* Cited by examiner, † Cited by third party
Publication number Priority date Publication date Assignee Title
JP2012053959A (ja) * 2010-09-02 2012-03-15 Yamaha Corp コンテンツ再生システム、制御装置及び再生装置
JP2012128810A (ja) * 2010-12-17 2012-07-05 Nintendo Co Ltd プログラム、情報処理装置、情報処理システムおよび情報処理方法
JP2012155792A (ja) * 2011-01-26 2012-08-16 Pioneer Electronic Corp プレイリスト編集装置、プレイリスト編集方法、プレイリスト編集プログラムおよびプレイリスト編集プログラムを格納した記録媒体
JP2015195067A (ja) * 2014-03-31 2015-11-05 富士通株式会社 記憶装置、データ記憶プログラム、およびデータ記憶方法

Citations (3)

* Cited by examiner, † Cited by third party
Publication number Priority date Publication date Assignee Title
JP2005071548A (ja) * 2003-08-28 2005-03-17 Matsushita Electric Ind Co Ltd オーディオ再生装置
JP2005116068A (ja) * 2003-10-08 2005-04-28 Alpine Electronics Inc オーディオ装置及びその提供可能なコンテンツ提示方法
JP2008191490A (ja) * 2007-02-06 2008-08-21 Alpine Electronics Inc オーディオ装置及びその再生方法

Patent Citations (3)

* Cited by examiner, † Cited by third party
Publication number Priority date Publication date Assignee Title
JP2005071548A (ja) * 2003-08-28 2005-03-17 Matsushita Electric Ind Co Ltd オーディオ再生装置
JP2005116068A (ja) * 2003-10-08 2005-04-28 Alpine Electronics Inc オーディオ装置及びその提供可能なコンテンツ提示方法
JP2008191490A (ja) * 2007-02-06 2008-08-21 Alpine Electronics Inc オーディオ装置及びその再生方法

Cited By (5)

* Cited by examiner, † Cited by third party
Publication number Priority date Publication date Assignee Title
JP2012053959A (ja) * 2010-09-02 2012-03-15 Yamaha Corp コンテンツ再生システム、制御装置及び再生装置
JP2012128810A (ja) * 2010-12-17 2012-07-05 Nintendo Co Ltd プログラム、情報処理装置、情報処理システムおよび情報処理方法
US9268781B2 (en) 2010-12-17 2016-02-23 Nintendo Co., Ltd. Computer readable medium recording program, information processing device, information processing system, and information processing method
JP2012155792A (ja) * 2011-01-26 2012-08-16 Pioneer Electronic Corp プレイリスト編集装置、プレイリスト編集方法、プレイリスト編集プログラムおよびプレイリスト編集プログラムを格納した記録媒体
JP2015195067A (ja) * 2014-03-31 2015-11-05 富士通株式会社 記憶装置、データ記憶プログラム、およびデータ記憶方法

Also Published As

Publication number Publication date
JP4760877B2 (ja) 2011-08-31

Similar Documents

Publication Publication Date Title
US9247295B2 (en) Automated playlist generation
KR100520115B1 (ko) 플레이리스트 관리 장치 및 방법
JP5631639B2 (ja) Av装置
US20070255747A1 (en) System, method and medium browsing media content using meta data
JP2006127367A (ja) 情報管理方法、情報管理プログラムおよび情報管理装置
JP4760877B2 (ja) 再生装置及び再生プログラム
JP2010152970A (ja) 階層メニューによるコンテンツの検索装置および検索方法、コンテンツ再生装置
JP4244011B2 (ja) データ再生装置およびデータ再生装置における再生データの管理方法
JP2009076158A (ja) コンテンツ再生装置、ユーザインターフェース最適化方法およびユーザインターフェース最適化プログラム
JP2010198713A (ja) オーディオ再生装置
US20160078902A1 (en) Content reproduction method and apparatus
JP4858332B2 (ja) オーディオ装置及び連続再生プログラム
JP2008526071A (ja) 番組検索情報を編集する方法および装置
JP5755456B2 (ja) プレイリスト編集装置、プレイリスト編集方法、プレイリスト編集プログラムおよびプレイリスト編集プログラムを格納した記録媒体
KR101415024B1 (ko) 메타데이터를 이용한 음악 검색 방법
JP2004030116A (ja) 情報再生表示装置、方法及びプログラム
JP2006277884A (ja) メディアデータ選択装置、メディアデータ選択方法、メディアデータ選択プログラムおよびそのプログラムを記録した記録媒体
JP5570794B2 (ja) オーディオ再生装置
JP2010257368A (ja) コンテンツ情報表示制御装置及びそのプログラム
JP5885377B2 (ja) コンテンツ再生プログラム
JP2005182855A (ja) 再生装置及び記録再生装置
JP3995657B2 (ja) データ処理装置
JP2011096294A (ja) コンテンツ再生装置、プログラム、及びコンテンツ再生方法
JP2011044201A (ja) オーディオ装置、プログラム、及び楽曲ファイル記憶方法
WO2009130830A1 (ja) コンテンツ再生装置、コンテンツ記録装置及びプログラム

Legal Events

Date Code Title Description
A977 Report on retrieval

Free format text: JAPANESE INTERMEDIATE CODE: A971007

Effective date: 20101101

A131 Notification of reasons for refusal

Free format text: JAPANESE INTERMEDIATE CODE: A131

Effective date: 20101109

A711 Notification of change in applicant

Free format text: JAPANESE INTERMEDIATE CODE: A712

Effective date: 20101227

A521 Written amendment

Free format text: JAPANESE INTERMEDIATE CODE: A523

Effective date: 20110107

RD03 Notification of appointment of power of attorney

Free format text: JAPANESE INTERMEDIATE CODE: A7423

Effective date: 20110401

TRDD Decision of grant or rejection written
A01 Written decision to grant a patent or to grant a registration (utility model)

Free format text: JAPANESE INTERMEDIATE CODE: A01

Effective date: 20110510

A61 First payment of annual fees (during grant procedure)

Free format text: JAPANESE INTERMEDIATE CODE: A61

Effective date: 20110523

FPAY Renewal fee payment (event date is renewal date of database)

Free format text: PAYMENT UNTIL: 20140617

Year of fee payment: 3

R150 Certificate of patent or registration of utility model

Free format text: JAPANESE INTERMEDIATE CODE: R150

Ref document number: 4760877

Country of ref document: JP

Free format text: JAPANESE INTERMEDIATE CODE: R150

LAPS Cancellation because of no payment of annual fees