JP2010055248A - 客層付販売情報生成システム - Google Patents

客層付販売情報生成システム Download PDF

Info

Publication number
JP2010055248A
JP2010055248A JP2008217806A JP2008217806A JP2010055248A JP 2010055248 A JP2010055248 A JP 2010055248A JP 2008217806 A JP2008217806 A JP 2008217806A JP 2008217806 A JP2008217806 A JP 2008217806A JP 2010055248 A JP2010055248 A JP 2010055248A
Authority
JP
Japan
Prior art keywords
information
customer
sales information
sales
analysis server
Prior art date
Legal status (The legal status is an assumption and is not a legal conclusion. Google has not performed a legal analysis and makes no representation as to the accuracy of the status listed.)
Granted
Application number
JP2008217806A
Other languages
English (en)
Other versions
JP5238933B2 (ja
Inventor
Yuji Imada
祐二 今田
Current Assignee (The listed assignees may be inaccurate. Google has not performed a legal analysis and makes no representation or warranty as to the accuracy of the list.)
SHOEI COMPUTER KK
Original Assignee
SHOEI COMPUTER KK
Priority date (The priority date is an assumption and is not a legal conclusion. Google has not performed a legal analysis and makes no representation as to the accuracy of the date listed.)
Filing date
Publication date
Application filed by SHOEI COMPUTER KK filed Critical SHOEI COMPUTER KK
Priority to JP2008217806A priority Critical patent/JP5238933B2/ja
Publication of JP2010055248A publication Critical patent/JP2010055248A/ja
Application granted granted Critical
Publication of JP5238933B2 publication Critical patent/JP5238933B2/ja
Expired - Fee Related legal-status Critical Current
Anticipated expiration legal-status Critical

Links

Images

Landscapes

  • Cash Registers Or Receiving Machines (AREA)
  • Management, Administration, Business Operations System, And Electronic Commerce (AREA)

Abstract

【課題】既存のPOSレジ端末を用いながら、販売情報と顧客の属性を関連付けた情報を有効に生成可能な技術の実現。
【解決手段】客層分析サーバ18と、ネットワークカメラ16と、販売情報分析サーバ20と、POSレジ端末14を備えた客層付販売情報生成システム10。ネットワークカメラ16は、顧客の画像データを客層分析サーバ18に送信する。客層分析サーバ18は、この画像データから顧客の顔面を定期的に検出し、その特徴に基づいて顧客の属性を特定し、この属性に分析日時情報を付加した客層情報を客層情報DB32に格納する。POSレジ端末14は、商品コード、売価、売上日時等の販売情報を販売情報分析サーバ20に送信する。販売情報分析サーバ20は、販売情報の売上日時と同一または直前の分析日時を備えた客層情報を客層情報DB32から抽出し、これと販売情報を関連付けた客層付販売情報を生成して客層付販売情報DB42に格納する。
【選択図】図2

Description

この発明は、客層付販売情報生成システムに係り、特に、複数の店舗において発生した種々の販売情報と、各店舗における顧客の画像データから抽出した属性情報(以下「客層情報」)とをマッチングし、個々の販売情報に対して対応の客層情報を関連付けるシステムに関する。
商品の販売情報と、それを購入した顧客の属性情報を結び付けることは、マーケティング戦略上極めて有効である。このため、コンビニエンスストア(以下「コンビニ」)等の小売店舗においては、POSレジ端末に専用の客層情報入力ボタンを設けておき、レジスタッフがハンディスキャナ等を用いて販売情報を入力する際に、目視によって認識した客層情報(性別、年代、大人/子供等)を入力することが行われている。
ただ、このように人間の判断で客層情報を入力するやり方では、レジスタッフの主観によって判定結果にバラツキが生じやすいのは勿論、販売情報入力作業の合間に判断しなければならず、レジスタッフに大きな負担をかけていた。
このため、特許文献1に示すように、カメラを通じて顧客の画像データを取得すると共に、この画像データに基づいて顧客の属性情報(年齢、性別等)を自動抽出するシステムが既に提案されている。
また、非特許文献1に示すように、カメラによって取り込まれた映像の中から同時に複数の人物の顔を自動検出し、それぞれの顔映像に基づいて性別、年齢層を推定した後、数値データとして推定結果を出力するシステムが市販されている。
特開2002−32553号 FieldAnalystとはインターネットURL:http://www.necsoft.com/soft/fieldanalyst/feature1.html検索日:平成20年8月11日
上記の技術を利用することにより、確かに、レジスタッフの負担を軽減しつつ、顧客の属性情報を安定したレベルで取得することが可能となる。
しかしながら、従来の技術は、複数のカメラ、専用のPOS端末(レジ)、センサ、記憶部(DB)、制御部を備えた顧客情報管理システムを各店舗内に設置し、店舗毎に顧客の属性情報を分析する仕組みであり、専用の顧客情報管理システムを新たに導入するために膨大なコストがかかることから、実際のところ普及はしていない。
また、販売情報と客層情報との相関を検証することは、自動券売機や自動販売機を介した無人の商品販売形態においても、品揃え戦略上有益であるにもかかわらず、これまでは客層情報を有効に収集する手段が存在せず、全く対応がなされてこなかったという問題がある。
この発明は、このような現状を打開するために案出されたものであり、既存の一般的なPOSレジ端末や自動券売機、自動販売機を用いながらも、販売情報と顧客の属性情報を関連付けた情報を有効に生成可能な技術の提供を目的としている。
上記の目的を達成するため、請求項1に記載した客層付販売情報生成システムは、分析サーバと、この分析サーバと接続された販売情報入力端末と、上記分析サーバと接続され、特定の販売情報入力端末に関連付けられたカメラとを備えたシステムであって、上記カメラは、顧客の映像を撮像し上記分析サーバにその画像データを送信する手段を備え、上記販売情報入力端末は、少なくとも商品コード、売価、売上日時を含む販売情報を上記分析サーバに送信する手段を備え、上記分析サーバは、定期的に(1分間隔、30秒間隔、10秒間隔等、所定の時間間隔毎に)上記カメラから送信された画像データから顧客の顔面を検出する手段と、検出した顔面の特徴に基づいて、顧客の属性を特定する手段と、この属性に分析日時情報を付加した客層情報を、客層情報記憶手段に格納する手段と、上記販売情報入力端末から送信された各販売情報について、当該販売情報の売上日時と同一または直前の分析日時を備えた客層情報を上記客層情報記憶手段から抽出する客層情報抽出手段と、この客層情報と販売情報を関連付けた客層付販売情報を生成し、客層付販売情報記憶手段に格納する手段とを備えたことを特徴としている。
上記分析サーバは、単一のサーバコンピュータに限定されるものではなく、複数のサーバコンピュータをネットワーク接続させた構成とすることもできる(以下同様)。
上記の「特定の販売情報入力端末に関連付けられたカメラ」という表現は、カメラと販売情報入力端末とが1対1で対応している場合はもちろん、1台のカメラが複数の販売情報入力端末と対応している場合(1対n対応)をも含むものである(以下同様)。
請求項2に記載した客層付販売情報生成システムは、分析サーバと、販売情報入力端末と、上記分析サーバと接続され、特定の販売情報入力端末に関連付けられたカメラとを備えたシステムであって、上記カメラは、顧客の映像を撮像し上記分析サーバにその画像データを送信する手段を備え、上記販売情報入力端末は、少なくとも商品コード、売価、売上日時を含む販売情報を所定のコンピュータシステムに送信する手段を備え、上記分析サーバは、定期的に上記カメラから送信された画像データから顧客の顔面を検出する手段と、検出した顔面の特徴に基づいて、顧客の属性を特定する手段と、この属性に分析日時情報を付加した客層情報を、客層情報記憶手段に格納する手段と、上記コンピュータシステムから定期または不定期に送信される各販売情報について、当該販売情報の売上日時と同一または直前の分析日時を備えた客層情報を上記客層情報記憶手段から抽出する客層情報抽出手段と、この客層情報と販売情報を関連付けた客層付販売情報を生成し、客層付販売情報記憶手段に格納する客層付販売情報生成手段とを備えたことを特徴としている。
請求項3に記載した客層付販売情報生成システムは、請求項1または2のシステムであって、さらに上記客層情報抽出手段が、上記客層情報記憶手段に同一の分析日時を備えた複数の客層情報が格納されている場合に、各客層情報を同一の購入グループ候補として認定する処理と、当該購入グループに属する客層情報と同一の属性を備えた他の客層情報について後続の販売情報が関連付けられた場合に、当該客層情報を上記の購入グループから除外する処理と、残りの購入グループに複数の客層情報が含まれている場合に、その中から所定のルールに従って一の客層情報を抽出し、販売情報に関連付ける処理を実行することを特徴としている。
請求項4に記載した客層付販売情報生成システムは、請求項3のシステムであって、さらに上記客層情報として少なくとも顧客の年代が含まれており、上記客層情報抽出手段が、年代が最も高い顧客の客層情報を抽出し、販売情報に関連付けることを特徴としている。
請求項5に記載した客層付販売情報生成システムは、請求項3または4のシステムであって、さらに、上記客層情報として少なくとも年代情報が含まれており、上記客層付販売情報生成手段は、当該購入グループに含まれる全客層情報の年代を加算し、これを客層情報の数で除することにより、グループ平均年代を算出した後、これを客層情報の構成要素の一つとして販売情報に関連付けることを特徴としている。
請求項6に記載した客層付販売情報生成システムは、請求項3〜5のシステムであって、さらに、上記客層情報として少なくとも大人/子供の識別情報が含まれており、上記客層付販売情報生成手段は、当該購入グループに子供が含まれる場合に、子供連れを示す識別情報を客層情報の構成要素の一つとして販売情報に関連付けることを特徴としている。
請求項7に記載した客層付販売情報生成システムは、請求項1〜6のシステムであって、さらに、上記客層情報には画像データを撮像したカメラを一意に特定するカメラIDが関連付けられており、上記販売情報には、当該販売情報を入力した端末を一意に特定する端末IDが関連付けられており、上記客層情報抽出手段が、各販売情報に対応した客層情報を抽出するに際に、カメラIDと端末IDとの対応関係が格納された記憶手段を参照し、当該販売情報を送信してきた入力端末に関連付けられたカメラに係る客層情報の中から対応の客層情報を抽出することを特徴としている。
請求項8に記載した客層付販売情報生成システムは、請求項1〜7のシステムであって、上記販売情報入力端末がPOSレジ端末であることを特徴としている。
請求項9に記載した客層付販売情報生成システムは、請求項1〜7のシステムであって、上記販売情報入力端末が、食券等のチケットを販売する自動券売機であることを特徴としている。
請求項10に記載した客層付販売情報生成システムは、請求項1〜7のシステムであって、上記販売情報入力端末が、商品を販売する自動販売機であることを特徴としている。
請求項1の客層付販売情報生成システムによれば、カメラから分析サーバに対して画像データが送信されると共に、これとは別個にPOSレジ端末等から分析サーバに対して販売情報が送信され、分析サーバ側で顧客の属性抽出処理と、販売情報との関連付け処理が実行されるため、POSレジ端末等に特別のアプリケーションプログラムや分析手段を内蔵させる必要がなく、通常のPOSレジ端末等を用いて客層付販売情報を生成可能となる。
請求項2の客層付販売情報生成システムによれば、カメラから分析サーバに対して画像データが送信されると共に、これとは別個にPOSレジ端末等から外部のコンピュータシステム(例えばコンビニのホストコンピュータ)に対して販売情報が一旦送信され、このコンピュータシステム経由で分析サーバに販売情報が送信される。そして、分析サーバ側で顧客の属性抽出処理と、販売情報との関連付け処理が実行される。このため、POSレジ端末内に特別のアプリケーションプログラムや分析手段を内蔵させる必要がなく、他のコンピュータシステムの管理下に置かれている既存のPOSレジ端末を用いて客層付販売情報を生成可能となる。
請求項3及び4の客層付販売情報生成システムによれば、画像データ中に複数の顧客の顔面が含まれている場合であっても、一人の購入者を特定することが可能となる。
請求項5及び6の客層付販売情報生成システムによれば、購入グループの特性を販売情報に関連付けることが可能となり、客層付販売情報の利用価値をより高めることができる。
請求項7の客層付販売情報生成システムによれば、複数のカメラと複数の販売情報入力端末が分析サーバに接続される複雑なシステムを構築した場合であっても、販売情報と客層情報を適切に関連付けることが可能となる。
図1は、この発明に係る客層付販売情報生成システム10の全体構成を示すシステム概要図であり、コンビニ等の複数の店舗12内に設置されたPOSレジ端末14と、ネットワークカメラ16と、客層分析サーバ18と、販売情報分析サーバ20と、操作端末21を備えている。
各ネットワークカメラ16は、インターネット等の通信ネットワーク22を介して、客層分析サーバ18と接続されている。
また、各POSレジ端末14は、通信ネットワーク22を介して、販売情報分析サーバ20と接続されている。
操作端末21は、PC等のコンピュータよりなり、通信ネットワーク22を介して販売情報分析サーバ20と接続されている。
図2は、客層分析サーバ18及び販売情報分析サーバ20の機能構成を示すブロック図である。
客層分析サーバ18は、客層情報抽出部30と、客層情報DB32を備えている。
客層情報抽出部30は、客層分析サーバ18のCPUが、OS及び専用のアプリケーションプログラムにしたがって必要な処理を実行することにより、実現される。
また客層情報DB32は、客層分析サーバ18のハードディスク内に設けられている。
販売情報分析サーバ20は、販売情報登録部36と、販売情報DB38と、マッチング処理部40と、端末−カメラ対応DB41と、客層付販売情報DB42と、MD(Merchandising)分析部43とを備えている。
販売情報登録部36、マッチング処理部40及びMD分析部43は、販売情報分析サーバ20のCPUが、OS及び専用のアプリケーションプログラムにしたがって必要な処理を実行することにより、実現される。
また販売情報DB38、端末−カメラ対応DB41及び客層付販売情報DB42は、販売情報分析サーバ20のハードディスク内に設けられている。
端末−カメラ対応DB41には、POSレジ端末14毎に割り振られたユニークなIDである「POS-No」と、ネットワークカメラ16毎に割り振られたユニークなIDである「カメラNo」と、これらの設置場所を表す「設置店舗」との対応関係が登録されている。
上記ネットワークカメラ16は、CCD等の撮像素子を介して画像データを取り込み、通信ネットワーク22を介して客層分析サーバ18に常時送信する機能を備えている。
上記POSレジ端末14は、ハンディスキャナやキースイッチによって入力された販売情報(商品名、商品コード、売価等)を、通信ネットワーク22を介して販売情報分析サーバ20に送信する機能を備えている。
以下、図3のフローチャートに従い、客層分析サーバ18における処理手順を説明する。
まず、各ネットワークカメラ16からは、店舗12のPOSレジ端末14近傍において精算を行っているユーザの映像が、ストリーミング形式の画像データとして送信されて来ており、客層分析サーバ18はこの画像データを常時受信している(S10)。
ただし、客層分析サーバ18において、この画像データが記憶装置に格納されることはない。
ネットワークカメラ16は、POSレジ端末14の数に合わせて、同一店舗内に複数設置されている。
客層分析サーバ18の客層情報抽出部30は、設定時間(例えば1分間)が到来する度に、各ネットワークカメラ16から送信された現時点の画像データ中から人物の顔面を検出する(S12、S14)。
図4は、この顔面検出のイメージを示すものであり、画像データの1フレーム44中に3名の顔面が含まれていた場合には、ほぼ同時に各人の顔面45を認識することができる。
つぎに客層情報抽出部30は、各顔面45について画像処理を施して複数の特徴点を抽出し、これらを所定のアルゴリズムに投入することにより、性別、年代、大人/子どもの別からなる属性を客層情報として抽出する(S16)。
この客層情報は、客層情報抽出部30によって客層情報DB32に格納される(S18)。
図5は、この客層情報の一例を示すものであり、分析No、カメラNo、分析日時、性別、年代、大人/子供のデータ項目を備えている。
分析No.101〜103は、カメラNo.10から送信された画像データに基づき、08/08/05 10:00:00に検出した人物の属性データであることを示している。
また、分析No.104〜106は、カメラNo.20から送信された画像データに基づき、08/08/05 10:00:00に検出した人物の属性データであることを示している。
分析No.107は、カメラNo.10から送信された画像データに基づき、08/08/05 10:01:00に検出した人物の属性データであることを示している。
分析No.108及び109は、カメラNo.10から送信された画像データに基づき、08/08/05 10:05:00に検出した人物の属性データであることを示している。
分析No.108及び109は、カメラNo.10から送信された画像データに基づき、08/08/05 10:05:00に検出した人物の属性データであることを示している。
分析No.110は、カメラNo.20から送信された画像データに基づき、08/08/05 10:06:00に検出した人物の属性データであることを示している。
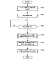
つぎに、図6のフローチャートに従い、販売情報分析サーバ20における処理手順を説明する。
まず、販売情報分析サーバ20が通信ネットワーク22経由で何れかのPOSレジ端末14から販売情報を受信すると(S20)、販売情報登録部36がこれを販売情報DB38に登録する(S22)。
図7は、この販売情報の一例を示すものであり、POS-No、レシートNo、売上日時、商品名、商品コード(JANコード)、売価のデータ項目を備えている。
これらの中、「売上日時」はPOSレジ端末において「現計」キーが押下された時刻を意味している。
例えば、POS-No:「10」及びレシートNo:「A0010」が記録された4件のレコード(1)〜(4)は、同一の売上日時「08/08/05/ 10:00:25」を備えており、同一顧客による販売情報であることを示している。
同様に、POS-No:「20」及びレシートNo:「B0035」が記録された2件のレコード(5)(6)は、同一の売上日時「08/08/05/ 10:00:42」を備えており、同一顧客による販売情報であることを示している。また、POS-Noが上記と異なるため、他のPOSレジ端末において入力された販売情報であることを示している。
マッチング処理部40は、一定時間(例えば1時間)毎に販売情報DB38内の販売情報に対応する客層情報を客層情報DB32から取得する(S24、S26)。
以下、図8のフローチャートに従い、販売情報に対応した客層情報の抽出処理について詳述する。
まずマッチング処理部40は、端末−カメラ対応DB41を参照し、当該販売情報のPOS-Noに対応したカメラNoを特定し、当該カメラNoの客層情報を抽出する(S26-1)。
つぎにマッチング処理部40は、当該販売情報の売上日時と同一または直前の分析日時を備えた客層情報を、対応の購入グループ候補として抽出する(S26-2)。
つぎにマッチング処理部40は、同一POSレジ端末における次の販売情報に対応付けられる客層情報は、「他人」と認定し、上記の購入グループ候補から除外する(S26-3)。
つぎにマッチング処理部40は、購入グループに複数の客層情報が含まれている場合に、最も年代が上の人物を購入者と認定し、その客層情報を販売情報に対応する客層情報として抽出する(S26-4)。
なお、最も年代が上の人物が複数存在する場合、マッチング処理部40は一定のルール(例えば、女性優先、分析Noの若い方を優先等)に従い、一の客層情報を対応客層情報として抽出する。
ここで、購入グループの概念について説明する。
まず、客層情報DBに32に格納されている客層情報は、上記のように、客層情報抽出部30によってある分析時点における画像データに含まれていた顔面の特徴を抽出したものであるため(図4参照)、複数の客層情報に同一の分析日時が付与される可能性がある。
そして、画像データの1フレームに複数の画面が映り込んでいるということは、一般には家族、恋人、友人等のグループである可能性が高いため、購入グループであると推定される。
しかしながら、同じ属性を備えた客層情報について、後の売上日時を備えた販売情報が関連付けられた段階で、当該人物については購入グループではなく、レジ待ちの他人が偶然映り込んだものと認定し、購入グループから除外することとしている。
以下、上記した図5及び図7に則して、販売情報に対応した客層情報抽出の具体例を示す。
まずマッチング処理部40は、POS-No:「10」及びレシートNo:「A0010」が記録された4件のレコード(1)〜(4)については、POS-No:10であることから、カメラNo:10の客層情報に絞り込み(図8のS26-1)、カメラNo:20の客層情報を対象外と認定する。
つぎにマッチング処理部40は、上記レコード(1)〜(4)の売上日時が「08/08/05/ 10:00:00」であるため、これと同一の分析日時を備えた分析No:101〜103の客層情報を、購入グループ候補として抽出する(図8のS26-2)。
ただし、分析No:103の客層情報は、分析No:107の客層情報と同じカメラNo:10であり、性別、年代、大人/子供が一致するため、同一人物に係る客層情報の可能性が高い。そして、分析No:107の客層情報(分析日時:08/08/05/ 10:01:00)には、レシートNo:A0011に係る4件のレコード(7)〜(10)(売上日時:08/08/05/ 10:01:15)が対応付けられるため、上記分析No:103の客層情報は(1)〜(4)の販売情報の購入グループから除外される(図8のS26-3)。
つぎにマッチング処理部40は、残された分析No:101と102の客層情報の中、分析No:101の方が年代的に上であるため、分析No:101の客層情報を対応の客層情報と認定する(図8のS26-4)。購入グループ中に1名分の客層情報しかない場合には、当然ながらその客層情報が対応の客層情報と認定される。
つぎにマッチング処理部40は、レシートNo:A0010に係る4件の販売情報について分析No:101の客層情報を付加した客層付販売情報を生成し(図6のS28)、客層付販売情報DB42に格納する(図6のS30)。
図9は、この客層付販売情報の一例を示すものであり、POS-No、レシートNo、売上日時、商品名、商品コード(JANコード)、売価の他に、カメラNo、分析日時、性別、年代、大人/子供のデータ項目を備えている。
上記客層付販売情報DB42に格納されたデータは、操作端末21からのリクエストを受けたMD分析部43を通じて、検索・加工・分析処理に供される。例えば、商品別の購入客層分析、地域別の購入客層分析、時間帯別の購入客層分析、購入客層毎の平均売上集計等が実行され、その分析結果が操作端末21のディスプレイに表示される。条件を変えてこれらの分析を繰り返すことにより、仮説実施検証分析(PDCAサイクル)による経営戦略、商品販売戦略の立案に必要な情報を提供可能となる。
なお、上記の図9においては、客層付販売情報として購入グループに関する情報が含まれていない例を示したが、図10に示すように、各客層付販売情報にグループ1〜nのデータ項目(図においては「グループ1」のみが明記されている)を追加し、購入グループに関する情報を客層付販売情報DBに格納することもできる。
この結果、操作端末21を通じて、購入グループの構成別の売上分析、購入商品分析等が可能となる。
また、マッチング処理部40は、同一購入グループに属する複数の客層情報中の特定属性に対して所定の演算処理を施し、その算出結果を客層情報の一つとして販売情報に関連付けることもできる。
例えば、同一の購入グループに含まれる全客層情報の年代を加算し、これを客層情報の数で除することにより、「グループ平均年代」を算出した後、これを客層情報の構成要素の一つとして販売情報に関連付けることが該当する。
あるいは、同一の購入グループに子供が含まれている場合に、「子供連れ」を示す識別情報を客層情報の構成要素の一つとして販売情報に関連付けることが該当する。
上記においては、販売情報をPOSレジ端末14から入力する例を示したが、図11に示すように、自動券売機(例えば食券販売機)50から入力することもできる。この場合、自動券売機50には、自動券売機としての一般的な機能の他に、通信ネットワーク22介して販売情報(券売機No、取引No、売上日時、商品名、商品コード、売価等)を販売情報分析サーバ20に送信する機能を備えている。
また、自動券売機50の近傍には、チケット購入者の顔面を撮影し、通信ネットワーク22経由で客層分析サーバ18に送信するネットワークカメラ16が設置されている。このネットワークカメラ16は、自動券売機50に内蔵させることもできる。
この場合、端末−カメラ対応DB41には、券売機NoとネットワークカメラNo、及び設置場所との対応関係が格納される。
POSレジ端末14から販売情報を入力する場合、上記のように、同一人が複数の商品を購入した際には同一のレシートNoによって各商品が括られ、また各商品について同日の売上日時が付与される。
これと同じように、自動券売機50から販売情報を入力する場合には、所定の販売有効金額以上の現金を自動券売機50に投入し、商品選択ボタンのランプが点灯した時点で取引Noが生成され、同一人が複数の商品を選択する際には同一の取引No及び売上日時(=現金投入日時)が各販売情報に付与される。
そして、各商品の売上日時と同一または直前の分析日時を備えた客層情報を対応付けることによって、各販売情報に対応した客層情報の特定が実現される。
例えば、図12に示すように、共に発券機No.125、取引No:X0015、売上日時08/08/05 17:05:10を備えた販売情報(a)と(b)は、直前の分析日時である08/08/05 17:05:00を備えたカメラNo.125に係る分析No.2356の客層情報と対応付けられ、客層付販売情報が生成される。
同様に、発券機No.125、取引No:X0016、売上日時08/08/05 17:06:18を備えた販売情報(c)と(d)は、直前の分析日時である08/08/05 17:06:00を備えたカメラNo.125に係る分析No.2357の客層情報と対応付けられ、客層付販売情報が生成される。
さらに、発券機No.125、取引No:X0017、売上日時08/08/05 17:08:09を備えた販売情報(e)は、直前の分析日時である08/08/05 17:08:00を備えたカメラNo.125に係る分析No.2358の客層情報と対応付けられ、客層付販売情報が生成される。
このシステム10においては、販売情報入力端末として、食券等のチケットを販売する自動券売機50の代わりに、飲料や菓子等の現物商品を販売する自動販売機を用いることも当然に可能である。
この発明に係る客層付販売情報生成システム10によれば、これまで客層情報を関連付けることがまったくなされてこなかった自動券売機や自動販売機を通じた商品販売に関しても、個々の販売情報に客層情報を関連付けることが可能となり、マーケティング戦略を展開する道を開くことができる。
上記においては、POSレジ端末14や自動券売機50が通信ネットワーク22を介して販売情報分析サーバ20と接続され、販売情報がリアルタイムで販売情報分析サーバ20に送信される例を説明したが、この発明はこれに限定されるものではない。
例えば、各POSレジ端末14から入力された販売情報は、一旦コンビニ本部のホストコンピュータに送信された後、このホストコンピュータから販売情報が定期的に販売情報分析サーバ20に送信されるように構成することもできる。
この場合であっても、各販売情報の「売上日時」と、各POSレジ端末14に対応付けられたネットワークカメラ16からリアルタイムに送信された画像データに対する「分析日時」とを比較することにより、客層情報と販売情報を有効に関連付けることが可能である。
上記においては、ネットワークカメラ16と販売情報入力端末(POSレジ端末14や自動券売機50)とが1対1で対応している例を示したが、この発明はこの実施形態に限定されるものではなく、1台のネットワークカメラ16が複数の販売情報入力端末と対応している場合もあり得る。
例えば、複数のPOSレジ端末14が並んだカウンタ近傍に1台のネットワークカメラ16を設置し、このネットワークカメラ16によって各POSレジ端末14で精算中の顧客の映像を同時に撮影し、客層分析サーバ18に送信する場合が該当する。
この場合、各POSレジ端末14の近傍には、固有のPOS-Noが印字されたナンバープレートが設置される。そして、客層分析サーバ18の客層情報抽出部30は、画像データ中の各ナンバープレートの映像からPOS-Noを認識した後、各顧客の属性を直近のナンバープレートに表示されたPOS-Noに関連付けて客層情報DB32に格納する。
この発明に係る客層付販売情報生成システムの全体構成を示すシステム概要図である。 客層分析サーバ及び販売情報分析サーバの機能構成を示すブロック図である。 客層分析サーバにおける処理手順を示すフローチャートである。 顧客の顔面検出のイメージを示す図である。 客層情報の一例を示す図である。 販売情報分析サーバにおける処理手順を示すフローチャートである。 販売情報の一例を示す図である。 販売情報に対応した客層情報の抽出処理を示すフローチャートである。 客層付販売情報の一例を示す図である。 客層付販売情報に購入グループに係るデータ項目を追加した例を示す図である。 販売情報入力端末として自動券売機を用いた例を示すシステム概要図である。 自動券売機から入力された販売情報と客層情報との対応付けの要領を示す説明図である。
符号の説明
10 客層付販売情報生成システム
12 店舗
14 POSレジ端末
16 ネットワークカメラ
18 客層分析サーバ
20 販売情報分析サーバ
21 操作端末
22 通信ネットワーク
30 客層情報抽出部
32 客層情報DB
36 販売情報登録部
38 販売情報DB
40 マッチング処理部
41 端末−カメラ対応DB
42 客層付販売情報DB
43 MD分析部
50 自動券売機

Claims (10)

  1. 分析サーバと、この分析サーバと接続された販売情報入力端末と、上記分析サーバと接続され、特定の販売情報入力端末に関連付けられたカメラとを備えたシステムであって、
    上記カメラは、顧客の映像を撮像し上記分析サーバにその画像データを送信する手段を備え、
    上記販売情報入力端末は、少なくとも商品コード、売価、売上日時を含む販売情報を上記分析サーバに送信する手段を備え、
    上記分析サーバは、定期的に上記カメラから送信された画像データから顧客の顔面を検出する手段と、
    検出した顔面の特徴に基づいて、顧客の属性を特定する手段と、
    この属性に分析日時情報を付加した客層情報を、客層情報記憶手段に格納する手段と、
    上記販売情報入力端末から送信された各販売情報について、当該販売情報の売上日時と同一または直前の分析日時を備えた客層情報を上記客層情報記憶手段から抽出する客層情報抽出手段と、
    この客層情報と販売情報を関連付けた客層付販売情報を生成し、客層付販売情報記憶手段に格納する客層付販売情報生成手段と、
    を備えたことを特徴とする客層付販売情報生成システム。
  2. 分析サーバと、販売情報入力端末と、上記分析サーバと接続され、特定の販売情報入力端末に関連付けられたカメラとを備えたシステムであって、
    上記カメラは、顧客の映像を撮像し上記分析サーバにその画像データを送信する手段を備え、
    上記販売情報入力端末は、少なくとも商品コード、売価、売上日時を含む販売情報を所定のコンピュータシステムに送信する手段を備え、
    上記分析サーバは、定期的に上記カメラから送信された画像データから顧客の顔面を検出する手段と、
    検出した顔面の特徴に基づいて、顧客の属性を特定する手段と、
    この属性に分析日時情報を付加した客層情報を、客層情報記憶手段に格納する手段と、
    上記コンピュータシステムから送信される各販売情報について、当該販売情報の売上日時と同一または直前の分析日時を備えた客層情報を上記客層情報記憶手段から抽出する客層情報抽出手段と、
    この客層情報と販売情報を関連付けた客層付販売情報を生成し、客層付販売情報記憶手段に格納する客層付販売情報生成手段と、
    を備えたことを特徴とする客層付販売情報生成システム。
  3. 上記客層情報抽出手段は、上記客層情報記憶手段に同一の分析日時を備えた複数の客層情報が格納されている場合に、各客層情報を購入グループ候補として認定する処理と、
    当該購入グループに属する客層情報と同一の属性を備えた他の客層情報について後続の販売情報が関連付けられた場合に、当該客層情報を上記の購入グループから除外する処理と、
    残りの購入グループに複数の客層情報が含まれている場合に、その中から所定のルールに従って一の客層情報を抽出し、販売情報に関連付ける処理を実行することを特徴とする請求項1または2に記載の客層付販売情報生成システム。
  4. 上記客層情報として、少なくとも顧客の年代が含まれており、
    上記客層情報抽出手段は、年代が最も高い顧客の客層情報を抽出し、販売情報に関連付けることを特徴とする請求項3に記載の客層付販売情報生成システム。
  5. 上記客層情報として、少なくとも年代情報が含まれており、
    上記客層付販売情報生成手段は、当該購入グループに含まれる全客層情報の年代を加算し、これを客層情報の数で除することにより、グループ平均年代を算出した後、これを客層情報の構成要素の一つとして販売情報に関連付けることを特徴とする請求項3または4に記載の客層付販売情報生成システム。
  6. 上記客層情報として、少なくとも大人/子供の識別情報が含まれており、
    上記客層付販売情報生成手段は、当該購入グループに子供が含まれる場合に、子供連れを示す識別情報を客層情報の構成要素の一つとして販売情報に関連付けることを特徴とする請求項3〜5の何れかに記載の客層付販売情報生成システム。
  7. 複数の販売情報入力端末及び複数のカメラが上記分析サーバに接続されており、
    上記客層情報には、画像データを撮像したカメラを一意に特定するカメラIDが関連付けられており、
    上記販売情報には、当該販売情報を入力した端末を一意に特定する端末IDが関連付けられており、
    上記客層情報抽出手段は、各販売情報に対応した客層情報を抽出するに際に、カメラIDと端末IDとの対応関係が格納された記憶手段を参照し、当該販売情報を送信してきた入力端末に関連付けられたカメラに係る客層情報の中から対応の客層情報を抽出することを特徴とする請求項1〜6の何れかに記載の客層付販売情報生成システム。
  8. 上記販売情報入力端末が、POSレジ端末であることを特徴とする請求項1〜7の何れかに記載の客層付販売情報生成システム。
  9. 上記販売情報入力端末が、自動券売機であることを特徴とする請求項1〜7の何れかに記載の客層付販売情報生成システム。
  10. 上記販売情報入力端末が、自動販売機であることを特徴とする請求項1〜7の何れかに記載の客層付販売情報生成システム。
JP2008217806A 2008-08-27 2008-08-27 客層付販売情報生成システム Expired - Fee Related JP5238933B2 (ja)

Priority Applications (1)

Application Number Priority Date Filing Date Title
JP2008217806A JP5238933B2 (ja) 2008-08-27 2008-08-27 客層付販売情報生成システム

Applications Claiming Priority (1)

Application Number Priority Date Filing Date Title
JP2008217806A JP5238933B2 (ja) 2008-08-27 2008-08-27 客層付販売情報生成システム

Publications (2)

Publication Number Publication Date
JP2010055248A true JP2010055248A (ja) 2010-03-11
JP5238933B2 JP5238933B2 (ja) 2013-07-17

Family

ID=42071117

Family Applications (1)

Application Number Title Priority Date Filing Date
JP2008217806A Expired - Fee Related JP5238933B2 (ja) 2008-08-27 2008-08-27 客層付販売情報生成システム

Country Status (1)

Country Link
JP (1) JP5238933B2 (ja)

Cited By (14)

* Cited by examiner, † Cited by third party
Publication number Priority date Publication date Assignee Title
EP2759973A1 (en) 2013-01-29 2014-07-30 Panasonic Corporation Customer category analysis device, customer category analysis system and customer category analysis method
EP2808838A1 (en) 2013-05-30 2014-12-03 Panasonic Corporation Customer category analysis device, customer category analysis system and customer category analysis method
JP2015501986A (ja) * 2011-11-23 2015-01-19 スターバックス・コーポレイション 調理管理
JP2015133156A (ja) * 2015-04-21 2015-07-23 カシオ計算機株式会社 撮影対象識別装置及びプログラム
JP2016115173A (ja) * 2014-12-16 2016-06-23 カシオ計算機株式会社 売上処理装置、および客層別商品人気分析方法
JP2016186720A (ja) * 2015-03-27 2016-10-27 東芝テック株式会社 販売データ処理装置、サーバおよびプログラム
JP2016200865A (ja) * 2015-04-07 2016-12-01 東芝テック株式会社 サーバおよびプログラム
JP2016200873A (ja) * 2015-04-07 2016-12-01 東芝テック株式会社 販売データ処理装置、サーバおよびプログラム
JP2017097743A (ja) * 2015-11-27 2017-06-01 日本電気株式会社 ポイント管理システム、アカウント生成方法、自動販売機及びプログラム
US9820603B2 (en) 2013-11-20 2017-11-21 Starbucks Corporation Cooking system power management
WO2018116537A1 (ja) * 2016-12-22 2018-06-28 日本電気株式会社 情報処理システム、顧客特定装置、情報処理方法及びプログラム
JP2019197383A (ja) * 2018-05-09 2019-11-14 株式会社サードアイズ 販売機の購買分析システム
US10963896B2 (en) 2016-04-14 2021-03-30 Toshiba Tec Kabushiki Kaisha Sales data processing apparatus, server and method for acquiring attribute information
JPWO2022162713A1 (ja) * 2021-01-26 2022-08-04

Citations (3)

* Cited by examiner, † Cited by third party
Publication number Priority date Publication date Assignee Title
JP2003099582A (ja) * 2001-06-06 2003-04-04 Hitachi Ltd 画像データを用いた状況分析支援方法及びシステム
JP2004054376A (ja) * 2002-07-17 2004-02-19 Japan Science & Technology Corp グループ属性推定方法及びグループ属性推定装置
JP2007102342A (ja) * 2005-09-30 2007-04-19 Fujifilm Corp 自動計数装置

Patent Citations (3)

* Cited by examiner, † Cited by third party
Publication number Priority date Publication date Assignee Title
JP2003099582A (ja) * 2001-06-06 2003-04-04 Hitachi Ltd 画像データを用いた状況分析支援方法及びシステム
JP2004054376A (ja) * 2002-07-17 2004-02-19 Japan Science & Technology Corp グループ属性推定方法及びグループ属性推定装置
JP2007102342A (ja) * 2005-09-30 2007-04-19 Fujifilm Corp 自動計数装置

Cited By (32)

* Cited by examiner, † Cited by third party
Publication number Priority date Publication date Assignee Title
JP2015501986A (ja) * 2011-11-23 2015-01-19 スターバックス・コーポレイション 調理管理
US10219651B2 (en) 2011-11-23 2019-03-05 Starbucks Corporation Cooking management
US10709289B2 (en) 2011-11-23 2020-07-14 Starbucks Corporation Cooking management
US11317759B2 (en) 2011-11-23 2022-05-03 Starbucks Corporation Cooking management
EP2759973A1 (en) 2013-01-29 2014-07-30 Panasonic Corporation Customer category analysis device, customer category analysis system and customer category analysis method
EP2808838A1 (en) 2013-05-30 2014-12-03 Panasonic Corporation Customer category analysis device, customer category analysis system and customer category analysis method
US9930987B2 (en) 2013-11-20 2018-04-03 Starbucks Corporation Apparatuses, systems, and methods for brewing a beverage
US9820603B2 (en) 2013-11-20 2017-11-21 Starbucks Corporation Cooking system power management
JP2016115173A (ja) * 2014-12-16 2016-06-23 カシオ計算機株式会社 売上処理装置、および客層別商品人気分析方法
JP2016186720A (ja) * 2015-03-27 2016-10-27 東芝テック株式会社 販売データ処理装置、サーバおよびプログラム
JP2016200865A (ja) * 2015-04-07 2016-12-01 東芝テック株式会社 サーバおよびプログラム
JP2016200873A (ja) * 2015-04-07 2016-12-01 東芝テック株式会社 販売データ処理装置、サーバおよびプログラム
JP2015133156A (ja) * 2015-04-21 2015-07-23 カシオ計算機株式会社 撮影対象識別装置及びプログラム
JP2017097743A (ja) * 2015-11-27 2017-06-01 日本電気株式会社 ポイント管理システム、アカウント生成方法、自動販売機及びプログラム
US10963896B2 (en) 2016-04-14 2021-03-30 Toshiba Tec Kabushiki Kaisha Sales data processing apparatus, server and method for acquiring attribute information
CN110121737B (zh) * 2016-12-22 2022-08-02 日本电气株式会社 信息处理系统、顾客识别装置、信息处理方法和程序
US11562364B2 (en) 2016-12-22 2023-01-24 Nec Corporation Information processing system, customer identification apparatus, and information processing method
US12142121B2 (en) 2016-12-22 2024-11-12 Nec Corporation Information processing system, customer identification apparatus, and information processing method
US11017400B2 (en) 2016-12-22 2021-05-25 Nec Corporation Information processing system, customer identification apparatus, and information processing method
WO2018116537A1 (ja) * 2016-12-22 2018-06-28 日本電気株式会社 情報処理システム、顧客特定装置、情報処理方法及びプログラム
JP7067485B2 (ja) 2016-12-22 2022-05-16 日本電気株式会社 情報処理システム、顧客特定装置、情報処理方法及びプログラム
JP2022105052A (ja) * 2016-12-22 2022-07-12 日本電気株式会社 情報処理システム、顧客特定装置、情報処理方法及びプログラム
JPWO2018116537A1 (ja) * 2016-12-22 2019-10-24 日本電気株式会社 情報処理システム、顧客特定装置、情報処理方法及びプログラム
CN110121737A (zh) * 2016-12-22 2019-08-13 日本电气株式会社 信息处理系统、顾客识别装置、信息处理方法和程序
JP7310969B2 (ja) 2016-12-22 2023-07-19 日本電気株式会社 情報処理システム、顧客特定装置、情報処理方法及びプログラム
US12136321B2 (en) 2016-12-22 2024-11-05 Nec Corporation Information processing system, customer identification apparatus, and information processing method
JP2023121779A (ja) * 2016-12-22 2023-08-31 日本電気株式会社 情報処理システム、顧客特定装置、情報処理方法及びプログラム
US11861993B2 (en) 2016-12-22 2024-01-02 Nec Corporation Information processing system, customer identification apparatus, and information processing method
JP7513161B2 (ja) 2016-12-22 2024-07-09 日本電気株式会社 情報処理システム、顧客特定装置、情報処理方法及びプログラム
JP2019197383A (ja) * 2018-05-09 2019-11-14 株式会社サードアイズ 販売機の購買分析システム
JP7552736B2 (ja) 2021-01-26 2024-09-18 日本電気株式会社 サーバ装置、及びサーバ装置の制御方法
JPWO2022162713A1 (ja) * 2021-01-26 2022-08-04

Also Published As

Publication number Publication date
JP5238933B2 (ja) 2013-07-17

Similar Documents

Publication Publication Date Title
JP5238933B2 (ja) 客層付販売情報生成システム
US20170316271A1 (en) Monitoring device and method
JP5666772B2 (ja) 情報提供装置、情報提供方法及びプログラム
JP7163604B2 (ja) 精算システム、精算方法及びプログラム
US20220084050A1 (en) Information processing system, information processing apparatus, and information processing method
US11023908B2 (en) Information processing apparatus for performing customer gaze analysis
US20180247361A1 (en) Information processing apparatus, information processing method, wearable terminal, and program
US10510218B2 (en) Information processing apparatus, information processing method, and non-transitory storage medium
CN106056397A (zh) 销售数据处理装置及其控制方法、服务器
US20190303946A1 (en) Information processing system, and customer identification apparatus
JP2017102846A (ja) 接客対応評価装置及び接客対応評価方法
US20170116591A1 (en) Information processing device and screen setting method
US9754248B2 (en) Transaction system, information processing method, and processing device
JP2018195017A (ja) 情報処理プログラム、情報処理方法及び情報処理装置
WO2018116387A1 (ja) コンピュータシステム、空席検知方法及びプログラム
JP2022009877A (ja) 管理装置及びプログラム
JP2016130915A (ja) ドライブスルーシステム
JP7631442B2 (ja) 監視システム
JP7294663B2 (ja) 接客支援装置、接客支援方法、及びプログラム
JP5428356B2 (ja) 顧客分析システム、顧客データ収集装置、顧客分析装置、顧客分析方法、及びプログラム
JP7476881B2 (ja) 情報処理装置、情報処理方法およびプログラム
JP2016024601A (ja) 情報処理装置、情報処理システム、情報処理方法、商品推薦方法、およびプログラム
CN112989988B (zh) 信息整合方法、装置、设备、可读存储介质及程序产品
JP7398219B2 (ja) 情報処理システムおよび情報処理方法
JP7008246B2 (ja) 情報提示システム

Legal Events

Date Code Title Description
A621 Written request for application examination

Free format text: JAPANESE INTERMEDIATE CODE: A621

Effective date: 20110803

A711 Notification of change in applicant

Free format text: JAPANESE INTERMEDIATE CODE: A711

Effective date: 20120424

A521 Request for written amendment filed

Free format text: JAPANESE INTERMEDIATE CODE: A523

Effective date: 20120531

A977 Report on retrieval

Free format text: JAPANESE INTERMEDIATE CODE: A971007

Effective date: 20121012

A131 Notification of reasons for refusal

Free format text: JAPANESE INTERMEDIATE CODE: A131

Effective date: 20121023

A521 Request for written amendment filed

Free format text: JAPANESE INTERMEDIATE CODE: A523

Effective date: 20121219

TRDD Decision of grant or rejection written
A01 Written decision to grant a patent or to grant a registration (utility model)

Free format text: JAPANESE INTERMEDIATE CODE: A01

Effective date: 20130122

A61 First payment of annual fees (during grant procedure)

Free format text: JAPANESE INTERMEDIATE CODE: A61

Effective date: 20130213

A711 Notification of change in applicant

Free format text: JAPANESE INTERMEDIATE CODE: A711

Effective date: 20130213

FPAY Renewal fee payment (event date is renewal date of database)

Free format text: PAYMENT UNTIL: 20160412

Year of fee payment: 3

R150 Certificate of patent or registration of utility model

Free format text: JAPANESE INTERMEDIATE CODE: R150

Ref document number: 5238933

Country of ref document: JP

Free format text: JAPANESE INTERMEDIATE CODE: R150

R250 Receipt of annual fees

Free format text: JAPANESE INTERMEDIATE CODE: R250

R250 Receipt of annual fees

Free format text: JAPANESE INTERMEDIATE CODE: R250

R250 Receipt of annual fees

Free format text: JAPANESE INTERMEDIATE CODE: R250

LAPS Cancellation because of no payment of annual fees