JP2010053899A - 車両の変速装置 - Google Patents

車両の変速装置 Download PDF

Info

Publication number
JP2010053899A
JP2010053899A JP2008217190A JP2008217190A JP2010053899A JP 2010053899 A JP2010053899 A JP 2010053899A JP 2008217190 A JP2008217190 A JP 2008217190A JP 2008217190 A JP2008217190 A JP 2008217190A JP 2010053899 A JP2010053899 A JP 2010053899A
Authority
JP
Japan
Prior art keywords
inhibitor
gear train
shift
shift drum
reverse
Prior art date
Legal status (The legal status is an assumption and is not a legal conclusion. Google has not performed a legal analysis and makes no representation as to the accuracy of the status listed.)
Granted
Application number
JP2008217190A
Other languages
English (en)
Other versions
JP5037454B2 (ja
Inventor
Shinichiro Keyaki
真一郎 欅
Current Assignee (The listed assignees may be inaccurate. Google has not performed a legal analysis and makes no representation or warranty as to the accuracy of the list.)
Honda Motor Co Ltd
Original Assignee
Honda Motor Co Ltd
Priority date (The priority date is an assumption and is not a legal conclusion. Google has not performed a legal analysis and makes no representation as to the accuracy of the date listed.)
Filing date
Publication date
Application filed by Honda Motor Co Ltd filed Critical Honda Motor Co Ltd
Priority to JP2008217190A priority Critical patent/JP5037454B2/ja
Publication of JP2010053899A publication Critical patent/JP2010053899A/ja
Application granted granted Critical
Publication of JP5037454B2 publication Critical patent/JP5037454B2/ja
Expired - Fee Related legal-status Critical Current
Anticipated expiration legal-status Critical

Links

Images

Landscapes

  • Gear-Shifting Mechanisms (AREA)

Abstract

【課題】シフトドラムの回動位置が後進歯車列を確立する前には、シフト規制機構によってニュートラル位置に規制される車両の変速装置において、シフト規制機構に必要なスペースを小さくするとともにシフト規制機構の軽量化を図る。
【解決手段】第2インヒビタロッド89の回動に応じて軸方向に作動する第1インヒビタロッド88にインヒビタアーム91が固定され、インヒビタアーム91の先端部を係合させるインヒビタ溝92がシフトドラム80の外周に設けられ、インヒビタ溝92が、前進歯車列の確立時にインヒビタアーム91の先端部を係合させる前進溝部と、後進歯車列の確立時にインヒビタアーム91の先端部を係合させる後進溝部と、ニュートラル位置にシフトドラム80が在るときにインヒビタアーム91の先端部を係合させるようにして前進溝部および後進溝部間を連結するニュートラル溝部とから成る。
【選択図】 図6

Description

本発明は、複数段の前進歯車列および後進歯車列を有する歯車変速機構と、複数段の前記前進歯車列および前記後進歯車列を択一的に確立するためのシフトフォークを係合させるリード溝が外周に設けられるとともに軸線まわりの回動を可能としたシフトドラムと、前記後進歯車列を確立する前には複数段の前記前進歯車列および前記後進歯車列を非確立状態とするニュートラル位置に前記シフトドラムの回動位置を規制するシフト規制機構とを備える車両の変速装置に関する。
後進歯車列を確立する前には、複数段の前進歯車列を非確立状態としてニュートラル位置にシフトドラムの回動位置を規制するようにした車両の変速装置が、特許文献1等で既に知られている。
特開2002−161979号公報
ところが、上記特許文献1で開示されたものでは、後進歯車列を確立する際にニュートラル位置にシフトドラムの回動位置を規制するシフト規制機構が、シフトドラムの外周に係合する大型のカムを用いたものであるので、シフト規制機構の配置に必要なスペースが大きくなるとともにシフト規制機構を備える変速装置の重量増大を招いてしまう。
本発明は、かかる事情に鑑みてなされたものであり、シフト規制機構に必要なスペースを小さくするとともにシフト規制機構の軽量化を図った車両の変速装置を提供することを目的とする。
上記目的を達成するために、請求項1記載の発明は、複数段の前進歯車列および後進歯車列を有する歯車変速機構と、複数段の前記前進歯車列および前記後進歯車列を択一的に確立するためのシフトフォークを係合させるリード溝が外周に設けられるとともに軸線まわりの回動を可能としたシフトドラムと、前記後進歯車列を確立する前には複数段の前記前進歯車列および前記後進歯車列を非確立状態とするニュートラル位置に前記シフトドラムの回動位置を規制するシフト規制機構とを備える車両の変速装置において、前記シフト規制機構が、軸方向移動を可能とするとともに軸線まわりの回動を不能として前記シフトドラムの軸線と平行に配置される第1インヒビタロッドと、乗員の操作に応じて軸線まわりに回動することを可能として第1インヒビタロッドと同軸に対向、配置される第2インヒビタロッドと、第2インヒビタロッドの回動に応じて第1インヒビタロッドを軸方向に駆動するようにして第1および第2インヒビタロッド間に設けられるカム機構と、前記シフトドラムの軸線に直交する平面内に配置されるとともに基端部が第1インヒビタロッドに固着されるインヒビタアームと、該インヒビタアームの先端部を係合させるようにして前記シフトドラムの外周に設けられるインヒビタ溝とを備え、該インヒビタ溝が、複数段の前記前進歯車列の確立時に前記インヒビタアームの先端部を係合させる前進溝部と、前記シフトドラムの軸方向で前記前進溝部からずれた位置に配置されるとともに前記後進歯車列の確立時に前記インヒビタアームの先端部を係合させる後進溝部と、複数段の前記前進歯車列および前記後進歯車列のいずれをも非確立状態とするニュートラル位置に前記シフトドラムが在るときに前記インヒビタアームの先端部を係合させるようにして前記前進溝部および前記後進溝部間を連結するニュートラル溝部とから成ることを特徴とする。
また請求項2記載の発明は、請求項1記載の発明の構成に加えて、前記前進溝部および前記後進溝部が、前記シフトドラムの周方向に延びて該シフトドラムの外周に設けられ、前記前進溝部および前記後進溝部に直角に連なる前記ニュートラル溝部が、前記シフトドラムの軸方向に延びて前記シフトドラムの外周に設けられることを特徴とする。
請求項3記載の発明は、請求項1または2記載の発明の構成に加えて、前記カム機構が、第1および第2インヒビタロッドの対向端面の一方に設けられる軸芯部と、第1および第2インヒビタロッドの対向端面の他方に設けられて前記軸芯部を摺動可能に嵌合せしめる支持凹部と、第1および第2インヒビタロッドの対向端面の両方にそれぞれ設けられて相互に接触するとともに第1および第2インヒビタロッドの軸線と斜めに交差するように傾斜して前記軸芯部および前記支持凹部を囲繞するカム面とを備えることを特徴とする。
さらに請求項4記載の発明は、請求項1〜3のいずれかに記載の発明の構成に加えて、乗員の操作に応じた回動力を第2インヒビタロッドに入力すべく第2インヒビタロッドの外端に固着されるレバーが、車両に搭載されるエンジン本体の後面に後方から対向して配置されることを特徴とする。
請求項1記載の発明によれば、後進歯車列を確立する前にはニュートラル位置にシフトドラムの回動位置を規制するシフト規制機構が、第1インヒビタロッドと、乗員の操作に応じて軸線まわりに回動する第2インヒビタロッドと、第2インヒビタロッドの回動に応じて第1インヒビタロッドを軸方向に駆動するカム機構と、基端部が第1インヒビタロッドに固着されるインヒビタアームと、該インヒビタアームの先端部を係合させるようにしてシフトドラムの外周に設けられるインヒビタ溝とを備えており、インヒビタ溝が、複数段の前進歯車列の確立時にインヒビタアームの先端部を係合させる前進溝部と、シフトドラムの軸方向で前進溝部からずれた位置に配置されるとともに後進歯車列の確立時に前記インヒビタアームの先端部を係合させる後進溝部と、ニュートラル位置にシフトドラムが在るときにインヒビタアームの先端部を係合させるようにして前進溝部および後進溝部間を連結するニュートラル溝部とから成るものであり、第1および第2インヒビタロッドならびに両インヒビタロッド間に設けられるカム機構の配置に必要なスペースは小さくてすみ、シフト規制機構の配置に必要なスペースを小さくするとともに、シフト規制機構の軽量化を図ることができる。
また請求項2記載の発明によれば、シフトドラムの周方向に延びる前進溝部および後進溝部に直角に連なるニュートラル溝部が、シフトドラムの軸方向に延びてシフトドラムの外周に設けられるので、ニュートラル位置ではインヒビタアームの先端部がニュートラル溝部に係合しており、後進歯車列を確立する側にシフトドラムが回動するのを確実に阻止することができる。
請求項3記載の発明によれば、第1および第2インヒビタロッドの対向端面の一方に軸芯部ならびに該軸芯部を囲繞するカム面が設けられ、両インヒビタロッドの対向端面の他方に前記軸芯部を嵌合せしめる支持凹部ならびに該支持凹部を囲繞する他のカム面が設けられ、両カム面を相互に接触させるようにした簡単な構造でカム機構を構成することができる。
さらに請求項4記載の発明によれば、乗員の操作に応じた回動力を第2インヒビタロッドに入力するためのアームがエンジン本体の後面に後方から対向して配置されるので、車両の走行に伴う飛び石等から前記レバーを保護することができる。
以下、本発明の実施の形態を、添付の図面に示した本発明の一実施例に基づいて説明する。
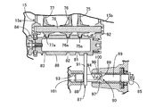
図1〜図8は本発明の一実施例を示すものであり、図1はエンジン本体の縦断面図であって図2の1−1線に沿う断面図、図2は図1の2矢視方向から見たエンジン本体の後面図、図3は図1の歯車変速機構の一部を拡大して示す断面図、図4は歯車変速機構のうち後進歯車列の構成を示すための図2の4−4線に沿う断面図、図5はシフトドラムの外周面の展開図、図6は図1のシフトドラム付近を拡大して示す断面図、図7はシフト規制機構が後進歯車列の確立を許容する状態にあるときの図6に対応した断面図、図8は図3の8−8線拡大断面図である。
先ず図1および図2において、たとえば荒地走行用車両に搭載されるパワーユニットは、エンジンEと、該エンジンEにおけるエンジン本体11のクランクケース15内に収容される歯車変速機構12および副変速機構13とを備える。
前記エンジン本体11は、軸線を車幅方向(図1の紙面に平行な方向ならびに図2の紙面に垂直な方向)に沿わせたクランクシャフト14を回転自在に支承するクランクケース15と、該クランクケース15の上部に結合されるシリンダブロック16と、該シリンダブロック16の上部に結合されるシリンダヘッド17と、シリンダヘッド17の上部に結合されるヘッドカバー18とを備え、シリンダブロック16のシリンダボア19に摺動可能に嵌合されるピストン20が、前記クランクシャフト14にコネクティングロッド21およびクランクピン22を介して連接される。
前記クランクケース15は、前部ケース半体15aと、後部ケース半体15bとが前記クランクシャフト14の回転軸線に直交する平面で結合されて成る。前部ケース半体15aには、前部ケース半体15aから前方に延びる前部延長ケース23が結合され、該前部延長ケース23の前端開放部は前部カバー24で閉じられる。また後部ケース半体15bには、後方側に突出する後部延長ケース25が結合され、この後部延長ケース25の開放端を塞ぐ後部カバー26が後部延長ケース25に結合される。而してクランクケース15、前部延長ケース23、前部カバー24、後部延長ケース25および後部カバー26がエンジンケース27を構成する。
前記前部ケース半体15a、前部延長ケース23および前部カバー24内には作動室28が形成され、クランクケース15の前部ケース半体15aから突出したクランクシャフト14の一端は前部カバー24で回転自在に支承され、前部カバー24に近接した位置でクランクシャフト14の一端部には、前記作動室28に収容される遠心クラッチ29が一方向クラッチ30を介して装着される。
クランクケース15から突出したクランクシャフト14の他端部には、発電機31のアウターロータ32が固定され、アウターロータ32内に同時期に配置されるインナーステータ33が後部延長ケース25に固定される。また後部延長ケース25の上部外面には、スタータモータ34が取付けられており、このスタータモータ34の動力を伝達する歯車列35と前記アウターロータ32との間に一方向クラッチ36が介装される。
前記遠心クラッチ29は、クランクシャフト14に固定されるドライブプレート38と、クランクシャフト14に相対回転可能に装着された駆動歯車39とともに回転するようにして前記ドライブプレート38を同軸に覆う椀状のクラッチハウジング40と、クランクシャフト14の回転に伴う遠心力の作用に応じてクラッチハウジング40の内周に摩擦係合することを可能としてドライブプレート38に回動可能に軸支されるクラッチウエイト41とを備えるものであり、一方向クラッチ30が、駆動歯車39からクランクシャフト14への動力伝達を可能とすべくクラッチハウジング40およびドライブプレート38間に設けられる。
図3を併せて参照して、歯車変速機構12は、同一軸線まわりの相対回転を可能として同軸に配置されるとともにクランクシャフト14の回転軸線と平行な軸線まわりの回転を可能としてクランクケース15に支承される第1および第2メインシャフト44,45と、第1および第2メインシャフト44,45と平行な軸線を有して前記クランクケース15および後部カバー26に回転自在に支承されるカウンタシャフト46との間に、選択的な確立を可能とした複数変速段の歯車列が設けられて成るものであり、この実施例では、第1メインシャフト44およびカウンタシャフト46間に、第1速歯車列G1、第3速歯車列G3および第5速歯車列G5が設けられ、第2メインシャフト45およびカウンタシャフト46間に、第2速歯車列G2、第4速歯車列G4および後進歯車列GRが設けられる。
第1メインシャフト44は、クランクケース15の前部ケース半体15aに一対のボールベアリング47…を介して回転自在に支承される第2メインシャフト45を、相対回転可能として同軸に貫通するものであり、第1メインシャフト44の一端部は前部カバー24にローラベアリング54を介して回転自在に支承され、第1メインシャフト44の他端部はクランクケース15の後部ケース半体15bにボールベアリング55を介して回転自在に支承される。また第2メインシャフト45および第1メインシャフト44間には複数のニードルベアリング48…が介装される。
作動室28内で第1メインシャフト44には、伝動筒軸49が相対回転可能に装着されており、該伝動筒軸49には、クランクシャフト14に相対回転可能に装着された前記駆動歯車39、該駆動歯車39に噛合する被動歯車50およびラバーダンパ51を介して動力が伝達される。
また伝動筒軸49および第1メインシャフト44間には第1油圧クラッチ52が設けられ、伝動筒軸49および第2メインシャフト45間には第2油圧クラッチ53が設けられる。すなわち遠心クラッチ29と、第1および第2油圧クラッチ52,53とは、クランクシャフト14と、第1および第2メインシャフト44、45との間に介設されるようにして作動室28に収容されるものであり、第1および第2油圧クラッチ52,53は、第1および第2メインシャフト44,45の軸線と、カウンタシャフト46の軸線との間の距離よりも大きな半径を有して前記作動室28に収容される。
而して第1油圧クラッチ52が動力伝達状態にあって第1メインシャフト44にクランクシャフト14から動力が伝達されているときには、第1、第3および第5速歯車列G1,G3,G5のうち択一的に確立した歯車列を介して第1メインシャフト44からカウンタシャフト46に動力が伝達され、第2油圧クラッチ53が動力伝達状態にあって第2メインシャフト45にクランクシャフト14から動力が伝達されているときには、第2、第4および後進歯車列G2,G4,GRのうち択一的に確立した歯車列を介して第2メインシャフト45からカウンタシャフト46に動力が伝達される。
第1速歯車列G1は、軸方向位置を一定として第1メインシャフト44に相対回転可能に支承される第1速用駆動歯車57と、カウンタシャフト46に相対回転不能に結合されるとともに第1速用駆動歯車57に噛合する第1速用被動歯車58とから成り、第3速歯車列G3は、軸方向位置を一定として第1メインシャフト44に相対回転可能に支承される第3速用駆動歯車59と、前記カウンタシャフト46に相対回転不能に結合されるとともに第3速用駆動歯車59に噛合する第3速用被動歯車60とから成る。また第5速歯車列G5は、軸方向のスライド作動を可能として第1および第3速用駆動歯車57,59間に配置されて第1メインシャフト44に相対回転不能に結合される第5速用駆動歯車61と、軸方向位置を一定としてカウンタシャフト46に相対回転可能に支承されるとともに第5速用駆動歯車61に噛合する第5速用被動歯車62とから成る。
第2速歯車列G2は、第2メインシャフト45に一体に設けられる第2速用駆動歯車63と、軸方向位置を一定としてカウンタシャフト46に回転自在に支承されるとともに第2速用駆動歯車63に噛合する第2速用被動歯車64とから成り、第4速歯車列G4は、第2メインシャフト45に一体に設けられる第4速用駆動歯車65と、軸方向位置を一定としてカウンタシャフト46に相対回転可能に支承されるとともに第4速用駆動歯車65に噛合する第4速用被動歯車66とから成る。
図4において、前記後進歯車列GRは、第2速用駆動歯車63と、第2速用駆動歯車63に噛合する第1後進アイドル歯車67と、第1後進アイドル歯車67と一体に形成される第2後進アイドル歯車68と、軸方向位置を一定としてカウンタシャフト46に相対回転可能に支承されるとともに第2後進アイドル歯車68に噛合する後進用被動歯車69とから成り、一体の第1および第2後進アイドル歯車67,68は、第1メインシャフト44、第2メインシャフト45およびカウンタシャフト46と平行な軸線を有してクランクケース15に両端部が支持された後進アイドル軸70で回転自在に支承されている。
第1速用駆動歯車57および第3速用駆動歯車59間で第1メインシャフト44には、第1シフタ72が相対回転不能かつ軸方向スライド可能に支承されており、第5速用駆動歯車61は第1シフタ72に一体に設けられる。この第1シフタ72は、第1速用駆動歯車57に係合して第1速歯車列G1を確立する位置と、第3速用駆動歯車59に係合して第3速歯車列G3を確立する位置と、第1および第3速用駆動歯車57,59のいずれにも係合しない中間位置(ニュートラル状態)とを切換えて第1メインシャフト44の軸方向にスライド可能である。
また第3速歯車列G3の第3速用被動歯車60は、第5速用被動歯車62および後進用被動歯車69間でカウンタシャフト46に相対回転不能かつ軸方向スライド可能に支承される第2シフタ73に一体に設けられており、第2シフタ73は第3速用駆動歯車59および第3速用被動歯車60の噛合状態を保持しつつ、第5速用被動歯車62に係合する位置ならびに後進用被動歯車69に係合する位置間でカウンタシャフト46の軸方向にスライド可能である。而して第1シフタ72が中間位置にある状態で第2シフタ73が第5速用被動歯車62に係合すると第5速歯車列G5が確立する。
さらに第2速用被動歯車64および第4速用被動歯車66間でカウンタシャフト46には、第3シフタ74が相対回転不能かつ軸方向スライド可能に支承されており、この第3シフタ74は、第2速用被動歯車64に係合して第2速歯車列G2を確立する位置と、第4速用被動歯車66に係合して第4速歯車列G4を確立する位置と、第2および第4速用被動歯車64,66のいずれにも係合しない中間位置(ニュートラル状態)とを切換えてカウンタシャフト46の軸方向にスライド可能である。而して第1および第3シフタ72,74が中間位置にある状態で第2シフタ73が後進用被動歯車69に係合すると後進歯車列GRが確立する。
図1で示すように、第1〜第3シフタ72,73,74は、第1〜第3シフトフォーク75,76,77で回転自在に保持されており、それらのシフトフォーク75〜77は、第1および第2メインシャフト44,45ならびにカウンタシャフト46と平行な軸線を有してクランクケース15に支持されたシフトフォーク軸78で、該シフトフォーク軸78の軸方向にスライド可能に支承される。またクランクケース15には、第1および第2メインシャフト44,45ならびにカウンタシャフト46と平行な軸線を有するシフトドラム80が軸線まわりに回動することを可能として支承されており、このシフトドラム80の外周面に設けられる第1〜第3のリード溝81,82,83に第1〜第3シフトフォーク75〜77に突設されたシフトピン75a,76a,77aがそれぞれ係合され、シフトドラム80が回動すると第1〜第3のリード溝81〜83のパターンに応じて第1〜第3シフトフォーク75〜77が軸方向にスライド作動する。
図5において、第1のリード溝81は、第1シフタ72を保持する第1シフトフォーク75のスライド作動をガイドするためのものであり、第1速用駆動歯車57に第1シフタ72を係合させるようにしてシフトドラム80の周方向に延びる第1速用歯車列確立部81aと、第3速用駆動歯車59に第1シフタ72を係合させるようにして第1速用歯車列確立部81aとはシフトドラム80の軸線方向にオフセットした位置で該シフトドラム80の周方向に延びる第3速用歯車列確立部81bと、第1および第3速用歯車列確立部81a,81b間を結ぶ連絡部81cと、第1シフタ72を中間位置に保持するための中間位置部81dとを有してシフトドラム80の全周にわたって設けられ、前記連絡部81cの中央部には、第1および第3速用駆動歯車57,59への係合を解除する位置に第1シフタ72を保持するニュートラル部81eが、前記シフトドラム80の周方向にわずかに延びて形成される。
また第2のリード溝82は、第2シフタ73を保持する第2シフトフォーク76のスライド作動をガイドするためのものであり、後進用被動歯車69に第2シフタ73を係合させるようにしてシフトドラム80の周方向に延びる後進用歯車列確立部82aと、第5速用被動歯車62に第2シフタ73を係合させるようにして後進用歯車列確立部82aとはシフトドラム80の軸線方向にオフセットした位置で該シフトドラム80の周方向に延びる第5速用歯車列確立部82bと、第2シフタ73を中間位置に保持するための中間位置部82cとを有してシフトドラム80の1周未満の外周に設けられ、後進用歯車列確立部82aおよび第5速用歯車列確立部82bは第2のリード溝82の両端に配置される。
さらに第3のリード溝83は、第3シフタ74を保持する第3シフトフォーク77のスライド作動をガイドするためのものであり、第2速用被動歯車64に第3シフタ74を係合させるようにしてシフトドラム80の周方向に延びる第2速用歯車列確立部83aと、第4速用被動歯車66に第3シフタ74を係合させるようにして第2速用歯車列確立部83aとはシフトドラム80の軸線方向にオフセットした位置で該シフトドラム80の周方向に延びる第4速用歯車列確立部83bと、第2および第4速用歯車列確立部83a,83b間を結ぶ連絡部83cと、第3シフタ74を中間位置に保持するための中間位置部83dとを有してシフトドラム80の全周にわたって設けられ、前記連絡部83cの中央部には、第2および第4速用被動歯車64,66への係合を解除する位置に第3シフタ74を保持するニュートラル部83eが、前記シフトドラム80の周方向にわずかに延びて形成される。
ところでシフトドラム80には、後進位置PR 、ニュートラル位置PN 、第1および第2速位置P1-2 、第2および第3速位置P2-3 、第3および第4速位置P3-4 、第4および第5速位置P4-5 、第5速位置P5 の各位置が間隔をあけて順次設定されている。
而して後進位置PR では、第1および第3のリード溝81,83の中間位置部81d,83dに第1および第3シフトフォーク75,77のシフトピン75a,77aを係合させるとともに第2のリード溝82の後進用歯車列確立部82aに第2シフトフォーク76のシフトピン76aを係合させて後進歯車列GRを確立する。またニュートラル位置PN では、第1〜第3のリード溝81〜83の中間位置部81d,82c,83dに第1〜第3シフトフォーク75〜77のシフトピン75a〜77aを係合させて各歯車列G1〜G5,GRのいずれをも未確立の状態とする。第1および第2速位置P1-2 では、第1のリード溝81の第1速用歯車列確立部81aに第1シフトフォーク75のシフトピン75aを係合し、第2のリード溝82の中間位置部82cに第2シフトフォーク76のシフトピン76aを係合し、第3のリード溝83の第2速用歯車列確立部83aに第3シフトフォーク77のシフトピン77aを係合して、第1および第2速歯車列G1,G2をともに確立する。第2および第3速位置P2-3 では、第1のリード溝81の第3速用歯車列確立部81bに第1シフトフォーク75のシフトピン75aを係合し、第2のリード溝82の中間位置部82cに第2シフトフォーク76のシフトピン76aを係合し、第3のリード溝83の第2速用歯車列確立部83aに第3シフトフォーク77のシフトピン77aを係合して、第2および第3速歯車列G2,G3をともに確立する。第3および第4速位置P3-4 では、第1のリード溝81の第3速用歯車列確立部81bに第1シフトフォーク75のシフトピン75aを係合し、第2のリード溝82の中間位置部82cに第2シフトフォーク76のシフトピン76aを係合し、第3のリード溝83の第4速用歯車列確立部83bに第3シフトフォーク77のシフトピン77aを係合して、第3および第4速歯車列G3,G4をともに確立する。第4および第5速位置P4-5 では、第1のリード溝81の中間位置部81dに第1シフトフォーク75のシフトピン75aを係合し、第2のリード溝82の第5速用歯車列確立部82bに第2シフトフォーク76のシフトピン76aを係合し、第3のリード溝83の第4速用歯車列確立部83bに第3シフトフォーク77のシフトピン77aを係合して、第4および第5速歯車列G4,G5をともに確立する。第5速位置P5 では、第1のリード溝81の中間位置部81dに第1シフトフォーク75のシフトピン75aを係合し、第2のリード溝82の第5速用歯車列確立部82bに第2シフトフォーク76のシフトピン76aを係合し、第3のリード溝83の中間位置部83dに第3シフトフォーク77のシフトピン77aを係合して第5速歯車列G5だけを確立する。
すなわちシフトアップ時には、高速段への切換前に高速段側の歯車列を予め確立することができ、シフトダウン時には、低速段への切換前に低速段側の歯車列を予め確立することができ、最も頻度の高い第5速での走行時には第5速歯車列G5だけが確立されている。
図1で示すように、シフトドラム80の一端には、該シフトドラム80とともに回動するシフトドラムセンター84が同軸に固定される。このシフトドラムセンター84は、送り機構85で所定角度ずつ間欠的に回動駆動されるものであり、この送り機構85は、シフトドラム80と平行な軸線を有してクランクケース15に回転自在に支承されるチェンジ軸86を有し、図示しない電動モータから伝達される動力で前記チェンジ軸86が回転するのに応じて、シフトドラム80が、上記後進位置PR 、ニュートラル位置PN 、第1および第2速位置P1-2 、第2および第3速位置P2-3 、第3および第4速位置P3-4 、第4および第5速位置P4-5 、第5速位置P5 の各位置を順次経過するように間欠駆動される。
前記シフトドラム80は、後進歯車列GRを確立する前には、シフト規制機構87によって、第1〜第5速歯車列G1〜G5および後進歯車列GRを非確立状態とするニュートラル位置PN に回動位置が規制される。
図6において、シフト規制機構87は、軸方向移動を可能とするとともに軸線まわりの回動を不能として前記シフトドラム80の軸線と平行に配置される第1インヒビタロッド88と、乗員の操作に応じて軸線まわりに回動することを可能として第1インヒビタロッド88と同軸に対向、配置される第2インヒビタロッド89と、第2インヒビタロッド89の回動に応じて第1インヒビタロッド88を軸方向に駆動するようにして第1および第2インヒビタロッド88,89間に設けられるカム機構90と、前記シフトドラム80の軸線に直交する平面内に配置されるとともに基端部が第1インヒビタロッド88に固着されるインヒビタアーム91と、該インヒビタアーム91の先端部を係合させるようにして前記シフトドラム80の外周に設けられるインヒビタ溝92とを備える。
図5に注目して、前記インヒビタ溝92は、第1〜第5速歯車列G1〜G5の確立時に前記インヒビタアーム91の先端部を係合させる前進溝部92aと、前記シフトドラム80の軸方向で前記前進溝部92aから前方側(図5の左側)にずれた位置に配置されるとともに前記後進歯車列GRの確立時に前記インヒビタアーム91の先端部を係合させる後進溝部92bと、ニュートラル位置PN に前記シフトドラム80が在るときに前記インヒビタアーム91の先端部を係合させるようにして前記前進溝部92aおよび前記後進溝部92b間を連結するニュートラル溝部92cとから成る。
しかも前記前進溝部92aおよび前記後進溝部92bは、前記シフトドラム80の周方向に延びて該シフトドラム80の外周に設けられており、前記ニュートラル溝部92cは、前進溝部92aおよび後進溝部92bに直角に連なるようにシフトドラム80の軸方向に延びて該シフトドラム80の外周に設けられる。
第1インヒビタロッド88の一端部はクランクケース15に設けられた有底の摺動孔93に摺動可能に嵌合される。また後部延長ケース26には、第2インヒビタロッド89の他端部を摺動自在に嵌合させる支持孔94が設けられ、一端を第1インヒビタロッド88の他端に同軸に対向させた第2インヒビタロッド89は、軸方向位置を一定として前記支持孔94に回動可能に嵌合され、後部延長ケース26から突出した第2インヒビタロッド89の他端部に、操作ケーブル96が連結されたレバー95が固定される。
すなわち乗員の操作に応じた回動力を第2インヒビタロッド89に入力すべく第2インヒビタロッド89の他端すなわち外端に固着されるレバー95は、荒地走行用車両に搭載されるエンジン本体11の後面に後方から対向して配置されることになる。
前記カム機構90は、第1および第2インヒビタロッド88,89の対向端面の一方(この実施例では第2インヒビタロッド89側)に設けられる軸芯部97と、第1および第2インヒビタロッド88,89の対向端面の他方(この実施例では第1インヒビタロッド88側)に設けられて前記軸芯部97を嵌合せしめる支持凹部98と、第1および第2インヒビタロッド88,89の対向端面の両方にそれぞれ設けられて相互に接触するとともに第1および第2インヒビタロッド88,89の軸線と斜めに交差するように傾斜して前記軸芯部および前記支持凹部を囲繞するカム面99,100とを備える。
また前記摺動孔93の閉塞端および第1インヒビタロッド88の一端間にはばね101が縮設されており、第1インヒビタロッド88は前記ばね101が発揮するばね力によって、カム面99,100を相互に接触する側に付勢される。
前記インヒビタアーム91は、第2インヒビタロッド89の非操作状態では前記インヒビタ溝92の前進溝部92aに先端部を係合させるようにして第1インヒビタロッド88に固定されており、操作ケーブル96から伝達される回動操作力がレバー95および第2インヒビタロッド89に入力されると、カム機構90は、図7で示すように、第1インヒビタロッド88を軸方向に前進せしめ、インヒビタアーム91の先端部は、インヒビタ溝92のニュートラル溝部92c内を後進溝部92bに移動し得る位置まで前進し、この状態でシフトドラム80が後進位置PR に回動することが許容される。
図1および図3で示すように、図示しない駆動輪に連結されるとともに前記クランクシャフト14の回転軸線と平行な軸線を有する出力軸102が、クランクケース15の前部ケース半体15aにボールベアリング103を介して回転自在に支承されるとともに、後部カバー26にボールベアリング104を介して回転自在に支承されており、この出力軸102の両端は前部延長ケース23および後部カバー26を液密にかつ回転自在に貫通して外方に突出する。
一方、カウンタシャフト46は、クランクケース15の後部ケース半体15bを回転自在に貫通するものであり、カウンタシャフト46の一端部はボールベアリング105を介してクランクケース15の前部ケース半体15aに回転自在に支承され、カウンタシャフト46の他端部はボールベアリング106を介して後部カバー26に回転自在に支承され、クランクケース15の後部ケース半体15bおよびカウンタシャフト46の中間部間にはボールベアリング107が介装される。
前記クランクシャフト14の軸方向に沿って前記作動室28とは反対側で、前記カウンタシャフト46および前記出力軸102間には、図1および図3で示すように副変速機構13が介設されており、この副変速機構13は、前記カウンタシャフト46および前記出力軸102間に設けられる一対の第1および第2歯車列GA,GBと、前記カウンタシャフト46および前記出力軸102の軸線に沿う方向に移動して第1および第2歯車列GA,GBを択一的に確立すべく第1および第2歯車列GA,GB間に配置されるシフター108とを備えており、カウンタシャフト46および出力軸102間の変速比を2段階で切換えることが可能である。
第1歯車列GAは、カウンタシャフト46に相対回転自在に支承される第1駆動歯車109と、出力軸102に相対回転不能に装着される第1被動歯車110とから成り、第2歯車列GBは、カウンタシャフト46に相対回転自在に支承される第2駆動歯車111と、出力軸102に相対回転不能に装着される第2被動歯車112とから成り、第1歯車列GAによる減速比よりも第2歯車列GBによる減速比の方が大きく設定されている。したがって第2歯車列GBの確立時は所謂スーパーロー状態となる。
前記シフター108は、第1駆動歯車109および第2駆動歯車111間でカウンタシャフト46に相対回転不能に装着されたスリーブ113を同軸に囲繞するものであり、相対回転を不能とするものの軸方向にスライドすることを可能としてスリーブ113に支承される。而してスリーブ113およびシフター108間には、シフター108の軸方向スライド動作を軽快なものとするとともに、相対回転を阻止するための複数のボール114…が介装される。
而して第1および第2メインシャフト44、45と同軸である第1および第2油圧クラッチ52,53が、第1および第2メインシャフト44、45の軸線とカウンタシャフト46の軸線と間の距離よりも大きな外径を有しつつクランクシャフト14の軸方向一方側の前記作動室28に収容されるとともに遠心クラッチ29が前記作動室28に収容されるのに対して、前記シフター108は、クランクシャフト14の軸方向他方側でカウンタシャフト46にスリーブ113を介して支承されることになる。
第1歯車列GAにおける第1駆動歯車109の前記シフター108側には第1被係合部材115が固着され、第2歯車列GBにおける第2駆動歯車111の前記シフター108側には第2被係合部材116が固着されており、第1被係合部材115の前記シフター108側には第1駆動歯車109の外周よりも外方に配置される複数の被係合部115a…が設けられ、第2被係合部材116の前記シフター108側には第2駆動歯車111の外周よりも外方に配置される複数の被係合部116a…が設けられる。
一方、前記シフター108の第1駆動歯車109側の外周には第1被係合部材115の被係合部115a…に係合可能な複数のドッグ117…が突設され、前記シフター108の第2駆動歯車111側の外周には第2被係合部材116の被係合部116a…に係合可能な複数のドッグ118…が突設される。
図8を併せて参照して、前記シフター108は副変速機構用シフトフォーク120で抱持されており、この副変速機構用シフトフォーク120は、第1および第2メインシャフト44,45ならびにカウンタシャフト46と平行な軸線を有するシフター軸119に固定される。而してシフター軸119の一端部が、クランクケース15における後部ケース半体15bに設けられた支持筒部121に軸方向摺動可能に嵌合され、後部カバー26には、シフター軸119を摺動可能に貫通せしめる支持孔122が設けられる。
、後部カバー26およびシフター軸119間には環状のシール部材123が介装される。
前記支持孔122内で前記シフター軸119の一端部には軸方向に延びるラック124が一体に設けられており、このラック124にはピニオン125が噛合する。ところで前記後部カバー26には、前記シフター軸119の軸線と直交する平面に回転軸線を配置した回転軸127が回転自在に支承されており、この回転軸127に前記ピニオン125が設けられる。しかも図2で示すように、ピニオン125は、クランクシャフト14およびカウンタシャフト46の軸線に直交する平面への投影図上で、前記クランクシャフト14および前記カウンタシャフト46の軸線を結ぶ直線Lの上方に配置される。
また前記シフター軸119は、歯車変速機構12が備える後進歯車列GRの一部を構成する第1および第2後進アイドル歯車67,68に、軸方向から見て前記後進アイドル歯車と重なる位置に配置されており、この実施例では、前記シフター軸119と、第1および第2後進アイドル歯車67,68を支承する後進アイドル軸70とが同軸に配置される。
而して前記回転軸127の一端部は前記後部カバー26から突出しており、この後部カバー26からの前記回転軸127の突出端部および前記ピニオン125間で、回転軸127および後部カバー26間には環状のシール部材123が介装される。また前記ラック124および前記ピニオン125の噛合部を覆うようにして蓋部材126が前記後部カバー26に螺合される。
図8において、前記シフター軸119と、前記後部カバー26との間にはクリック機構131が設けられており、このクリック機構131は、軸方向に間隔をあけてシフター軸119の外周に設けられる第1および第2環状凹部132,133と、シフター軸119の軸線と直交する方向で前記後部カバー26に設けられた摺動孔136に摺動自在に嵌合されるとともにシフター軸119側を閉じた有底円筒状に形成される係合部材134と、該係合部材134の閉塞端をシフター軸119の外周に当接させる側に付勢するクリックばね135とを備える。
前記後部カバー26には、前記摺動孔136と同軸にして外方に突出する筒部137が摺動孔136よりも大径にして一体に設けられ、前記係合部材134の開放端は筒部137内に収容され、筒部137の外端を気密に閉じるようにして該筒部137に取付けられる蓋部材138および前記係合部材134間にクリックばね135が縮設される。
前記摺動孔136は、第1およぶ第2歯車列GA,GBのいずれもが非確立状態にあるとときには係合部材134の閉塞端が第1および第2環状凹部132,133間の中央部でシフター軸119の外周に当接する位置で後部カバー26に設けられており、第1歯車列GAを確立する側にシフター軸119が移動したときには第1環状凹部132に係合部材134の閉塞端が弾発嵌合し、第2歯車列GBを確立する側にシフター軸119が移動したときには第2環状凹部133に係合部材134の閉塞端が弾発嵌合する。
また後部カバー26には、前記シフター軸119が第1歯車列GAを確立する側に移動したことを検出する第1検出スイッチ139と、前記シフター軸119が第2歯車列GBを確立する側に移動したことを検出する第2検出スイッチ140とが取付けられており、第1および第2検出スイッチ139,140はシフター軸119側に突出する検出子139a,140aを備える。
一方、シフター軸119の外周には、該シフター軸119が第1および第2歯車列GA,GBのいずれをも非確立状態とした中立位置にあるときに、突出状態にある第1および第2検出子139a,140aを収容する溝141,142が軸方向に延びるようにして設けられる。而して前記シフター軸119が第1歯車列GAを確立する側に図8の左側に移動したときには検出子139aが溝141からシフター軸119の外周に乗り上げることで押し込まれ、それによって第1歯車列GAの確立が第1検出スイッチ139で検出され、また前記シフター軸119が第2歯車列GBを確立する側に図8の右側に移動したときには検出子140aが溝142からシフター軸119の外周に乗り上げることで押し込まれ、それによって第2歯車列GBの確立が第2検出スイッチ140で検出される。
図1、図3および図4において、前記カウンタシャフト46には同軸に油孔144が穿設されており、前記歯車変速機構12および前記副変速機構13には、前記油孔144から潤滑油が導かれる。
次にこの実施例の作用について説明すると、歯車変速機構12の後進歯車列GRを確立する前に、シフトドラム80の回動位置は、シフト規制機構87によって第1〜第5速歯車列G1〜G5および後進歯車列GRを非確立状態とするニュートラル位置PN に規制されるものであり、このシフト規制機構87は、軸方向移動を可能とするとともに軸線まわりの回動を不能としてシフトドラム80の軸線と平行に配置される第1インヒビタロッド88と、乗員の操作に応じて軸線まわりに回動することを可能として第1インヒビタロッド88と同軸に対向、配置される第2インヒビタロッド89と、第2インヒビタロッド89の回動に応じて第1インヒビタロッド88を軸方向に駆動するようにして第1および第2インヒビタロッド88,89間に設けられるカム機構90と、シフトドラム80の軸線に直交する平面内に配置されるとともに基端部が第1インヒビタロッド88に固着されるインヒビタアーム91と、該インヒビタアーム91の先端部を係合させるようにして前記シフトドラム80の外周に設けられるインヒビタ溝92とを備えており、そのインヒビタ溝92が、第1〜第5速歯車列G1〜G5の確立時にインヒビタアーム91の先端部を係合させる前進溝部92aと、シフトドラム80の軸方向で前進溝部92aからずれた位置に配置されるとともに後進歯車列GRの確立時にインヒビタアーム91の先端部を係合させる後進溝部92bと、ニュートラル位置PN にシフトドラム80が在るときにインヒビタアーム91の先端部を係合させるようにして前進溝部92aおよび後進溝部92b間を連結するニュートラル溝部92cとから成るものである。
このようなシフト規制機構87によれば、第1および第2インヒビタロッド88,89ならびに両インヒビタロッド88,89間に設けられるカム機構90の配置に必要なスペースは小さくてすみ、シフト規制機構87の配置に必要なスペースを小さくするとともに、シフト規制機構87の軽量化を図ることができる。
また前進溝部92aおよび後進溝部92bが、シフトドラム80の周方向に延びて該シフトドラム80の外周に設けられ、ニュートラル溝部92cは、前進溝部92aおよび後進溝部92bに直角に連なってシフトドラム80の軸方向に延びるものであるので、ニュートラル位置PN ではインヒビタアーム91の先端部がニュートラル溝部92cに係合しており、後進歯車列GRを確立する側にシフトドラム80が回動するのを確実に阻止することができる。
また第1および第2インヒビタロッド88,89間に設けられるカム機構90は、第1および第2インヒビタロッド88,89の対向端面の一方(この実施例では第2インヒビタロッド89側)に設けられる軸芯部97と、第1および第2インヒビタロッド88,89の対向端面の他方(この実施例では第1インヒビタロッド88側)に設けられて前記軸芯部97を摺動可能に嵌合せしめる支持凹部98と、第1および第2インヒビタロッド88,89の対向端面の両方にそれぞれ設けられて相互に接触するとともに第1および第2インヒビタロッド88,89の軸線と斜めに交差するように傾斜して前記軸芯部97および前記支持凹部98を囲繞するカム面99,100とを備えるものであり、このようなカム機構90によれば、両カム面99,100を相互に接触させるようにした簡単な構造でカム機構90を構成することができる。
また乗員の操作に応じた回動力を第2インヒビタロッド89に入力すべく第2インヒビタロッド89の外端に固着されるレバー95が、エンジン本体11の後面に後方から対向して配置されるので、車両の走行に伴う飛び石等から前記レバー95を保護することができる。
またクランクシャフト14の軸方向一方でエンジンケース27内に形成される作動室28に、クランクシャフト14と第1および第2メインシャフト44,45との間に介設される遠心クラッチ29ならびに第1および第2油圧クラッチ52,53が収容され、クランクシャフト14の軸方向他方でカウンタシャフト46および出力軸102間に、カウンタシャフト46および出力軸102間に設けられる一対の歯車列GA,GBと、カウンタシャフト46および出力軸102の軸線に沿う方向に移動して前記両歯車列GA,GBを択一的に確立すべく前記両歯車列GA,GB間に配置されるシフター108とを備える副変速機構13が、変速比を2段階で切換えることを可能として介設されるので、クランクシャフト14の軸方向一方および他方に、遠心クラッチ29ならびに第1および第2油圧クラッチ52,53と、副変速機構13とを振り分けて配置するようにしてパワーユニットPの重量バランスを良好なものとすることができる。
また第1および第2メインシャフト44,45の軸線およびカウンタシャフト46の軸線間の距離よりも大きな半径を有する第1および第2油圧クラッチ52,53が、第1および第2メインシャフト44,45と同軸にして作動室28に収容され、クランクシャフト14の軸方向他方でカウンタシャフト46にシフター108が支承されるので、第1および第2油圧クラッチ52、53と、副変速機構13との干渉を回避しつつパワーユニットPの重量バランスを良好なものとすることができる。
またカウンタシャフト46に、歯車変速機構12および副変速機構13に潤滑油を導く油孔144が同軸に穿設されるので、油路構成を簡素化することができる。
また副変速機構13のシフター108を抱持する副変速機構用シフトフォーク120が、第1および第2メインシャフト44,45ならびにカウンタシャフト46と平行な軸線を有するとともに軸方向移動可能なシフター軸119に固定され、該シフター軸119に設けられたラック124に、前記シフター軸119の軸線と直交する平面に回転軸線を配置したピニオン125が噛合されるので、副変速機構13を変速作動せしめる機構の簡素化を図るとともにエンジンケース27からの突出を避けることができる。
またピニオン125が、クランクシャフト14およびカウンタシャフト46の軸線に直交する平面への投影図上で、クランクシャフト14およびカウンタシャフト46の軸線を結ぶ直線Lの上方に配置されるので、ピニオン125の地上高を高くし、飛び石等からピニオン125を保護することができる。
また副変速機構13が備える第1および第2歯車列GA,GBの一部をそれぞれ構成する第1および第2駆動歯車109,111に、それらの歯車109,111の外周よりも外方に配置される被係合部115a,116aが設けられ、それらの被係合部115a,116aに係合し得るドッグ117,118が前記シフター108に設けられるので、第1および第2駆動歯車109,111を小型化しつつ、ドッグ117,118および被係合部115a,116aの係合、当接面積を第1および第2駆動歯車109,111の半径方向で大きくしてトルク伝達を良好にするとともに、第1および第2駆動歯車109,111の軸方向での副変速機構13の長さを短くすることができる。
さらに歯車変速機構12は、後進歯車列GRの一部を構成する第1および第2後進アイドル歯車67,68を備え、前記カウンタシャフト46の軸方向に移動可能なシフター108を抱持する副変速機構用シフトフォーク120が固定されるシフター軸119が、その軸方向から見て第1および第2後進アイドル歯車67,68と重なる位置に配置されるので、シフター軸119を、第1および第2メインシャフト44,45ならびにカウンタシャフト46との干渉を避けるようにしつつカウンタシャフト46に近接して配置することができる。
以上、本発明の実施例を説明したが、本発明は上記実施例に限定されるものではなく、特許請求の範囲に記載された本発明を逸脱することなく種々の設計変更を行うことが可能である。
エンジン本体の縦断面図であって図2の1−1線に沿う断面図である。 図1の2矢視方向から見たエンジン本体の後面図である。 図1の歯車変速機構の一部を拡大して示す断面図である。 歯車変速機構のうち後進歯車列の構成を示すための図2の4−4線に沿う断面図である。 シフトドラムの外周面の展開図である。 図1のシフトドラム付近を拡大して示す断面図である。 シフト規制機構が後進歯車列の確立を許容する状態にあるときの図6に対応した断面図である。 図3の8−8線拡大断面図である。
符号の説明
12・・・歯車変速機構
75,76,77・・・シフトフォーク
80・・・シフトドラム
81,82,83・・・リード溝
87・・・シフト規制機構
88・・・第1インヒビタロッド
89・・・第2インヒビタロッド
90・・・カム機構
91・・・インヒビタアーム
92・・・インヒビタ溝
92a・・・前進溝部
92b・・・後進溝部
92c・・・ニュートラル溝部
95・・・レバー
97・・・軸芯部
98・・・支持凹部
99,100・・・カム面
G1・・・前進歯車列である第1速歯車列
G2・・・前進歯車列である第2速歯車列
G3・・・前進歯車列である第3速歯車列
G4・・・前進歯車列である第4速歯車列
G5・・・前進歯車列である第5速歯車列
GR・・・後進歯車列

Claims (4)

  1. 複数段の前進歯車列(G1,G2,G3,G4,G5)および後進歯車列(GR)を有する歯車変速機構(12)と、複数段の前記前進歯車列(G1〜G5)および前記後進歯車列(GR)を択一的に確立するためのシフトフォーク(75,76,77)を係合させるリード溝(81,82,83)が外周に設けられるとともに軸線まわりの回動を可能としたシフトドラム(80)と、前記後進歯車列(GR)を確立する前には複数段の前記前進歯車列(G1〜G5)および前記後進歯車列(GR)を非確立状態とするニュートラル位置に前記シフトドラム(80)の回動位置を規制するシフト規制機構(87)とを備える車両の変速装置において、前記シフト規制機構(87)が、軸方向移動を可能とするとともに軸線まわりの回動を不能として前記シフトドラム(80)の軸線と平行に配置される第1インヒビタロッド(88)と、乗員の操作に応じて軸線まわりに回動することを可能として第1インヒビタロッド(88)と同軸に対向、配置される第2インヒビタロッド(89)と、第2インヒビタロッド(89)の回動に応じて第1インヒビタロッド(88)を軸方向に駆動するようにして第1および第2インヒビタロッド(88,89)間に設けられるカム機構(90)と、前記シフトドラム(80)の軸線に直交する平面内に配置されるとともに基端部が第1インヒビタロッド(88)に固着されるインヒビタアーム(91)と、該インヒビタアーム(91)の先端部を係合させるようにして前記シフトドラム(80)の外周に設けられるインヒビタ溝(92)とを備え、該インヒビタ溝(92)が、複数段の前記前進歯車列(G1〜G5)の確立時に前記インヒビタアーム(91)の先端部を係合させる前進溝部(92a)と、前記シフトドラム(80)の軸方向で前記前進溝部(92a)からずれた位置に配置されるとともに前記後進歯車列(GR)の確立時に前記インヒビタアーム(91)の先端部を係合させる後進溝部(92b)と、複数段の前記前進歯車列(G1〜G5)および前記後進歯車列(GR)のいずれをも非確立状態とするニュートラル位置に前記シフトドラム(80)が在るときに前記インヒビタアーム(91)の先端部を係合させるようにして前記前進溝部(92a)および前記後進溝部(92b)間を連結するニュートラル溝部(92c)とから成ることを特徴とする車両の変速装置。
  2. 前記前進溝部(92a)および前記後進溝部(92b)が、前記シフトドラム(80)の周方向に延びて該シフトドラム(80)の外周に設けられ、前記前進溝部(92a)および前記後進溝部(92b)に直角に連なる前記ニュートラル溝部(92c)が、前記シフトドラム(80)の軸方向に延びて前記シフトドラム(80)の外周に設けられることを特徴とする請求項1記載の車両の変速装置。
  3. 前記カム機構(90)が、第1および第2インヒビタロッド(88,89)の対向端面の一方に設けられる軸芯部(97)と、第1および第2インヒビタロッド(88,89)の対向端面の他方に設けられて前記軸芯部(97)を摺動可能に嵌合せしめる支持凹部(98)と、第1および第2インヒビタロッド(88,89)の対向端面の両方にそれぞれ設けられて相互に接触するとともに第1および第2インヒビタロッド(88,89)の軸線と斜めに交差するように傾斜して前記軸芯部(97)および前記支持凹部(98)を囲繞するカム面(99,100)とを備えることを特徴とする請求項1または2記載の車両の変速装置。
  4. 乗員の操作に応じた回動力を第2インヒビタロッド(89)に入力すべく第2インヒビタロッド(89)の外端に固着されるレバー(95)が、車両に搭載されるエンジン本体(11)の後面に後方から対向して配置されることを特徴とする請求項1〜3のいずれかに記載の車両の変速装置。
JP2008217190A 2008-08-26 2008-08-26 車両の変速装置 Expired - Fee Related JP5037454B2 (ja)

Priority Applications (1)

Application Number Priority Date Filing Date Title
JP2008217190A JP5037454B2 (ja) 2008-08-26 2008-08-26 車両の変速装置

Applications Claiming Priority (1)

Application Number Priority Date Filing Date Title
JP2008217190A JP5037454B2 (ja) 2008-08-26 2008-08-26 車両の変速装置

Publications (2)

Publication Number Publication Date
JP2010053899A true JP2010053899A (ja) 2010-03-11
JP5037454B2 JP5037454B2 (ja) 2012-09-26

Family

ID=42070058

Family Applications (1)

Application Number Title Priority Date Filing Date
JP2008217190A Expired - Fee Related JP5037454B2 (ja) 2008-08-26 2008-08-26 車両の変速装置

Country Status (1)

Country Link
JP (1) JP5037454B2 (ja)

Also Published As

Publication number Publication date
JP5037454B2 (ja) 2012-09-26

Similar Documents

Publication Publication Date Title
CN101153658B (zh) 车辆用变速器的变速控制装置
US8042419B2 (en) Vehicle transmission
US8365621B2 (en) Arrangement structure of shifting actuator of internal combustion engine mounted on motorcycle
JP4970183B2 (ja) 車両用変速機
CN105531516B (zh) 车辆用动力单元
US7966902B2 (en) Vehicular transmission
JP2008089062A5 (ja)
WO2008041429A1 (fr) Dispositif de commande de changement de vitesse de boîte de vitesses de véhicule
US11035420B2 (en) Transmission
JP2012197853A (ja) 鞍乗り型車両用変速装置
JP2015194190A (ja) 内燃機関の変速駆動装置
JP4970099B2 (ja) 車両用変速機
US7963184B2 (en) Vehicle transmission
JP5129695B2 (ja) 車両用パワーユニット
JP2008089059A (ja) 車両用変速機
JP2008089056A5 (ja)
JP2008089063A (ja) 変速装置
JP5037454B2 (ja) 車両の変速装置
JP2007177874A (ja) 変速装置
JP4979326B2 (ja) 車両用変速機
JP5978239B2 (ja) 車両用リバース付き変速機
JP2008089057A5 (ja)
JP2008089055A5 (ja)
JP2016161097A (ja) 手動変速機のシフト装置
JP3815203B2 (ja) 回転角度検出装置とこの回転角度検出装置を組み込んだ変速機用駆動装置

Legal Events

Date Code Title Description
A621 Written request for application examination

Free format text: JAPANESE INTERMEDIATE CODE: A621

Effective date: 20101126

A977 Report on retrieval

Free format text: JAPANESE INTERMEDIATE CODE: A971007

Effective date: 20120227

TRDD Decision of grant or rejection written
A01 Written decision to grant a patent or to grant a registration (utility model)

Free format text: JAPANESE INTERMEDIATE CODE: A01

Effective date: 20120620

A01 Written decision to grant a patent or to grant a registration (utility model)

Free format text: JAPANESE INTERMEDIATE CODE: A01

A61 First payment of annual fees (during grant procedure)

Free format text: JAPANESE INTERMEDIATE CODE: A61

Effective date: 20120704

FPAY Renewal fee payment (event date is renewal date of database)

Free format text: PAYMENT UNTIL: 20150713

Year of fee payment: 3

R150 Certificate of patent or registration of utility model

Ref document number: 5037454

Country of ref document: JP

Free format text: JAPANESE INTERMEDIATE CODE: R150

Free format text: JAPANESE INTERMEDIATE CODE: R150

R250 Receipt of annual fees

Free format text: JAPANESE INTERMEDIATE CODE: R250

LAPS Cancellation because of no payment of annual fees