JP2010052825A - 詰め替え用紙容器 - Google Patents
詰め替え用紙容器 Download PDFInfo
- Publication number
- JP2010052825A JP2010052825A JP2008222917A JP2008222917A JP2010052825A JP 2010052825 A JP2010052825 A JP 2010052825A JP 2008222917 A JP2008222917 A JP 2008222917A JP 2008222917 A JP2008222917 A JP 2008222917A JP 2010052825 A JP2010052825 A JP 2010052825A
- Authority
- JP
- Japan
- Prior art keywords
- container
- lid
- paper
- container body
- overcap
- Prior art date
- Legal status (The legal status is an assumption and is not a legal conclusion. Google has not performed a legal analysis and makes no representation as to the accuracy of the status listed.)
- Granted
Links
Images
Landscapes
- Closures For Containers (AREA)
Abstract
【解決手段】紙を主体としたカップ状の容器本体2と、バリア性を備えると共に中心から放射状に、且つ、周方向に所定間隔で強度弱点部11を備えてこの容器本体2の開口部2Aの上面に貼着されて容器本体2を密封するシート状の蓋材4と、アンダーカット5Aを周縁部に備えてこの蓋4の上方に被されるオーバーキッャプ5を備えてなる詰め替え用紙容器であって、前記オーバーキャップ5の垂下壁5Aに周方向所定間隔置きにスリット14を設けて容器が落下した時の落下衝撃を蓋4に伝え難くしたものである。
【選択図】 図1
Description
本発明の詰め替え用紙容器は、従来のスタンディングパウチ等と全く違って、容器本体を詰め替え容器の口部に押し付けて押圧することによって蓋を押し破るようにしてあるので、簡単に容器本体と詰め替え容器とを直に連通できるから、詰め替え作業を大変簡単な操作で、容易かつ確実に行うことができ、内容物を外気に触れさせるおそれも少なく、香りや風味が損なわれるおそれも少ない。
オーバーキャップの容器本体の開口部に対する嵌合力が弱くなるので、オーバーキャップを容易に嵌脱でき、また、嵌脱によって不用意に蓋を破ってしまうおそれを可及的に少なくできるからである。また、切欠きと切欠きの間で衝撃を吸収し、周りに衝撃が伝わり難く、容器の大きな変形が抑えられ、耐落下衝撃性が向上するからである。
カール部の内端縁と胴部外周面との間に設けた隙間によって、つまりはカール部を容器から離すことによって得られた隙間がショックアブソーバーとして機能し、容器本体への衝撃を小さくし、大きな変形を抑えられ、耐落下衝撃性が向上するからである。
強度弱点部の始端を容器本体の開口部から蓋の中心側に偏倚させることによって、落下の衝撃が強度弱点部に直ちに影響を及ぼすのを可及的に少なくできるからである。
尚、図4中6Bはカール部6に生じる段差であるが、前記シート状の蓋4の最内層に形成されているシーラント層7(後述)によって上手く封止される。
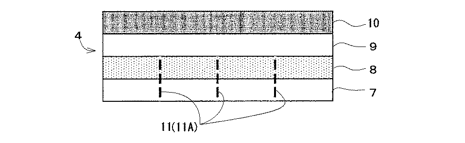
このバリア性を有する蓋4は、図5に示すように、最内層7はポリエチレンのシーラント層、このシーラント層7の外側にポリエチレンテレフタレート層8、その外側に接着剤層9を介して金属箔層10が貼着された高いガスバリア性を備えた複合シートが採用され、更に前記最内層のシーラント層7には、図3、6に示すように、その中央から放射状に複数本の強度弱点部11が設けられていて、この強度弱点部11によって前記シーラント層7を含み金属箔層10も容易に破れて、開封し易くしてある。
尚、図3中、55は天板13(後述)の中央部分を上方へ突出させて設けた凸部、56はこの凸部55の周囲を囲繞するようにして全周にわたり上方へ突出させて設けた周縁リブである。凸部55は製品をスタックするためのもので、また、周縁リブ56はスタックさせた製品のズレ防止のためのものである。他の図はこの構成を省略して表示した。これらの構成は必ずしも必要としない。係る構成の場合には図1に示した外形形状となる。
即ち、図7に示すように、カール部6の内端縁15と容器本体2の胴部2Bの外周面2Cとの間に所定間隔の隙間16を設けてこれを吸収緩和素子12としたことである。
先ず、オーバーキャップ5を取り外し、次いで図8並びに図9に示すように、容器本体2を逆さにし、ホッパ3の漏斗3Cを補充用の容器の一例であるジャー17の円筒状の口部17Aに内嵌合出来る位置に宛がう。容器本体2内のインスタントコーヒーPはホッパ3から漏斗3C内にも流下してきているが、蓋4によって保持されている。次いで、図10並びに図11に示すように、容器本体2に、その漏斗3Cをジャー17の口部17Aへ向かって押し込むように押圧力を負荷する。この押圧力は、ジャー17の口部17A、一般的には本体から円筒状に立ち上がる筒上部分が蓋4を押し破るための力として働く。すなわち、このジャー17の口部17Aが蓋4を押し上げて、これをホッパ3のリング3Aと漏斗3Cとの間の断面三角形状の空間S内に押し込む力として機能する。この押圧力が付加された蓋4は、強度弱点部11であるミシン目11Aが放射状に設けられているために、たちまちの内に極めて容易にこのミシン目11Aに沿って複数の分割片に破断分割される。同時にこの漏斗3Cはジャー17の口部17A内に入り込む。その結果、前記ホッパ3の漏斗3Cの開口3C1が開放され、容器本体2内のインスタントコーヒーPが、ホッパ3の漏斗3Cによって、センターへと案内されつつ、一挙にジャー17内へ案内流下される。ジャー18へ補充を終えたこの詰め替え用容器1は廃棄される。
尚、図中2Dは容器本体2の底を示す。
まず、ラミネート加工法によって、容器本体用として、〔容器外側〕紙層(坪量350g/m2 )/エチレンメタクリル酸重合樹脂(EMAA)層(25μm)/アルミニウム箔層(7.0μm)/ポリエチレンテレフタレート層(12μm)/低密度ポリエチレン層(60μm)〔容器内側〕構成の積層材料を作製した。また、ボトム部材として、〔容器外側〕低密度ポリエチレン層(20μm)/紙層(坪量230g/m2 )/低密度ポリエチレン層(20μm)/アルミニウム箔層(7.0μm)/接着剤層/ポリエチレンテレフタレート層(12μm)/接着剤層/低密度ポリエチレン層(50μm)〔容器内側〕構成の積層材料を作製した。これらの積層材料を用い、PMC社製カップ成形機で、胴部上端の外周に、胴部2Bの外周面2Cとカール部6の内端縁16との間に1.0mmの間隔があくようにしたものと、間隔のないものの二種類のカール付きのカップ状容器本体2を作製した。次に、高密度ポリエチレン(三井化学 2100K)を用いて射出成形により、リング3A、フランジ3B、そして漏斗3Cを備えたホッパ3を作製した。リング3A、フランジ3B並びに漏斗3Cは共にほぼ0.8mm厚となるよう成形した。更に、〔上側〕金属箔層10としてのアルミニウム箔層(7μm)/低密度ポリエチレン層(15μm)9/ポリエチレンテレフタレート層(12μm)8/シーラント層7としての低密度ポリエチレン層(100μm)〔下側〕からなる積層材料を作製し、この積層材料を用いて蓋を作製した。更に低密度ポリエチレンを用い、天板13部分は1.0mm、垂下壁5A部分は1.0mmの肉厚にし、またスリット15の幅を3.0mmにしてオーバーキャップ5を作製した。
先ず、内容物を220g入れ、夫々の容器の開口部2Aには本発明によるスリット14を設けたオーバーキャップ5を用いたものとスリットのない従来品、また、本発明によるカール部6に隙間16を設けたものと設けていない従来品とのそれぞれを5つ作った。これらの試験体を容器の開口部2Aが斜め45度下向きとなる姿勢で、オーバーキャップ5を用いた場合は地上30cmから、またカール部6に隙間16を設けた場合は地上60cmから夫々落下させた。
結果を表1と表2に示す。
2…容器本体
2A…開口部
3…ホッパ
3A…リング
3B…フランジ
3C…漏斗
3C1…開口
3D…ガイド
4…蓋
5…オーバーキャップ
5B…アンダーカット
6…カール部
11…強度弱点部
11A…ミシン目
12…吸収緩和素子
13…天板
14…スリット
15…カール部の内端縁
16…隙間
Claims (4)
- 紙を主体としたカップ状の容器本体と、バリア性を備えると共に中心から放射状に、且つ、周方向に所定間隔で強度弱点部を備えてこの容器本体の開口部の上面に貼着されて容器本体を密封するシート状の蓋材と、アンダーカットを周縁部に備えてこの蓋材の上方に被されるオーバーキッャプを備えてなる詰め替え用紙容器であって、容器が落下した時の落下衝撃を蓋に伝え難くするための吸収緩和素子が備わっていることを特徴とする詰め替え用紙容器。
- 吸収緩和素子はオーバーキャップの天板周縁から下方へ一体に垂下連設した周壁に、その周方向所定間隔置きに下端縁から天板辺縁に至って設けられた切欠きである請求項1記載の詰め替え用紙容器。
- 吸収緩和素子はカール部の内端縁と胴部外周面との間に設けられた所定間隔の隙間である請求項1記載の詰め替え用紙容器。
- 強度弱点部は蓋の中心から辺縁に至る途中まで設けられている請求項1〜3のいずれかに記載の詰め替え用紙容器
Priority Applications (1)
| Application Number | Priority Date | Filing Date | Title |
|---|---|---|---|
| JP2008222917A JP5354329B2 (ja) | 2008-08-29 | 2008-08-29 | 詰め替え用紙容器 |
Applications Claiming Priority (1)
| Application Number | Priority Date | Filing Date | Title |
|---|---|---|---|
| JP2008222917A JP5354329B2 (ja) | 2008-08-29 | 2008-08-29 | 詰め替え用紙容器 |
Publications (2)
| Publication Number | Publication Date |
|---|---|
| JP2010052825A true JP2010052825A (ja) | 2010-03-11 |
| JP5354329B2 JP5354329B2 (ja) | 2013-11-27 |
Family
ID=42069169
Family Applications (1)
| Application Number | Title | Priority Date | Filing Date |
|---|---|---|---|
| JP2008222917A Expired - Fee Related JP5354329B2 (ja) | 2008-08-29 | 2008-08-29 | 詰め替え用紙容器 |
Country Status (1)
| Country | Link |
|---|---|
| JP (1) | JP5354329B2 (ja) |
Cited By (3)
| Publication number | Priority date | Publication date | Assignee | Title |
|---|---|---|---|---|
| JP2015187006A (ja) * | 2014-03-27 | 2015-10-29 | 雪印メグミルク株式会社 | 蓋体及び容器 |
| CN110844308A (zh) * | 2019-12-19 | 2020-02-28 | 瑞安市贝斯特机械有限公司 | 一种防渗漏纸盖 |
| WO2024070926A1 (ja) * | 2022-09-29 | 2024-04-04 | 株式会社吉野工業所 | レフィル容器、及び付け替え容器 |
Citations (9)
| Publication number | Priority date | Publication date | Assignee | Title |
|---|---|---|---|---|
| JPS5160963U (ja) * | 1974-11-05 | 1976-05-13 | ||
| JPS57184952U (ja) * | 1981-05-19 | 1982-11-24 | ||
| US5000314A (en) * | 1989-01-23 | 1991-03-19 | Bristol-Myers Company | Unit dose package |
| JPH061375A (ja) * | 1992-04-22 | 1994-01-11 | Dainippon Printing Co Ltd | 中蓋付き容器 |
| JPH10203542A (ja) * | 1997-01-20 | 1998-08-04 | Kao Corp | 詰め替え用袋 |
| US5941380A (en) * | 1998-01-10 | 1999-08-24 | Rothman; David | Device for dispensing flowable material |
| JPH11321907A (ja) * | 1998-05-12 | 1999-11-24 | Cb:Kk | 容 器 |
| JP2005067613A (ja) * | 2003-08-27 | 2005-03-17 | Daiwa Can Co Ltd | ボトル容器用オーバーキャップ |
| JP2009007072A (ja) * | 2007-06-28 | 2009-01-15 | Nestec Sa | ばら材料を貯蔵し取り出すためのコンテナ |
-
2008
- 2008-08-29 JP JP2008222917A patent/JP5354329B2/ja not_active Expired - Fee Related
Patent Citations (9)
| Publication number | Priority date | Publication date | Assignee | Title |
|---|---|---|---|---|
| JPS5160963U (ja) * | 1974-11-05 | 1976-05-13 | ||
| JPS57184952U (ja) * | 1981-05-19 | 1982-11-24 | ||
| US5000314A (en) * | 1989-01-23 | 1991-03-19 | Bristol-Myers Company | Unit dose package |
| JPH061375A (ja) * | 1992-04-22 | 1994-01-11 | Dainippon Printing Co Ltd | 中蓋付き容器 |
| JPH10203542A (ja) * | 1997-01-20 | 1998-08-04 | Kao Corp | 詰め替え用袋 |
| US5941380A (en) * | 1998-01-10 | 1999-08-24 | Rothman; David | Device for dispensing flowable material |
| JPH11321907A (ja) * | 1998-05-12 | 1999-11-24 | Cb:Kk | 容 器 |
| JP2005067613A (ja) * | 2003-08-27 | 2005-03-17 | Daiwa Can Co Ltd | ボトル容器用オーバーキャップ |
| JP2009007072A (ja) * | 2007-06-28 | 2009-01-15 | Nestec Sa | ばら材料を貯蔵し取り出すためのコンテナ |
Cited By (3)
| Publication number | Priority date | Publication date | Assignee | Title |
|---|---|---|---|---|
| JP2015187006A (ja) * | 2014-03-27 | 2015-10-29 | 雪印メグミルク株式会社 | 蓋体及び容器 |
| CN110844308A (zh) * | 2019-12-19 | 2020-02-28 | 瑞安市贝斯特机械有限公司 | 一种防渗漏纸盖 |
| WO2024070926A1 (ja) * | 2022-09-29 | 2024-04-04 | 株式会社吉野工業所 | レフィル容器、及び付け替え容器 |
Also Published As
| Publication number | Publication date |
|---|---|
| JP5354329B2 (ja) | 2013-11-27 |
Similar Documents
| Publication | Publication Date | Title |
|---|---|---|
| JP4885905B2 (ja) | 詰め替え用紙容器 | |
| CN102083702B (zh) | 包装容器及使用该包装容器的包装 | |
| JP4981739B2 (ja) | バリア性を有する蓋 | |
| JP5354329B2 (ja) | 詰め替え用紙容器 | |
| JP5487693B2 (ja) | バリア性を有する蓋 | |
| JP5304990B2 (ja) | バリア性を備えた詰め替え用容器 | |
| JP5131015B2 (ja) | パーツ付紙容器 | |
| JP5262472B2 (ja) | パーツ付詰め替え用容器 | |
| JP5262453B2 (ja) | オーバーキャップ付容器 | |
| JP2010254337A (ja) | 易開封性及びバリア性を有する蓋 | |
| JP5417466B2 (ja) | バリア性を有する蓋 | |
| JP5229465B2 (ja) | バリア性を有する蓋 | |
| HK1152688B (en) | Container for refill |
Legal Events
| Date | Code | Title | Description |
|---|---|---|---|
| A621 | Written request for application examination |
Free format text: JAPANESE INTERMEDIATE CODE: A621 Effective date: 20110804 |
|
| RD02 | Notification of acceptance of power of attorney |
Free format text: JAPANESE INTERMEDIATE CODE: A7422 Effective date: 20110902 |
|
| A977 | Report on retrieval |
Free format text: JAPANESE INTERMEDIATE CODE: A971007 Effective date: 20121228 |
|
| A131 | Notification of reasons for refusal |
Free format text: JAPANESE INTERMEDIATE CODE: A131 Effective date: 20130124 |
|
| A521 | Written amendment |
Free format text: JAPANESE INTERMEDIATE CODE: A523 Effective date: 20130325 |
|
| TRDD | Decision of grant or rejection written | ||
| A01 | Written decision to grant a patent or to grant a registration (utility model) |
Free format text: JAPANESE INTERMEDIATE CODE: A01 Effective date: 20130802 |
|
| A61 | First payment of annual fees (during grant procedure) |
Free format text: JAPANESE INTERMEDIATE CODE: A61 Effective date: 20130815 |
|
| R150 | Certificate of patent or registration of utility model |
Free format text: JAPANESE INTERMEDIATE CODE: R150 |
|
| LAPS | Cancellation because of no payment of annual fees |
