JP2010052204A - スピュー回収装置およびスピュートリミング装置 - Google Patents

スピュー回収装置およびスピュートリミング装置 Download PDF

Info

Publication number
JP2010052204A
JP2010052204A JP2008217773A JP2008217773A JP2010052204A JP 2010052204 A JP2010052204 A JP 2010052204A JP 2008217773 A JP2008217773 A JP 2008217773A JP 2008217773 A JP2008217773 A JP 2008217773A JP 2010052204 A JP2010052204 A JP 2010052204A
Authority
JP
Japan
Prior art keywords
spew
tire
recovery
tread surface
tire tread
Prior art date
Legal status (The legal status is an assumption and is not a legal conclusion. Google has not performed a legal analysis and makes no representation as to the accuracy of the status listed.)
Granted
Application number
JP2008217773A
Other languages
English (en)
Other versions
JP5164742B2 (ja
Inventor
Nobuyuki Kikuchi
伸幸 菊地
Current Assignee (The listed assignees may be inaccurate. Google has not performed a legal analysis and makes no representation or warranty as to the accuracy of the list.)
Sumitomo Rubber Industries Ltd
Original Assignee
Sumitomo Rubber Industries Ltd
Priority date (The priority date is an assumption and is not a legal conclusion. Google has not performed a legal analysis and makes no representation as to the accuracy of the date listed.)
Filing date
Publication date
Application filed by Sumitomo Rubber Industries Ltd filed Critical Sumitomo Rubber Industries Ltd
Priority to JP2008217773A priority Critical patent/JP5164742B2/ja
Publication of JP2010052204A publication Critical patent/JP2010052204A/ja
Application granted granted Critical
Publication of JP5164742B2 publication Critical patent/JP5164742B2/ja
Expired - Fee Related legal-status Critical Current
Anticipated expiration legal-status Critical

Links

Images

Landscapes

  • Tyre Moulding (AREA)
  • Processing And Handling Of Plastics And Other Materials For Molding In General (AREA)

Abstract

【課題】タイヤに損傷などを発生させることなくスピュー回収能力、回収効率が大きいタイヤトレッド面のスピュー回収装置およびスピュートリミング装置を提供する。
【解決手段】タイヤトレッド面から切除されたスピューを吸引する吸引装置と、吸引装置に連結された円筒形の回収ノズルと、回収ノズルと所定の間隔を隔てて、回収ノズルの側面の一部を覆うフードが設けられ、回収ノズルの側壁には、円筒の中心線に平行に伸びる細長い複数の開口部が設けられており、フードは、少なくとも一つの開口部を覆っており、回収ノズルは、円筒の中心線を回転の中心として回転自在に設けられ、タイヤトレッド面に側壁が接してタイヤの回転と共に回転しつつ、開口部よりスピューを吸引するスピュー回収装置および前記スピュー回収装置を備えたスピュートリミング装置。
【選択図】図1

Description

本発明は、タイヤトレッド面に形成されたスピューを回収するスピュー回収装置および前記スピュー回収装置を設けたスピュートリミング装置に関する。
通常、加硫された製品タイヤには、加硫金型のベントホールからはみ出したスピューと呼ばれる円柱状のバリが形成されるため、外観上の理由で、このスピューを切除するトリミング工程が設けられる。例えばタイヤトレッド面の自動トリミングの場合には、タイヤを起立した状態で回転させながら、タイヤトレッド面に形成されたスピューをカッタにて切除する。(特許文献1)
そして、切除されたスピューが周辺に飛散すると環境悪化や設備のトラブルを引き起こす恐れがあるため、切除されたスピューは直ちに回収される。通常のスピュートリミング装置の場合には、タイヤトレッド面に接近した位置に吸引用の回収ノズルを配置し、タイヤを回転させながら吸引を行ってタイヤトレッド面に付着したスピューを回収する。
従来のスピュートリミング装置の例を図8に示す。(a)は側面図、(b)は正面図である。(a)ではカッタ5によって切除されたスピュー7が回収ノズル1に設けた吸い込み口24で吸引されて回収される状態が示されている。回収ノズル1とタイヤトレッド面6の間隔は回収ノズル1がタイヤトレッド面6と接触せず、なるべく接近するように調整されている。なお、回収ノズル1は、下側にタイヤトレッド面6に接して回転するローラー21が取り付けられた固定板22のサイドに取り付けられている。この構成によればタイヤ4の回転中はローラー21がタイヤトレッド面6の高さの変動に追随して上下に移動し、この移動に伴って回収ノズル1も上下に移動するため、回収ノズルの位置を固定した構成に比べて回収ノズル1とタイヤトレッド面6の間隔をより一定に保つことができる。
特開平11−227069号公報
しかしながら、前記した従来のスピュートリミング装置においては、タイヤ4の回転中に回収ノズル1がタイヤトレッド面6に接触するとタイヤ4に損傷(ダメージ)が加わるため、回収ノズル1を十分にタイヤトレッド面6に接近させることができず、さらにタイヤの変形等を考慮して、回収ノズル1とタイヤトレッド面6の間隔に余裕を持たせる必要がある。このため、タイヤトレッド面6における回収ノズル1の吸引力が弱い。さらには吸い込み口24の向きが一定であるため、吸い込み口24に接近したスピュー以外は吸引され難く、スピュー7の回収能力、回収効率が低いという問題があった。
本発明は、タイヤに損傷等を発生させることなく、従来と比べてタイヤトレッド面に付着したスピューを回収する回収能力、回収効率が大きいスピュー回収装置およびそのようなスピュー回収装置を設けたスピュートリミング装置を提供することを課題とする。
上記課題を解決するために、本発明のスピュー回収装置は、
タイヤトレッド面から切除されたスピューを回収するスピュー回収装置であって、
前記スピューを吸引する吸引装置と、
一端が前記吸引装置に連結された円筒形の回収ノズルと、
前記回収ノズルと所定の間隔を隔てて、前記回収ノズルの側面の一部を覆うフードが設けられ、
前記回収ノズルの側壁には、円筒の中心線に平行に伸びる細長い複数の開口部が設けられており、
前記フードは、少なくとも一つの前記開口部を覆っており、
前記回収ノズルは、前記円筒の中心線を回転の中心として回転自在に設けられ、前記タイヤトレッド面に側壁が接してタイヤの回転と共に回転しつつ、前記開口部より前記スピューを吸引する
ことを特徴とする。
また、本発明のスピュートリミング装置は、
タイヤトレッド面のスピューをトリミングするスピュートリミング装置であって、
タイヤを回転させるタイヤ回転装置と、
スピュー切除用のカッタと、
回収ノズルが設けられた前記のスピュー回収装置が設けられ、
前記カッタはタイヤトレッド面の近傍に配置され、
前記回収ノズルは、前記タイヤトレッド面に側壁が接してタイヤの回転と共に回転するように配置され、
前記カッタと前記回収ノズルは、タイヤの回転方向に従ってカッタ、回収ノズルの順に隣接して配置され、
前記タイヤ回転装置によりタイヤを回転させながら、前記カッタで切除された前記スピューを前記タイヤトレッド面に接して回転する前記回収ノズルの開口部より吸引する
ことを特徴とする。
本発明によれば、回収ノズルを円筒形とし、円筒の中心線を回転の中心として回転自在に設けているため、回収ノズルをタイヤトレッド面に当て止めしてもタイヤに損傷等を発生させることがない。また、側壁に複数の開口部が設けられ、タイヤの回転に伴って回転する回収ノズルを用いて、タイヤトレッド面に当て止めしてスピューを吸引し、さらに前記開口部の一部はフードに覆われて吸引力がより高められているため、スピューの回収能力、回収効率の高いスピュー回収装置およびスピュートリミング装置を提供することができる。
以下、本発明の実施の形態につき、詳細に説明する。なお、本発明は、以下の実施の形態に限定されるものではない。本発明と同一および均等の範囲内において、以下の実施の形態に対して種々の変更を加えることが可能である。
図1は本発明のスピュー回収装置の回収ノズル1とフード2の構造を示す図である。図1の(a)は一部を断面状態で示した側面図であり、(b)は一部を断面状態で示した正面図である。(a)においては、回収ノズル1とフード2の一部分を断面状態で示している。回収ノズル1は、円筒形であり中が空洞になっている。本実施の形態においては(a)に示すように、回収ノズル1の側壁には開口部3が4ケ所設けられている。また、回収ノズル1の上側と右側が所定の間隔を隔ててフード2で覆われ、2箇所の開口部3がフード2により覆われるように構成されている。
また、図1の(b)に示すように、回収ノズル1は、軸受け31と32を介してフード2の内側に円筒の中心線を回転の中心として回転自在に設けられている。また、開口部3は、円筒形の回収ノズル1の側壁に円筒の中心線に平行に伸びる細長い穴である。なお、回収ノズル1をタイヤトレッド面に当て止めする際にフード2がタイヤトレッド面と接触しないよう、フード2の下端は回収ノズル1の下端より上になるように構成されている。なお、図2にフード2とその内側に設けられた回収ノズル1の斜視図を示す。
図3は、本発明のスピュー回収装置をタイヤトレッド面のスピュートリミング装置に適用したときの状態を示す図である。図3の(a)は側面図、(b)は正面図である。なお、図3の(b)においては図面が煩雑にならないよう、カッタ5は図示していない。図3の(a)に示すように、タイヤトレッド面6には、支持具23の先端に取り付けられたカッタ5とエアシリンダー10に支持されたフード2の内側に設けられた回収ノズル1が、矢印で示すタイヤ4の回転方向に従ってカッタ5、回収ノズル1の順に隣接して配置されている。そして、円筒形の回収ノズル1は、円筒の中心線である回転の中心がタイヤトレッド面6の幅方向に略平行になるようにタイヤトレッド面6に当て止めされ、タイヤ4の回転に伴って回転する。
また、図3の(b)に示すように、円筒形の回収ノズル1の側壁に設けた開口部3はタイヤ4の全幅以上の長さを有している。このため、本実施の形態においては回収ノズル1の位置を設定し直すことなくタイヤトレッド面6の全幅に亘って付着したスピューを吸引することができる。回収ノズル1の一端はダクトホース8に連結され、さらに図示されない吸引装置に連結される。
次に図4、図5により回収ノズル、フードについて更に詳細に説明する。図4は、図3(a)の部分拡大図である。回収ノズル1はタイヤトレッド面6に当て止めされているため、タイヤトレッド面6における回収ノズル1の吸引力が強い。さらに、回収ノズル1には4箇所に開口部3が設けられているが、4箇所に設けた開口部3の内、タイヤトレッド面6に対向していない上側と右側の2ケ所の開口部3がフード2で覆われているため、吸引を行っているタイヤトレッド面6に対向する下側の開口部3の吸引力は一層強められる。
また、前記したように回収ノズル1はタイヤ4の回転に伴って回転するため、タイヤトレッド面6に空気の動きが生じ、タイヤトレッド面に付着したスピューが移動し易く、即ち吸引し易くなる。
前記した従来の回収ノズルの吸い込み口の向きが一定にされた方式においては、吸い込み口に接近したスピュー以外は吸引され難く、またタイヤの溝に入り込んだスピューは一層吸引が困難である。これに対して本実施の形態においては、前記したように回転方式の回収ノズルを採用し、更にフードを設けることにより開口部3の吸引力を強めたこととタイヤの回転と共に回収ノズルを回転させることによりスピュー7を吸引し易くしたこととが相俟ってタイヤトレッド面6の溝に付着したスピュー7も容易に吸引することができ、回収率を大幅に向上させることができる。
また、カッタ5と回収ノズル1はタイヤの回転方向に従ってカッタ5、回収ノズル1の順に隣接して配置されており、回収ノズル1がタイヤ4の回転に伴って回転することにより、切除されたスピューを回収ノズル1の回転方向に巻き込みながら吸収するため、スピューを真上の方向に吸引する従来のスピュー回収装置に比べてスピューをより効率良く回収できる。また、回収ノズル1はタイヤトレッド面6に当て止めされているため、高さ位置の調整が不要である。
なお、開口部3の数は、回収ノズル1の太さによって異なるが、通常の太さの場合には4〜6個であり、好ましくは4個である。また、フード2はタイヤトレッド面6に対向していない開口部3の内少なくとも一つの開口部3を覆うが、図4に示したタイヤトレッド面6と反対側(図では上側)およびカッタ5と反対側(図では右側)を含む2個以上の開口部3を覆うことが好ましい。また、吸引している間、複数の開口部3が一定の間隔を置いて順にタイヤトレッド面6に対向することや、フード2の効果を発揮し易くするため、開口部3は回収ノズル1の側壁に均等な間隔をおいて設けられることが好ましい。
なお、本実施の形態のスピュー回収装置においては、風圧と風量がそれぞれ約35KPa、10m/分以上で作動させることにより十分に強力な吸引力が得られる。また、回収ノズル1とフード2の間隔は、フード2による開口部3を覆う効果が十分に発揮できると共に、回収ノズル1がスムースに回転できるように設定される。
図5は図3(b)の部分拡大図である。前記したように、回収ノズル1はタイヤ4のタイヤトレッド面6に当て止めされており、タイヤ4の回転に伴って回転する。そして、ダクトホース8の先端に取り付けられたフード2は伸縮自在なエアシリンダー10の先端に固定され、エアシリンダー10により支持されているため、タイヤ4の回転中にタイヤトレッド面6の表面の高さが変動しても、回収ノズル1はタイヤトレッド面6の高さの変動に追随しながら回転する。このため回収ノズル1をタイヤトレッド面6に当て止めしてもタイヤ4にダメージが加わることがない。
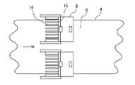
図6は、カッタの一種であるバリカンの配置状態を示す平面図である。スピューは主としてタイヤトレッド面6のタイヤの側面寄りの部分に形成されるため、一対のカッタ5(バリカン)はタイヤトレッド面の両側面寄りに配置される。タイヤ4が回転して図の矢印の方向にタイヤトレッド面6が移動することにより、タイヤトレッド面6に形成されたスピュー(図示せず)は、櫛歯状ガイド14の間を通って刃15に導かれカットされる。なお、一対のカッタ5(バリカン)は図4に示したように支持具23によって支持されており、支持具23に設けたバネ(図示せず)によってタイヤトレッド面6の方向に付勢され、タイヤトレッド面6に接して配置される。なお、スピューのトリミング中にタイヤトレッド面6に接触させた刃15によってタイヤトレッド面6が削ぎ落とされることがないよう、刃15の取付け角度が調整される。
図7は、本発明のスピュートリミング装置12の全体の構成を概念的に示す図である。容器18内にタイヤ回転装置13、一対のカッタ5、スピュー回収装置11のフード2および回収ノズル1が設けられている。一方、吸引装置9は容器18の外に設けられ、回収ノズル1の一端は、曲げ、伸縮が自在な蛇腹方式のホースであって、容器18の側壁を貫通して設けたダクトホース8により吸引装置9に連結されている。一対のカッタ5は支持具23の先端に取り付けられている。
スピューのトリミングは、はじめにタイヤ4が容器18内に搬入され、タイヤ回転装置13のサイドに起立した状態でセットされる。タイヤ4がセットされた後、タイヤ回転装置13からローラー(図示せず)をタイヤ4の方向に移動させ、タイヤ4のタイヤトレッド面に接触させてタイヤを回転させる。
次にエアシリンダー10を伸長させて、回収ノズル1を回転の中心がタイヤトレッド面の幅方向に略平行となるようにタイヤトレッド面6に当て止めする。次に支持具23を下降させ、タイヤ4の上部のタイヤトレッド面6近傍に一対のカッタ5を配置する。そして、タイヤ回転装置13から移動させたローラーを回転させることによりタイヤ4を所定の速度で回転させることによってタイヤトレッド面6に形成されたスピューをカッタ5でカットする。そしてカッタ5によりカットされたスピューがタイヤ4の回転に伴って回収ノズル1の方向に移動し、吸引装置9による吸引力により回収ノズル1の開口部3から吸引されて回収される。
本実施の形態によれば、タイヤに損傷等を発生させることなく、従来と比べてタイヤトレッド面に付着したスピューを回収する回収能力、回収効率が大きいスピュー回収装置およびそのようなスピュー回収装置を設けたスピュートリミング装置を提供することができる。このため、トリミング装置の周辺に飛散するスピューの減少により周囲の環境が向上すると共に、掃除の回数を減少することができる。またスピューが原因の設備トラブルも減少することになる。
本発明の一実施の形態のスピュー回収装置の回収ノズルとフードの構造を示す図である。 本発明の一実施の形態のスピュー回収装置の回収ノズルとフードの構造を示す斜視図である。 本発明の一実施の形態のスピュー回収装置をタイヤトレッド面のスピュートリミングに適用したときの状態を示す図である。 本発明の一実施の形態のスピュー回収装置をタイヤトレッド面のスピュートリミングに適用したときの状態を示す部分拡大図である。 本発明の一実施の形態のスピュー回収装置をタイヤトレッド面のスピュートリミングに適用したときの状態を示す部分拡大図である。 本発明の一実施の形態のカッタの配置状態を示す平面図である。 本発明の一実施の形態のスピュートリミング装置の概略を示す図である。 従来のスピュートリミング装置の主要部の概略を示す図である。
符号の説明
1 回収ノズル
2 フード
3 開口部
4 タイヤ
5 カッタ
6 タイヤトレッド面
7 スピュー
8 ダクトホース
9 吸引装置
10 エアシリンダー
11 スピュー回収装置
12 スピュートリミング装置
13 タイヤ回転装置
14 櫛歯状ガイド
15 刃
18 容器
21 ローラー
22 固定板
23 支持具
24 吸い込み口
31、32 軸受け

Claims (2)

  1. タイヤトレッド面から切除されたスピューを回収するスピュー回収装置であって、
    前記スピューを吸引する吸引装置と、
    一端が前記吸引装置に連結された円筒形の回収ノズルと、
    前記回収ノズルと所定の間隔を隔てて、前記回収ノズルの側面の一部を覆うフードが設けられ、
    前記回収ノズルの側壁には、円筒の中心線に平行に伸びる細長い複数の開口部が設けられており、
    前記フードは、少なくとも一つの前記開口部を覆っており、
    前記回収ノズルは、前記円筒の中心線を回転の中心として回転自在に設けられ、前記タイヤトレッド面に側壁が接してタイヤの回転と共に回転しつつ、前記開口部より前記スピューを吸引することを特徴とするスピュー回収装置。
  2. タイヤトレッド面のスピューをトリミングするスピュートリミング装置であって、
    タイヤを回転させるタイヤ回転装置と、
    スピュー切除用のカッタと、
    回収ノズルが設けられた請求項1に記載のスピュー回収装置が設けられ、
    前記カッタはタイヤトレッド面の近傍に配置され、
    前記回収ノズルは、前記タイヤトレッド面に側壁が接してタイヤの回転と共に回転するように配置され、
    前記カッタと前記回収ノズルは、タイヤの回転方向に従ってカッタ、回収ノズルの順に隣接して配置され、
    前記タイヤ回転装置によりタイヤを回転させながら、前記カッタで切除された前記スピューを前記タイヤトレッド面に接して回転する前記回収ノズルの開口部より吸引することを特徴とするスピュートリミング装置。
JP2008217773A 2008-08-27 2008-08-27 スピュー回収装置およびスピュートリミング装置 Expired - Fee Related JP5164742B2 (ja)

Priority Applications (1)

Application Number Priority Date Filing Date Title
JP2008217773A JP5164742B2 (ja) 2008-08-27 2008-08-27 スピュー回収装置およびスピュートリミング装置

Applications Claiming Priority (1)

Application Number Priority Date Filing Date Title
JP2008217773A JP5164742B2 (ja) 2008-08-27 2008-08-27 スピュー回収装置およびスピュートリミング装置

Publications (2)

Publication Number Publication Date
JP2010052204A true JP2010052204A (ja) 2010-03-11
JP5164742B2 JP5164742B2 (ja) 2013-03-21

Family

ID=42068652

Family Applications (1)

Application Number Title Priority Date Filing Date
JP2008217773A Expired - Fee Related JP5164742B2 (ja) 2008-08-27 2008-08-27 スピュー回収装置およびスピュートリミング装置

Country Status (1)

Country Link
JP (1) JP5164742B2 (ja)

Cited By (1)

* Cited by examiner, † Cited by third party
Publication number Priority date Publication date Assignee Title
JP2014144616A (ja) * 2013-01-30 2014-08-14 Sumitomo Rubber Ind Ltd スピュー回収装置

Citations (6)

* Cited by examiner, † Cited by third party
Publication number Priority date Publication date Assignee Title
JPH02258329A (ja) * 1989-03-31 1990-10-19 Sumitomo Rubber Ind Ltd 更生タイヤ用補助バフ方法及び装置
JPH10296877A (ja) * 1997-04-22 1998-11-10 Sumitomo Rubber Ind Ltd タイヤのトリミング装置及びトリミング方法
JPH11227069A (ja) * 1998-02-10 1999-08-24 Sumitomo Rubber Ind Ltd スピュートリミング装置
JP2002178295A (ja) * 2000-12-11 2002-06-25 Hitachi Ltd プリント基板分割装置
JP2005081561A (ja) * 2003-09-04 2005-03-31 Bridgestone Corp タイヤトリミング装置およびタイヤ検査システム
JP2008126479A (ja) * 2006-11-20 2008-06-05 Bridgestone Corp 台タイヤのバフ粉除去方法

Patent Citations (6)

* Cited by examiner, † Cited by third party
Publication number Priority date Publication date Assignee Title
JPH02258329A (ja) * 1989-03-31 1990-10-19 Sumitomo Rubber Ind Ltd 更生タイヤ用補助バフ方法及び装置
JPH10296877A (ja) * 1997-04-22 1998-11-10 Sumitomo Rubber Ind Ltd タイヤのトリミング装置及びトリミング方法
JPH11227069A (ja) * 1998-02-10 1999-08-24 Sumitomo Rubber Ind Ltd スピュートリミング装置
JP2002178295A (ja) * 2000-12-11 2002-06-25 Hitachi Ltd プリント基板分割装置
JP2005081561A (ja) * 2003-09-04 2005-03-31 Bridgestone Corp タイヤトリミング装置およびタイヤ検査システム
JP2008126479A (ja) * 2006-11-20 2008-06-05 Bridgestone Corp 台タイヤのバフ粉除去方法

Cited By (1)

* Cited by examiner, † Cited by third party
Publication number Priority date Publication date Assignee Title
JP2014144616A (ja) * 2013-01-30 2014-08-14 Sumitomo Rubber Ind Ltd スピュー回収装置

Also Published As

Publication number Publication date
JP5164742B2 (ja) 2013-03-21

Similar Documents

Publication Publication Date Title
KR102101508B1 (ko) 필름 절단장치
KR100987114B1 (ko) 압연 코일 시편 채취 장치
CN207807876U (zh) 极片除尘装置及极片加工设备
JP5164742B2 (ja) スピュー回収装置およびスピュートリミング装置
CN202968762U (zh) 可移动的剥茧衣机
CN105586668B (zh) 精梳机的棉卷接合设备
CN115592275B (zh) 电池极耳激光切割机
CN209240170U (zh) 一种铝箔分切装置
CN118951368A (zh) 一种卷对卷膜材激光切割设备及其使用方法
CN204417848U (zh) 一种用于刺绣布的剪毛机
CN219958927U (zh) 一种非接触式极片除尘设备
CN111604980A (zh) 一种分切机除尘装置
KR20100067910A (ko) 롤 상의 이물질 제거용 블레이드 장치
CN222587521U (zh) 极耳除尘装置
CN215149480U (zh) 一种pc板无屑切割设备
KR101748719B1 (ko) 집진기 내장형 레이저마킹기
CN218255338U (zh) 基于定位调节的膜材生产的切断装置
CN116728216A (zh) 一种光学器材镜片切割装置
JP2014144616A (ja) スピュー回収装置
CN106078870B (zh) 一种具有移动切割功能的碗状塑料切割设备
CN106142179A (zh) 一种便捷型碗状塑料切割设备
KR100763405B1 (ko) 원지 슬리터장치
CN107262808A (zh) 带除尘装置的钢管切割机
CN206646311U (zh) 一种自动布料裁切机的刀头组件
CN220408876U (zh) 一种热敏涂布原纸裁切设备

Legal Events

Date Code Title Description
A621 Written request for application examination

Free format text: JAPANESE INTERMEDIATE CODE: A621

Effective date: 20110523

A977 Report on retrieval

Free format text: JAPANESE INTERMEDIATE CODE: A971007

Effective date: 20120713

A131 Notification of reasons for refusal

Free format text: JAPANESE INTERMEDIATE CODE: A131

Effective date: 20120723

A521 Request for written amendment filed

Free format text: JAPANESE INTERMEDIATE CODE: A523

Effective date: 20120918

TRDD Decision of grant or rejection written
A01 Written decision to grant a patent or to grant a registration (utility model)

Free format text: JAPANESE INTERMEDIATE CODE: A01

Effective date: 20121217

A61 First payment of annual fees (during grant procedure)

Free format text: JAPANESE INTERMEDIATE CODE: A61

Effective date: 20121218

FPAY Renewal fee payment (event date is renewal date of database)

Free format text: PAYMENT UNTIL: 20151228

Year of fee payment: 3

R150 Certificate of patent or registration of utility model

Ref document number: 5164742

Country of ref document: JP

Free format text: JAPANESE INTERMEDIATE CODE: R150

Free format text: JAPANESE INTERMEDIATE CODE: R150

R250 Receipt of annual fees

Free format text: JAPANESE INTERMEDIATE CODE: R250

R250 Receipt of annual fees

Free format text: JAPANESE INTERMEDIATE CODE: R250

R250 Receipt of annual fees

Free format text: JAPANESE INTERMEDIATE CODE: R250

R250 Receipt of annual fees

Free format text: JAPANESE INTERMEDIATE CODE: R250

R250 Receipt of annual fees

Free format text: JAPANESE INTERMEDIATE CODE: R250

R250 Receipt of annual fees

Free format text: JAPANESE INTERMEDIATE CODE: R250

R250 Receipt of annual fees

Free format text: JAPANESE INTERMEDIATE CODE: R250

R250 Receipt of annual fees

Free format text: JAPANESE INTERMEDIATE CODE: R250

LAPS Cancellation because of no payment of annual fees