JP2010051994A - はんだ供給装置およびはんだ供給方法 - Google Patents

はんだ供給装置およびはんだ供給方法 Download PDF

Info

Publication number
JP2010051994A
JP2010051994A JP2008218278A JP2008218278A JP2010051994A JP 2010051994 A JP2010051994 A JP 2010051994A JP 2008218278 A JP2008218278 A JP 2008218278A JP 2008218278 A JP2008218278 A JP 2008218278A JP 2010051994 A JP2010051994 A JP 2010051994A
Authority
JP
Japan
Prior art keywords
solder
mold
sheet
sheet solder
movable
Prior art date
Legal status (The legal status is an assumption and is not a legal conclusion. Google has not performed a legal analysis and makes no representation as to the accuracy of the status listed.)
Granted
Application number
JP2008218278A
Other languages
English (en)
Other versions
JP5240448B2 (ja
Inventor
Tatsuya Kagaya
達也 加賀屋
Current Assignee (The listed assignees may be inaccurate. Google has not performed a legal analysis and makes no representation or warranty as to the accuracy of the list.)
Toyota Motor Corp
Original Assignee
Toyota Motor Corp
Priority date (The priority date is an assumption and is not a legal conclusion. Google has not performed a legal analysis and makes no representation as to the accuracy of the date listed.)
Filing date
Publication date
Application filed by Toyota Motor Corp filed Critical Toyota Motor Corp
Priority to JP2008218278A priority Critical patent/JP5240448B2/ja
Publication of JP2010051994A publication Critical patent/JP2010051994A/ja
Application granted granted Critical
Publication of JP5240448B2 publication Critical patent/JP5240448B2/ja
Expired - Fee Related legal-status Critical Current
Anticipated expiration legal-status Critical

Links

Images

Landscapes

  • Electric Connection Of Electric Components To Printed Circuits (AREA)

Abstract

【課題】鉛フリーのシートはんだの接合品質を確保することが可能なはんだ供給装置およびはんだ供給方法を提供する。
【解決手段】矯正型20によりシートはんだ3を下向きに凸であるR形状に矯正して、吸着ツール31によりシートはんだ3を基板上に載置した時に、シートはんだ3の中央が基板に接するようにした。これにより、はんだ溶融時に、シートはんだ3を中央から外側へ向けて軟化(変形)させて平坦にすることができる。このように、鉛入りはんだと比較して剛性が高い鉛フリーのシートはんだ3を使用したとしても、シートはんだ3を確実に平坦に溶融させることが可能であり、基板と実装部品との接合品質を確保することができる。
【選択図】図1

Description

本発明は、はんだ供給装置およびはんだ供給方法に関し、特に、リールから引き出されたシートはんだを規定長さに切断して実装装置等へ供給する装置およびリールから引き出されたシートはんだを規定長さに切断して実装装置等へ供給する方法に関する。
例えば、特許文献1には、リールから引き出されたシートはんだが、第1の成形路、一対の成形ローラ、第2の成形路により順次巻き癖が矯正された後、フォーミングクランプで加圧されることにより面出し(平坦に成形)されるはんだ供給装置の記載がある。ところで、近年、地球環境への配慮から鉛フリーのシートはんだが主流になっており、この鉛フリーのシートはんだは、鉛入りのシートはんだと比較して剛性が高いことから塑性変形し難くく、フォーミングクランプにより加圧したとしても、基板上に載置された時に中央が基板から浮く傾向がある。このように、シートはんだの中央が基板から浮いている場合、はんだ溶融時にシートはんだと基板との間にガスが閉じ込められて接合不良(気泡欠陥)が発生するおそれがある。
特開2006−130538号公報
そこで本発明は、上記事情に鑑みてなされたもので、鉛フリーのシートはんだの接合品質を確保することが可能なはんだ供給装置およびはんだ供給方法を提供することを課題としてなされたものである。
上記課題を解決するために、本発明のはんだ供給装置は、リールから引き出されたシートはんだを規定長さに切断して供給する装置であって、中央が凸であるR曲面に形成された成形面を有する可動型と、中央が前記可動型の成形面に相対するR曲面に形成された成形面を有する固定型と、からなり、前記リールから引き出された前記シートはんだを前記可動型の成形面と前記固定型の成形面とで加圧して矯正する矯正型を有し、前記シートはんだが供給対象物上に載置された時に該シートはんだの中央が前記供給対象物に接するように、前記矯正型により前記シートはんだをR形状に矯正することを特徴とする。
上記課題を解決するために、本発明のはんだ供給方法は、はんだ供給装置を用いて、リールから引き出されたシートはんだを規定長さに切断して供給する方法であって、前記はんだ供給装置は、中央が凸であるR曲面に形成された成形面を有する可動型と、中央が前記可動型の成形面に相対するR曲面に形成された成形面を有する固定型と、からなる矯正型を有し、前記方法は、前記リールから引き出された前記シートはんだを前記可動型の成形面と前記固定型の成形面とで加圧して、前記シートはんだが供給対象物上に載置された時に該シートはんだの中央が前記供給対象物に接するように、前記シートはんだをR形状に矯正する矯正ステップと、前記矯正ステップにより矯正された前記シートはんだを規定長さに切断する切断ステップと、前記切断ステップにより規定長さに切断された前記シートはんだを供給対象物へ供給する供給ステップと、を含むことを特徴とする。
(発明の態様)
以下に、本願において特許請求が可能と認識されている発明(以下、請求可能発明と称する)の態様を例示し、例示された各態様について説明する。ここでは、各態様を、特許請求の範囲と同様に、項に区分すると共に各項に番号を付し、必要に応じて他の項の記載を引用する形式で記載する。これは、請求可能発明の理解を容易にするためであり、請求可能発明を構成する構成要素の組み合わせを、以下の各項に記載されたものに限定する趣旨ではない。つまり、請求可能発明は、各項に付随する記載、実施形態の記載等を参酌して解釈されるべきであり、その解釈に従う限りにおいて、各項の態様にさらに他の構成要素を付加した態様も、また、各項の態様から構成要素を削除した態様も、請求可能発明の一態様となり得る。
なお、以下の各項において、(1)〜(6)項の各々が、請求項1〜6の各々に相当する。
(1)リールから引き出されたシートはんだを規定長さに切断して供給する装置であって、中央が凸であるR曲面に形成された成形面を有する可動型と、中央が可動型の成形面に相対するR曲面に形成された成形面を有する固定型と、からなり、リールから引き出されたシートはんだを可動型の成形面と固定型の成形面とで加圧して矯正する矯正型を有し、シートはんだが供給対象物上に載置された時に該シートはんだの中央が供給対象物に接するように、矯正型によりシートはんだをR形状に矯正することを特徴とするはんだ供給装置。
本項に記載のはんだ供給装置によれば、矯正型によりシートはんだをR形状に矯正して、シートはんだが供給対象物上に載置された時に該シートはんだの中央が供給対象物に接するようにしたので、シートはんだは、はんだ溶融時に中央から外側へ向けて軟化(変形)して平坦になる。これにより、鉛フリーのシートはんだであっても接合品質を確保することができる。この場合、実装部品の端子には金メッキ処理が施されて濡れ性が高く瞬時に濡れる(溶融して広がる)ことから、実装部品とシートはんだとの間にガスが閉じ込められることがない。
(2)矯正型は、可動型と固定型との少なくとも一方に、可動型と固定型とで加圧されるシートはんだを加熱する加熱手段を有する(1)のはんだ供給装置。
本項に記載のはんだ供給装置によれば、シートはんだを可動型と固定型とにより加圧しつつ加熱手段により加熱することで、シートはんだの巻き癖をより確実に矯正することができる。
本項の態様において、加熱手段は、例えば、セラミックヒータ、パルスヒータ、ペルチェ素子を選択することができる。
(3)リールから引き出されたシートはんだを規定長さに切断して供給する装置であって、可動型と固定型とからなり、リールから引き出されたシートはんだを可動型の成形面と固定型の成形面とで加圧して矯正する矯正型を有し、矯正型は、可動型と固定型との少なくとも一方に、可動型と固定型とで加圧されるシートはんだを加熱する加熱手段を有することを特徴とするはんだ供給装置。
本項に記載のはんだ供給装置によれば、シートはんだを可動型と固定型とにより加圧しつつ加熱手段により加熱することで、シートはんだの巻き癖をより確実に矯正することができる。
(4)はんだ供給装置を用いて、リールから引き出されたシートはんだを規定長さに切断して供給する方法であって、はんだ供給装置は、中央が凸であるR曲面に形成された成形面を有する可動型と、中央が可動型の成形面に相対するR曲面に形成された成形面を有する固定型と、からなる矯正型を有し、方法は、リールから引き出されたシートはんだを可動型の成形面と固定型の成形面とで加圧して、シートはんだが供給対象物上に載置された時に該シートはんだの中央が供給対象物に接するように、シートはんだをR形状に矯正する矯正ステップと、矯正ステップにより矯正されたシートはんだを規定長さに切断する切断ステップと、切断ステップにより規定長さに切断されたシートはんだを供給対象物へ供給する供給ステップと、を含むことを特徴とするはんだ供給方法。
本項に記載のはんだ供給方法によれば、矯正ステップでは、矯正型によりシートはんだをR形状に矯正して、シートはんだが供給対象物上に載置された時に該シートはんだの中央が供給対象物に接するようにしたので、シートはんだは、はんだ溶融時に中央から外側へ向けて軟化(変形)して平坦になる。これにより、鉛フリーのシートはんだであっても接合品質を確保することができる。この場合、実装部品の端子には金メッキ処理が施されて濡れ性が高く瞬時に濡れる(溶融して広がる)ことから、実装部品とシートはんだとの間にガスが閉じ込められることがない。
(5)矯正ステップは、可動型の成形面と固定型の成形面とで加圧されたシートはんだを加熱する加熱ステップを含む(4)のはんだ供給方法。
本項に記載のはんだ供給方法によれば、矯正ステップは、可動型と固定型とにより加圧されるシートはんだを加熱する加熱ステップを含むことにより、シートはんだの巻き癖をより確実に矯正することができる。
本項の態様において、加熱手段は、例えば、セラミックヒータ、パルスヒータ、ペルチェ素子を選択することができる。
(6)はんだ供給装置を用いて、リールから引き出されたシートはんだを規定長さに切断して供給する方法であって、はんだ供給装置は、可動型と固定型とからなる矯正型と、可動型と固定型との少なくとも一方に設けられて可動型と固定型とで加圧されるシートはんだを加熱する加熱手段と、を有し、方法は、リールから引き出されたシートはんだを、可動型と固定型とで加圧しつつ加熱手段により加熱して矯正する矯正ステップと、矯正ステップにより矯正されたシートはんだを規定長さに切断する切断ステップと、切断ステップにより規定長さに切断されたシートはんだを供給対象物へ供給する供給ステップと、を含むことを特徴とするはんだ供給方法。
本項に記載のはんだ供給方法によれば、シートはんだを加圧しつつ加熱することで、シートはんだの巻き癖をより確実に矯正することができる。
鉛フリーのシートはんだの接合品質を確保することが可能なはんだ供給装置およびはんだ供給方法を提供することができる。
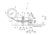
本発明の一実施形態を図1〜図3に基いて説明する。本はんだ供給装置1は、リール2から引き出されたシートはんだ3を規定長さに切断することで得られた矩形のシートはんだ3を実装装置(供給対象物)へ順次供給するものである。
図1に示されるように、はんだ供給装置1は、シートはんだ3が引き出し可能に巻回されたリール2を備え、該リール2に巻回されたシートはんだ3の残量が残量検出センサ4により監視される。リール2から引き出されたシートはんだ3は、支持ローラ5に担持されて第1矯正部6に形成された第1成形路7に挿通される。第1成形路7は、はんだ供給経路の上流側(図1における左側)を形成し、矩形に形成された断面の幅(W1)と高さ(H1)とがシートはんだ3に応じて設定される。
第1矯正部6の下流には第2矯正部8が設けられる。第2矯正部8は、はんだ供給経路を挟んで上下一対で設けられた成形ローラ9と駆動ローラ10とを有する。成形ローラ9は、加圧機構11により駆動ローラ10へ向けて付勢される。そして、駆動ローラ10が駆動機構12によって回転駆動されることでシートはんだ3がリール2から引き出され、該リール2から引き出されたシートはんだ3は、成形ローラ9と駆動ローラ10とにより加圧成形されつつ、はんだ供給方向へ順送される。なお、第2矯正部8は、駆動ローラ10をはんだ供給方向に対して直交する方向(図1における上下方向)へ位置決めする位置決め機構13と、駆動ローラ10の回転軸回りの角度位相を検出するエンコーダ14と、を有する。
第2矯正部8の下流には第3矯正部15が設けられる。第3矯正部15には、はんだ供給経路の下流側(図1における右側)を形成する第2成形路16が形成される。第2成形路16は、矩形に形成された断面の幅(W2)と高さ(H2)とがシートはんだ3に応じて設定される。そして、第3矯正部15の第2成形路16には、第2矯正部8によって加圧成形されたシートはんだ3が挿通される。なお、本実施形態では、第1矯正部6における第1成形路7の幅(W1)と第3矯正部15における第2成形路16の幅(W2)とが等しく(W1=W2)、かつ、第1矯正部6における第1成形路7の高さ(H1)が第3矯正部15における第2成形路16の高さ(H2)よりも大きい(H1>H2)。
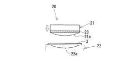
第3矯正部15の下流には、可動型21と固定型22とからなる矯正型20が設けられる。図2に示されるように、可動型21は、中央が下向きに凸であるR曲面に形成された成形面21aを有する。また、可動型21は、セラミックヒータ23(加熱手段)を有する。そして、可動型21の成形面21aの温度(以下、成形面温度という)は、ヒータコントローラによりセラミックヒータ23を制御することでコントロールされる。なお、本実施形態では、成形面温度がシートはんだの軟化温度以上かつ融点以下の温度に設定される。例えば、軟化温度が185℃かつ融点が225℃のシートはんだ3の場合、成形面温度は、195±10℃に設定される。
一方、固定型22は、中央が可動型21の成形面21aに相対するR曲面に形成された成形面22aを有する。そして、矯正型20は、可動型21を下降させて、固定型22上のシートはんだ3を、可動型21の成形面21aと固定型22の成面22aとにより規定加圧力で加圧しつつ、セラミックヒータ23により当該シートはんだ3の軟化領域にまで加熱する。これにより、図3に示されるように、シートはんだ3は、後に基板24(供給対象物)上に載置された時に、中央が基板24に接するような下向きに凸であるR形状に矯正される。ここで、上記シートはんだ3の場合、軟化領域は185〜220℃である。なお、シートはんだ3の温度は、加熱時間(加圧時間に等しい)を管理することで知ることができる。シートはんだ3の温度は、加熱時間とシートはんだ3の温度との関係を実験により求めることで知ることができる。
図1に示されるように、はんだ供給装置1は、上下方向へ移動可能なクランプ部材25を有する。クランプ部材25は、可動型21の成形面21aに連続するR曲面に形成されたクランプ面25aを有する。クランプ部材25の図1における左下の角部には上切断刃26が形成され、さらに、固定型22の図1における右上の角部には下切断刃27が形成される。そして、はんだ供給装置1では、クランプ部材25が下降して上切断刃26と下切断刃27とが所定のクリアランス(ギャップ)で擦れ違うことにより、シートはんだ3の下流側端部が規定長さで切断される。
図1に示されるように、はんだ供給装置1は、上切断刃26と下切断刃27とにより切断された矩形のシートはんだ3を受ける受け部材28を有する。受け部材28は、固定型22の成形面22aに連続するR曲面に形成された受け面28aを有する。本実施形態では、可動型21をクランプ部材25に連動して下降させ、固定型22上のシートはんだ3を可動型21の成形面21aと固定型22の成形面22aとにより加圧しつつセラミックヒータ23により加熱し、可動型21の加圧力が規定圧力に到達してから規定時間が経過した時点で、クランプ部材26が可動型21に対して下降して、上切断刃26と下切断刃27とによりシートはんだ3が切断される。
なお、本実施形態では、シートはんだ3が切断されてクランプ部材25が上昇すると、規定長さに切断されたシートはんだ3が受け部材28の受け面28a上に載置される。この状態で、スライドテーブル29がはんだ供給方向(図1における右方向)へ移動し、受け部材28上のシートはんだ3がはんだ供給位置に位置決めされる。また、はんだ供給装置1は、受け部材28上のシートはんだ3をエアにより吸着する吸着機構と、該受け部材28上のシートはんだ3の吸着を検出する吸着確認検出センサ30と、を有する。そして、図1に示される符号31は、実装装置の吸着ツールであり、該吸着ツール31により、はんだ供給位置に位置決めされた受け部材28上に載置されたシートはんだ3が吸着されて実装装置へ搬送される。
次に、上記はんだ供給装置1を用いるシートはんだ3の供給方法を説明する。
リール2から引き出されて支持ローラ5により担持されたシートはんだ3は、まず、第1矯正部6の第1成形路7に挿通される。ここで、シートはんだ3は、幅方向両側面が第1成形路7により案内されつつ、厚さ方向(図1における上下方向)両面が第1成形路7によって規制され、巻き癖が平坦に矯正される。第1矯正部6により矯正されたシートはんだ3は、次に、第2矯正部8において成形ローラ9と駆動ローラ10とにより加圧成形され、巻き癖がより平坦に矯正される。なお、第2矯正部8では、第1矯正部6によって巻き癖が緩和されたシートはんだ3の反り量に応じて駆動ローラ10の高さ方向(図1における上下方向)の位置が調節されると共にエンコーダ14によりシートはんだ3の送り量が監視される。
第2矯正部8により矯正されたシートはんだ3は、次に、第3矯正部15の第2成形路16に挿通される。ここで、シートはんだ3は、幅方向両側面が第2成形路16により案内されつつ、厚さ方向(図1における上下方向)両面が第2成形路16によって規制され、巻き癖がより平坦に矯正される。次に、矯正型20の可動型21を下降させることにより、第3矯正部15により矯正されたシートはんだ3を、可動型21の成形面21aと固定型22の成面22aとにより加圧しつつセラミックヒータ23により加熱する。これにより、シートはんだ3は、最終的に基板24(供給対象物)上に載置された時に、図3に示されるように、中央が基板24に接するような下向きに凸であるR形状に矯正される。
矯正型20により矯正されたシートはんだ3は、上切断刃26と下切断刃27とにより規定長さに切断される。切断されたシートはんだ3は、受け部材28の受け面28aに吸着された状態で、スライドテーブル29によりはんだ供給位置に位置決めされ、実装装置の吸着ツール31により吸着される。
この実施形態では以下の効果を奏する。
本実施形態によれば、矯正型20によりシートはんだ3を下向きに凸であるR形状に矯正して、吸着ツール31によりシートはんだ3を基板24上に載置した時に、シートはんだ3の中央が基板24に接するようにしたので、シートはんだ3は、はんだ溶融時に中央から外側へ向けて軟化(変形)して平坦になる。このように、本実施形態によれば、鉛入りはんだと比較して剛性が高い鉛フリーのシートはんだ3を使用したとしても、シートはんだ3を確実に平坦に溶融させることが可能であり、基板24と実装部品32(図3参照)との接合品質を確保することができる。この場合、実装部品32には金メッキ処理が施されて濡れ性が高く瞬時に濡れる(溶融して広がる)ことから、実装部品32とシートはんだ3との間にガスが閉じ込められることがない。さらに、本実施形態では、可動型21にセラミックヒータ23(加熱手段)を設け、シートはんだ3を可動型21と固定型22とにより加圧しつつセラミックヒータ23により加熱したので、シートはんだ3の巻き癖をより確実に矯正してシートはんだ3をR形状に成形することができる。
なお、実施形態は上記に限定されるものではなく、例えば次のように構成してもよい。
第1矯正部6、第2矯正部8ならびに第3矯正部15は、必要に応じて選択的に設定することができる。
例えば、最終的なシートはんだ3の形状を平坦に形成する場合、可動型21の成形面21aを平坦に形成することができる。この場合、当然であるが固定型22の成形面22aも相対して平坦に形成する。
加熱手段は、セラミックヒータ23の他、パルスヒータ、ペルチェ素子を選択することができる。
本実施形態の概略構成を示す側面図である。 本実施形態の説明図であり、矯正型単体の概略構成を示す正面図である。 本実施形態の説明図であり、矯正型によりR形状に矯正されたシートはんだが基板上に載置された状態を示す図である。
符号の説明
1 はんだ供給装置、2 リール、3 シートはんだ、20 矯正型、21 可動型、21a 成形面、22 固定型、22a 成形面、23 セラミックヒータ(加熱手段)

Claims (6)

  1. リールから引き出されたシートはんだを規定長さに切断して供給する装置であって、
    中央が凸であるR曲面に形成された成形面を有する可動型と、中央が前記可動型の成形面に相対するR曲面に形成された成形面を有する固定型と、からなり、前記リールから引き出された前記シートはんだを前記可動型の成形面と前記固定型の成形面とで加圧して矯正する矯正型を有し、
    前記シートはんだが供給対象物上に載置された時に該シートはんだの中央が前記供給対象物に接するように、前記矯正型により前記シートはんだをR形状に矯正することを特徴とするはんだ供給装置。
  2. 前記矯正型は、前記可動型と前記固定型との少なくとも一方に、前記可動型と前記固定型とで加圧される前記シートはんだを加熱する加熱手段を有することを特徴とする請求項1に記載のはんだ供給装置。
  3. リールから引き出されたシートはんだを規定長さに切断して供給する装置であって、
    可動型と固定型とからなり、前記リールから引き出された前記シートはんだを前記可動型の成形面と前記固定型の成形面とで加圧して矯正する矯正型を有し、
    前記矯正型は、前記可動型と前記固定型との少なくとも一方に、前記可動型と前記固定型とで加圧される前記シートはんだを加熱する加熱手段を有することを特徴とするはんだ供給装置。
  4. はんだ供給装置を用いて、リールから引き出されたシートはんだを規定長さに切断して供給する方法であって、
    前記はんだ供給装置は、中央が凸であるR曲面に形成された成形面を有する可動型と、中央が前記可動型の成形面に相対するR曲面に形成された成形面を有する固定型と、からなる矯正型を有し、
    前記方法は、
    前記リールから引き出された前記シートはんだを前記可動型の成形面と前記固定型の成形面とで加圧して、前記シートはんだが供給対象物上に載置された時に該シートはんだの中央が前記供給対象物に接するように、前記シートはんだをR形状に矯正する矯正ステップと、
    前記矯正ステップにより矯正された前記シートはんだを規定長さに切断する切断ステップと、
    前記切断ステップにより規定長さに切断された前記シートはんだを供給対象物へ供給する供給ステップと、
    を含むことを特徴とするはんだ供給方法。
  5. 前記矯正ステップは、前記可動型の成形面と前記固定型の成形面とで加圧された前記シートはんだを加熱する加熱ステップを含むことを特徴とする請求項4に記載のはんだ供給方法。
  6. はんだ供給装置を用いて、リールから引き出されたシートはんだを規定長さに切断して供給する方法であって、
    前記はんだ供給装置は、可動型と固定型とからなる矯正型と、前記可動型と前記固定型との少なくとも一方に設けられて前記可動型と前記固定型とで加圧される前記シートはんだを加熱する加熱手段と、を有し、
    前記方法は、
    前記リールから引き出された前記シートはんだを、前記可動型と前記固定型とで加圧しつつ前記加熱手段により加熱して矯正する矯正ステップと、
    前記矯正ステップにより矯正された前記シートはんだを規定長さに切断する切断ステップと、
    前記切断ステップにより規定長さに切断された前記シートはんだを供給対象物へ供給する供給ステップと、
    を含むことを特徴とするはんだ供給方法。
JP2008218278A 2008-08-27 2008-08-27 はんだ供給装置およびはんだ供給方法 Expired - Fee Related JP5240448B2 (ja)

Priority Applications (1)

Application Number Priority Date Filing Date Title
JP2008218278A JP5240448B2 (ja) 2008-08-27 2008-08-27 はんだ供給装置およびはんだ供給方法

Applications Claiming Priority (1)

Application Number Priority Date Filing Date Title
JP2008218278A JP5240448B2 (ja) 2008-08-27 2008-08-27 はんだ供給装置およびはんだ供給方法

Publications (2)

Publication Number Publication Date
JP2010051994A true JP2010051994A (ja) 2010-03-11
JP5240448B2 JP5240448B2 (ja) 2013-07-17

Family

ID=42068474

Family Applications (1)

Application Number Title Priority Date Filing Date
JP2008218278A Expired - Fee Related JP5240448B2 (ja) 2008-08-27 2008-08-27 はんだ供給装置およびはんだ供給方法

Country Status (1)

Country Link
JP (1) JP5240448B2 (ja)

Citations (6)

* Cited by examiner, † Cited by third party
Publication number Priority date Publication date Assignee Title
JPS6411095A (en) * 1987-10-30 1989-01-13 Anritsu Corp Production of granular solder
JPH08174111A (ja) * 1994-12-26 1996-07-09 Sumitomo Light Metal Ind Ltd 曲面を有するろう付けパネルの製造方法
JPH09141347A (ja) * 1995-11-15 1997-06-03 Sky Alum Co Ltd アルミニウム製構造材の締結部の製造方法
JPH10175064A (ja) * 1996-12-16 1998-06-30 Hitachi Ltd 半田付け方法およびそれに使用される半田付け材
JP2006130538A (ja) * 2004-11-08 2006-05-25 Toyota Motor Corp はんだ供給装置及びはんだ供給方法
JP2006320912A (ja) * 2005-05-17 2006-11-30 Sumitomo Metal Mining Co Ltd 高温はんだ合金

Patent Citations (6)

* Cited by examiner, † Cited by third party
Publication number Priority date Publication date Assignee Title
JPS6411095A (en) * 1987-10-30 1989-01-13 Anritsu Corp Production of granular solder
JPH08174111A (ja) * 1994-12-26 1996-07-09 Sumitomo Light Metal Ind Ltd 曲面を有するろう付けパネルの製造方法
JPH09141347A (ja) * 1995-11-15 1997-06-03 Sky Alum Co Ltd アルミニウム製構造材の締結部の製造方法
JPH10175064A (ja) * 1996-12-16 1998-06-30 Hitachi Ltd 半田付け方法およびそれに使用される半田付け材
JP2006130538A (ja) * 2004-11-08 2006-05-25 Toyota Motor Corp はんだ供給装置及びはんだ供給方法
JP2006320912A (ja) * 2005-05-17 2006-11-30 Sumitomo Metal Mining Co Ltd 高温はんだ合金

Also Published As

Publication number Publication date
JP5240448B2 (ja) 2013-07-17

Similar Documents

Publication Publication Date Title
JP2005235971A (ja) フラックス塗布機能を具備した太陽電池用タブリードのハンダ付け装置
JP2008529263A (ja) プリント回路基板上へ導体を連続配線するための方法および前記方法を実施するための装置
KR20130029778A (ko) 테이프 부착 장치 및 테이프 부착 방법
JP6577915B2 (ja) 粘着テープの貼着装置
CN111032274A (zh) 接合体的制造方法及制造装置
US20070037004A1 (en) Multilayer solder article
WO2014045370A1 (ja) 対基板作業機、および装着方法
JP2011181777A (ja) 太陽電池の結線方法及び装置
JP2009095834A (ja) はんだ送給装置及びはんだリールの交換方法
JP5240448B2 (ja) はんだ供給装置およびはんだ供給方法
JP2011181779A (ja) 太陽電池の結線方法及び装置
JP5315273B2 (ja) Fpdモジュールの組立装置
US20180147619A1 (en) Method of joining strip-shaped sheets
JP2011011219A (ja) 抵抗溶接機および抵抗溶接方法
JP4943936B2 (ja) 電子部品の実装装置及び実装方法
JP4839007B2 (ja) 合せガラス切断装置
JP4390067B2 (ja) はんだ供給装置及びはんだ供給方法
CN219621263U (zh) 一种保险丝涂锡装置
JP5498879B2 (ja) 半田付け装置及び方法
JP4562047B1 (ja) 太陽電池モジュール製造方法及び装置
JP2012059799A (ja) 異方性導電膜圧着装置
JP2011181778A (ja) 太陽電池の結線方法及び装置
JP7382638B2 (ja) 半田付け装置
CN111086071B (zh) 单板移动装置
JP2007305726A (ja) ペースト転写装置

Legal Events

Date Code Title Description
A621 Written request for application examination

Free format text: JAPANESE INTERMEDIATE CODE: A621

Effective date: 20100908

A977 Report on retrieval

Free format text: JAPANESE INTERMEDIATE CODE: A971007

Effective date: 20120517

A131 Notification of reasons for refusal

Free format text: JAPANESE INTERMEDIATE CODE: A131

Effective date: 20120627

TRDD Decision of grant or rejection written
A01 Written decision to grant a patent or to grant a registration (utility model)

Free format text: JAPANESE INTERMEDIATE CODE: A01

Effective date: 20130306

A61 First payment of annual fees (during grant procedure)

Free format text: JAPANESE INTERMEDIATE CODE: A61

Effective date: 20130319

FPAY Renewal fee payment (event date is renewal date of database)

Free format text: PAYMENT UNTIL: 20160412

Year of fee payment: 3

FPAY Renewal fee payment (event date is renewal date of database)

Free format text: PAYMENT UNTIL: 20160412

Year of fee payment: 3

LAPS Cancellation because of no payment of annual fees