JP2010051885A - ピグ洗浄具及び配管のピグ洗浄方法 - Google Patents
ピグ洗浄具及び配管のピグ洗浄方法 Download PDFInfo
- Publication number
- JP2010051885A JP2010051885A JP2008218643A JP2008218643A JP2010051885A JP 2010051885 A JP2010051885 A JP 2010051885A JP 2008218643 A JP2008218643 A JP 2008218643A JP 2008218643 A JP2008218643 A JP 2008218643A JP 2010051885 A JP2010051885 A JP 2010051885A
- Authority
- JP
- Japan
- Prior art keywords
- pig
- pipe
- cleaning tool
- cleaning
- pigs
- Prior art date
- Legal status (The legal status is an assumption and is not a legal conclusion. Google has not performed a legal analysis and makes no representation as to the accuracy of the status listed.)
- Granted
Links
- 238000004140 cleaning Methods 0.000 title claims abstract description 181
- 238000000034 method Methods 0.000 title claims abstract description 24
- 239000007788 liquid Substances 0.000 claims abstract description 48
- 241000282887 Suidae Species 0.000 claims abstract description 45
- 239000007779 soft material Substances 0.000 claims abstract description 5
- 238000004804 winding Methods 0.000 claims description 12
- 239000006260 foam Substances 0.000 claims description 8
- 239000006261 foam material Substances 0.000 claims description 4
- 239000000126 substance Substances 0.000 abstract description 14
- 230000000694 effects Effects 0.000 abstract description 7
- XLYOFNOQVPJJNP-UHFFFAOYSA-N water Substances O XLYOFNOQVPJJNP-UHFFFAOYSA-N 0.000 description 26
- 238000005406 washing Methods 0.000 description 10
- 238000002474 experimental method Methods 0.000 description 7
- 230000002093 peripheral effect Effects 0.000 description 7
- 210000002310 elbow joint Anatomy 0.000 description 6
- 238000005187 foaming Methods 0.000 description 6
- IJGRMHOSHXDMSA-UHFFFAOYSA-N Atomic nitrogen Chemical compound N#N IJGRMHOSHXDMSA-UHFFFAOYSA-N 0.000 description 4
- 210000004027 cell Anatomy 0.000 description 4
- 239000000463 material Substances 0.000 description 4
- PWHULOQIROXLJO-UHFFFAOYSA-N Manganese Chemical compound [Mn] PWHULOQIROXLJO-UHFFFAOYSA-N 0.000 description 3
- 229910052748 manganese Inorganic materials 0.000 description 3
- 239000011572 manganese Substances 0.000 description 3
- 239000000243 solution Substances 0.000 description 3
- 239000008399 tap water Substances 0.000 description 3
- 235000020679 tap water Nutrition 0.000 description 3
- XEEYBQQBJWHFJM-UHFFFAOYSA-N Iron Chemical compound [Fe] XEEYBQQBJWHFJM-UHFFFAOYSA-N 0.000 description 2
- BZHJMEDXRYGGRV-UHFFFAOYSA-N Vinyl chloride Chemical compound ClC=C BZHJMEDXRYGGRV-UHFFFAOYSA-N 0.000 description 2
- 230000005587 bubbling Effects 0.000 description 2
- 238000001125 extrusion Methods 0.000 description 2
- 229910052757 nitrogen Inorganic materials 0.000 description 2
- 229920005989 resin Polymers 0.000 description 2
- 239000011347 resin Substances 0.000 description 2
- 235000020681 well water Nutrition 0.000 description 2
- 239000002349 well water Substances 0.000 description 2
- ZAMOUSCENKQFHK-UHFFFAOYSA-N Chlorine atom Chemical compound [Cl] ZAMOUSCENKQFHK-UHFFFAOYSA-N 0.000 description 1
- 239000004698 Polyethylene Substances 0.000 description 1
- 210000005056 cell body Anatomy 0.000 description 1
- 239000000460 chlorine Substances 0.000 description 1
- 229910052801 chlorine Inorganic materials 0.000 description 1
- 239000012459 cleaning agent Substances 0.000 description 1
- 238000007796 conventional method Methods 0.000 description 1
- 239000000645 desinfectant Substances 0.000 description 1
- 239000003599 detergent Substances 0.000 description 1
- 229920001821 foam rubber Polymers 0.000 description 1
- 239000007789 gas Substances 0.000 description 1
- 238000002347 injection Methods 0.000 description 1
- 239000007924 injection Substances 0.000 description 1
- 229910052742 iron Inorganic materials 0.000 description 1
- WPBNNNQJVZRUHP-UHFFFAOYSA-L manganese(2+);methyl n-[[2-(methoxycarbonylcarbamothioylamino)phenyl]carbamothioyl]carbamate;n-[2-(sulfidocarbothioylamino)ethyl]carbamodithioate Chemical compound [Mn+2].[S-]C(=S)NCCNC([S-])=S.COC(=O)NC(=S)NC1=CC=CC=C1NC(=S)NC(=O)OC WPBNNNQJVZRUHP-UHFFFAOYSA-L 0.000 description 1
- 150000007524 organic acids Chemical class 0.000 description 1
- 238000004806 packaging method and process Methods 0.000 description 1
- 239000002245 particle Substances 0.000 description 1
- -1 polyethylene Polymers 0.000 description 1
- 229920000573 polyethylene Polymers 0.000 description 1
- 229920002635 polyurethane Polymers 0.000 description 1
- 239000004814 polyurethane Substances 0.000 description 1
- 238000003825 pressing Methods 0.000 description 1
- 238000005201 scrubbing Methods 0.000 description 1
- 239000002689 soil Substances 0.000 description 1
- 239000000271 synthetic detergent Substances 0.000 description 1
- 229920003002 synthetic resin Polymers 0.000 description 1
- 239000000057 synthetic resin Substances 0.000 description 1
Images
Landscapes
- Cleaning In General (AREA)
Abstract
【解決手段】軟質性の材料で形成されると共に、洗浄の対象となる管の内径より大きな直径を有し、且つ一列に配置された複数のピグ30,31と、複数のピグ30,31に一体的に被せられたネット32と、を備える。ピグ30,31間には、洗浄液33が充填される。本発明は、複数の軟質のピグ30,31とそれに一体的に被せたネット32と、その間にサンドイッチした洗浄液33の効果によって、真空吸引によってピグ洗浄具15の移動が可能となり、洗浄中の管から洗浄対象外の管に洗浄液や汚れ物質等が流れ込むのを抑制できるという大きな効果がある。
【選択図】図2
Description
に接続された管径15〜25mmの引き込み管とによって網状に構成されているのが一般的である。このような網状の配管では主配管及び引き込み管の内部汚れを定期的に、又は任意の時期に洗浄するのが普通である。中でも比較的小規模の水道である簡易水道又は専用水道の場合は、井戸水を利用することが多いため、次に説明するように管が汚れやすく洗浄頻度が多くなる傾向にある。
塩素によって酸化され汚れ物質(黒い粒子)となって析出する。この汚れ物質は、水道水中に混入し管に付着し、時間の経過によって脱落して水道水中に混入する。そこで、管に付着した汚れ物質は、定期的又は任意の時期に洗浄して除去する必要がある。
洗浄方法、洗浄剤を管内に充填して空気でバブリングすることにより管壁の汚れを落とす洗浄方法が知られていた。
し管内全面にむらなく高圧水を噴射する必要があるので、非常に時間がかかるという問題があった。また、洗浄液を管内に充填して空気でバブリングする洗浄方法では、エアーバブリングによる剥離効果が弱く洗浄に時間がかかるという問題、管全体に洗浄液を充満させる必要があるため、多量の洗浄液が必要となり、コストアップになるという問題があった。
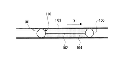
(例えば、特許文献1参照。)。特許文献1のピグ洗浄方法は、図9に示すように、洗浄液104をサンドイッチした前後2つのピグ100、101がひも102で連結されたピグ洗浄具110を管103内に挿入し、このピグ洗浄具110を空気圧又は窒素圧で移動させることにより、管103の内面に付着した汚れを除去するものである。なお、ピグを水圧で移動させる方法もある。
で移動させるので、管103が長い場合でもピグ洗浄具を先端まで移動させることにより、管103の先端まで洗浄できる。また、ピグ100、101は管103の内面に接触するので汚れ物質等の剥離効果が高く、洗浄液104を管103内に充満させてバブリングする洗浄方法に比べて、管103を短時間で洗浄できる。更に、洗浄液104は前後のピグ100、101の間に充填すればよいので、洗浄液の量を少なくしてコストダウンを図ることができる。
ゴムの発泡体で形成され、発泡密度が20mg/cm3以上の比較的硬質の材料で成形さ
れるのが普通であり、その外径は管の内径の1〜1.05倍程度に形成されていたため、配管にエルボ継ぎ手などの段差部分がある場合、ピグが段差部分の隅の方に充分に密着するまで変形せず、管の洗浄が不十分になるという問題があった。
となる管と洗浄対象外の管とを止水弁や仕切弁によって縁切りし、洗浄中の管以外の管に洗浄中の管内の洗浄液や汚れ物質などが流れ込まないようにするのが普通である。しかし、従来のピグは、管壁への密着力が大きいため、ピグを管内で移動させるためには、約0.3MPa以上の空気圧や水圧等で加圧する必要があった。このため、止水弁や仕切弁の閉鎖が不十分で隙間がある場合には、洗浄中の管内の洗浄液や汚れ物質等が圧力空気或いは圧力水によって押圧されて弁の隙間から洗浄対象外の管に流れ込むおそれがあった。
すなわち、本発明は、軟質性の材料で形成されると共に、洗浄の対象となる管の内径より大きな直径を有し、且つ一列に配置された複数の球形ピグと、前記複数のピグに一体的に被せられたネットと、を備える。
mg/cm3の発泡材で形成できる。また、前記ピグの外径は、前記管の内径の1.05
〜1.1倍、好ましくは1.08倍にするのが好ましい。発泡材は、連続気泡と独立気泡とが混在し、気体が透過しない状態にするのが好ましい。上記発泡密度と、外径とすることにより、ピグを真空吸引することが可能になる。本発明のピグは、従来のピグに比べて管壁への密着力は低いのでピグ単独での洗浄力が多少低くなるものの、洗浄液と組み合わせることで充分な洗浄が可能になる。
後のピグを連結することで、ピグ間の洗浄液と一体になって移動することが可能になる。また、複数のピグにネットを被せることで真空吸引移動時にピグの変形を抑えて洗浄液の漏れを防止できる。従来の特許文献1のピグ洗浄具は、ひもでピグの中心を結んで引っ張ると軟質ピグの場合はピグが扁平になってしまうが、本発明のように、ネットをピグ全体に被せることにより、ピグが扁平になるのを抑制できるので、洗浄液の漏れを防ぐと共にピグの管壁への密着力の低下を防ぐことができる。
ップと、上記いずれかのピグ洗浄具を前記管の他端部側から挿入するステップと、前記管内の前記ピグ洗浄具を前記管の前記一端部側から真空吸引して前記一端部側に移動させるステップと、を備える、
グにネットを被せたピグ洗浄具を管に挿入し、このピグ洗浄具を真空吸引によって移動させるので、管内の洗浄液や汚れ物質に圧力が作用しない。従って、洗浄対象の管と洗浄対象外の管との間に設けられた弁に隙間がある場合でも、洗浄中の管内における洗浄液や汚れ物質等が洗浄対象外の管に流れ込むのを抑制できる。
端部側から引っ張ることにより、前記ピグ洗浄具の移動速度を調整することができる。この場合は、管の内径、ピグの直径、洗浄液や配管から剥離した汚れ物質の特性などに応じて、ピグ洗浄具の移動速度を調整することができるので、洗浄効果を高くできる。
巻き取り装置における前記ロープの繰り出し速度を調整することにより、前記ピグ洗浄具の移動速度を調整することができる。この場合は、ピグ洗浄具の移動速度を自動的に調整できる。
る。この場合は、ピグ洗浄具を前方から真空吸引し、且つ後方から圧縮空気で押圧するので、小径の管のようにピグ洗浄具の移動に対する抵抗力が大きい場合でもピグ洗浄具を確実に移動させることができる。
を更に高くできる。
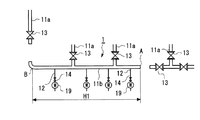
図1は、本発明に係る配管のピグ洗浄方法を適用する配管1を示す。この配管1は、本
管10、本管10から枝分かれした枝管11、本管10又は枝管11に設けられた引き込み管12、本管10又は枝管11に設けられた仕切弁13、引き込み管12に設けられた止水弁14、及び引き込み管12の流水量を計測する量水器19を備えている。本実施形態では、本管10及び枝管11の呼び径が100A、引き込み管12の呼び径が20Aである。また、本管10、枝管11及び引き込み管12は、硬質塩化ビニル製である。
と、第1枝管11aの先端部を接続する第2枝管11bとを有している。引き込み管12は、本管10又は第1,第2枝管11a,11bに、それぞれ複数設けられている。これらの引き込み管12は、例えば住宅等に引き込まれている。なお、本実施形態では、配管1の第2枝管11b及び引き込み管12を洗浄する場合について説明する。
図2は、本発明の実施形態に係るピグ洗浄具15を示す。このピグ洗浄具15は、2つ
の弾力性及び軟質性を有する球形のピグ30,31が適宜な間隔を開けて一列に並べられ、これらのピグ30,31に樹脂製のネット32が被せられている。このピグ洗浄具15
を用いて配管を洗浄する場合は、ピグ30,31の間に洗浄液33を充填する。なお、ピグは3個以上使用することができる。また、以下の説明では、管の洗浄時にピグ洗浄具15が移動する方向Xに対して前方にあるピグ30をガイドピグと呼び、後方にあるピグ31をカバーピグと呼ぶ。
0.08〜0.12mg/cm3、望ましくは0.1mg/cm3に設定されている。ここで、各ピグ30,31の発泡密度と配管の通過状況との関係を実験により求めた。図3は、実験装置40を示す。この実験装置40は、2個のエルボ継ぎ手41を有する管42と、この管42内に挿入されたピグ洗浄具15と、を有する。
、管42の2カ所に90度エルボ継ぎ手41が設けられている。また、ガイドピグ30及びカバーピグ31の形状は球形、発泡条件は連続気泡体+独立気泡体、直径は55mm、ガイドピグ30とカバーピグ31との間隔は2mである。なお、独立気泡体とは、周知のように内部に気泡が存在するが気泡同士が壁で仕切られていて繋がっていないものをいう。連続気泡体とは、気泡同士が繋がっているものをいう。
から真空吸引してピグ洗浄具15を他端部42b側に移動させたときの真空度、及び移動時間を計測すると共に、ピグ洗浄具15の移動状況及び洗浄液33の漏れ状況を観察した。
度が低すぎる場合(実験NO.1)は、ピグ30,31間に充填された洗浄液33がガイドピグ30から前方に漏れてしまうおそれがある。また、発泡密度が高すぎる場合(実験NO.3,4)は、ピグ洗浄具15がエルボ継ぎ手41を滑らかに通過しないおそれがある。
ルボ継ぎ手41を滑らかに通過し、洗浄液33の漏れも発生していない。この実験結果から、各ピグ30,31の発泡密度は実験NO.2と同様に0.1mg/cm3前後に設定
するのが好ましいことが分かる。そこで、本実施形態では、各ピグ30,31の発泡密度を0.08〜0.12mg/cm3、好ましくは0.1mg/cm3に設定する。
大きくなるように設定する。本実施形態では、各ピグ30,31の外径を洗浄対象となる管の内径の1.05〜1.1倍、望ましくは1.08倍とする。各ピグ30,31は軟質であるため、管の内径より大径のピグ30,31を管内に挿入した場合、ネット32は管の内面によって各ピグ30,31の外周面に押し込まれる。これにより、各ピグ30,31の外周面が管の内周面に全面的に接触して擦り洗い効果が生じる。
きる。このネット32の材質はポリエチレン製で、線径は0.1〜0.2mmである。また、ネット32の編み目の目数は70〜100、折径は各ピグ30,31の外径の20〜60%、望ましくは40%である。各ピグ30,31が軟質であるため、ネット32を各ピグ30,31に被せるだけでネット32が各ピグ30,31の外周面に埋め込まれる。従って、各ピグ30,31の外周面に溝等を設けてネット32をこの溝等に挿入する必要はなく、各ピグ30,31の加工工数を低減できる。
より、ネット32、洗浄液33及びカバーピグ31が一体的に移動するので、ガイドピグ30とカバーピグ31との間隔は常時一定に保持される。従って、ガイドピグ30及びカバーピグ31間に充填された洗浄液33が各ピグ30,31によって押圧されることはなく、また、各ピグ30,31と管との間に隙間もないので、洗浄液33がピグ洗浄具15の外側に漏れるのを抑制できる。ピグ洗浄具15を移動させるための真空圧(負圧)は、−0.01〜−0.075MPa以下、望ましくは−0.01〜−0.04MPaに設定する。
ネット32は周方向に対して伸縮性を有するが軸方向に対する伸縮性は殆どない。従って、各ピグ30,31に真空吸引力が加わってもピグ30,31間の間隔は変わらないので、ピグ洗浄具15が移動したときにも、洗浄液33が各ピグ30,31間に充填されている状態が維持される。また、各ピグ30,31が軟質であるため、従来の硬質のピグ100,101では接触が困難であった継ぎ手等の段差部分にも各ピグ30,31が確実に接触し、洗浄液33の洗浄効果と相まって段差部分の洗浄を高品質に行うことができる。
なる管の全長の約10%程度にすることができる。これにより、従来のように洗浄液を管内に充満してバブリングする場合に比べて、洗浄液の使用量を大幅に低減できるのでコストダウンが可能になる。
及びカバーピグ31にネット32を被せるが、管径が50Aより小さい管部材を洗浄する際には、ガイドピグ30及びカバーピグ31にネットを被せたり、ひもで連結したりすることなく使用するのが好ましい。
次に、図5及び図6を参照して、ピグ洗浄具15を用いて配管1の第2枝管11b(図
1参照)を洗浄する場合について説明する。
管11bの両端部A,Bを開放する。ここでは、第2枝管11bの両端部A,B付近を適宜な位置で切断することにより、第2枝管11bの両端部A,Bを開放する。このときには、第2枝管11bに接続されている第1枝管11bの仕切弁13のうち第2枝管11bに近い方の仕切弁13、及び第2枝管11bに接続されている引き込み管12の止水弁14のうち第2枝管11bに近い方の止水弁14を閉じておく。これにより、第2枝管11bの洗浄中に第2枝管11b内の洗浄液や汚れ物質等が第1枝管11a、又は引き込み管12の止水弁14の先に流れ込むのを抑制できる。
るピグキャッチャー17、及び吸引ホース18を介して真空吸引車20の吸引口20aを接続する。ピグキャッチャー17は、ピグ洗浄具15を収容可能な容積を有する容器を使用できる。
部Bから第2枝管11b内にピグ洗浄具15を挿入する。この際、ピグ洗浄具15におけるネット32の後端に、巻き取り装置21から繰り出されたロープ22を取り付けておく。
グ31との間に洗浄液33を注入して充填する。この洗浄液33は、第2枝管11b内の汚れ物質がマンガン汚れの場合は、有機酸を主成分とする洗剤、例えばJIS K3370(1979)「台所合成洗剤」規格適合品等が望ましい。
りX方向に移動させる。ピグ洗浄具15の移動時には、第2枝管11b内の真空圧を約−0.04Mpaに保持し、巻き取り装置21によるロープ22の繰り出し速度を調整して、ピグ洗浄具15の移動速度を調整する。ピグ洗浄具15の移動速度は、第2枝管11bの内径、汚れ物質及び洗浄液の特性等に応じて適切に設定する。
する複数のピグ30,31にネット32を被せたピグ洗浄具15を、第2枝管11b内に挿入して真空吸引によって移動させるので、第2枝管11bが長い場合でもピグ洗浄具15を第2枝管11b全体に亘って移動させることができる。これにより、第2枝管11bが長い場合でも、第2枝管11bの先端まで確実に洗浄できる。
作用しないので、第2枝管11bと洗浄対象外の第1枝管11aとの接続部、又は第2枝管11bと引き込み管12との接続部に設けられた仕切弁13又は止水弁14に隙間があった場合でも、第2枝管11b内の洗浄液33や汚れ物質等が、洗浄対象外の第1枝管11a又は引き込み管12の止水弁14の先に流れ込むのを防止できる。
り、巻き取り装置21におけるロープ22の繰り出し速度を調整することにより、ピグ洗浄具15の移動速度を自動的に調整できる。また、第2枝管11bの内径、洗浄液33、第2枝管11bから剥離した汚れ物質等の特性に応じてピグ洗浄具15の移動速度を調整できるので、洗浄効果を高くできる。
、洗浄むらを生じないようにするため洗浄液33が管の内面に接触する時間をできるだけ一定にする必要がある。
管の継ぎ手部分に侵入する際、又はピグ洗浄具15が段差部分から直線部分に侵入する際に、ピグ洗浄具15の移動に対する抵抗力が急激に変化し、その移動速度が急激に変化する。従って、ピグ洗浄具15を真空吸引によって一定の速度で移動させるのは困難である。
端にロープ22を取り付け、巻き取り装置21でロープ22の繰り出し速度を一定にすることにより、ピグ洗浄具15の移動速度を一定にできる。従って、第2枝管11bに洗浄むらが発生するのを抑制できる。
するだけですむので、従来の洗浄対象となる配管全体に洗浄液を満たしてエアーバブリングさせる洗浄方法に比べて、洗浄液33を大幅に低減でき、これによりコストダウンが可能になる。洗浄する管の長さにもよるが、実験では洗浄液33の量を従来に比べて約10%に低減できた。
次に、ピグ洗浄具50を用いて第2枝管11bに接続されている引き込み管12を洗
浄する場合について説明する。この場合は、引き込み管12の呼び径が20Aと小径であることから、ピグ洗浄具50の移動時に引き込み管12から作用する抵抗が大きくなる。そこで、この場合は、図8に示すように、ピグ洗浄具50のガイドピグ30とカバーピグ31にネットを被せず、また、ガイドピグ30とカバーピグ31をひもで連結もしない。ガイドピグ30とカバーピグ31との間には、洗浄液33を充填する。
ている第2枝管11bの一端部A側から真空吸引すると共に、引き込み管12の一端C側から圧力空気で押圧することによって、ピグ洗浄具50の移動を確実に行うことができる。
示すように、第1実施形態と同様に、第2枝管11bの一端Aに配管16,18、ピグキャッチャー17、及び真空吸引車20を接続する。また、この引き込み管12の一端Cから止水弁14を取り外して、一端Cを開放する。そして、引き込み管12の一端Cからピグ洗浄具50を挿入し、一端Cに管23を介してベビーコンプレッサー等の空気圧縮機24を接続する。
み管12内のピグ洗浄具50を移動させる。ここでは、ピグ洗浄具50をピグキャッチャー17まで移動させる。このとき、真空吸引車20の真空圧は−0.04MPa程度に設定し、空気圧縮機24の空気圧は0.01MPa程度に設定する。これにより、引き込み管12を一端Cから第2枝管11bとの接続部(他端)まで確実に洗浄できる。
50を引き込み管12の一端から真空吸引し、且つ他端から圧縮空気で押圧するので、引き込み管12の呼び径が15A〜25A程度の小径であっても、ピグ洗浄具50を確実に移動させて比較的短時間で引き込み管12を確実に洗浄できる。
10 本管
11 枝管
11a 第1枝管
11b 第2枝管
12 引き込み管
13 仕切弁
14 止水弁
15 ピグ洗浄具
16 配管
17 ピグキャッチャー
18 吸引ホース
19 量水器
20 真空吸引車
20a 吸引口
21 巻き取り装置
22 ロープ
23 配管
24 空気圧縮機
30 ガイドピグ
31 カバーピグ
32 ネット
33 洗浄液
40 ピグの最適発泡密度を測定する実験装置
41 継ぎ手
42 配管
50 ピグ洗浄具
100,101 ピグ
102 連結手段
103 配管
104 洗浄液
110 ピグ洗浄具
Claims (9)
- 軟質性の材料で形成されると共に、洗浄の対象となる管の内径より大きな直径を有し、
且つ一列に配置された複数の球形ピグと、
前記複数のピグに一体的に被せられたネットと、
を備えるピグ洗浄具。 - 前記ピグは、発泡密度が0.08〜0.12mg/cm3の発泡材で形成されている請求項1に記載のピグ洗浄具。
- 前記発泡材の発泡密度は、0.1mg/cm3である請求項2に記載のピグ洗浄具。
- 前記ピグの外径は、前記管の内径の1.05〜1.1倍である請求項1から3のいずれか一項に記載のピグ洗浄具。
- 前記ピグの外径は、前記管の内径の1.08倍である請求項4に記載のピグ洗浄具。
- 配管を構成する管のうち洗浄の対象となる管の両端部を開放するステップと、
請求項1から5のいずれか一項に記載のピグ洗浄具を前記管の他端部側から挿入するス
テップと、
前記管内の前記ピグ洗浄具を前記管の前記一端部側から真空吸引して前記一端部側に移
動させるステップと、
を備える配管のピグ洗浄方法。 - 前記ピグ洗浄具を移動させるステップでは、前記ピグ洗浄具を前記管の前記他端部側か
ら引っ張ることにより、前記ピグ洗浄具の移動速度を調整する請求項6に記載の配管のピグ洗浄方法。 - 前記ピグ洗浄具を移動させるステップでは、前記ピグ洗浄具を巻き取り装置から繰り出されるロープによって引っ張り、前記巻き取り装置における前記ロープの繰り出し速度を調整することにより、前記ピグ洗浄具の移動速度を調整する請求項7に記載の配管のピグ洗浄方法。
- 前記複数の球形ピグ間に洗浄液を充填する請求項6から8のいずれか一項に記載のピグ洗浄方法。
Priority Applications (1)
| Application Number | Priority Date | Filing Date | Title |
|---|---|---|---|
| JP2008218643A JP4744571B2 (ja) | 2008-08-27 | 2008-08-27 | ピグ洗浄具及び配管のピグ洗浄方法 |
Applications Claiming Priority (1)
| Application Number | Priority Date | Filing Date | Title |
|---|---|---|---|
| JP2008218643A JP4744571B2 (ja) | 2008-08-27 | 2008-08-27 | ピグ洗浄具及び配管のピグ洗浄方法 |
Publications (2)
| Publication Number | Publication Date |
|---|---|
| JP2010051885A true JP2010051885A (ja) | 2010-03-11 |
| JP4744571B2 JP4744571B2 (ja) | 2011-08-10 |
Family
ID=42068377
Family Applications (1)
| Application Number | Title | Priority Date | Filing Date |
|---|---|---|---|
| JP2008218643A Expired - Fee Related JP4744571B2 (ja) | 2008-08-27 | 2008-08-27 | ピグ洗浄具及び配管のピグ洗浄方法 |
Country Status (1)
| Country | Link |
|---|---|
| JP (1) | JP4744571B2 (ja) |
Cited By (11)
| Publication number | Priority date | Publication date | Assignee | Title |
|---|---|---|---|---|
| JP2012159132A (ja) * | 2011-01-31 | 2012-08-23 | Osaka Gas Co Ltd | 管路内ピグ移動装置、並びに、その管路内ピグ移動装置を用いた管路内残留ガス排気方法、管路内検査方法、管路内面ライニング方法、管路内洗浄方法及び管路内通線方法 |
| KR101401173B1 (ko) | 2012-08-27 | 2014-05-29 | 한국원자력연구원 | 타블렛을 이용한 관정 청소 장치 |
| JP2016176307A (ja) * | 2015-03-23 | 2016-10-06 | 東亜グラウト工業株式会社 | 消雪管の洗浄方法及びこれに用いる閉塞具 |
| JP2016203441A (ja) * | 2015-04-20 | 2016-12-08 | 東芝プラントシステム株式会社 | 管状体内面のライニング装置およびライニング方法 |
| CN107413786A (zh) * | 2017-08-08 | 2017-12-01 | 中石化河南油建工程有限公司 | 一种清管球组及发球装置 |
| JP2018155092A (ja) * | 2017-03-15 | 2018-10-04 | 株式会社栗本鐵工所 | 管路内面の夾雑物除去方法 |
| JP2018202331A (ja) * | 2017-06-05 | 2018-12-27 | 花王株式会社 | 配管の洗浄方法 |
| KR20190032912A (ko) * | 2017-09-20 | 2019-03-28 | 삼성중공업 주식회사 | 열교환기용 피그 장치 |
| CN110525780A (zh) * | 2019-07-16 | 2019-12-03 | 深圳供电局有限公司 | 针筒存放装置 |
| JP2020041646A (ja) * | 2018-09-13 | 2020-03-19 | 東京瓦斯株式会社 | 液体排出システムおよび液体排出方法 |
| CN112845429A (zh) * | 2021-01-14 | 2021-05-28 | 贵州大学 | 一种隧道排水管道除晶去堵装置 |
Citations (3)
| Publication number | Priority date | Publication date | Assignee | Title |
|---|---|---|---|---|
| JPS5755582U (ja) * | 1980-09-13 | 1982-04-01 | ||
| JPH11245300A (ja) * | 1998-02-27 | 1999-09-14 | Tokyo Gas Co Ltd | 既設管路の修理工法 |
| JP2001009402A (ja) * | 1999-07-02 | 2001-01-16 | Yuushin Kk | 管内内視および研磨装置 |
-
2008
- 2008-08-27 JP JP2008218643A patent/JP4744571B2/ja not_active Expired - Fee Related
Patent Citations (3)
| Publication number | Priority date | Publication date | Assignee | Title |
|---|---|---|---|---|
| JPS5755582U (ja) * | 1980-09-13 | 1982-04-01 | ||
| JPH11245300A (ja) * | 1998-02-27 | 1999-09-14 | Tokyo Gas Co Ltd | 既設管路の修理工法 |
| JP2001009402A (ja) * | 1999-07-02 | 2001-01-16 | Yuushin Kk | 管内内視および研磨装置 |
Cited By (14)
| Publication number | Priority date | Publication date | Assignee | Title |
|---|---|---|---|---|
| JP2012159132A (ja) * | 2011-01-31 | 2012-08-23 | Osaka Gas Co Ltd | 管路内ピグ移動装置、並びに、その管路内ピグ移動装置を用いた管路内残留ガス排気方法、管路内検査方法、管路内面ライニング方法、管路内洗浄方法及び管路内通線方法 |
| KR101401173B1 (ko) | 2012-08-27 | 2014-05-29 | 한국원자력연구원 | 타블렛을 이용한 관정 청소 장치 |
| JP2016176307A (ja) * | 2015-03-23 | 2016-10-06 | 東亜グラウト工業株式会社 | 消雪管の洗浄方法及びこれに用いる閉塞具 |
| JP2016203441A (ja) * | 2015-04-20 | 2016-12-08 | 東芝プラントシステム株式会社 | 管状体内面のライニング装置およびライニング方法 |
| JP7193794B2 (ja) | 2017-03-15 | 2022-12-21 | 株式会社栗本鐵工所 | 管路内面の夾雑物除去方法 |
| JP2018155092A (ja) * | 2017-03-15 | 2018-10-04 | 株式会社栗本鐵工所 | 管路内面の夾雑物除去方法 |
| JP2018202331A (ja) * | 2017-06-05 | 2018-12-27 | 花王株式会社 | 配管の洗浄方法 |
| CN107413786A (zh) * | 2017-08-08 | 2017-12-01 | 中石化河南油建工程有限公司 | 一种清管球组及发球装置 |
| KR20190032912A (ko) * | 2017-09-20 | 2019-03-28 | 삼성중공업 주식회사 | 열교환기용 피그 장치 |
| KR101973506B1 (ko) | 2017-09-20 | 2019-04-29 | 삼성중공업 주식회사 | 열교환기용 피그 장치 |
| JP2020041646A (ja) * | 2018-09-13 | 2020-03-19 | 東京瓦斯株式会社 | 液体排出システムおよび液体排出方法 |
| JP7218130B2 (ja) | 2018-09-13 | 2023-02-06 | 東京瓦斯株式会社 | 液体排出システムおよび液体排出方法 |
| CN110525780A (zh) * | 2019-07-16 | 2019-12-03 | 深圳供电局有限公司 | 针筒存放装置 |
| CN112845429A (zh) * | 2021-01-14 | 2021-05-28 | 贵州大学 | 一种隧道排水管道除晶去堵装置 |
Also Published As
| Publication number | Publication date |
|---|---|
| JP4744571B2 (ja) | 2011-08-10 |
Similar Documents
| Publication | Publication Date | Title |
|---|---|---|
| JP4744571B2 (ja) | ピグ洗浄具及び配管のピグ洗浄方法 | |
| JP4989576B2 (ja) | 水道管の洗浄方法 | |
| CN107999426A (zh) | 医疗器械清洗刷 | |
| KR20160048404A (ko) | 분사노즐을 이용한 관 세척장치 | |
| JP2009011907A (ja) | 排水管の洗浄方法及び装置 | |
| CN203271917U (zh) | 汽车发动机内部油污清除喷枪 | |
| CN205741307U (zh) | 纺丝喷丝板快速清洗装置 | |
| CN210023119U (zh) | 旧管道非开挖修复中旧管道内壁清理设备 | |
| JP4538431B2 (ja) | 水道管の洗浄方法とこの方法に使用する水道管の洗管ピグ | |
| JP4500334B2 (ja) | 水道管の洗管ピグ | |
| JP4671847B2 (ja) | 管路内面の洗浄装置 | |
| JP4553926B2 (ja) | 水道管の洗管ピグ | |
| KR101193306B1 (ko) | 해저 배관 세척장치를 이용한 세척방법 | |
| JP2003184151A (ja) | 管内洗浄用ノズル装置 | |
| JP4707645B2 (ja) | 水道管の洗管ピグ | |
| JP2008025246A (ja) | 配管洗浄システム | |
| JPH10286540A (ja) | 地中管路の洗浄装置及び洗浄方法 | |
| JP2012159132A (ja) | 管路内ピグ移動装置、並びに、その管路内ピグ移動装置を用いた管路内残留ガス排気方法、管路内検査方法、管路内面ライニング方法、管路内洗浄方法及び管路内通線方法 | |
| JP5950387B2 (ja) | 管路の吸引装置、及び、管路の滞留物排出方法 | |
| JP2008175046A (ja) | 水道管の洗浄方法とこの方法に使用する洗管ピグのガイドベラ | |
| CN205217464U (zh) | 多功能汽车清洗装置 | |
| CN208680074U (zh) | 一种用于管道空穴射流清洗的障碍物预警装置 | |
| CN204386524U (zh) | 聚合物驱单井注入管线射流清管器 | |
| JP6071740B2 (ja) | 管内洗浄用部材およびその回収方法 | |
| CN105363723A (zh) | 一种多功能汽车清洗装置 |
Legal Events
| Date | Code | Title | Description |
|---|---|---|---|
| A977 | Report on retrieval |
Free format text: JAPANESE INTERMEDIATE CODE: A971007 Effective date: 20101214 |
|
| A131 | Notification of reasons for refusal |
Free format text: JAPANESE INTERMEDIATE CODE: A131 Effective date: 20110125 |
|
| A521 | Request for written amendment filed |
Free format text: JAPANESE INTERMEDIATE CODE: A523 Effective date: 20110328 |
|
| TRDD | Decision of grant or rejection written | ||
| A01 | Written decision to grant a patent or to grant a registration (utility model) |
Free format text: JAPANESE INTERMEDIATE CODE: A01 Effective date: 20110419 |
|
| A01 | Written decision to grant a patent or to grant a registration (utility model) |
Free format text: JAPANESE INTERMEDIATE CODE: A01 |
|
| A61 | First payment of annual fees (during grant procedure) |
Free format text: JAPANESE INTERMEDIATE CODE: A61 Effective date: 20110510 |
|
| FPAY | Renewal fee payment (event date is renewal date of database) |
Free format text: PAYMENT UNTIL: 20140520 Year of fee payment: 3 |
|
| R150 | Certificate of patent or registration of utility model |
Ref document number: 4744571 Country of ref document: JP Free format text: JAPANESE INTERMEDIATE CODE: R150 Free format text: JAPANESE INTERMEDIATE CODE: R150 |
|
| R250 | Receipt of annual fees |
Free format text: JAPANESE INTERMEDIATE CODE: R250 |
|
| R250 | Receipt of annual fees |
Free format text: JAPANESE INTERMEDIATE CODE: R250 |
|
| R250 | Receipt of annual fees |
Free format text: JAPANESE INTERMEDIATE CODE: R250 |
|
| LAPS | Cancellation because of no payment of annual fees |