JP2010051596A - マットレス - Google Patents

マットレス Download PDF

Info

Publication number
JP2010051596A
JP2010051596A JP2008220534A JP2008220534A JP2010051596A JP 2010051596 A JP2010051596 A JP 2010051596A JP 2008220534 A JP2008220534 A JP 2008220534A JP 2008220534 A JP2008220534 A JP 2008220534A JP 2010051596 A JP2010051596 A JP 2010051596A
Authority
JP
Japan
Prior art keywords
air cell
mattress
bed
angle
lower layer
Prior art date
Legal status (The legal status is an assumption and is not a legal conclusion. Google has not performed a legal analysis and makes no representation as to the accuracy of the status listed.)
Granted
Application number
JP2008220534A
Other languages
English (en)
Other versions
JP5154343B2 (ja
Inventor
Hiroki Kazuno
裕樹 数野
Current Assignee (The listed assignees may be inaccurate. Google has not performed a legal analysis and makes no representation or warranty as to the accuracy of the list.)
Paramount Bed Co Ltd
Original Assignee
Paramount Bed Co Ltd
Priority date (The priority date is an assumption and is not a legal conclusion. Google has not performed a legal analysis and makes no representation as to the accuracy of the date listed.)
Filing date
Publication date
Application filed by Paramount Bed Co Ltd filed Critical Paramount Bed Co Ltd
Priority to JP2008220534A priority Critical patent/JP5154343B2/ja
Publication of JP2010051596A publication Critical patent/JP2010051596A/ja
Application granted granted Critical
Publication of JP5154343B2 publication Critical patent/JP5154343B2/ja
Active legal-status Critical Current
Anticipated expiration legal-status Critical

Links

Images

Landscapes

  • Mattresses And Other Support Structures For Chairs And Beds (AREA)
  • Invalid Beds And Related Equipment (AREA)

Abstract

【課題】ベッドの背上げ及び背下げ時のベッド利用者の横ずれ及びずり落ちを確実に防止することができるエアセルを備えたマットレスを提供する。
【解決手段】マットレス10の背ボトム11,腰ボトム12及び脚ボトム13上にマットレス下層30が設置されており、このマットレス下層の幅方向の両側縁に、長手方向に延びるサイドエアセル40が設けられている。マットレス下層の全体には、複数のエアセルからなるエアセルユニット1が配置されている。そして、背ボトムの背角度に応じて、サイドエアセル40及びエアセルユニット1に対する加圧空気供給及び排出を制御する。
【選択図】図3

Description

本発明は、空気圧により膨らむエアセルを含む寝具を備え、少なくとも背ボトムが揺動するマットレスに関する。
エアセルを備えたマットレスは、体圧分散寝具及び褥瘡予防寝具等として使用されており、このマットレス上に横たわる患者の体圧が集中することを防止し、患者の身体に褥瘡が発生することを防止する寝具として有用である。
従来のマットレスのエアセルユニットとして、特許文献1に記載されたように、弾性を有する複数個の中空直方体形状のエアセルを連続して配置したものがある。このエアセルは、その長手方向の中間部分が両端部分より軟らかく形成されており、これにより、平坦な表面をもつころにより、安定感を向上させ、横臥したときの感触を向上させている。
一方、他のエアセルユニットとして、寝台の幅方向に延びた円筒状セルを寝台の長手方向に連ねた構造のエアセルユニットもある。この場合は、各セルが独立している。
しかしながら、上述の両タイプのエアセルユニットは、ベッドの全面にエアセルユニットを敷き、その上に横臥したベッド利用者の体圧分散性を改善するという機能をもっぱら使用するものである。
よって、少なくとも背の部分が上下動するギャッチベッドにこのエアセルユニットを設置した場合、ベッドの背角度が変化しても、エアセルユニットの内圧は平面的に且つ時間的に一定であった。
このため、上述の従来技術においては、ベッドの背上げ及び背下げ時のベッド利用者のずり落ち、圧迫感及びベッド長手方向へのずれ等を防止することはできなかった。
一方、特許文献2には、ギャッチベッドの背角度情報に基づいて、エアセルユニットの全体の圧力を変化させることが開示されている。
特開2002−65406号公報 特表2006−515995号公報
しかしながら、上述の特許文献2に開示されたエアセルユニットは、マットレスの背角度情報に基づいて、エアセルユニットの圧力を変化させてはいるものの、エアセルユニット全体の圧力を変化させているので、上述の圧迫感の軽減等において、十分にその目的を達成できるものではなかった。また、背上げ動作のときに、ベッド上に横臥する人が横ずれを起こし、極端な場合には、ベッド上から転落する危険性があるが、従来のエアセルユニットは、このような横ずれを防止できるものではない。
本発明はかかる問題点に鑑みてなされたものであって、ベッドの背上げ及び背下げ時のベッド利用者の横ずれ及びずり落ちを確実に防止することができるエアセルを備えたマットレスを提供することを目的とする。
本願第1発明に係るマットレスは、少なくとも背ボトムが揺動するベッド寝床部と、このベッド寝床部の上に搭載されるマットレス下層と、このマットレス下層の上の特定の箇所に配置されたエアセルと、このエアセルに対する空気の供給排出により前記エアセルを膨縮させる膨縮部と、前記背ボトムの背角度を検出又は取得してこの背角度に基づいて前記膨縮部における前記空気の供給排出を制御する制御部と、を有し、前記特定の箇所に配置されたエアセルは、前記マットレスマットレス下層におけるベッド幅方向の両端縁にベッド長手方向に延びるように設けられたサイドエアセルであることを特徴とする。
このマットレスにおいて、前記サイドエアセルは、前記背ボトムが背上げ揺動したときの屈曲点にて、2個に分割されていることが好ましい。また、前記ベッド寝床部は、前記背ボトムの他に、腰を支持する腰ボトムと、膝を支持する膝ボトムとを有し、前記膝ボトムは、前記腰ボトムとの境界を中心として揺動するものであり、前記サイドエアセルは、前記膝ボトムが揺動したときの屈曲点にて、分割されているように構成することができる。
また、本願第2発明に係るマットレスは、少なくとも背ボトムが揺動するベッド寝床部と、このベッド寝床部の上に搭載されるマットレス下層と、このマットレス下層の上の特定の箇所に配置されたエアセルと、このエアセルに対する空気の供給排出により前記エアセルを膨縮させる膨縮部と、前記背ボトムの背角度を検出又は取得してこの背角度に基づいて前記膨縮部における前記空気の供給排出を制御する制御部と、を有し、前記特定の箇所に配置されたエアセルは、前記マットレス下層上の横臥者の腰の位置を挟み込む位置に配置された腰部エアセルであることを特徴とする。
これらのマットレスにおいて、例えば、前記制御部は、前記背角度が所定の第1角度以上の場合に、前記膨縮部により前記エアセルを膨張させ、前記背角度が前記第1角度未満の場合に、前記膨縮部により前記エアセルを収縮させるものである。
また、例えば、前記背角度は、前記マットレス下層に取り付けた角度センサにより検出されるか、前記背角度は、前記マットレス下層又は操作部に取り付けた角度スイッチのオン−オフ信号を検知して求められるものであるか、又は背ボトムの背上げ動作において背角度を指示する信号から、取得するものである。また、例えば、前記制御部は、前記マットレス下層に取り付けた角度センサ又は角度スイッチにより背角度を検出する検出部と、前記マットレス下層に対する背角度を指示する信号により背角度を求める検知部と、前記検出部又は前記検知部のいずれかの背角度を選択して前記背角度とする選択部とを有するものである。
本発明によれば、マットレスの特定の箇所にエアセルを配置し、背ボトムの背上げ動作又は背下げ動作に応じて、前記特定箇所のエアセルを膨縮させるので、マットレス上に横臥する患者等のベッド利用者が、ベッド上で横ずれを起こしたり、ベッドからずり落ちたり、圧迫感を感じたりすることを確実に防止することができる。
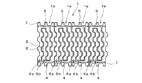
以下、本発明の実施形態について添付の図面を参照して具体的に説明する。図1は、本発明の実施形態で使用する平板状のエアセルユニット(図示例はエアセルが4セット)を示す平面図、図2(a)は1セットのエアセルを示す平面図、図2(b)は(a)のB部分を示す拡大図、図2(c)は(a)のC部分を示す拡大図である。このエアセルユニット1は、マットレスの上に重ねて配置される。
本実施形態のエアセルユニット1は、4個のユニット1aから構成され、1個のユニット1aが2個のエアセル2,3から構成されている。エアセル2,3は、いずれも平面視でU字状をなし、第1の方向(ベッドの幅方向)に延びる2個の部分が、第2の方向(ベッドの長手方向)に延びる部分でつながれている。そして、各セル2,3は、相互に噛み合うように逆方向を向いて配置されており、各ユニット1aにおいては、連結部4がエアセル2の2個の先端部側に配置されてこれらの両先端部が連結部4に連結されており、連結部5がエアセル3の2個の先端部側に配置されてこれらの両端部が連結部5に連結されている。また、エアセル2は、そのU字屈曲部が連結部5に連結され、エアセル3は、そのU字屈曲部が連結部4に連結されている。そして、エアセル2,3は、いずれも、連結部4側に空気の排出供給口6が設けられている。
なお、このエアセルユニットは、ウレタンフィルムを2枚重ねにして溶着することにより、エアセルの部分と連結部の部分とを形成し、更に、外周部分を切断し、その後、セル間の部分を切断することにより、製造することができる。従って、この連結部4,5はエアセル2,3と一体的に形成されている。連結部4,5には、この連結部4,5をベッドのフレーム若しくはボトム又はベッド上のマットレスに固定するための突出部7が設けられている。ベッドのフレーム又はボトムに、連結部4,5を固定する場合は、ボルト・ナット等の通常の固定手段を使用すればよい。また、エアセル2,3から構成されるエアセルユニットをベッド上のマットレスに固定する場合、即ち、エアセルユニットとベッドとの間にウレタン等のマットレスを配置する場合は、マットレスを覆うカバーにスナップボタンを取り付けると共に、エアセルユニットにもスナップボタンを取り付け、このスナップボタン同士を係合することにより、エアセルユニットをマットレスに固定することもできる。
本実施形態においては、エアセル2,3はその長手方向にジグザグ状又は千鳥状に伸びており、エアセル2,3は相互に同一形状でその凸部と凹部とを一致させて配置されている。また、図2(b)に示すように、各セル2,3の横断面は台形状をなしており、例えば、セル2は下底が上底より大きな台形状をなし、セル3は逆に上底が下底より大きな逆台形状をなしており、その縁部が相互に上下に重なっている。そして、空気の供給によりセル2,3は台形状又は逆台形状に膨らみ、そのセル2,3間は、傾斜面が重なることにより、寝心地の連続性を確保している。各エアセル2,3は、図1に示すように、ジグザグ状又は千鳥状をなすことにより、その横断面の流路幅が広い部分と、狭い部分とが、セルの長手方向に交互に現れるように、内径が変化している。更に、図2(c)に示すように、セル2,3は相互に分離しており、連結部4,5間のセル2,3は相互に独立して、膨縮することができる。
このように構成されたエアセルユニット1は、連結部4,5により、ベッドのフレーム又はボトムに固定される。この場合に、連結部4,5をスナップボタン等によりかしめるようにして固定してもよい。また、空気の排出供給口6に、送風ポンプに接続された送風チューブを接続する。そして、送風ポンプの制御部に所定の空気圧を設定し、この空気圧設定値になるように、制御部(図示せず)が各セル2,3への送風圧力を制御する。また、制御部は、セル内の圧力を調整し、膨縮の時間等を制御する。なお、セル2,3の上に、ウレタンフォーム等を敷いても良い。
図3は本実施形態のマットレスを示す正面図(a)及び側面図(b)である。マットレス10においては、ベッドフレームに、背ボトム11、腰ボトム12及び脚ボトム13がベッドの長手方向にこの順に配置されており、背ボトム11は腰ボトム12側の端部を支点として揺動することができる。適宜の駆動手段及びリンク機構により、背ボトム11が起き上がる方向に揺動することにより、背上げ動作が行われ、背ボトム11が水平に戻る方向に揺動することにより、背下げ動作が行われる。腰ボトム12はフレームに固定されているが、脚ボトム13は、背ボトム11と同様に揺動する場合もあれば、腰ボトム12と同様に固定の場合もある。このマットレス10においては、この背ボトム11、腰ボトム12及び脚ボトム13の上に例えば、ウレタン製のマットレス下層30が設置される。そして、このマットレス下層30の上に、マットレス下層30の全面と重なるエアセルユニット1が設置され、更に、エアセルユニット1上に背ボトム11から腰ボトム12までのベッド幅方向両側縁にベッド長手方向に延びるように横ずれ防止用のサイドエアセル40が設けられている。このサイドエアセル40はエアセルユニット1とは独立してその膨縮を制御することができる。
ベッドの背ボトム11の背角度は、マットレス下層30の頭部に設けた角度センサ(図示せず)により検出される。この検出された背角度を基に、所定の角度以上に背ボトムが起き上がったときに、サイドエアセルを膨出するというような制御を行う。又は、マットレス若しくはベッド操作部に設けた角度スイッチのオン−オフ信号により、サイドエアセルの膨出を制御する。例えば、マットレス又はベッド操作部に、背ボトムが30°起き上がったときに、オン−オフが切り替わるような角度スイッチを設置し、この角度スイッチが切り替わったときに、サイドエアセルを膨出させるような制御を行う。更に、ベッドの背角度情報をマットレスの制御部が取得するようにしても良い。
なお、図3に示す実施形態においては、マットレス下層30におけるベッド幅方向の両端縁に、ベッド長手方向に延びるようにサイドエアセル40が設けられており、このサイドエアセル40は、マットレス下層30における背ボトム11上の部分にのみ配置されている。しかし、このサイドエアセル40は、背ボトム11から腰ボトム12までの長い部分に配置してもよい。これにより、この長尺のサイドエアセル40は、より、確実に背上げ及び背下げ動作中のベッド横臥者の横ずれを防止できる。しかし、背ボトム11の動作を円滑にするために、この長尺のサイドエアセル40は背ボトム11と腰ボトム12との間の境界で、2分割することが好ましい。
なお、エアセルユニット1及びサイドエアセル40に対して、個別に設けたポンプ(図示せず)により、加圧空気の供給及び排出を行うこともできるし、また、エアセルユニット1及びサイドエアセル40に対する加圧空気の供給を1個のポンプから行い、切替弁を途中に設けることにより、各エアセルユニット1及びサイドエアセル40に対する加圧空気の供給を切換制御するようにしてもよい。
次に、上述の如く構成されたマットレスの横ずれ防止の動作について説明する。マットレスの背上げ動作又は背下げ動作において、マットレス上に横臥する患者の身体が、ベッド幅方向に動いて、横ずれすることがある。この横ずれが極端な場合には、患者がベッドからはみ出してしまうことになる。横ずれ防止とは、このような事態を回避するモードである。
図4はこの横ずれ防止の動作を示すフローチャート図である。背ボトムを揺動させるアクチュエータ(図示せず)に対し、制御部から背上げ制御信号が出力されたときに、この背上げ制御信号が連続してT秒間(例えば2秒間)継続されたか(ステップS11)、又は背角度がN度(例えば、10°)以上の場合に(ステップS12)、サイドエアセル20に加圧空気を供給してサイドエアセル20内をP(kPa)(例えば5kPa)に保持する(ステップS13)。その後、背角度がN度以上である場合に(ステップS14)、T秒間(例えば、5分間)毎に(ステップS16)、圧力をチェックし、そのとき、セル内圧力がP(kPa)より所定値以上低い場合に、加圧して、セル内圧力をP(kPa)に保持する(ステップS17)。なお、背角度がN度未満に低下していた場合は、サイドエアセル20内を開放し、空気を抜く(ステップS15)。
以上のように、横ずれ防止は、背角度がN度以上のように、背ボトムが大きな背角度で立ち上がった場合には、サイドエアセル40内に加圧空気を供給して、サイドエアセル40を膨張させ、マットレス表面上に起立させるので、患者(ベッド横臥者)はこの突起状のサイドエアセル40に接触して、自分がマットレスの側縁にいることを明確に認識することができる。これにより、患者がマットレスの側縁から落下するような事態を回避することができる。また、患者は、背角度が大きい場合に、ほぼ常時サイドエアセル20に接触するので、常に自分のマットレス上の寝位置を把握することができ、自分の寝位置を調整して座位を安定化することができる。このようにして、サイドエアセル40により、ベッド上に横臥するベッド利用者(患者)の背の部分をその両側から支持し、横ずれを防止することができる。
次に、本発明の第2実施形態について説明する。本実施形態は、横ずれ防止のために、腰部エアセルを設けたものである。図5(a)、(b)は本実施形態のマットレスを示す正面図(a)及び側面図(b)である。図5に示すように、マットレス上の横臥者の腰の位置を挟み込む位置に、腰部エアセル41が設けられている。この腰部エアセル41は、腰をマットレス幅方向から挟み込むような位置に設けられている。
この腰部エアセル41も、サイドエアセル40と同様に、ベッドの幅方向に離隔する位置に配置され、ベッド長手方向に延びるように形成された細長いセルである。しかし、腰部エアセル41は、患者(ベッド横臥者)の腰部の位置を、エアセルユニット1上に固定するために、腰部に接触して腰部をその両側から挟み込むように形成されている。
上述のごとく構成された本実施形態においても、サイドエアセル40による横ずれ防止と同様に、背角度が大きくなったときに、腰部エアセル41を膨出させて、患者の腰部を保持する。腰部エアセル41の場合は、患者の腰部自体が、ベッドの幅方向に移動してしまうと、患者の上半身は、ベッドからはみ出てしまう可能性が高い。このため、腰部エアセル41は、図5に示すように、患者の腰部に接触して、この腰部が実質的に動かないように、腰部を支持することが好ましい。
なお、以上の実施形態は、背ボトム11の背角度を検出して、この背角度に基づいて、エアセルユニット及びエアセルに対する加圧空気の供給排出を制御しているが、本発明はこれに限らず、前記背角度は、背ボトムの背上げ動作において背角度を指示する信号から、取得することもできる。また、マットレスに角度センサを取り付けて背角度を検出しても良いし、簡易的な方法として、マットレスに角度スイッチを取り付け、そのオン−オフ信号で所定の角度を判定してもよい。
角度スイッチの場合、背ボトムが背上げ動作していない状態では、角度スイッチがオフとなっており、背ボトムが背上げ動作したときに、角度スイッチがオンになる。この角度スイッチがオンの状態がt1秒間(例えば、2秒間)継続した場合に、サイドセルを所定圧力まで加圧する。加圧後、t2分間(例えば、5分間)、角度スイッチがオンの状態を継続した場合に、圧力をチェックし、圧力の不足がある場合は、サイドセルを加圧する。
なお、角度センサ又は角度スイッチをマットレスに取り付けて背角度情報を得る場合は、ベッドの種類及び通信規格を問わず、汎用的に本発明を実施することができる。
本発明の実施形態に係るエアセルユニットを示す平面図である。 (a)は、エアセルユニットの1ユニットを示す平面図、(b)は(a)のBの断面図、(c)は(a)のCの拡大図である。 本実施形態に係るマットレスを示す図であり、(a)は正面図、(b)は側面図である。 横ずれ防止における動作を示すフローチャート図である。 第2実施形態に係るマットレスを示す図であり、(a)は正面図、(b)は側面図である。
符号の説明
1:エアセルユニット
1a:ユニット
2,3:エアセル
4,5:連結部
6:空気の排出供給口
7:突出部
10:マットレス
11:背ボトム
12:腰ボトム
13:脚ボトム
30:マットレス下層
40:サイドエアセル
41:腰部エアセル

Claims (9)

  1. 少なくとも背ボトムが揺動するベッド寝床部と、このベッド寝床部の上に搭載されるマットレス下層と、このマットレス下層の上の特定の箇所に配置されたエアセルと、このエアセルに対する空気の供給排出により前記エアセルを膨縮させる膨縮部と、前記背ボトムの背角度を検出又は取得してこの背角度に基づいて前記膨縮部における前記空気の供給排出を制御する制御部と、を有し、前記特定の箇所に配置されたエアセルは、前記マットレス下層におけるベッド幅方向の両端縁にベッド長手方向に延びるように設けられたサイドエアセルであることを特徴とするマットレス。
  2. 前記サイドエアセルは、前記背ボトムが背上げ揺動したときの屈曲点にて、分割されていることを特徴とする請求項1に記載のマットレス。
  3. 前記ベッド寝床部は、前記背ボトムの他に、腰を支持する腰ボトムと、膝を支持する膝ボトムとを有し、前記膝ボトムは、前記腰ボトムとの境界を中心として揺動するものであり、前記サイドエアセルは、前記膝ボトムが揺動したときの屈曲点にて、分割されていることを特徴とする請求項1又は2に記載のマットレス。
  4. 少なくとも背ボトムが揺動するベッド寝床部と、このベッド寝床部の上に搭載されるマットレス下層と、このマットレス下層の上の特定の箇所に配置されたエアセルと、このエアセルに対する空気の供給排出により前記エアセルを膨縮させる膨縮部と、前記背ボトムの背角度を検出又は取得してこの背角度に基づいて前記膨縮部における前記空気の供給排出を制御する制御部と、を有し、前記特定の箇所に配置されたエアセルは、前記マットレス下層上の横臥者の腰の位置を挟み込む位置に配置された腰部エアセルであることを特徴とするマットレス。
  5. 前記制御部は、前記背角度が所定の第1角度以上の場合に、前記膨縮部により前記エアセルを膨張させ、前記背角度が前記第1角度未満の場合に、前記膨縮部により前記エアセルを収縮させることを特徴とする請求項1乃至4のいずれか1項に記載のマットレス。
  6. 前記背角度は、前記マットレス下層に取り付けた角度センサにより検出されることを特徴とする請求項1乃至5のいずれか1項に記載のマットレス。
  7. 前記背角度は、前記マットレス下層又は操作部に取り付けた角度スイッチのオン−オフ信号を検知して求められるものであることを特徴とする請求項1乃至5のいずれか1項に記載のマットレス。
  8. 前記背角度は、背ボトムの背上げ動作において背角度を指示する信号から、取得することを特徴とする請求項1乃至5のいずれか1項に記載のマットレス。
  9. 前記制御部は、前記マットレス下層に取り付けた角度センサ又は角度スイッチにより背角度を検出する検出部と、前記マットレス下層に対する背角度を指示する信号により背角度を求める検知部と、前記検出部又は前記検知部のいずれかの背角度を選択して前記背角度とする選択部とを有することを特徴とする請求項1乃至5のいずれか1項に記載のマットレス。
JP2008220534A 2008-08-28 2008-08-28 マットレス Active JP5154343B2 (ja)

Priority Applications (1)

Application Number Priority Date Filing Date Title
JP2008220534A JP5154343B2 (ja) 2008-08-28 2008-08-28 マットレス

Applications Claiming Priority (1)

Application Number Priority Date Filing Date Title
JP2008220534A JP5154343B2 (ja) 2008-08-28 2008-08-28 マットレス

Publications (2)

Publication Number Publication Date
JP2010051596A true JP2010051596A (ja) 2010-03-11
JP5154343B2 JP5154343B2 (ja) 2013-02-27

Family

ID=42068140

Family Applications (1)

Application Number Title Priority Date Filing Date
JP2008220534A Active JP5154343B2 (ja) 2008-08-28 2008-08-28 マットレス

Country Status (1)

Country Link
JP (1) JP5154343B2 (ja)

Cited By (15)

* Cited by examiner, † Cited by third party
Publication number Priority date Publication date Assignee Title
KR20140051088A (ko) * 2012-10-22 2014-04-30 파라마운트 베드 가부시키가이샤 매트리스 장치
JP2014083141A (ja) * 2012-10-22 2014-05-12 Paramount Bed Co Ltd エアセル制御装置、マットレス装置及びプログラム
US9078795B1 (en) 2014-09-08 2015-07-14 Wcw, Inc. Cushioning device and method of cushioning a body
JP2016221385A (ja) * 2016-10-05 2016-12-28 パラマウントベッド株式会社 エアセル制御装置、マットレス装置、ベッド装置及びプログラム
JP2017221845A (ja) * 2017-10-02 2017-12-21 パラマウントベッド株式会社 エアセル制御装置、プログラム及びエアセル制御システム
JP2018167043A (ja) * 2018-06-06 2018-11-01 パラマウントベッド株式会社 マットレス装置
JP2018171529A (ja) * 2018-08-20 2018-11-08 パラマウントベッド株式会社 マットレス装置及びベッド装置
US10182954B2 (en) 2014-09-08 2019-01-22 Wcw, Inc. Cushioning device and method
JP2019088918A (ja) * 2018-06-06 2019-06-13 パラマウントベッド株式会社 スマートフォン
CN110840151A (zh) * 2019-12-23 2020-02-28 文立 一种用于脊背健康保护的智能床垫
JP2021007895A (ja) * 2020-11-09 2021-01-28 パラマウントベッド株式会社 スマートフォン
JP2021519115A (ja) * 2018-03-23 2021-08-10 ターンケア, インコーポレイテッドTurncare, Inc. 膨張式灌流増強装置及び関連するデバイス、システム、及び方法
JP7197260B2 (ja) 2017-09-12 2022-12-27 旭化成株式会社 中空糸膜モジュール、海水淡水化システム、海水を淡水化する方法、海水より淡水を製造する方法、中空糸膜モジュールの運転方法、ろ過方法、および中空糸膜モジュールの製造方法
US11981099B2 (en) 2018-03-23 2024-05-14 TurnCare, Inc. Methods for controlling and monitoring inflatable perfusion enhancement apparatuses and associated systems
WO2025161261A1 (zh) * 2024-02-04 2025-08-07 喜临门家具股份有限公司 可弯折床垫护边结构控制方法、控制系统及可弯折床垫

Citations (4)

* Cited by examiner, † Cited by third party
Publication number Priority date Publication date Assignee Title
JPH0420324U (ja) * 1990-06-11 1992-02-20
JP2004008466A (ja) * 2002-06-06 2004-01-15 Paramount Bed Co Ltd 起伏機能を有するベッド等における転落防止装置
JP2006180890A (ja) * 2004-12-24 2006-07-13 Toshiba Tec Corp マッサージマット
JP2008055152A (ja) * 2006-08-04 2008-03-13 Richard B Stacy 患者支持体

Patent Citations (4)

* Cited by examiner, † Cited by third party
Publication number Priority date Publication date Assignee Title
JPH0420324U (ja) * 1990-06-11 1992-02-20
JP2004008466A (ja) * 2002-06-06 2004-01-15 Paramount Bed Co Ltd 起伏機能を有するベッド等における転落防止装置
JP2006180890A (ja) * 2004-12-24 2006-07-13 Toshiba Tec Corp マッサージマット
JP2008055152A (ja) * 2006-08-04 2008-03-13 Richard B Stacy 患者支持体

Cited By (25)

* Cited by examiner, † Cited by third party
Publication number Priority date Publication date Assignee Title
KR20140051088A (ko) * 2012-10-22 2014-04-30 파라마운트 베드 가부시키가이샤 매트리스 장치
JP2014083140A (ja) * 2012-10-22 2014-05-12 Paramount Bed Co Ltd マットレス装置
JP2014083141A (ja) * 2012-10-22 2014-05-12 Paramount Bed Co Ltd エアセル制御装置、マットレス装置及びプログラム
KR102084924B1 (ko) * 2012-10-22 2020-03-05 파라마운트 베드 가부시키가이샤 매트리스 장치
US9078795B1 (en) 2014-09-08 2015-07-14 Wcw, Inc. Cushioning device and method of cushioning a body
US10182954B2 (en) 2014-09-08 2019-01-22 Wcw, Inc. Cushioning device and method
JP2016221385A (ja) * 2016-10-05 2016-12-28 パラマウントベッド株式会社 エアセル制御装置、マットレス装置、ベッド装置及びプログラム
JP7197260B2 (ja) 2017-09-12 2022-12-27 旭化成株式会社 中空糸膜モジュール、海水淡水化システム、海水を淡水化する方法、海水より淡水を製造する方法、中空糸膜モジュールの運転方法、ろ過方法、および中空糸膜モジュールの製造方法
JP2017221845A (ja) * 2017-10-02 2017-12-21 パラマウントベッド株式会社 エアセル制御装置、プログラム及びエアセル制御システム
US12496793B2 (en) 2018-03-23 2025-12-16 TurnCare, Inc. Methods for controlling and monitoring inflatable perfusion enhancement apparatuses and associated systems
US12076952B2 (en) 2018-03-23 2024-09-03 TurnCare, Inc. Systems and methods for controlling and monitoring inflatable perfusion enhancement apparatus for mitigating contact pressure
US11980565B2 (en) 2018-03-23 2024-05-14 TurnCare, Inc. Inflatable perfusion enhancement apparatuses and associated devices, systems and methods
US11737905B2 (en) 2018-03-23 2023-08-29 TurnCare, Inc. Inflatable perfusion enhancement apparatuses and associated devices, systems and methods
US11981099B2 (en) 2018-03-23 2024-05-14 TurnCare, Inc. Methods for controlling and monitoring inflatable perfusion enhancement apparatuses and associated systems
JP2021519115A (ja) * 2018-03-23 2021-08-10 ターンケア, インコーポレイテッドTurncare, Inc. 膨張式灌流増強装置及び関連するデバイス、システム、及び方法
JP7384816B2 (ja) 2018-03-23 2023-11-21 ターンケア,インコーポレイテッド 膨張式灌流増強装置及び関連するデバイス、システム、及び方法
JP2018167043A (ja) * 2018-06-06 2018-11-01 パラマウントベッド株式会社 マットレス装置
JP2019088918A (ja) * 2018-06-06 2019-06-13 パラマウントベッド株式会社 スマートフォン
JP2018171529A (ja) * 2018-08-20 2018-11-08 パラマウントベッド株式会社 マットレス装置及びベッド装置
CN110840151A (zh) * 2019-12-23 2020-02-28 文立 一种用于脊背健康保护的智能床垫
JP7244477B2 (ja) 2020-11-09 2023-03-22 パラマウントベッド株式会社 スマートフォン
JP2022163236A (ja) * 2020-11-09 2022-10-25 パラマウントベッド株式会社 スマートフォン
JP7441903B2 (ja) 2020-11-09 2024-03-01 パラマウントベッド株式会社 スマートフォン
JP2021007895A (ja) * 2020-11-09 2021-01-28 パラマウントベッド株式会社 スマートフォン
WO2025161261A1 (zh) * 2024-02-04 2025-08-07 喜临门家具股份有限公司 可弯折床垫护边结构控制方法、控制系统及可弯折床垫

Also Published As

Publication number Publication date
JP5154343B2 (ja) 2013-02-27

Similar Documents

Publication Publication Date Title
JP5154343B2 (ja) マットレス
US7260860B2 (en) Mattress system for a hospital bed
US7845032B2 (en) Hospital bed
JP5627238B2 (ja) エアマット制御装置
JP6017686B2 (ja) 患者保持システムおよび使用方法
US20110047709A1 (en) Support device with adjustable length and width
US20140305445A1 (en) Bed apparatus and patient detection method
JP2008279193A (ja) ベッド装置および寝具装置
EP2189140A2 (en) Boost feature for a bed
JP6022299B2 (ja) エアセル制御装置、マットレス装置、ベッド装置及びプログラム
US20130167301A1 (en) Air cushion bed with sensing mat capable of detecting the lying of a patient thereon
JP2010051597A (ja) エアセルシート
JP5112224B2 (ja) マットレス
JP2006051223A (ja) いびき防止枕
JP6811343B2 (ja) マットレス装置及び体位変換支援ユニット
JP7504671B2 (ja) エアセル制御装置
JP2008543351A (ja) 交互加圧マットレス用の膨張可能部品
JP2008307249A (ja) エアマットの制御方法及びその制御方法を用いたエアマット
JP2008289630A (ja) 床擦れ防止ベッド
JP6563377B2 (ja) マットレス装置、ベッド装置及びプログラム
JP6665054B2 (ja) マットレス装置及び体位変換支援ユニット
CA2505101A1 (en) Hospital bed
CA2505097A1 (en) Mattress system for a hospital bed
JP2024051342A (ja) エアマットレス
JP2002035052A (ja) 介助用マット装置

Legal Events

Date Code Title Description
A621 Written request for application examination

Free format text: JAPANESE INTERMEDIATE CODE: A621

Effective date: 20110223

A977 Report on retrieval

Free format text: JAPANESE INTERMEDIATE CODE: A971007

Effective date: 20120829

A131 Notification of reasons for refusal

Free format text: JAPANESE INTERMEDIATE CODE: A131

Effective date: 20120904

A521 Request for written amendment filed

Free format text: JAPANESE INTERMEDIATE CODE: A523

Effective date: 20121011

TRDD Decision of grant or rejection written
A01 Written decision to grant a patent or to grant a registration (utility model)

Free format text: JAPANESE INTERMEDIATE CODE: A01

Effective date: 20121204

A61 First payment of annual fees (during grant procedure)

Free format text: JAPANESE INTERMEDIATE CODE: A61

Effective date: 20121205

FPAY Renewal fee payment (event date is renewal date of database)

Free format text: PAYMENT UNTIL: 20151214

Year of fee payment: 3

R150 Certificate of patent or registration of utility model

Ref document number: 5154343

Country of ref document: JP

Free format text: JAPANESE INTERMEDIATE CODE: R150

Free format text: JAPANESE INTERMEDIATE CODE: R150

R250 Receipt of annual fees

Free format text: JAPANESE INTERMEDIATE CODE: R250

R250 Receipt of annual fees

Free format text: JAPANESE INTERMEDIATE CODE: R250

R250 Receipt of annual fees

Free format text: JAPANESE INTERMEDIATE CODE: R250

R250 Receipt of annual fees

Free format text: JAPANESE INTERMEDIATE CODE: R250

R250 Receipt of annual fees

Free format text: JAPANESE INTERMEDIATE CODE: R250

R250 Receipt of annual fees

Free format text: JAPANESE INTERMEDIATE CODE: R250

R250 Receipt of annual fees

Free format text: JAPANESE INTERMEDIATE CODE: R250