JP2010049926A - 燃料電池の膜−電極接合体製造方法 - Google Patents

燃料電池の膜−電極接合体製造方法 Download PDF

Info

Publication number
JP2010049926A
JP2010049926A JP2008212822A JP2008212822A JP2010049926A JP 2010049926 A JP2010049926 A JP 2010049926A JP 2008212822 A JP2008212822 A JP 2008212822A JP 2008212822 A JP2008212822 A JP 2008212822A JP 2010049926 A JP2010049926 A JP 2010049926A
Authority
JP
Japan
Prior art keywords
reinforcing layer
membrane
polymer electrolyte
electrode assembly
electrolyte membrane
Prior art date
Legal status (The legal status is an assumption and is not a legal conclusion. Google has not performed a legal analysis and makes no representation as to the accuracy of the status listed.)
Granted
Application number
JP2008212822A
Other languages
English (en)
Other versions
JP5257590B2 (ja
Inventor
Takashi Ikejiri
孝 池尻
Current Assignee (The listed assignees may be inaccurate. Google has not performed a legal analysis and makes no representation or warranty as to the accuracy of the list.)
Toyota Motor Corp
Original Assignee
Toyota Motor Corp
Priority date (The priority date is an assumption and is not a legal conclusion. Google has not performed a legal analysis and makes no representation as to the accuracy of the date listed.)
Filing date
Publication date
Application filed by Toyota Motor Corp filed Critical Toyota Motor Corp
Priority to JP2008212822A priority Critical patent/JP5257590B2/ja
Publication of JP2010049926A publication Critical patent/JP2010049926A/ja
Application granted granted Critical
Publication of JP5257590B2 publication Critical patent/JP5257590B2/ja
Expired - Fee Related legal-status Critical Current
Anticipated expiration legal-status Critical

Links

Images

Classifications

    • YGENERAL TAGGING OF NEW TECHNOLOGICAL DEVELOPMENTS; GENERAL TAGGING OF CROSS-SECTIONAL TECHNOLOGIES SPANNING OVER SEVERAL SECTIONS OF THE IPC; TECHNICAL SUBJECTS COVERED BY FORMER USPC CROSS-REFERENCE ART COLLECTIONS [XRACs] AND DIGESTS
    • Y02TECHNOLOGIES OR APPLICATIONS FOR MITIGATION OR ADAPTATION AGAINST CLIMATE CHANGE
    • Y02EREDUCTION OF GREENHOUSE GAS [GHG] EMISSIONS, RELATED TO ENERGY GENERATION, TRANSMISSION OR DISTRIBUTION
    • Y02E60/00Enabling technologies; Technologies with a potential or indirect contribution to GHG emissions mitigation
    • Y02E60/30Hydrogen technology
    • Y02E60/50Fuel cells
    • YGENERAL TAGGING OF NEW TECHNOLOGICAL DEVELOPMENTS; GENERAL TAGGING OF CROSS-SECTIONAL TECHNOLOGIES SPANNING OVER SEVERAL SECTIONS OF THE IPC; TECHNICAL SUBJECTS COVERED BY FORMER USPC CROSS-REFERENCE ART COLLECTIONS [XRACs] AND DIGESTS
    • Y02TECHNOLOGIES OR APPLICATIONS FOR MITIGATION OR ADAPTATION AGAINST CLIMATE CHANGE
    • Y02PCLIMATE CHANGE MITIGATION TECHNOLOGIES IN THE PRODUCTION OR PROCESSING OF GOODS
    • Y02P70/00Climate change mitigation technologies in the production process for final industrial or consumer products
    • Y02P70/50Manufacturing or production processes characterised by the final manufactured product

Landscapes

  • Fuel Cell (AREA)

Abstract

【課題】高分子電解質膜への補強層の接合を気泡の残留なくして容易に行え、特に補強層を接合した高分子電解質膜の連続加工に顕著な効果を発揮できる燃料電池の膜−電極接合体製造方法を提供する。
【解決手段】触媒層とで膜−電極接合体を構成する高分子電解質膜の周縁部に枠状の補強層を接合する補強層接合工程56を含む燃料電池の膜−電極接合体製造方法において、補強層接合工程56の前段側に補強層にエアー抜き用の切込み21を施す切込み工程13を備える。切込み21を逆コ字状に複数個施し、かつ切込み21による逆コ字状片の向きを、補強層接合工程56を通るときの円滑な空気排出方向と一致させ、熱圧接合動作と共に効率よく空気排出を行い、気泡の残留を確実になくせるようにした。
【選択図】図1

Description

本発明は、固体高分子型の燃料電池の膜−電極接合体製造方法、特に膜周縁部に補強層を接合する補強層接合工程を含む膜−電極接合体製造方法に関するものである。
電解質に高分子膜を用いた固体高分子型燃料電池は、出力密度が高く、電池寿命が長い等の特徴を有している。
図4は、このような固体高分子型燃料電池のセルの一例を示す断面図である。
図示するようにセル40は、高分子電解質膜41の両面に電極となる触媒層42が接合され、各触媒層42の周囲、つまり高分子電解質膜41の周縁部にはフィルム等からなる補強層(保護層とも称する。)43が枠状に形成されて、膜−電極接合体(MEA:Membrane Electrode Assembly)44を構成している。
触媒層42及び補強層43上には、集電及びガスを拡散するための拡散層45が接合され、更にその外側には、ガス流通溝46aを有するセパレータ46が各々配設されて、膜−電極接合体44、拡散層45部分を両面側から狭持するように、セル40を構成している。そして、このようなセル40を複数個積層して燃料電池スタックが構成され、燃料電池として発電を行う(特許文献1、2参照)。
特開2004−319153号公報 特開2007−35612号公報
上記従来技術において、枠状の補強層43は、膜−電極接合体44の構成に原理上、必須のものではないが、高分子電解質膜41を、必要な強度をもたせながらできるだけ薄く形成するために有効である。
しかしながら、上記従来技術においては、高分子電解質膜41は薄くて剛性がなく、かつ伸縮性が大きいため、補強層43との接合時に補強層43との間に入り込んだ空気が、接合後に補強層43との間に気泡47として残留することがあった。
図4に示す膜−電極接合体を連続加工する場合の膜−電極接合体製造形態の要部を図5に示す。図5においては、図4に示す高分子電解質膜41及び補強層43の原材料51,52を各々巻いた状態から帯状に繰り出し、補強層原材料52についてはロータリカッタ53を通して無用部分54を切除した、はしご状に連続する補強層55を得る(図5中の部分拡大図5A参照)工程を備える。そして、このはしご状に連続する補強層(連続補強層)55を高分子電解質膜原材料51と重ねて一対の熱圧プレス56間に通すことにより、高分子電解質膜原材料51上に連続補強層55が接合された、帯状に連続する高分子電解質膜(補強層接合済みの連続高分子電解質膜)57を得る工程を備えている。
図6は、上記のような連続加工工程により得られた補強層接合済みの連続高分子電解質膜57内に気泡47が残留している様子を示す。上記のような連続加工工程によると、生産性は上がるが、監視がされなかった場合において一度、気泡47の混入、残留が発生するとそれが短時間で多数連続する。
なお図5は、高分子電解質膜の片面に補強層を接合する場合の連続高分子電解質膜57を得る連続加工工程を示しているが、高分子電解質膜の両面に補強層を接合するように、図示加工工程においては高分子電解質膜原材料51の両面に連続補強層55を接合するように、してもよい。図4は高分子電解質膜41の両面に補強層43を接合した例を示している。
本発明の課題は、高分子電解質膜の周縁部への補強層の接合を気泡の残留なくして容易に行え、特に補強層を接合した高分子電解質膜の連続加工に顕著な効果を発揮できる燃料電池の膜−電極接合体製造方法を提供することにある。
上記課題は、燃料電池の膜−電極接合体製造方法を下記各態様の構成とすることによって解決される。
各態様は、請求項と同様に、項に区分し、各項に番号を付し、必要に応じて他の項の番号を引用する形式で記載する。これは、あくまでも本発明の理解を容易にするためであり、本明細書に記載の技術的特徴及びそれらの組合わせが以下の各項に記載のものに限定されると解釈されるべきではない。また、1つの項に複数の事項が記載されている場合、それら複数の事項を常に一緒に採用しなければならないわけではなく、一部の事項のみを取り出して採用することも可能である。
以下の各項のうち、(1)項が請求項1に、(2)項が請求項2に、(3)項が請求項3に、(4)項が請求項4に、(6)項が請求項5に、(7)項が請求項6に、各々対応する。(5)項は請求項に係る発明ではない。
(1) 触媒層とで膜−電極接合体を構成する高分子電解質膜の周縁部に枠状の補強層を接合する補強層接合工程を含む燃料電池の膜−電極接合体製造方法において、前記補強層接合工程の前段側に前記補強層にエアー抜き用の切込みを施す切込み工程を備えることを特徴とする燃料電池の膜−電極接合体製造方法。
補強層はフィルム、シート、プレートあるいは膜等のいずれであってもよい。
補強層接合工程としては、例えば加圧プレス、平板熱圧プレスや熱圧ロール等の熱圧プレス等が用いられる。切込み工程としては、ロータリカッタ等が用いられる。
(2) 切込みは、補強層の複数箇所に施されることを特徴とする(1)項に記載の燃料電池の膜−電極接合体製造方法。
(3) 切込みは、自由端をなす一端側が固定端をなす他端側を支点として補強層面と交差する方向に変位動可能な、一部を固定端として開いた面形状に施されることを特徴とする(1)項に記載の燃料電池の膜−電極接合体製造方法。
上記面形状としては、逆コ字状、コ字状、く字状、逆く字状等が挙げられる。
(4) 切込みは、補強層の複数箇所に、各々自由端をなす一端側を同方向側に位置するように施されることを特徴とする(3)項に記載の燃料電池の膜−電極接合体製造方法。
(5) 切込みは、ほぼコ字状に施されることを特徴とする(3)項又は(4)項に記載の燃料電池の膜−電極接合体製造方法。
本項によれば、簡易な切込み形状と大なる気泡残留防止効果を両立できる。
(6) 切込みが施されてなる面形状の固定端をなす他端側を、自由端をなす一端側に先立って前記補強層接合工程に進入させることを特徴とする(3)項、(4)項又は(5)に記載の燃料電池の膜−電極接合体製造方法。
(7) 高分子電解質膜及び補強層の原材料を各々巻いた状態から帯状に繰り出し、補強層原材料の無用部分を切除するカット工程を経て得られたはしご状に連続する補強層を高分子電解質膜原材料と重ねて前記補強層接合工程に通し、補強層接合済みの連続する高分子電解質膜を得る連続加工工程を備え、前記切込み工程は前記カット工程に兼用され、このカット工程で前記補強層原材料の無用部分を切除する際に前記切込みを施すことを特徴とする(1)項〜(6)項のいずれか1の項に記載の燃料電池の膜−電極接合体製造方法。
無用部分とは、枠状の補強層の枠内開口部分に相当する補強層原材料部分を指す。無用部分は、帯状の補強層原材料上に所定間隔で存在するので、無用部分が切除された補強層原材料ははしご状に連続する補強層となる。
(1)項に記載の発明によれば、高分子電解質膜の周縁部への補強層の接合を気泡の残留なくして容易に行え、特に補強層を接合した高分子電解質膜の連続加工に顕著な効果を発揮できる燃料電池の膜−電極接合体製造方法を提供できる。
(2)項に記載の発明によれば、気泡の残留をより減少できる。
(3)項に記載の発明によれば、切込みを単なる線状にするよりも効果的に気泡の残留を減少できる。
(4)項に記載の発明によれば、(3)項に記載の発明におけるよりも更に気泡の残留を減少できる。
(6)項に記載の発明によれば、補強層接合を行いながら空気の排出が行われ、気泡の残留を効率よく減少できる。
(7)項に記載の発明によれば、補強層接合済みの連続する高分子電解質膜を得る連続加工工程において、簡易迅速に切込みを施すことができる。
なお、(5)項に記載の発明は、本発明(特許請求の範囲に記載した発明)ではないので、上記課題を解決するための手段の欄に、その効果を述べた。
以下、本発明の実施の形態を図面に基づき説明する。なお、本明細書で参照される各図間において、同一符号は同一又は相当部分を示す。
本実施形態は、触媒層とで膜−電極接合体(MEA)を構成する高分子電解質膜の周縁部に枠状の補強層を接合する補強層接合工程を含む燃料電池の膜−電極接合体製造方法において、次のように構成した。
すなわち、上記補強層接合工程の前段側に上記補強層にエアー抜き用の切込みを施す切込み工程を設け、補強層接合工程を経る際に、高分子電解質膜(周縁部)と補強層との間に入り込んだ空気を上記切込みから排出させ、高分子電解質膜と補強層との間に気泡として残留しないように構成した。
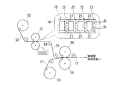
図1は、本発明による燃料電池の膜−電極接合体製造方法の一実施形態の要部説明図で、補強層を接合した高分子電解質膜を連続的に加工する工程に本発明を適用した例を示す。
図示するように本実施形態は、高分子電解質膜原材料51及び補強層原材料52を各々巻いた状態から帯状に繰り出し、補強層原材料52については、カット工程をなすロータリカッタ13を通して無用部分54を切除し、所定間隔で枠状の補強層が連続する、つまりはしご状に連続する補強層(以下、連続補強層と記す。)15を得る工程を備える。
そして、連続補強層15を高分子電解質膜原材料51と重ねて、補強層接合工程をなす熱圧プレス、ここでは一対の熱圧ロール56間に通すことによって高分子電解質膜原材料51上に連続補強層15が接合された、帯状に連続する高分子電解質膜(補強層接合済みの連続高分子電解質膜)17を得る連続加工工程を基本的な構成としている。
なお、上記無用部分54とは、枠状の補強層の枠内開口部分に相当する補強層原材料部分である。
本実施形態では、上記のような基本的な構成に加えて、補強層接合工程をなす一対の熱圧ロール56の前段側に、補強層、ここでは補強層原材料52にエアー抜き用の切込み21を施す切込み工程を備える。
この切込み工程は、図示例ではロータリカッタ13を備えるカット工程に兼用されており、切込み21は、ロータリカッタ13によって補強層原材料52の無用部分54を切除する際に、その補強層原材料52に施される。
具体的には、ロータリカッタ13のカッタ面には補強層原材料52の無用部分54を切除する刃と切込み21を施す刃が設けられていて、補強層原材料52がロータリカッタ13を通ることによって、切込み21が施された連続補強層15が得られる(図1中の部分拡大図1A参照)。
切込み21は、補強層の枠状部分に相当する補強層原材料52部分の複数箇所に各々施され、切込み群22を形成する。
また切込み21は、自由端をなす一端側が固定端をなす他端側を支点として補強層面と交差する方向に変位動可能な、一部を固定端として開いた例えば逆コ字状、く字状等の面形状に施される。
図示例では、切込み21が施されてなる面形状の固定端をなす他端側(図中、右側)が、自由端をなす一端側(図中、左側)に先立って補強層接合工程である一対の熱圧ロール56間に進入するように、切込み21が施されている。具体的には、切込み21は各々逆コ字状であって、その自由端をなす開口端側が図中、左側に揃って向くように施されている。熱圧ロール56を経て得られた補強層接合済みの連続高分子電解質膜17面において、連続補強層15上の切込み21による面形状(逆コ字状片)の向きを、熱圧ロール56を通るときの円滑な空気排出方向と一致させ、熱圧接合動作と共に効率よく空気排出を行い、気泡47(図6参照)の残留を確実になくすためである。
なお、切込み21による連続補強層15上の上記逆コ字状片の部分は、熱圧ロール56を通るときに高分子電解質膜原材料51面に密着接合されるので、後工程において何ら支障を来たさない。
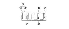
図2は、熱圧ロール56を経て得られた補強層接合済みの連続高分子電解質膜17の一例を示す平面図で、この図において破線で示す逆コ字状の切込み21は、上記逆コ字状片の部分が高分子電解質膜原材料51面に密着接合されている様子を示す。
上記補強層接合済みの連続高分子電解質膜17は、分離工程に送られて所定間隔で切断分離されることにより、個々の補強層接合済みの高分子電解質膜として作製される。図1に示す例では、この切断分離は補強層接合済みの連続高分子電解質膜17上に触媒層を接合形成してから行われる。
なお図1では、高分子電解質膜の上面(片面)に補強層を接合する場合の連続高分子電解質膜17を得る連続加工工程を示しているが、高分子電解質膜の上,下面(両面)に補強層を接合するように、図示加工工程においては高分子電解質膜原材料51の上,下面に連続補強層15を接合するように、してもよい。この場合は、熱圧ロール56に連続補強層15を送り、これを高分子電解質膜原材料51の下面に接合させるための機構を高分子電解質膜原材料51の繰り出し搬送ラインの下方側に配置する。
後掲図3は高分子電解質膜41の両面に補強層43を接合した例を示している。
以上述べた実施形態によれば、次のような効果がある。
すなわち本実施形態では、補強層接合工程をなす一対の熱圧ロール56の前段側に補強層にエアー抜き用の切込み21を施す切込み工程を設けた。そして本実施形態では、切込み21を逆コ字状に複数個施し、しかも切込み21による面形状(逆コ字状片)の向きを、熱圧ロール56を通るときの円滑な空気排出方向と一致させた。したがって本実施形態によれば、熱圧接合動作と共に効率よく空気排出が行われ、図3に示すように、高分子電解質膜41と補強層43との間に気泡47(図6参照)の残留のない固体高分子型燃料電池(セル40)を製造できる。
また本実施形態によれば、上記切込み工程を補強層原材料の無用部分を切除するカット工程に兼用させたので、切込み21を簡易迅速に施すことができる。
なお本実施形態において、高分子電解質膜41、触媒層42、拡散層45及びセパレータ46等は、固体高分子型燃料電池において一般的に用いられている材質からなる。
補強層43としては、ポリエチレンテレフタレート(PET)やポリエチレンナフタレート(PEN)等のポリエステル系のフィルム、シート、プレートあるいは膜等が用いられる。本実施形態ではPENフィルムが用いられているが、高分子電解質膜41、触媒層42及び拡散層45の機能を損なわせることなく、高分子電解質膜41を補強、保護するものであれば、その他の材質を用いてもよい。
本発明による燃料電池の膜−電極接合体製造方法の一実施形態の要部説明図である。 図1中の熱圧ロールを経て得られた補強層接合済みの連続高分子電解質膜の一例を示す平面図である。 本実施形態による固体高分子型燃料電池のセルの一例を示す断面図である。 従来技術による固体高分子型燃料電池のセルの一例を示す断面図である。 従来の膜−電極接合体製造形態の要部説明図である。 図5に示す製造形態による補強層接合済みの連続高分子電解質膜内に気泡が残留している様子を示す平面図である。
符号の説明
13:ロータリカッタ(カット工程;切込み工程)、15:連続補強層、17:補強層接合済みの連続高分子電解質膜、21:エアー抜き用の切込み、22:切込み群、40:セル、41:高分子電解質膜、42:触媒層、43:補強層、44:膜−電極接合体、45:拡散層、46:セパレータ、51:高分子電解質膜原材料、52:補強層原材料、56:熱圧プレス(補強層接合工程)。

Claims (6)

  1. 触媒層とで膜−電極接合体を構成する高分子電解質膜の周縁部に枠状の補強層を接合する補強層接合工程を含む燃料電池の膜−電極接合体製造方法において、
    前記補強層接合工程の前段側に前記補強層にエアー抜き用の切込みを施す切込み工程を備えることを特徴とする燃料電池の膜−電極接合体製造方法。
  2. 切込みは、補強層の複数箇所に施されることを特徴とする請求項1に記載の燃料電池の膜−電極接合体製造方法。
  3. 切込みは、自由端をなす一端側が固定端をなす他端側を支点として補強層面と交差する方向に変位動可能な、一部を固定端として開いた面形状に施されることを特徴とする請求項1に記載の燃料電池の膜−電極接合体製造方法。
  4. 切込みは、補強層の複数箇所に、各々自由端をなす一端側を同方向側に位置するように施されることを特徴とする請求項3に記載の燃料電池の膜−電極接合体製造方法。
  5. 切込みが施されてなる面形状の固定端をなす他端側を、自由端をなす一端側に先立って前記補強層接合工程に進入させることを特徴とする請求項3又は4に記載の燃料電池の膜−電極接合体製造方法。
  6. 高分子電解質膜及び補強層の原材料を各々巻いた状態から帯状に繰り出し、補強層原材料の無用部分を切除するカット工程を経て得られたはしご状に連続する補強層を高分子電解質膜原材料と重ねて前記補強層接合工程に通し、補強層接合済みの連続する高分子電解質膜を得る連続加工工程を備え、
    前記切込み工程は前記カット工程に兼用され、このカット工程で前記補強層原材料の無用部分を切除する際に前記切込みを施すことを特徴とする請求項1〜5のいずれか1項に記載の燃料電池の膜−電極接合体製造方法。

JP2008212822A 2008-08-21 2008-08-21 燃料電池の膜−電極接合体製造方法 Expired - Fee Related JP5257590B2 (ja)

Priority Applications (1)

Application Number Priority Date Filing Date Title
JP2008212822A JP5257590B2 (ja) 2008-08-21 2008-08-21 燃料電池の膜−電極接合体製造方法

Applications Claiming Priority (1)

Application Number Priority Date Filing Date Title
JP2008212822A JP5257590B2 (ja) 2008-08-21 2008-08-21 燃料電池の膜−電極接合体製造方法

Publications (2)

Publication Number Publication Date
JP2010049926A true JP2010049926A (ja) 2010-03-04
JP5257590B2 JP5257590B2 (ja) 2013-08-07

Family

ID=42066838

Family Applications (1)

Application Number Title Priority Date Filing Date
JP2008212822A Expired - Fee Related JP5257590B2 (ja) 2008-08-21 2008-08-21 燃料電池の膜−電極接合体製造方法

Country Status (1)

Country Link
JP (1) JP5257590B2 (ja)

Cited By (3)

* Cited by examiner, † Cited by third party
Publication number Priority date Publication date Assignee Title
JP2014072107A (ja) * 2012-09-28 2014-04-21 Dainippon Printing Co Ltd 補強材付き触媒層−電解質膜積層体、固体高分子形燃料電池、及び、補強材付き触媒層−電解質膜積層体の製造方法
JP2014082049A (ja) * 2012-10-15 2014-05-08 Toyota Motor Corp 燃料電池用の膜電極接合体の製造方法と製造装置
JP2014093251A (ja) * 2012-11-06 2014-05-19 Dainippon Printing Co Ltd 補強材付き触媒層−電解質膜積層体、固体高分子形燃料電池、及び、補強材付き触媒層−電解質膜積層体の製造方法

Citations (2)

* Cited by examiner, † Cited by third party
Publication number Priority date Publication date Assignee Title
JP2007503704A (ja) * 2003-05-28 2007-02-22 スリーエム イノベイティブ プロパティズ カンパニー ロールグッド燃料電池製造プロセス、設備、およびそれらから製造された物品
JP2008059908A (ja) * 2006-08-31 2008-03-13 Fuji Electric Holdings Co Ltd 固体高分子電解質型燃料電池

Patent Citations (2)

* Cited by examiner, † Cited by third party
Publication number Priority date Publication date Assignee Title
JP2007503704A (ja) * 2003-05-28 2007-02-22 スリーエム イノベイティブ プロパティズ カンパニー ロールグッド燃料電池製造プロセス、設備、およびそれらから製造された物品
JP2008059908A (ja) * 2006-08-31 2008-03-13 Fuji Electric Holdings Co Ltd 固体高分子電解質型燃料電池

Cited By (3)

* Cited by examiner, † Cited by third party
Publication number Priority date Publication date Assignee Title
JP2014072107A (ja) * 2012-09-28 2014-04-21 Dainippon Printing Co Ltd 補強材付き触媒層−電解質膜積層体、固体高分子形燃料電池、及び、補強材付き触媒層−電解質膜積層体の製造方法
JP2014082049A (ja) * 2012-10-15 2014-05-08 Toyota Motor Corp 燃料電池用の膜電極接合体の製造方法と製造装置
JP2014093251A (ja) * 2012-11-06 2014-05-19 Dainippon Printing Co Ltd 補強材付き触媒層−電解質膜積層体、固体高分子形燃料電池、及び、補強材付き触媒層−電解質膜積層体の製造方法

Also Published As

Publication number Publication date
JP5257590B2 (ja) 2013-08-07

Similar Documents

Publication Publication Date Title
US8313606B2 (en) Method and apparatus for manufacturing wound electrode assembly for battery
US11038188B2 (en) Manufacturing device and manufacturing method of fuel cell component
JP6202771B2 (ja) 水輸送構造体
CN110224154B (zh) 装备框架的膜电极组件及其生产方法,以及燃料电池
KR102021625B1 (ko) 연료 전지 어셈블리
KR102817480B1 (ko) 막-전극 접합체의 제조방법
CN101632192A (zh) 膜-膜增强部件组件、膜-催化剂层组件、膜-电极组件、高分子电解质型燃料电池、以及膜-电极组件的制造方法
CN107204478B (zh) 燃料电池用膜电极接合体的制造方法
CN102610836B (zh) 离散支撑的湿侧板
JP5257590B2 (ja) 燃料電池の膜−電極接合体製造方法
JPWO2013031889A1 (ja) 電池用電極の製造方法
JP4959980B2 (ja) 燃料電池
JP2010027227A (ja) 燃料電池用電極の電解質膜の製造方法
JP2012234713A (ja) 電解質膜とフィルムの接合方法、燃料電池の製造方法
CN222673077U (zh) 叠片电芯及电池
JP2013175336A (ja) 燃料電池セルアセンブリの製造方法
JP5472011B2 (ja) 燃料電池
KR102825840B1 (ko) 전극의 교대 공급에 의한 단위셀의 제조방법
JP6212154B2 (ja) 燃料電池用膜電極接合体の製造方法
JP2010146769A (ja) 膜電極接合体および燃料電池スタック
CN117438688A (zh) 叠片极芯的回收方法和回收装置
CN114824305A (zh) 制造膜-电极-副垫片组件的方法和由此制造的不对称膜-电极-副垫片组件
JP2012221651A (ja) 燃料電池用膜電極接合体およびその製造方法
JP7276209B2 (ja) 燃料電池用積層体の製造方法
JP2743498B2 (ja) 燃料電池用セパレータ

Legal Events

Date Code Title Description
A621 Written request for application examination

Free format text: JAPANESE INTERMEDIATE CODE: A621

Effective date: 20100908

A977 Report on retrieval

Free format text: JAPANESE INTERMEDIATE CODE: A971007

Effective date: 20121009

A131 Notification of reasons for refusal

Free format text: JAPANESE INTERMEDIATE CODE: A131

Effective date: 20121017

A521 Request for written amendment filed

Free format text: JAPANESE INTERMEDIATE CODE: A523

Effective date: 20121126

TRDD Decision of grant or rejection written
A01 Written decision to grant a patent or to grant a registration (utility model)

Free format text: JAPANESE INTERMEDIATE CODE: A01

Effective date: 20130327

A61 First payment of annual fees (during grant procedure)

Free format text: JAPANESE INTERMEDIATE CODE: A61

Effective date: 20130409

FPAY Renewal fee payment (event date is renewal date of database)

Free format text: PAYMENT UNTIL: 20160502

Year of fee payment: 3

R151 Written notification of patent or utility model registration

Ref document number: 5257590

Country of ref document: JP

Free format text: JAPANESE INTERMEDIATE CODE: R151

LAPS Cancellation because of no payment of annual fees