JP2010049925A - 燃料電池 - Google Patents

燃料電池 Download PDF

Info

Publication number
JP2010049925A
JP2010049925A JP2008212821A JP2008212821A JP2010049925A JP 2010049925 A JP2010049925 A JP 2010049925A JP 2008212821 A JP2008212821 A JP 2008212821A JP 2008212821 A JP2008212821 A JP 2008212821A JP 2010049925 A JP2010049925 A JP 2010049925A
Authority
JP
Japan
Prior art keywords
intermediate plate
flow path
separator
resin intermediate
resin
Prior art date
Legal status (The legal status is an assumption and is not a legal conclusion. Google has not performed a legal analysis and makes no representation as to the accuracy of the status listed.)
Granted
Application number
JP2008212821A
Other languages
English (en)
Other versions
JP5218752B2 (ja
Inventor
Yusuke Watanabe
祐介 渡辺
Current Assignee (The listed assignees may be inaccurate. Google has not performed a legal analysis and makes no representation or warranty as to the accuracy of the list.)
Toyota Motor Corp
Original Assignee
Toyota Motor Corp
Priority date (The priority date is an assumption and is not a legal conclusion. Google has not performed a legal analysis and makes no representation as to the accuracy of the date listed.)
Filing date
Publication date
Application filed by Toyota Motor Corp filed Critical Toyota Motor Corp
Priority to JP2008212821A priority Critical patent/JP5218752B2/ja
Publication of JP2010049925A publication Critical patent/JP2010049925A/ja
Application granted granted Critical
Publication of JP5218752B2 publication Critical patent/JP5218752B2/ja
Active legal-status Critical Current
Anticipated expiration legal-status Critical

Links

Images

Classifications

    • YGENERAL TAGGING OF NEW TECHNOLOGICAL DEVELOPMENTS; GENERAL TAGGING OF CROSS-SECTIONAL TECHNOLOGIES SPANNING OVER SEVERAL SECTIONS OF THE IPC; TECHNICAL SUBJECTS COVERED BY FORMER USPC CROSS-REFERENCE ART COLLECTIONS [XRACs] AND DIGESTS
    • Y02TECHNOLOGIES OR APPLICATIONS FOR MITIGATION OR ADAPTATION AGAINST CLIMATE CHANGE
    • Y02EREDUCTION OF GREENHOUSE GAS [GHG] EMISSIONS, RELATED TO ENERGY GENERATION, TRANSMISSION OR DISTRIBUTION
    • Y02E60/00Enabling technologies; Technologies with a potential or indirect contribution to GHG emissions mitigation
    • Y02E60/30Hydrogen technology
    • Y02E60/50Fuel cells

Landscapes

  • Fuel Cell (AREA)

Abstract

【課題】3層構造のフラットセパレータを備えた燃料電池において、樹脂製中間プレートの屈曲部における割れ等の発生を防止し、発電動作時のガス配流の乱れ等による発電不良の発生を防止する。
【解決手段】カソード側、アノード側の両プレート12,14と、これら両プレート12,14間に狭持されて内側に冷却媒体流路18を形成する樹脂製中間プレート13とを積層してなるフラットセパレータの、上記樹脂製中間プレート13の冷却媒体流路側の屈曲部をR形状とする(R形状角部51を設ける)。セパレータ昇温時に、カソード側、アノード側の両プレート12,14と、樹脂製中間プレート13との界面に発生するせん断応力の上記屈曲部における集中を抑え、割れ等の発生、ガスリークを防止する。
【選択図】図6

Description

本発明は、カソード側及びアノード側のプレート間に狭持されて内側に冷却媒体流路を形成する中間プレートが樹脂により形成されたフラットセパレータを備える燃料電池に関するものである。
固体高分子型燃料電池は、電解質膜を挟んで対向する2つの電極(酸素極と燃料極)に、水素を含有する燃料ガスと酸素を含有する酸化ガスを各別に供給することによる電気化学反応によって電気エネルギを得るものである。
このような燃料電池の構造としては、MEA(Membrane Electrode Assembly:膜−電極接合体)及びセパレータを積層したものを積層方向に複数個締結してなる構造がよく知られている。
ここで、燃料電池のセパレータとしては、カソード側のプレートと、アノード側のプレートと、両プレートに挟まれた中間プレートとから構成された3層構造を有するものが開発されている(例えば、特許文献1)。
また、プレートの薄板化、フラット(平坦)化のためにカソード側及びアノード側のプレートに反応ガス流路を設けず、内側に冷却媒体流路を形成する中間プレートを備えたフラットセパレータも開発されている(例えば、特許文献2、3)。
更に、プレートを接着する際の温度をより低くすることができ、セパレータの熱変形を抑えることができる等から、中間プレートを樹脂製としたセパレータも知られている(例えば、特許文献4)。
特開2004−6104号公報 特開2006−164765号公報 特開2006−286557号公報 特開2007−109425号公報
特許文献1〜4に記載の従来技術によれば、薄板化、フラット化され、かつ、比較的低温でプレート接合が可能であって熱変形を抑えることができる、等の利点を有するセパレータを作製することが可能となる。
しかし、このような中間プレートを樹脂製とした3層構造のフラットセパレータによると、一般にカソード側及びアノード側の両プレートがステンレス鋼やチタン等の金属によって形成されるため、次のような問題があった。
例えば、中間プレートがポリプロピレンやポリエチレン等の熱溶融性樹脂で形成され、カソード側及びアノード側の両プレートがチタンで形成された3層構造のフラットセパレータを想定する。この場合、前者の樹脂、例えばポリプロピレンの熱膨張係数は約11×10-5/℃であるのに対して、後者のチタンの熱膨張係数は約8.4×10-6/℃であり、前者は後者の10倍以上も大きい。
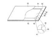
このため、燃料電池(セパレータ)の昇温時、図8中の矢印アに示すように、3層構造の樹脂製中間プレートP1とカソード側及びアノード側の各プレートP2,P3との界面においてせん断応力が発生する。そしてこの応力は、プレートP1〜P3の3層積層接合後において、つまりセパレータとして作製された場合に、図9に示す樹脂製中間プレートP1の冷却媒体流路91側の角部92等の屈曲部に集中し、その部分に割れ、ひび、あるいは剥がれ(以下、割れ等と記す。)93を生じさせる。
この割れ等93は、上記のようなセパレータが燃料電池に組み込まれた場合に、発電動作時において、ガス配流の乱れや、ガスリークの要因となり、発電不良、ひいては発電不能を引き起こす虞があった。
本発明は、上記のような問題に鑑みなされたもので、中間プレートを樹脂製とした3層構造のフラットセパレータを備えた燃料電池において、樹脂製中間プレートの冷却媒体流路側の屈曲部に割れ等が生じることを防止し、発電動作時におけるガス配流の乱れ等を生じさせず、発電不良等の発生を防止することを課題とする。
上記課題は、燃料電池を下記各態様の構成とすることによって解決される。
各態様は、請求項と同様に、項に区分し、各項に番号を付し、必要に応じて他の項の番号を引用する形式で記載する。これは、あくまでも本発明の理解を容易にするためであり、本明細書に記載の技術的特徴及びそれらの組合わせが以下の各項に記載のものに限定されると解釈されるべきではない。また、1つの項に複数の事項が記載されている場合、それら複数の事項を常に一緒に採用しなければならないわけではなく、一部の事項のみを取り出して採用することも可能である。
以下の各項のうち、(1)項が請求項1に、(2)項が請求項2に、(3)項が請求項3に、各々対応する。(4)項は請求項に係る発明ではない。
(1)カソード側のプレートと、アノード側のプレートと、これら両プレート間に狭持されて内側に冷却媒体流路を形成する樹脂製中間プレートとを積層してなるフラットセパレータを備える燃料電池において、前記樹脂製中間プレートの前記冷却媒体流路側の屈曲部をR形状としたことを特徴とする燃料電池。
樹脂製中間プレートにおけるプレートには、樹脂フィルム等の薄膜状樹脂材やシートを含む。
(2)前記R形状は、前記樹脂製中間プレートの作製時に形成されてなる(1)項に記載の燃料電池。
R形状は、樹脂製中間プレートの作製時、例えばインジェクション成形等の型成形や打抜き加工によって樹脂製中間プレートが作製される際に、同時に形成される。
(3)前記樹脂製中間プレートは熱溶融性樹脂製中間プレートであって、前記R形状は、前記熱溶融性樹脂製中間プレートと前記カソード側のプレート又はアノード側のプレートとの積層後に形成されてなる(1)項に記載の燃料電池。
熱溶融性樹脂としては、ポリプロピレンやポリエチレン等が挙げられる。
本項におけるR形状は、例えば樹脂製中間プレートの屈曲部の表面に、加熱した金属製等の丸棒の先端面を押し当て、その屈曲部を加熱溶融させながら押しつぶすことによって形成される。
(4)前記樹脂製中間プレートは樹脂フィルムからなることを特徴とする(1)項、(2)項又は(3)項に記載の燃料電池。
樹脂フィルムは、樹脂製中間プレートの連続生産において取り扱い上の利点が多大で、また、フラットセパレータの更なる薄型化に寄与できる等の利点がある。一方、樹脂製中間プレートとして樹脂フィルムを用いた場合には割れ等が生じ易い。このような事情にあって、樹脂製中間プレートに上記のようなR形状を形成することの効果は大きい。
(1)項に記載の発明によれば、燃料電池(セパレータ)の昇温時に、樹脂製中間プレートの冷却媒体流路側の屈曲部へのせん断応力の集中が抑制され、割れ等の発生を防止できる。したがってこの割れ等に起因する、燃料電池発電動作時に生じるガス配流の乱れ等、ひいては発電不良等の発生を防止することができる。
(2)項に記載の発明によれば、R形状の均一化、均質化が図れ、また、樹脂製中間プレートの作製後のR形状形成のための工程が無用となる。
(3)項に記載の発明によれば、樹脂製中間プレートの作製時にR形状を形成しない、又はできない事情がある場合に、作製後の樹脂製中間プレートの屈曲部に対するR形状の形成を加熱加圧溶融方法等によって極めて簡単に実現できる。
なお、(4)項に記載の発明は、本発明(特許請求の範囲に記載した発明)ではないので、上記課題を解決するための手段の欄に、その効果を述べた。
以下、本発明の実施の形態を図面に基づき説明する。なお、各図間において、同一符号は同一又は相当部分を示す。
図1は、本発明が適用される燃料電池の一例の概略断面図である。
図示するように燃料電池は、フラットセパレータ(以下、単にセパレータと記す。)10と、MEA(膜−電極接合体、Membrane Electrode Assembly)30と、ガス流路形成部40,41とを順次積層した積層体を備えている。
この場合、セパレータ10は、カソード側プレート12、中間プレート13及びアノード側プレート14の3層構造をなす。これらプレート12〜14はいずれもフラットプレートからなる。MEA30とガス流路形成部40,41とは、発電の単位である単セル60を形成しているが、上記セパレータ10は、各単セル60間に配設されて、内部(中間プレート13の内側)に冷却媒体流路18を形成している。
このような単セル60及びセパレータ10からなる構成の単位を繰り返し積層することによって燃料電池が構成される。
図2は、図1中のセパレータ10を構成するカソード側プレート12、中間プレート13、及びアノード側プレート14の概略平面図で、(a)はカソード側プレート12、(b)は中間プレート13、(c)はアノード側プレート14を、各々示す。なお図1は、平面形状が長方形の燃料電池の短手方向の断面を示しており、その断面位置を代表して図2(a)中にI−I線にて示す。
図2(a)〜(c)に示すように、セパレータ10を構成する各プレート12〜14は、外形状、寸法がほぼ等しい長方形の薄板状部材である。各プレート12〜14は、外周部の互いに対応する位置に、辺に沿って細長く形成される複数の穴部20〜25を有している。これら複数の穴部20〜25は、セパレータ10及び単セル60を積層して燃料電池を組み立てたときに、燃料電池内部を積層方向に貫通し、内部を所定の流体が流れるマニホールドを形成する。
すなわち、各プレート12〜14の対応する所定の一辺の近傍には、この辺に沿って複数個、図示例では6個の穴部20が設けられており、また、各プレート12〜14の上記所定の一辺に対向する辺の近傍には、この辺に沿って複数個、図示例では6個の穴部21が設けられている。この場合、穴部20は、電気化学反応に供される酸化ガスが流れる酸化ガス供給マニホールドを形成し、穴部21は、電気化学反応に供された酸化ガスが流入する酸化ガス排出マニホールドを形成する。なお酸化ガスは、酸素を含有するガスであり、ここでは空気を用いている。
各プレート12〜14の更に他の一辺の近傍には、この辺に沿って2つの穴部22,23が設けられている。この場合、穴部20が設けられた辺側には穴部22が設けられ、穴部21が設けられた辺側には穴部23が設けられている。この場合、穴部22は、セパレータ10内の冷却媒体流路(以下、冷媒流路と略記する。)18へと分配される冷却媒体(以下、冷媒を略記する。)が流れる冷媒供給マニホールドを形成し、穴部23は、電気化学反応に供された燃料ガスが流入する燃料ガス排出マニホールドを形成する。なお冷媒としては、例えば不凍液や空気が用いられている。また燃料ガスは、水素を含有するガスであり、ここでは水素ガスを用いている。
上記各プレート12〜14の、他の一辺に対向する辺の近傍には、この辺に沿って2つの穴部24,25が設けられている。この場合、穴部20が設けられた辺側には穴部24が設けられ、穴部21が設けられた辺側には穴部25が設けられている。この場合、穴部24は、電気化学反応に供される燃料ガスが流れる燃料ガス供給マニホールドを形成し、穴部25は、セパレータ10内の冷媒流路18から排出された冷媒が流入する冷媒排出マニホールドを形成する。なお、穴部に付された符号20〜25は、便宜上、各々対応するマニホールドにも付した。
カソード側プレート12は、その外周部に、穴部20〜25に加えて、細長い複数の穴部26,27を備えている。この場合、穴部26は、複数の穴部20の各々に対応して各々の穴部20の近傍に設けられており、穴部20よりも内側において各穴部20に対して平行に形成されている。また穴部27は、複数の穴部21の各々に対応して各々の穴部21の近傍に設けられており、穴部21よりも内側において各穴部21に対して平行に形成されている。
中間プレート13には、外周部に形成される穴部20〜25に加えて、外周部を除く中央部を貫通する略四角形状の穴部である冷媒流路形成部15が形成されている。この冷媒流路形成部15は、中間プレート13がカソード側プレート12とアノード側プレート14とに挟持されたときに、冷媒流路18となる空間を形成する。また、中間プレート13では、穴部20,21、23,24は、他のプレート12,14とは異なる形状を有しており、各穴部20,21、23,24のプレート中央部側の辺が、プレート中央部側へと突出する複数の突出部を備える形状となっている。各穴部20,21、23,24が有する上記複数の突出部を、それぞれ、連通部70,71,73,74という。
また中間プレート13は、穴部22と冷媒流路形成部15とを連通させる複数の貫通孔72を備えている。この複数の貫通孔72は、中間プレート13の長辺方向と平行に、穴部22と冷媒流路形成部15との間を連通させるように、互いに略平行に形成されている。更に中間プレート13は、貫通孔72と同様に、穴部25と冷媒流路形成部15とを連通させる複数の貫通孔75を備えている。
アノード側プレート14は、その外周部に、穴部20〜25に加えて、穴部28,29を備えている。穴部28は、穴部23の近傍に設けられ、穴部23よりも内側において穴部23に対して略平行に形成された細長い穴部である。穴部29は、穴部24の近傍に設けられており、穴部24よりも内側において穴部24に対して略平行に形成された細長い穴部である。
なお、カソード側プレート12に設けられた穴部26と、中間プレート13に設けられた連通部70とは、酸化ガス供給マニホールド20を流れる酸化ガスを、セパレータ10内部を通って、ガス流路形成部40が配設されたセパレータ10表面へと導く酸化ガス供給路を形成する。そして、カソード側プレート12に設けられた穴部27と、中間プレート13に設けられた連通部71とは、ガス流路形成部40が配設されたセパレータ10表面から、セパレータ10内部を通って、酸化ガス排出マニホールド21へと酸化ガスを導く酸化ガス排出路を形成する。
また、アノード側プレート14に設けられた穴部29と、中間プレート13に設けられた連通部74とは、燃料ガス供給マニホールド24を流れる燃料ガスを、セパレータ10内部を通って、ガス流路形成部41が配設されたセパレータ10表面へと導く燃料ガス供給路を形成する。そして、アノード側プレート14に設けられた穴部28と、中間プレート13に設けられた連通部73とは、ガス流路形成部41が配設されたセパレータ10表面から、セパレータ10内部を通って、燃料ガス排出マニホールド23へと燃料ガスを導く燃料ガス排出路を形成する。
上記したカソード側プレート12及びアノード側プレート14は、ステンレス鋼あるいはチタン等の導電性金属によって形成された薄板状部材からなる。そして穴部20〜29は、打ち抜き加工によって形成されている。中間プレート13はポリプロピレンやポリエチレン等の樹脂によって形成されている。
セパレータ10を形成する際には、カソード側プレート12、中間プレート13、アノード側プレート14の順に、各穴部20〜25を位置合わせしつつ重ね合わせて、加熱接着により各プレート12〜14間をシール接合している。
単セル60を構成するMEA30は、電解質層と、電解質層上に形成された触媒電極層とを備えている。図示する燃料電池は、固体高分子型燃料電池であり、電解質層は固体高分子材料からなり、触媒電極層は電気化学反応を促進する触媒からなる。
ガス流路形成部40,41は、導電性及びガス透過性を有する板状部材であり、ガス流路形成部40,41と接するMEA30表面上には、カーボン多孔質体からなる層が配設されている。このガス流路形成部40,41の内部に形成される空間は、電気化学反応に供されるガスの単セル60内での流路を形成する。すなわち、MEA30とカソード側プレート12との間に配設されるガス流路形成部40は、酸化ガスが流れる単セル内酸化ガス流路を形成する。また、MEA30とアノード側プレート14(図示する単セル60の下方側に積層されている図示しないセパレータ10のアノード側プレート14を指す。)との間に配設されるガス流路形成部41は、燃料ガスが流れる単セル内燃料ガス流路を形成する。
隣り合うセパレータ10間であって、MEA30及びガス流路形成部40,41の外周部には、シリコンゴム等の絶縁性樹脂材料によるシール部42がMEA30と一体に設けられている。
図3は、このようなMEA30と一体形成されたシール部42の概略平面図である。
図中のシール部42は、外形状、寸法がセパレータ10とほぼ等しい長方形をなし、セパレータ10と同様に穴部20〜25が形成されている。この図3において、冷媒供給マニホールドを形成する穴部22は「冷媒入口」、冷媒排出マニホールドを形成する穴部25は「冷媒出口」、燃料ガス供給マニホールドを形成する穴部24は「H2入口」、燃料ガス排出マニホールドを形成する穴部23は「H2出口」となっている。
図1において、セパレータ10及び単セル60が作製されると、カソード側プレート12がガス流路形成部40に接し、アノード側プレート14がガス流路形成部41に接するように、セパレータ10と単セル60とを交互に積層することによって燃料電池が製造される。
上記のような燃料電池において、酸化ガス供給マニホールド20に対して酸化ガスを供給すると、酸化ガスは、各々のセパレータ10における連通部70と穴部26とからなる酸化ガス供給路を通って、ガス流路形成部40が形成する単セル内酸化ガス流路へと分配される。
分配された酸化ガスは、電気化学反応に供されつつ、単セル内酸化ガス流路を、酸化ガス排出マニホールド21側へと流れる。単セル内酸化ガス流路における酸化ガスの流れの向きを、MEA30面に対する向きとして、図3に矢印アで示す。
単セル内酸化ガス流路を通過した酸化ガスは、セパレータ10における穴部27と連通部71とからなる酸化ガス排出路を通って、酸化ガス排出マニホールド21へと排出される。マニホールド近傍における酸化ガスの流出入の様子を、図1中に矢印イで示す。
燃料電池において、冷媒供給マニホールド22に対して冷媒を供給すると、冷媒は、各々のセパレータ10における中間プレート13の複数の貫通孔72を通って、冷媒流路18へと分配される。
図4は、図1に示す燃料電池の長手方向の断面図であり、その断面位置を代表して図2(a)中にIV−IV線にて示す。図4では、冷媒供給マニホールド22を流れる冷媒が、複数の貫通孔72〔図2(b)参照〕を通って冷媒流路18へと流入する様子を矢印ウで示している。
貫通孔72を通って分配された冷媒は、冷媒流路18を、冷媒排出マニホールド25側へと流れる。冷媒流路18における冷媒の流れの向きを、MEA30面に対する向きとして、図3に矢印エで示している。冷媒流路18内を流れた冷媒は、図2(b)に示す中間プレート13の貫通孔75を通って、冷媒排出マニホールド25へと排出される。
燃料電池において、燃料ガス供給マニホールド24に対して燃料ガスを供給すると、燃料ガスは、各々のセパレータ10における連通部74と穴部29とからなる燃料ガス供給路を通って、ガス流路形成部41が形成する単セル内燃料ガス流路へと分配される。
燃料ガス供給マニホールド24から単セル内燃料ガス流路へと燃料ガスが流入する様子を、図4に矢印オで示す。
分配された燃料ガスは、電気化学反応に供されつつ、単セル内燃料ガス流路を、燃料ガス排出マニホールド23側へと流れる。単セル内燃料ガス流路における燃料ガスの流れの向きを、MEA30面に対する向きとして、図3に矢印オで示す。
単セル内燃料ガス流路を通過した燃料ガスは、図2(c)に示す穴部28と連通部73とからなる燃料ガス排出路を通って、燃料ガス排出マニホールド23へと排出される。
本発明は、図1、図2、図4に示すように、カソード側、アノード側の両プレート12,14、及びこれら両プレート12,14間に狭持されて内側に冷媒流路18を形成する樹脂製中間プレート13とを積層してなるフラットセパレータを備える燃料電池に係り、次のように構成したものである。
すなわち、図5に例示するように、燃料電池のフラットセパレータを構成する樹脂製中間プレート13の角部、具体的には樹脂製中間プレート13の上記冷媒流路18側(樹脂製中間プレート13単体からみれば、その中央部を貫通する略四角形状の穴部である冷媒流路形成部15)の四隅をなす角部を各々R形状としたものである。図5中、51は各々R形状とされた角部(R形状角部)を指す。
このR形状角部51は、樹脂製中間プレート13の作製時、ここでは樹脂製中間プレート13の成形時や打抜き時に同時形成される。
インジェクション成形等の型成形により樹脂製中間プレート13を作製する場合には、成形金型にR形状を設けておいてR形状角部51を形成すればよい。
打抜き加工により樹脂製中間プレート13を作製する場合には、ピナクルダイ、打抜き金型等にR形状を設けておいてR形状角部51を打抜き形成すればよい。
R形状角部51を樹脂製中間プレート13の作製時に同時形成すれば、形状、大きさ、厚み、品質等の揃ったR形状角部51を形成できる。また、樹脂製中間プレート13の作製後のR形状形成のための工程が無用となる。
図6に、樹脂製中間プレート13に形成されたR形状角部51を、カソード側プレート12及びアノード側プレート14と共に模式的に示す。
樹脂製中間プレート13がポリプロピレンやポリエチレン等の熱溶融性樹脂で形成されている場合には、上記R形状は樹脂製中間プレート13の作製後でも容易に形成できる。
例えば図7に示すように、冷媒流路18側の四隅をなす角部が角形状に成形された樹脂製中間プレート13をフラットセパレータとして組み立てるに当たり、その樹脂製中間プレート13をカソード側プレート12又はアノード側プレート14に積層接合した後においても、上記R形状を形成できる。図示例では、カソード側プレート12又はアノード側プレート14に積層接合された樹脂製中間プレート13の角形状をなす角部52表面に、加熱した金属製等の丸棒53の先端面を押し当て、同角部52を加熱溶融させながら押しつぶすこと(加熱加圧溶融)によってR形状を形成できる。この方法は、樹脂製中間プレート13の作製後のR形状を形成する簡易な方法として有効である。
丸棒53の加熱方法としては、樹脂製中間プレート13の角部52への押し当て前に外部の加熱手段で丸棒53を加熱する方法や、丸棒53自体に組み込まれた加熱手段、例えば電気的な加熱手段によって加熱する方法があるが、いずれの方法を用いてもよい。
樹脂フィルムは、巻いた状態での保管、搬送、生産ラインへの装填等、これを用いた部材の連続生産における取り扱い上の利点は大きく、したがって、樹脂製中間プレート13の量産において、その材料として樹脂フィルムを用いることの利点は大きい。また、このように樹脂製中間プレート13の材料として樹脂フィルムを用いることは、フラットセパレータの更なる薄型化に有効である等の利点もあり、樹脂製中間プレート13として樹脂フィルムを用いることの有用性は大である。一方、樹脂製中間プレート13として樹脂フィルムを用いた場合には、図9に示す割れ等93が生じ易い。
このような事情にあって、樹脂製中間プレート13に上記のようなR形状(R形状角部51)を形成することの効果は大きい。そして、このように樹脂製中間プレート13として樹脂フィルムを用いる場合であって、樹脂フィルムにポリプロピレンやポリエチレン等の熱溶融性樹脂フィルムを用いるときには、上記R形状の形成方法として丸棒53を用いた加熱加圧溶融による方法が極めて有効である。フィルム状の樹脂製中間プレート13は厚みが薄く、加熱加圧溶融が簡単、迅速に行えるからである。
以上説明した実施形態では、図1、図2、図4に示すように、各々フラットなカソード側、アノード側の両プレート12,14、及びこれら両プレート12,14間に狭持されて内側に冷媒流路18を形成する樹脂製中間プレート13とを積層してなるフラットセパレータ10を備えた燃料電池を、次のように構成した。
すなわち図5に示すように、燃料電池のフラットセパレータを構成する樹脂製中間プレート13の冷媒流路18側の四隅をなす角部を各々R形状とした(R形状角部51を設けた)。
したがって、カソード側プレート12及びアノード側プレート14がステンレス鋼やチタン等の導電性金属によって形成された一般的なセパレータ構成においても、その昇温時に、樹脂製中間プレート13の冷媒流路18側の四隅をなす角部へのせん断応力の集中が抑制され、図9に示す割れ等93の発生を防止できる。
この割れ等93は、上記のようなセパレータが燃料電池に組み込まれた場合に、発電動作時において、ガス配流の乱れや、ガスリークの要因となる。このため発電不良、ひいては発電不能を引き起こす虞がでてくるが、本実施形態によれば、上記のような発電動作時におけるガス配流の乱れ等を生じさせず、発電不良等の発生を防止することができる。
また、R形状角部51を樹脂製中間プレート13の作製時に同時形成すれば、R形状角部51の形状、寸法の均一化、均質化が図れる。また、樹脂製中間プレート13の作製後のR形状形成のための工程が無用となる。
更に、樹脂製中間プレート13の作製後のR形状形成方法として丸棒53を用いた加熱加圧溶融方法を用いれば、R形状の形成を極めて簡単に行うことができる。このR形状形成方法による効果は、樹脂製中間プレート13として熱溶融性樹脂フィルムを用いた場合により顕著となる。
なお上述実施形態では、樹脂製中間プレートの冷媒流路側、つまり冷媒流路形成部の四隅をなす角部にR形状(R形状角部)を形成した場合について説明したが、これのみに限定されることはない。樹脂製中間プレートの冷媒流路側において、樹脂製中間プレートとカソード側、アノード側の両プレートとの間の熱膨張係数差に起因してそれらプレート間に生じるせん断応力が集中する屈曲部であれば、いずれの箇所にR形状を形成してもよい。
本発明が適用される燃料電池の一例の概略断面図である。 図1中のセパレータを構成する各プレートの概略平面図である。 MEAと一体形成されたシール部の概略平面図である。 図1に示す燃料電池の長手方向の断面図である。 本発明に係る燃料電池の要部を取り出し拡大して示す平面図である。 樹脂製中間プレートに形成されたR形状角部をカソード側、アノード側の両プレートと共に模式的に示す図である。 樹脂製中間プレートの作製後にR形状を形成する例を説明するための図である。 燃料電池のフラットセパレータを構成するカソード側、アノード側の両金属プレートと樹脂製中間プレート間においてせん断応力が発生する様子を示す図である。 同上せん断応力の集中によって樹脂製中間プレートの屈曲部に発生した割れ等の説明図である。
符号の説明
10:フラットセパレータ、12:カソード側プレート、13:樹脂製中間プレート、14:アノード側プレート、15:冷媒流路形成部(冷却媒体流路形成部)、18,91:冷媒流路(冷却媒体流路)、30:MEA、51:R形状角部、52,92:角部、53:丸棒、60:単セル、93:割れ等。

Claims (3)

  1. カソード側のプレートと、アノード側のプレートと、これら両プレート間に狭持されて内側に冷却媒体流路を形成する樹脂製中間プレートとを積層してなるフラットセパレータを備える燃料電池において、前記樹脂製中間プレートの前記冷却媒体流路側の屈曲部をR形状としたことを特徴とする燃料電池。
  2. 前記R形状は、前記樹脂製中間プレートの作製時に形成されてなる請求項1に記載の燃料電池。
  3. 前記樹脂製中間プレートは熱溶融性樹脂製中間プレートであって、前記R形状は、前記熱溶融性樹脂製中間プレートと前記カソード側のプレート又はアノード側のプレートとの積層後に形成されてなる請求項1に記載の燃料電池。

JP2008212821A 2008-08-21 2008-08-21 燃料電池 Active JP5218752B2 (ja)

Priority Applications (1)

Application Number Priority Date Filing Date Title
JP2008212821A JP5218752B2 (ja) 2008-08-21 2008-08-21 燃料電池

Applications Claiming Priority (1)

Application Number Priority Date Filing Date Title
JP2008212821A JP5218752B2 (ja) 2008-08-21 2008-08-21 燃料電池

Publications (2)

Publication Number Publication Date
JP2010049925A true JP2010049925A (ja) 2010-03-04
JP5218752B2 JP5218752B2 (ja) 2013-06-26

Family

ID=42066837

Family Applications (1)

Application Number Title Priority Date Filing Date
JP2008212821A Active JP5218752B2 (ja) 2008-08-21 2008-08-21 燃料電池

Country Status (1)

Country Link
JP (1) JP5218752B2 (ja)

Citations (2)

* Cited by examiner, † Cited by third party
Publication number Priority date Publication date Assignee Title
JP2007012382A (ja) * 2005-06-29 2007-01-18 Fco Kk セパレータ及び該セパレータを備える燃料電池
JP2008186671A (ja) * 2007-01-29 2008-08-14 Toyota Motor Corp 燃料電池、および、燃料電池を構成するセパレータ

Patent Citations (2)

* Cited by examiner, † Cited by third party
Publication number Priority date Publication date Assignee Title
JP2007012382A (ja) * 2005-06-29 2007-01-18 Fco Kk セパレータ及び該セパレータを備える燃料電池
JP2008186671A (ja) * 2007-01-29 2008-08-14 Toyota Motor Corp 燃料電池、および、燃料電池を構成するセパレータ

Also Published As

Publication number Publication date
JP5218752B2 (ja) 2013-06-26

Similar Documents

Publication Publication Date Title
JP6368807B2 (ja) 燃料電池スタックの製造方法及び燃料電池用金属セパレータの製造方法
CN103515632B (zh) 燃料电池用电解质膜-电极结构体
JP5683433B2 (ja) 燃料電池スタック
CN110416589B (zh) 燃料电池堆、燃料电池堆用的虚设单电池及其制造方法
CN106611864B (zh) 燃料电池用带树脂框的电解质膜-电极构造体
KR20100006167A (ko) 연료전지
JP2008171613A (ja) 燃料電池
JP2023139564A (ja) 燃料電池セル
JP2016100152A (ja) 燃料電池用樹脂枠付き電解質膜・電極構造体
JP5476708B2 (ja) 燃料電池および燃料電池の製造方法
JP2015090793A (ja) 燃料電池用樹脂枠付き電解質膜・電極構造体
JP5181678B2 (ja) 燃料電池用膜電極接合体及びその製造方法
JP5141281B2 (ja) 燃料電池用電極集成体の製造方法
JP5218752B2 (ja) 燃料電池
JP5081494B2 (ja) 燃料電池
JP4669242B2 (ja) 燃料電池用配管部材及びその製造方法
JP2007220403A (ja) 燃料電池のセパレータおよび燃料電池スタック並びにその製造方法
JP4880995B2 (ja) 燃料電池モジュール及び燃料電池スタック
JP2013187030A (ja) 燃料電池セル、および、燃料電池セルの製造方法
JP2011146345A (ja) 燃料電池用セパレータ
JP2017152281A (ja) 燃料電池セルの製造方法
JP2007328935A (ja) 燃料電池に用いられる膜電極接合体、燃料電池、および、膜電極接合体の製造方法
JP2009224275A (ja) 燃料電池用セパレータ及びその製造方法並びに燃料電池
JP5003989B2 (ja) 単電池、単電池の製造方法、燃料電池
JP2024127171A (ja) 燃料電池

Legal Events

Date Code Title Description
A621 Written request for application examination

Free format text: JAPANESE INTERMEDIATE CODE: A621

Effective date: 20101118

A131 Notification of reasons for refusal

Free format text: JAPANESE INTERMEDIATE CODE: A131

Effective date: 20121205

A521 Written amendment

Free format text: JAPANESE INTERMEDIATE CODE: A523

Effective date: 20130116

TRDD Decision of grant or rejection written
A01 Written decision to grant a patent or to grant a registration (utility model)

Free format text: JAPANESE INTERMEDIATE CODE: A01

Effective date: 20130206

A61 First payment of annual fees (during grant procedure)

Free format text: JAPANESE INTERMEDIATE CODE: A61

Effective date: 20130219

FPAY Renewal fee payment (event date is renewal date of database)

Free format text: PAYMENT UNTIL: 20160315

Year of fee payment: 3

R151 Written notification of patent or utility model registration

Ref document number: 5218752

Country of ref document: JP

Free format text: JAPANESE INTERMEDIATE CODE: R151

FPAY Renewal fee payment (event date is renewal date of database)

Free format text: PAYMENT UNTIL: 20160315

Year of fee payment: 3