JP2010048654A - 濃度測定装置 - Google Patents

濃度測定装置 Download PDF

Info

Publication number
JP2010048654A
JP2010048654A JP2008212751A JP2008212751A JP2010048654A JP 2010048654 A JP2010048654 A JP 2010048654A JP 2008212751 A JP2008212751 A JP 2008212751A JP 2008212751 A JP2008212751 A JP 2008212751A JP 2010048654 A JP2010048654 A JP 2010048654A
Authority
JP
Japan
Prior art keywords
pressure
sample chamber
gas sample
atmosphere
carbon dioxide
Prior art date
Legal status (The legal status is an assumption and is not a legal conclusion. Google has not performed a legal analysis and makes no representation as to the accuracy of the status listed.)
Granted
Application number
JP2008212751A
Other languages
English (en)
Other versions
JP5562539B2 (ja
Inventor
Yoshiro Miyazaki
芳郎 宮崎
Current Assignee (The listed assignees may be inaccurate. Google has not performed a legal analysis and makes no representation or warranty as to the accuracy of the list.)
Yazaki Corp
Original Assignee
Yazaki Corp
Priority date (The priority date is an assumption and is not a legal conclusion. Google has not performed a legal analysis and makes no representation as to the accuracy of the date listed.)
Filing date
Publication date
Application filed by Yazaki Corp filed Critical Yazaki Corp
Priority to JP2008212751A priority Critical patent/JP5562539B2/ja
Publication of JP2010048654A publication Critical patent/JP2010048654A/ja
Application granted granted Critical
Publication of JP5562539B2 publication Critical patent/JP5562539B2/ja
Expired - Fee Related legal-status Critical Current
Anticipated expiration legal-status Critical

Links

Images

Landscapes

  • Sampling And Sample Adjustment (AREA)
  • Investigating Or Analysing Materials By Optical Means (AREA)

Abstract

【課題】気体サンプル室内の圧力を一定に保つことができる濃度測定装置を提供する。
【解決手段】濃度測定装置1の二酸化炭素モジュール2内の圧力を絶対圧センサ43で測定し、その測定結果と予め設定した基準圧力設定値とを減算して、基準圧力設定値よりも二酸化炭素モジュール2内の圧力が低い場合は、ポンプ45のモータの回転数を高めて二酸化炭素モジュール2内に供給する雰囲気の流速を上げ、基準圧力設定値よりも二酸化炭素モジュール2内の圧力が高い場合は、ポンプ45のモータの回転数を低くして二酸化炭素モジュール2内に供給する雰囲気の流速を下げている。
【選択図】図1

Description

本発明は、二酸化炭素などの所定の気体の濃度を測定する濃度測定装置に関する。
例えば、二酸化炭素などの所定の気体の濃度を測定する濃度測定装置は、光源と、光源からの光を導く気体サンプル室と、気体サンプル室から導かれた光源からの光を受光するセンサが設けられた受光部と、気体サンプル室内に雰囲気を供給する供給部と、気体サンプル室内の雰囲気を排出する排出部と、センサが受光した光源からの光の強さに基づいて気体サンプル室内の予め定められた気体の濃度を算出する濃度算出部と、を備えている。
光源は、例えば、赤外線を放射する。受光器は、赤外線センサと、前記赤外線センサと光源との間に配置されて所定の波長の赤外線のみを透過するフィルタとを備えている。フィルタを透過する赤外線の波長は、測定対象の気体の濃度により定められる。
そして、濃度測定装置は、気体サンプル室内に雰囲気をポンプなどによって供給部から供給し、フィルタを介して赤外線センサが受光した光源からの赤外線の強さを測定することで、前記雰囲気中の前述した測定対象の気体の濃度を測定する(例えば特許文献1を参照)。
また、気体の濃度は、圧力によって変動するために、気体サンプル室内の圧力を測定してその圧力に基づいて濃度を補正する補正方法が特許文献2に記載されている。
特開2007−212315号公報 特開2003−14632号公報
前述した特許文献2に示された補正方法は、ボイル=シャルルの法則を適用して行っているために、低濃度(数百ppm以下)では、正確に圧力補正を行うことができないという問題があった。
特許文献2では圧力変動があることを前提にして補正を行なっているが、雰囲気の圧力の変動を無くして気体サンプル室内の圧力を一定に保つことができれば補正式による補正などを行なう必要はない。
そこで、本発明は、気体サンプル室内の圧力を一定に保つことができる濃度測定装置を提供すること課題とする。
上記課題を解決するためになされた請求項1に記載の発明は、光源と、前記光源からの光を導く気体サンプル室と、前記気体サンプル室から導かれた前記光源からの光を受光するセンサが設けられた受光部と、前記気体サンプル室内に雰囲気を供給する供給部と、前記気体サンプル室内の雰囲気を排出する排出部と、前記センサが受光した前記光源からの光の強さに基づいて前記気体サンプル室内の予め定められた気体の濃度を算出する濃度算出部と、を備えた濃度測定装置において、前記気体サンプル室内の圧力を測定する圧力測定手段と、前記圧力測定手段で測定された前記気体サンプル室内の圧力と予め設定された所定の圧力とを比較する圧力比較手段と、前記圧力比較手段の比較結果に基づいて前記供給部への前記雰囲気の供給量を変更する供給量変更手段と、を備えたことを特徴とする濃度測定装置である。
請求項2に記載の発明は、請求項1に記載の発明において、前記圧力比較手段で比較した結果前記気体サンプル室内の圧力が、前記予め設定された所定の圧力よりも低い場合は、前記供給量変更手段が前記供給部への雰囲気の供給量を多くすることを特徴とするものである。
請求項3に記載の発明は、請求項1または2に記載の発明において、前記圧力比較手段で比較した結果前記気体サンプル室内の圧力が、前記予め設定された所定の圧力よりも高い場合は、前記供給量変更手段が前記供給部への雰囲気の供給量を少なくすることを特徴とするものである。
請求項4に記載の発明は、請求項1乃至3のうちいずれか一項に記載の発明において、前記排出部にオリフィスを設けたことを特徴とするものである。
以上説明したように請求項1に記載の発明によれば、圧力測定手段で測定された前記気体サンプル室内の圧力と予め設定された所定の圧力とを圧力比較手段で比較し、その比較結果に基づいて供給量変更手段が供給部の雰囲気の供給量を変更しているので、気体サンプル室内の圧力を所定の圧力に保つことができ、圧力の補正等が不要となる。したがって、圧力に依存することなく精度の良い濃度を測定することができる。
請求項2に記載の発明によれば、圧力比較手段で比較した結果気体サンプル室内の圧力が、予め設定された所定の圧力よりも低い場合は、供給量変更手段が供給部の雰囲気の供給量が多くなるようにしているので、気体サンプル室の圧力を一定に保つように、雰囲気の流速を上げるようにすることができる。
請求項3に記載の発明によれば、圧力比較手段で比較した結果気体サンプル室内の圧力が、予め設定された所定の圧力よりも高い場合は、供給量変更手段が供給部の雰囲気の供給量が少なくなるようにしているので、気体サンプル室の圧力を一定に保つように、雰囲気の流速を下げるようにすることができる。
請求項4に記載の発明によれば、排出部にオリフィス構造を設けているので、気体サンプル室内の圧力変動が大きくなることを抑制し圧力変動に対してコントロールしやすくすることができる。
以下、本発明の一実施形態に係る濃度測定装置を、図1乃至図6を参照して説明する。
濃度測定装置1は、図1に示すように、濃度の測定対象の気体を含んだ雰囲気が充填される気体サンプル室としての二酸化炭素モジュール2と、コントロールユニット42と、圧力測定手段としての絶対圧センサ43と、圧力比較手段としての減算器44と、供給量変更手段としてのポンプ45と、湿度センサ46と、を備えている。
二酸化炭素モジュール2は図1や図2に示すように、測定セル6と、発光部40と、受光部41と、供給部としてのINLET47と、排出部としてのOUTLET48と、を備えている。
測定セル6は、円筒状に形成されて、後述する光源7からの赤外線を受光ユニット8に導くように形成されている。
発光部40は、測定セル6の一端に備えられて例えば略箱状に形成され、内部に光源7が設けられている。光源7は、電圧が印加されることで、光としての赤外線を測定セル6の一端部から他端部に向かって放射する。光源として、例えば黒体炉、電球等が用いられる。また、光源7には、リフレクタ30が取り付けられている。リフレクタ30は、光源7から出射された光を反射させ、受光ユニット8へ平行光として向かわせる。
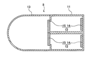
受光部41は、測定セル6の他端に備えられて例えば略箱状に形成され、内部に受光ユニット8が設けられている。受光ユニット8は、図3及び図4に示すように、ユニット本体11と、複数の受光器12と、集光部材13と、を備えている。ユニット本体11は、箱状に形成されている。
受光器12は、図示例では、2つ設けられている。受光器12は、それぞれ、センサとしての赤外線センサ14と、透過部材15とを備えている。赤外線センサ14は、ユニット本体11に取り付けられている。複数の受光器12の赤外線センサ14は、同一平面上に配置されている。赤外線センサ14は、光源7が発しかつ透過部材15を透過した赤外線を受光し、この赤外線の熱を電気エネルギーに変換する。赤外線センサ14は、赤外線の熱を電気エネルギーに変換して、センサ出力として後述するコントロールユニット42のμCOM5に向かって出力する。赤外線センサ14として、例えばサーモパイル型のものが用いられる。
透過部材15は、ユニット本体11に取り付けられて、赤外線センサ14と光源7との間に配置されている。複数の受光器12の透過部材15は、同一平面上に配置されている。透過部材15は、それぞれ、光源7からの赤外線のうち予め定められた波長の赤外線のみを透過して、当該透過した波長の赤外線を赤外線センサ14まで導く。複数の受光器12の透過部材15は、互いに透過する赤外線の波長が異なる。
透過部材15は、その透過する赤外線の波長は、濃度測定装置1が濃度の測定対象とする気体に応じて定められる。透過部材15の透過する赤外線の波長は、濃度の測定対象の気体に対する透過率が小さな赤外線の波長にされる。なお、受光器12は、二酸化炭素を測定対象の気体としている。図示例では、一方の受光器12は、基準として用いられ、その透過部材15が大気中で全く減衰しない波長が4.0μm付近の赤外線のみを透過する。他方の受光器12は、二酸化炭素の濃度を測定するために用いられ、その透過部材15が前述した二酸化炭素中で減衰しやすい波長が4.3μm付近の赤外線のみを透過する。
集光部材13は、例えば300度などの所定の角度の範囲の赤外線を集光して、透過部材15つまり赤外線センサ14に集中させる。すると、光源7から直接入射する赤外線以外にも、測定セル6の外壁の内面で反射す赤外線も赤外線センサ14に集めることができるので、赤外線の受光効率を良くすることができる。なお、集光部材13として、フレーネルレンズ等を用いることができる。
INLET47は、大気などの外部の雰囲気を二酸化炭素モジュール2内へ供給するための配管であり、筒状に形成され発光部40もしくは受光部41に接続されている。
OUTLET48は、二酸化炭素モジュール2内の雰囲気を外部へ排出するための配管であり、筒状に形成され受光部41もしくは発光部40に接続されている。また、OUTLET48は、図5に示したように内部にオリフィス50が設けられている。オリフィス50は円盤上に形成された板に複数の小穴51が設けられており雰囲気の流れる方向に対して垂直に設けられている。
コントロールユニット42は、図2に示したように、制御回路部3と、受光回路部4と、濃度算出部としてのマイクロコンピュータ(以下、μcomと記載する)5と、を備えている。
制御回路部3は、図2に示すように、発振器16、クロック分周回路17、定電圧回路18などを備えており、μcom5の命令とおりに、所定の周波数で光源7を点滅(パルス点灯)させる。
受光回路部4は、図6に示すように、複数のアンプ19と、切り換え器20と、A/D変換器21と、を備えている。アンプ19は、それぞれ、赤外線センサ14と1対1に対応して設けられている。アンプ19は、対応する赤外線センサ14からの信号を増幅して、切り換え器20を介してA/D変換器21に向かって出力する。A/D変換器21は、赤外線センサ14からの信号をデジタル信号に変換して、μcom5に向かって出力する。
μcom5は、制御回路部3及び受光回路部4と接続して、これらの動作を制御することで、濃度測定装置1全体の動作をつかさどる。μcom5は、予め定められたプログラムに従って動作するコンピュータである。このμcom5は、周知のように、予め定めたプログラムに従って各種の処理や制御などを行う中央演算処理装置(CPU)、CPUのためのプログラム等を格納した読み出し専用のメモリであるROM、各種のデータを格納するとともにCPUの処理作業に必要なエリアを有する読み出し書き込み自在のメモリであるRAM等を有して構成している。
また、μcom5には、濃度測定装置1自体がオフ状態の間も記憶内容の保持が可能な電気的消去/書き換え可能な読み出し専用のメモリが接続している。そして、このメモリには、濃度の算出に必要な吸光係数、測定距離、濃度変換係数等の各種情報を記憶するとともに、算出した濃度を外部から読出可能に時系列的に記憶する。
前述した構成の濃度測定装置1は、光源7を点滅(パルス点灯)させて、この光源7からの赤外線を各赤外線センサ14で受光する。そして、濃度測定装置1のμcom5は、赤外線センサ14に受光した赤外線の強さなどに基づいて、予め定められた気体(二酸化炭素)の雰囲気中の濃度を測定する。具体的には、濃度測定装置1のμcom5は、基準として用いられる赤外線センサ14で受光した赤外線の強さと、二酸化炭素を測定するための赤外線センサ14で受光した赤外線の強さとを比較して、測定対象の二酸化炭素の濃度を測定する。
絶対圧センサ43は、例えば半導体式の圧力センサなどで構成されて、二酸化炭素モジュール2内の絶対圧(完全真空を基準とした圧力)を測定するセンサである。
減算器44は、予め設定された所定の圧力としての基準圧力設定値と絶対圧センサ43が測定した二酸化炭素モジュール2内の絶対圧とを減算し、その結果をポンプ45へ出力する。基準圧力設定値は例えば1気圧(1013hPa)以上の絶対圧を設定するのが望ましい。
ポンプ45は、内蔵するモータによって外部の大気などの雰囲気を吸引して湿度センサ46に出力する。また、ポンプ45は、減算器44の結果に基づいて、モータの回転数を変更させて湿度センサ46に出力する雰囲気の流速を変更する。
湿度センサ46は、例えば高分子膜式のセンサで構成され、二酸化炭素モジュール2のINLET47に設けられ、二酸化炭素モジュール2内に供給される雰囲気の湿度を測定する。
本実施形態の濃度測定装置は、減算器44で減算した結果が正の値となった場合は、基準圧力設定値よりも絶対圧センサ43で測定した二酸化炭素モジュール2内の絶対圧が低いと判断し、ポンプ45はモータの回転数を高めて吸引する雰囲気の量を多くして二酸化炭素モジュール2内に供給する雰囲気の流速を上げる。つまり、流速を上げることで二酸化炭素モジュール2内の絶対圧を上昇させる。すなわち、二酸化炭素モジュール2内の圧力が、基準圧力設定値よりも低い場合は、ポンプ45がINLET47への雰囲気の供給量を多くしている。
また、減算器44で減算した結果が負の値となった場合は、基準圧力設定値よりも絶対圧センサ43で測定した二酸化炭素モジュール2内の絶対圧が高いと判断し、ポンプ45はモータの回転数を低くして吸引する雰囲気の量を少なくして二酸化炭素モジュール2内に供給する雰囲気の流速を下げる。つまり、流速を下げることで二酸化炭素モジュール2内の絶対圧を下降させる。すなわち、二酸化炭素モジュール2内の圧力が、基準圧力設定値よりも高い場合は、ポンプ45がINLET47への雰囲気の供給量を少なくしている。そして、減算器44で減算した結果が0の場合は二酸化炭素モジュール2内の絶対圧が基準圧力設定値となっているのでポンプ45のモータの回転数は変更しない。
なお、本実施形態では、減算器44を設けて絶対圧センサ43の出力を基準圧力設定値と減算していたが、絶対圧センサ43の出力をコントロールユニット42のμcom5へ入力し、μcom5内のメモリなどに基準圧力設定値を記憶させておいて、それらを比較して比較結果をコントロールユニット42からポンプ45へ出力する構成としてもよい。
本実施形態によれば、濃度測定装置1の二酸化炭素モジュール2内の圧力を絶対圧センサ43で測定し、その測定結果と予め設定した基準圧力設定値とを減算して、基準圧力設定値よりも二酸化炭素モジュール2内の絶対圧が低い場合は、ポンプ45のモータの回転数を高めて二酸化炭素モジュール2内に供給する雰囲気の流速を上げ、基準圧力設定値よりも二酸化炭素モジュール2内の絶対圧が高い場合は、ポンプ45のモータの回転数を低くして二酸化炭素モジュール2内に供給する雰囲気の流速を下げているので、二酸化炭素モジュール2内の圧力を所定の圧力に保つことができ、圧力の補正等が不要となる。したがって、圧力に依存することなく精度の良い濃度を測定することができる。
また、OUTLET48に、オリフィス50を設けたので、気体サンプル室内の圧力変動が大きくなることを抑制し圧力変動に対してコントロールし易くすることができる。
なお、前述した実施形態は本発明の代表的な形態を示したに過ぎず、本発明は、実施形態に限定されるものではない。即ち、本発明の骨子を逸脱しない範囲で種々変形して実施することができる。
本発明の一実施形態にかかる濃度測定装置の構成を示す説明図である。 図1に示された二酸化炭素モジュールとコントロールユニットの構成を示す説明図である。 図2に示された二酸化炭素モジュールの受光ユニットの正面を模式的に示す説明図である。 図3中のVI−VI線の断面を模式的に示す説明図である。 図1に示されたOUTLETの内部を示した断面斜視図である。 図1に示された濃度測定装置の受光回路の構成を示す説明図である。
符号の説明
1 濃度測定装置
2 二酸化炭素モジュール(気体サンプル室)
7 光源
14 赤外線センサ(センサ)
40 発光部
41 受光部
43 絶対圧センサ(圧力測定手段)
44 減算器(圧力比較手段)
45 ポンプ(供給量変更手段)
47 INLET(供給部)
48 OURLET(排出部)
50 オリフィス

Claims (4)

  1. 光源と、前記光源からの光を導く気体サンプル室と、前記気体サンプル室から導かれた前記光源からの光を受光するセンサが設けられた受光部と、前記気体サンプル室内に雰囲気を供給する供給部と、前記気体サンプル室内の雰囲気を排出する排出部と、前記センサが受光した前記光源からの光の強さに基づいて前記気体サンプル室内の予め定められた気体の濃度を算出する濃度算出部と、を備えた濃度測定装置において、
    前記気体サンプル室内の圧力を測定する圧力測定手段と、
    前記圧力測定手段で測定された前記気体サンプル室内の圧力と予め設定された所定の圧力とを比較する圧力比較手段と、
    前記圧力比較手段の比較結果に基づいて前記供給部への前記雰囲気の供給量を変更する供給量変更手段と、
    を備えたことを特徴とする濃度測定装置。
  2. 前記圧力比較手段で比較した結果前記気体サンプル室内の圧力が、前記予め設定された所定の圧力よりも低い場合は、前記供給量変更手段が前記供給部への雰囲気の供給量を多くすることを特徴とする請求項1に記載の濃度測定装置。
  3. 前記圧力比較手段で比較した結果前記気体サンプル室内の圧力が、前記予め設定された所定の圧力よりも高い場合は、前記供給量変更手段が前記供給部への雰囲気の供給量を少なくすることを特徴とする請求項1または2に記載の濃度測定装置。
  4. 前記排出部にオリフィスを設けたことを特徴とする請求項1乃至3のうちいずれか一項に記載の濃度測定装置。
JP2008212751A 2008-08-21 2008-08-21 濃度測定装置 Expired - Fee Related JP5562539B2 (ja)

Priority Applications (1)

Application Number Priority Date Filing Date Title
JP2008212751A JP5562539B2 (ja) 2008-08-21 2008-08-21 濃度測定装置

Applications Claiming Priority (1)

Application Number Priority Date Filing Date Title
JP2008212751A JP5562539B2 (ja) 2008-08-21 2008-08-21 濃度測定装置

Publications (2)

Publication Number Publication Date
JP2010048654A true JP2010048654A (ja) 2010-03-04
JP5562539B2 JP5562539B2 (ja) 2014-07-30

Family

ID=42065858

Family Applications (1)

Application Number Title Priority Date Filing Date
JP2008212751A Expired - Fee Related JP5562539B2 (ja) 2008-08-21 2008-08-21 濃度測定装置

Country Status (1)

Country Link
JP (1) JP5562539B2 (ja)

Citations (13)

* Cited by examiner, † Cited by third party
Publication number Priority date Publication date Assignee Title
JPH0531547Y2 (ja) * 1987-08-07 1993-08-13
JPH05296893A (ja) * 1992-04-22 1993-11-12 Horiba Ltd 希釈サンプリング装置の希釈比切換装置
JPH0669806U (ja) * 1993-02-26 1994-09-30 株式会社堀場製作所 ガス濃度測定装置
JPH09178656A (ja) * 1995-12-26 1997-07-11 Shimadzu Corp 赤外線ガス分析計
JPH10281988A (ja) * 1997-04-09 1998-10-23 Nippon Sanso Kk ガス分析方法及びガス分析装置
JP2003014591A (ja) * 2001-06-27 2003-01-15 Shimadzu Corp ガス分析計
JP2003014632A (ja) * 2001-06-28 2003-01-15 Ishikawajima Harima Heavy Ind Co Ltd 紫外線吸収等によるガス濃度モニターのガス圧補正方法及び補正システム
JP2003057155A (ja) * 2001-08-14 2003-02-26 Dowa Mining Co Ltd ガス試料採取装置及び方法
JP2004239611A (ja) * 1999-10-12 2004-08-26 Nok Corp Coセンサ
JP2005156306A (ja) * 2003-11-25 2005-06-16 Horiba Ltd 流路切換式分析計およびこれを用いた測定装置
JP3679065B2 (ja) * 2002-03-29 2005-08-03 株式会社ユー・ドム 大気中のガス濃度測定装置
JP2007248369A (ja) * 2006-03-17 2007-09-27 Horiba Ltd ガス分析計及びガス分析方法
WO2008016569A2 (en) * 2006-07-31 2008-02-07 Applied Materials, Inc. Methods and apparatus for insitu analysis of gases in electronic device fabrication systems

Patent Citations (13)

* Cited by examiner, † Cited by third party
Publication number Priority date Publication date Assignee Title
JPH0531547Y2 (ja) * 1987-08-07 1993-08-13
JPH05296893A (ja) * 1992-04-22 1993-11-12 Horiba Ltd 希釈サンプリング装置の希釈比切換装置
JPH0669806U (ja) * 1993-02-26 1994-09-30 株式会社堀場製作所 ガス濃度測定装置
JPH09178656A (ja) * 1995-12-26 1997-07-11 Shimadzu Corp 赤外線ガス分析計
JPH10281988A (ja) * 1997-04-09 1998-10-23 Nippon Sanso Kk ガス分析方法及びガス分析装置
JP2004239611A (ja) * 1999-10-12 2004-08-26 Nok Corp Coセンサ
JP2003014591A (ja) * 2001-06-27 2003-01-15 Shimadzu Corp ガス分析計
JP2003014632A (ja) * 2001-06-28 2003-01-15 Ishikawajima Harima Heavy Ind Co Ltd 紫外線吸収等によるガス濃度モニターのガス圧補正方法及び補正システム
JP2003057155A (ja) * 2001-08-14 2003-02-26 Dowa Mining Co Ltd ガス試料採取装置及び方法
JP3679065B2 (ja) * 2002-03-29 2005-08-03 株式会社ユー・ドム 大気中のガス濃度測定装置
JP2005156306A (ja) * 2003-11-25 2005-06-16 Horiba Ltd 流路切換式分析計およびこれを用いた測定装置
JP2007248369A (ja) * 2006-03-17 2007-09-27 Horiba Ltd ガス分析計及びガス分析方法
WO2008016569A2 (en) * 2006-07-31 2008-02-07 Applied Materials, Inc. Methods and apparatus for insitu analysis of gases in electronic device fabrication systems

Also Published As

Publication number Publication date
JP5562539B2 (ja) 2014-07-30

Similar Documents

Publication Publication Date Title
KR102122840B1 (ko) 분광 분석 방법 및 분광 분석 장치
US7805256B2 (en) Dynamic measured-value filter for a gas sensor arrangement
CN107478612B (zh) 用于检测过滤器积尘的传感器及方法
KR101487226B1 (ko) 대기중 오존 측정을 위한 표준 교정 방법 및 표준 교정 장치
CN210051741U (zh) 具有校准功能的车用空气质量检测装置及车辆
CN101435766A (zh) 烟传感器与电子装备
CN107923848B (zh) 气体浓度检测装置
JP4766697B2 (ja) 小型ガス検知装置
JP5175654B2 (ja) 気体サンプル室、及び、この気体サンプル室を備える濃度測定装置
US8077316B2 (en) Chlorine dioxide sensor
JP5562539B2 (ja) 濃度測定装置
JP5335638B2 (ja) 煙感知器および火災報知器
JP2009145125A (ja) 気体サンプル室及びこの気体サンプル室を備えた濃度測定装置
JP5026940B2 (ja) 気体サンプル室及びこの気体サンプル室を備えた濃度測定装置
CN110514588A (zh) 双检测器气体检测系统
JP2008292321A (ja) ガス濃度測定装置
JP2009128111A (ja) 受光ユニット及び濃度測定装置
JP5148921B2 (ja) ガス濃度測定装置及び光源駆動回路
JP5562538B2 (ja) 濃度測定装置
JP2010060484A (ja) 気体セル、気体サンプル室、及び、濃度測定装置
JP2019045149A (ja) 機能水濃度センサ
JP2009109344A (ja) 赤外線検出装置
JP2009042064A (ja) 信号処理回路、信号処理方法およびガスセンサ
CN221078434U (zh) 一种基于光声原理的气体传感器
JP2010060485A (ja) 気体セル、気体サンプル室、及び、濃度測定装置

Legal Events

Date Code Title Description
A621 Written request for application examination

Free format text: JAPANESE INTERMEDIATE CODE: A621

Effective date: 20110630

A977 Report on retrieval

Free format text: JAPANESE INTERMEDIATE CODE: A971007

Effective date: 20121105

A131 Notification of reasons for refusal

Free format text: JAPANESE INTERMEDIATE CODE: A131

Effective date: 20121113

A131 Notification of reasons for refusal

Free format text: JAPANESE INTERMEDIATE CODE: A131

Effective date: 20130730

A521 Written amendment

Free format text: JAPANESE INTERMEDIATE CODE: A523

Effective date: 20130918

TRDD Decision of grant or rejection written
A01 Written decision to grant a patent or to grant a registration (utility model)

Free format text: JAPANESE INTERMEDIATE CODE: A01

Effective date: 20140520

A61 First payment of annual fees (during grant procedure)

Free format text: JAPANESE INTERMEDIATE CODE: A61

Effective date: 20140611

R150 Certificate of patent or registration of utility model

Ref document number: 5562539

Country of ref document: JP

Free format text: JAPANESE INTERMEDIATE CODE: R150

LAPS Cancellation because of no payment of annual fees