JP2010048307A - ホース端部への継手部材の取付方法及びその装置 - Google Patents

ホース端部への継手部材の取付方法及びその装置 Download PDF

Info

Publication number
JP2010048307A
JP2010048307A JP2008211793A JP2008211793A JP2010048307A JP 2010048307 A JP2010048307 A JP 2010048307A JP 2008211793 A JP2008211793 A JP 2008211793A JP 2008211793 A JP2008211793 A JP 2008211793A JP 2010048307 A JP2010048307 A JP 2010048307A
Authority
JP
Japan
Prior art keywords
diameter
hose
socket
caulking
joint member
Prior art date
Legal status (The legal status is an assumption and is not a legal conclusion. Google has not performed a legal analysis and makes no representation as to the accuracy of the status listed.)
Granted
Application number
JP2008211793A
Other languages
English (en)
Other versions
JP5229463B2 (ja
Inventor
Yugo Nagase
友吾 長瀬
Masakazu Yamashita
正和 山下
Kiichi Yamaguchi
喜一 山口
Current Assignee (The listed assignees may be inaccurate. Google has not performed a legal analysis and makes no representation or warranty as to the accuracy of the list.)
Yokohama Rubber Co Ltd
Original Assignee
Yokohama Rubber Co Ltd
Priority date (The priority date is an assumption and is not a legal conclusion. Google has not performed a legal analysis and makes no representation as to the accuracy of the date listed.)
Filing date
Publication date
Application filed by Yokohama Rubber Co Ltd filed Critical Yokohama Rubber Co Ltd
Priority to JP2008211793A priority Critical patent/JP5229463B2/ja
Publication of JP2010048307A publication Critical patent/JP2010048307A/ja
Application granted granted Critical
Publication of JP5229463B2 publication Critical patent/JP5229463B2/ja
Expired - Fee Related legal-status Critical Current
Anticipated expiration legal-status Critical

Links

Images

Landscapes

  • Joints That Cut Off Fluids, And Hose Joints (AREA)

Abstract

【課題】ホースの径寸法のばらつきに拘わらずにホースの締付け率を安定させることのできるホース端部への継手部材の取付方法及びその装置を提供する。
【解決手段】この継手部材の取付装置は、内側嵌合部21aにホース10の端部の内周面を嵌合させる前にホース10の端部の内径及び外径を測定し、その測定結果に基づき、ソケット22と内側嵌合部21aとの間に配置されているホース10の締付け率が所望の締付け率(本実施形態では45%)になるように、ソケット22の加締径Dが設定され、その設定された加締径Dまでソケット22が加締められる。このため、ホース10の径寸法のばらつきに拘わらずにホース10の締付け率が安定する。
【選択図】図8

Description

本発明は、例えば補強層によって補強された高圧ホースの端部に金属製の継手部材を取付けるホース端部への継手部材の取付方法及びその装置に関するものである。
一般に、この種の継手部材の取付方法としては、所定の中心軸周りに互いに周方向に間隔をおいて配置された複数の加締爪と、各加締爪を前記中心軸に向かう方向にそれぞれ進退させる複数のシリンダーとを用い、ホース端部の内周面に嵌合可能な円筒状の内側嵌合部とその外側に配置されてホース端部の外径よりも大きい内径を有するソケットとを備えた金属製の継手部材の内側嵌合部にホース端部の内周面を嵌合させるとともに、継手部材を各加締爪の径方向内側に配置し、各加締爪を各シリンダーによって前記中心軸に向かって移動させることにより、ソケットを所定の加締径まで加締めてホース端部に継手部材を取付けるものが知られている(例えば、特許文献1参照。)。
特開平11−207540号公報
ところで、前記取付方法では、ホース端部の内周面を継手部材の内側嵌合部に嵌合させる前に、ホースの外径及び内径が寸法公差内であることを確認し、また、ホース端部の内周面を内側嵌合部に嵌合させた後に、ソケットを所定の加締径まで加締めるようになっている。
ここで、ホースの外径及び内径は寸法公差内でばらつきが生じ、例えば外径が12mmで内径が6.5mmのホースの場合、ホースの外径の公差は±0.5mm程度となり、内径の公差は±0.3mm程度となる。このため、ホースの厚さ寸法は中央値で2.75mm、最小で2.35mm、最大で3.15mmとなる。このため、ソケットを所定の加締径まで加締めた際のソケットの内径と内側嵌合部との隙間が例えば1.51mm(ホースの厚さ寸法が中央値の場合のホースの締付け率が45%)になるように設定されている場合、ホースの厚さ寸法が2.35mmの際のホースの締付け率は{(2.35mm−1.51mm)/2.35mm}×100=36%となり、ホースの厚さ寸法が3.15mmの際のホースの締付け率は{(3.15mm−1.51mm)/3.15mm}×100=52%となる。即ち、ホースの外径及び内径の寸法のばらつきに応じてホースの締付け率が変化するので、継手付きホースの品質向上を図る上で好ましくないという問題点があった。
本発明は前記問題点に鑑みてなされたものであり、その目的とするところは、ホースの径寸法のばらつきに拘わらずにホースの締付け率を安定させることのできるホース端部への継手部材の取付方法及びその装置を提供することにある。
本発明は前記目的を達成するために、ホース端部の内周面に嵌合可能な円筒状の内側嵌合部とその径方向外側に配置されてホース端部の外径よりも大きい内径を有する金属製のソケットとを備えた継手部材の内側嵌合部にホース端部の内周面を嵌合させる嵌合工程と、周方向に並設された複数の加締爪によってソケットを径方向内側に向かって加締めてソケットと内側嵌合部の間に配置されているホースを締付けることによりホース端部に継手部材を取付ける加締工程とを含むホース端部への継手部材の取付方法において、前記内側嵌合部にホース端部の内周面を嵌合させる前にホース端部の内径及び外径を測定するホース径寸法測定工程と、ホース径寸法測定工程の測定結果に基づき、ソケットと内側嵌合部の間に配置されているホースが所望の締付け率で締付けられるように、加締工程におけるソケットの加締径を設定する加締径設定工程とを含み、前記加締工程を、加締径設定工程によって設定された加締径までソケットを加締めるように構成している。
また、本発明は、ホース端部の内周面に嵌合可能な円筒状の内側嵌合部とその径方向外側に配置されてホース端部の外径よりも大きい内径を有する金属製のソケットとを備えた継手部材の内側嵌合部にホース端部の内周面が嵌合している状態で、周方向に並設された複数の加締爪によってソケットを径方向内側に向かって加締める加締装置を備え、加締装置によってソケットを加締めてソケットと内側嵌合部の間に配置されているホースを締付けることにより、ホース端部に継手部材を取付けるホース端部への継手部材の取付装置において、前記内側嵌合部にホース端部の内周面を嵌合させる前にホース端部の内径及び外径を測定するホース径寸法測定手段と、ホース径寸法測定手段の測定結果に基づき、ソケットと内側嵌合部との間に配置されているホースが所望の締付け率で締付けられるように、加締装置によるソケットの加締径を設定する加締径設定手段とを備え、前記加締装置を、加締径設定手段によって設定された加締径までソケットを加締めるように構成している。
これにより、内側嵌合部にホース端部の内周面を嵌合させる前にホース端部の内径及び外径を測定し、その測定結果に基づき、ソケットと内側嵌合部との間に配置されているホースが所望の締付け率となるようにソケットの加締径が設定され、その設定された加締径までソケットが加締められることから、ホースの径寸法のばらつきに拘わらずにホースの締付け率が安定する。
本発明によれば、ホースの径寸法のばらつきに拘わらずにホースの締付け率を安定させることができるので、ホースの締付け率が低過ぎることによる継手部材の抜けや、ホースの締付け率が高過ぎることによるホースの損傷等を防止することができ、継手付きホースの品質向上を図る上で極めて有利である。
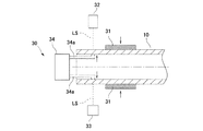
図1乃至図8は本発明の第1実施形態を示すもので、図1はホース径寸法測定装置の概略側面図、図2はソケット径寸法測定装置の概略側面図、図3は加締装置の一部断面側面図、図4及び図5は加締装置の正面図、図6は継手部材の取付装置のブロック図、図7は制御装置の動作を示すフローチャート、図8は継手部材のソケットを加締める際の動作説明図である。
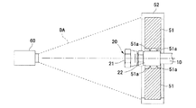
この継手部材の取付装置は、ホース10の外径及び内径を測定するためのホース径寸法測定装置30と、継手部材20のソケット22の外径及び内径を測定するためのソケット径寸法測定装置40と、周方向に並設された複数(本実施形態では8個)の金属製の加締爪51を有する加締装置50と、加締装置50を正面側から撮像する撮像装置60とを備えている。本実施形態のホース10は例えば補強層を有するゴム製耐圧ホースや補強層を有さないゴム製ホースから成る。また、継手部材20は、例えば金属材料から成るとともにホース10の端部の内周面に嵌合可能な円筒状の内側嵌合部21aを有するニップル21と、金属材料から成るとともに内側嵌合部21aの径方向外側に配置されたソケット22とを備えている。ソケット22は軸方向の一端側がニップル21に係合し、軸方向の中央及び他端側が内側嵌合部21aの径方向外側に配置されている。また、ソケット22の軸方向の中央及び他端側の内径はホース10の外径よりも大きい。
ホース径寸法測定装置30は、例えば、ホース10の端部近傍を保持する保持部材31と、保持部材31によって保持されているホース10に向かってホース10の外径よりも幅広且つ平行光であるレーザー光LSを照射するレーザー光照射装置32と、ホース10によって遮られたレーザー光LSの幅を検出可能な幅検出装置33と、ホース10の端部の内周面に径方向に当接する一対の測定端子34aを有する電動ノギス34とを備えている(図1参照)。即ち、幅検出装置33によってホース10の端部の外径を検出可能である。また、電動ノギス34は保持部材31によって保持されているホース10の端部の内周面に一対の測定端子34aを自動的に当接させ、保持部材31によって保持されているホース10の内径を自動的に測定するようになっている。尚、レーザー光照射装置32及び幅検出装置33を2対設け、ホース10の外径を2方向から検出することも可能である。また、ホース10の端部近傍の径寸法を画像処理を用いる他の装置によって測定することも可能であり、作業者がノギス等を用いて測定することも可能である。さらに、電動ノギス34の代わりに三次元測定器を用いることも可能である。
ソケット径寸法測定装置40は、例えば、継手部材20を保持する保持部材41と、保持部材41によって保持されている継手部材20のソケット22に向かってソケット22の外径よりも幅広且つ平行光であるレーザー光LSを照射するレーザー光照射装置42と、ソケット22によって遮られたレーザー光LSの幅を検出可能な幅検出装置43と、ホース10の端部の内周面に径方向に当接する一対の測定端子44aを有する電動ノギス44とを備えている(図2参照)。即ち、幅検出装置43によってソケット22の外径を検出可能である。また、電動ノギス44は保持部材41によって保持されている継手部材20におけるソケット22の内周面に一対の測定端子44aを自動的に当接させ、保持部材41によって保持されている継手部材20におけるソケット22の内径を自動的に測定するようになっている。尚、レーザー光照射装置42及び幅検出装置43を2対設け、ソケット22の外径を2方向から検出することも可能である。また、ソケットの径寸法を画像処理を用いる他の装置によって測定することも可能であり、作業者がノギス等を用いて測定することも可能である。さらに、電動ノギス44の代わりに三次元測定器を用いることも可能である。
加締装置50は、各加締爪51と、各加締爪51を保持する一対のホルダー52とを有する。各ホルダー52は金属材料から成り、それぞれ円弧状の凹状部52aを有する。また、各ホルダー52は凹状部52aが対向するように配置され、各ホルダー52のうち一方は油圧シリンダー53によって前記対向方向に移動するようになっている。油圧シリンダー53はサーボモータを用いて駆動が制御される周知のサーボシリンダーである。各ホルダー52の凹状部52aにはそれぞれ4つずつ加締爪51が保持され、油圧シリンダー53によって一方のホルダー52を他方のホルダー52に近接させると、8個の加締爪51が周方向に並ぶように配置される(図4参照)。また、その状態において、油圧シリンダー53によって一方のホルダー52を他方のホルダー52側に移動させると、各加締爪51が径方向の内側に向かって移動するようになっている。
ホース10の端部の内周面に継手部材20の内側嵌合部21aを嵌合させるとともに、油圧シリンダー53によって各ホルダー52の間に間隔を設けた状態において、継手部材20のソケット22を各ホルダー52の間に配置するとともに、油圧シリンダー53によって一方のホルダー52を他方のホルダー52に近接させることにより、周方向に並設された各加締爪51の径方向内側に継手部材20のソケット22が配置される(図4及び図5参照)。尚、各ホルダー52の間に継手部材20のソケット22が配置されたことがセンサ等によって検知されると、後述する制御装置70が油圧シリンダー53によって一方のホルダー52を他方のホルダー52に近接させるようになっている。また、油圧シリンダー53によって一方のホルダー52を他方のホルダー52側にさらに移動させると、各加締爪51がそれぞれ径方向の内側に向かって移動し、各加締爪51によってソケット22が径方向内側に向かって加締められる(図8参照)。即ち、各加締爪51の径方向内側への移動量を油圧シリンダー53によって調整することにより、各加締爪51によるソケット22の加締径Dを制御することが可能である。本実施形態では、加締められたソケット22の外径を加締径Dとしているが、加締められたソケット22の内径を加締径Dとすることも可能であり、他の部分の径を加締径Dとすることも可能である。また、各加締爪51にはソケット22の軸方向に間隔をおいて2つの突起51aが設けられ、各突起51aによってソケット22の軸方向の2箇所が加締められるようになっている。
撮像装置60は、例えばX軸方向及びY軸方向にそれぞれ複数の画素を有する周知の二次元撮像装置から成り、加締装置50を正面側から撮像するようになっている。一方、各加締爪51における加締装置50の正面側の面にはそれぞれマーク部としての凹部51bが設けられ、各凹部51bは加締爪51の他の部分と異なる光沢を有する。撮像装置60は各加締爪51の凹部51bがその画角DA内に入るように配置されている。
ホース径寸法測定装置30、ソケット径寸法測定装置40、油圧シリンダー53及び撮像装置60は周知のコンピュータから成る制御装置70に接続されている(図6参照)。制御装置70は、周知の液晶表示装置等から成る表示装置71、周知のキーボード等から成る入力装置72及び周知のハードディスク等から成る記憶装置73にも接続されている。制御装置70は、ホース径寸法測定装置30の検出結果に基づいてホース10の厚さ寸法を演算し、演算された厚さ寸法に基づいて加締径Dを調整する。また、制御装置70は、ソケット22の内径が加締径Dとなるまで各加締爪51が径方向内側に移動した状態で、撮像装置60の撮像データから各凹部51bの位置を検出し、各凹部51bの間の距離を測定するとともに、その距離が所定の範囲内か否かを判定するようになっている。この場合の制御装置70の動作を図7のフローチャートを参照しながら説明する。また、この場合、制御装置70にはソケット22の厚さ寸法を2倍した値として例えば2.0mmの数値が設定されている。
先ず、ホース径寸法測定装置30の幅検出装置33及び電動ノギス34によるホース10の径寸法の検出があると(S1)、幅検出装置33及び電動ノギス34の検出結果からホース10の厚さ寸法を2倍した値を演算する(S2)。即ち、幅検出装置33によって検出されたホース10の外径D1が12.0mmであり、電動ノギス34によって検出されたホース10の内径d1が6.5mmである場合、ホース10の厚さ寸法を2倍した値t1=(12.0mm−6.5mm)=5.5mmとなる。
続いて、ホース径寸法測定装置30の検出結果に基づいて演算されたホース10の厚さ寸法を2倍した値を用い、各加締爪51によってソケット22を加締める加締径Dを演算及び設定する(S3)。尚、本実施形態では、ソケット22を加締める際の各加締爪51の先端の位置と加締径Dとが一致するものとして加締径Dを演算及び設定する。具体的には、内側嵌合部21aの外径D3が7.0mmであり、目標とするホース10の締付け率εが45%である場合は、加締径D=12.0mm−(45%/100)×5.5mm+(7.0mm−6.5mm)+2.0mm=12.0mmとなる。
続いて、ホース10の端部の内周面に継手部材20の内側嵌合部21aを嵌合させるとともに、油圧シリンダー53によって各ホルダー52の間に間隔を設けた状態において、継手部材20のソケット22が各ホルダー52の間に配置されると(S4)、油圧シリンダー53によって一方のホルダー52を他方のホルダー52に近接させる(S5)。これにより、図4及び図8(a)に示すように、周方向に並設された各加締爪51の径方向内側に継手部材20のソケット22が配置される。
続いて、ステップS3で演算された加締径Dに応じて、油圧シリンダー53によって一方のホルダー52を他方のホルダー52側にさらに移動させる(S6)。これにより、図8(b)に示すように、各加締爪51がそれぞれ径方向内側に向かって移動し、各加締爪51によってソケット22が加締径Dまで加締められる。
また、ステップS6で各加締爪51によってソケット22が加締径Dまで締付けられた際に、撮像装置60の撮像データにおいて各凹部51bの間の距離を検出する(S7)。例えば、図4に示すように、互いにホース10の径方向に対向するように配置された2つの凹部51bの距離Lを4つ測定し、4つの測定結果の平均値を各凹部51bの間の距離とする。
続いて、ステップS7によって検出された各凹部51bの間の距離が加締径Dに応じた規格範囲内であるか否かを判定し、各凹部51bの間の距離が規格範囲内である場合は(S8)、記憶装置73にその結果を記憶させる(S9)。また、各凹部51bの間の距離が規格範囲内でない場合は(S8)、表示装置71に所定の表示を行わせるとともに(S10)、記憶装置73にその結果を記憶させる(S11)。
本実施形態によれば、内側嵌合部21aにホース10の端部の内周面を嵌合させる前にホース10の端部の内径及び外径を測定し、その測定結果に基づき、ソケット22と内側嵌合部21aとの間に配置されているホース10の締付け率が所望の締付け率(本実施形態では45%)になるように、ソケット22の加締径Dが設定され、その設定された加締径Dまでソケット22が加締められる。このため、ホース10の径寸法のばらつきに拘わらずにホース10の締付け率が安定する。従って、ホース10の締付け率が低過ぎることによる継手部材20の抜けや、ホース10の締付け率が高過ぎることによるホース10の損傷等を防止することができ、継手付きホースの品質向上を図る上で極めて有利である。
また、各加締爪51によってソケット22を加締径Dまで加締めた際に、各加締爪51にそれぞれ設けられた凹部51bを撮像装置60によって画角DA内に入るように撮像し、撮像装置60による撮像データに基づいて各凹部51bの間の距離を測定することから、各加締爪51による加締量が正確であるか否かを常に監視することができ、品質向上を図る上で極めて有利である。
さらに、各凹部51bの間の距離が所定の規格範囲内か否かの判定を行い、その判定結果を記憶することから、品質管理を正確且つ確実に行う上で極めて有利である。
ここで、従来の継手部材の取付装置では、周方向に並設された複数の加締爪と、各加締爪をそれぞれ径方向内側に移動させる油圧シリンダーと、各油圧シリンダーにそれぞれ設けられてストローク位置を検出するリミットスイッチ等のストローク位置検出装置を設け、ストローク位置検出装置の検出結果に基づいて各油圧シリンダーを制御することにより、継手部材のソケットを所定の加締径まで加締めるようにしていた。この場合、油圧シリンダーを駆動するバルブの応答速度、油圧シリンダーと加締爪との間の機械的な遊び、加締爪やその他の部品の摩耗等の影響により、各加締爪によるソケットの加締径がばらついていた。また、従来の加締径の検査はロットごとに後工程で検査されているが、この場合は1ロットの全てが加締められた後に加締径が適正でないことが判明する場合があり、生産効率及び品質の向上を図る上で好ましくなかった。これに対し、本実施形態では、前述のように撮像装置60による撮像データに基づいて各凹部51bの間の距離を測定し、各加締爪51による加締量が適正であるか否かを加締加工時に監視することができ、品質及び生産効率の向上を図る上で極めて有利である。
図9は本発明の第2実施形態における制御装置の動作を示すフローチャートである。
この継手部材の取付装置は、第1実施形態の継手部材の取付装置と同等の構成を有するもので、制御装置70による制御が異なるものである。即ち、第1実施形態では、ホース径寸法測定装置30の検出結果に基づいてホース10の厚さ寸法を演算し、演算された厚さ寸法に基づいて加締径Dを調整するものを示したが、本実施形態では、ホース径寸法測定装置30及びソケット径寸法測定装置40の検出結果に基づいてホース10の厚さ寸法及びソケット22の厚さ寸法を演算し、演算された各厚さ寸法に基づいて加締径Dを調整する。この場合の制御装置70の動作を図9のフローチャートを参照しながら説明する。
先ず、第1実施形態のステップS1,S2と同等のステップS21,S22を行う。
次に、ソケット径寸法測定装置40の幅検出装置43及び電動ノギス44によるソケット22の径寸法の検出があると(S23)、幅検出装置43及び電動ノギス44の検出結果からソケット22の厚さ寸法を2倍した値を演算する(S24)。即ち、幅検出装置43によって検出されたソケット22の外径D2が16.0mmであり、電動ノギス44によって検出されたソケット22の内径d2が14.0mmである場合、ソケット22の厚さ寸法を2倍した値t2=(16.0−14.0)=2.0mmとなる。
続いて、ホース径寸法測定装置30の検出結果に基づいて演算されたホース10の厚さ寸法を2倍した値と、ソケット径寸法測定装置40の検出結果に基づいて演算されたソケット22の厚さ寸法を2倍した値とを用い、各加締爪51によってソケット22を加締める加締径Dを演算及び設定する(S25)。尚、本実施形態では、ソケット22を加締める際の各加締爪51の先端の位置と加締径Dとが一致するものとして加締径Dを演算及び設定する。具体的には、内側嵌合部21aの外径D3が7.0mmであり、目標とするホース10の締付け率εが45%である場合は、加締径D=12.0mm−(45%/100)×5.5mm+(7.0mm−6.5mm)+2.0mm=12.0mmとなる。
続いて、第1実施形態ステップS4〜S11と同等のステップS26〜S33を行う。
本実施形態によれば、内側嵌合部21aにホース10の端部の内周面を嵌合させる前にホース10の端部の内径及び外径を測定するとともに、ソケット22の内径及び外径を測定し、ホース径寸法測定装置30及びソケット径寸法測定装置40の測定結果に基づき、ソケット22と内側嵌合部21aとの間に配置されているホース10の締付け率が所望の締付け率(本実施形態では45%)になるように、ソケット22の加締径Dが設定され、その設定された加締径Dまでソケット22が加締められる。このため、ホース10の締付け率をさらに安定させることが可能である。尚、ソケット22の厚さ寸法のばらつきよりもホース10の厚さ寸法のばらつきの方が大きいので、ソケット22の厚さ寸法に基づく加締径Dの調整を行わず、ホース10の厚さ寸法に基づく加締径Dの調整を行うだけで、ホース10の締付け率を十分に安定させることが可能である。
尚、第1及び第2実施形態では、内側嵌合部21aが金属材料から成るものを示したが、内側嵌合部21aが他の材料から形成されている場合でも同様の作用効果を達成することが可能である。
また、第1及び第2実施形態では、ソケット22の軸方向2箇所の加締位置を同一の加締径Dまで加締めるものを示したが、2箇所を互いに異なる加締径まで加締めることも可能である。
尚、第1及び第2実施形態では、凹部51bの距離Lを4つ測定し、4つの測定結果の平均値を各凹部51bの間の距離としたものを示したが、4つの測定結果をそれぞれ各凹部51bの間の距離とすることも可能である。この場合、4つの測定結果についてそれぞれ規格範囲内であるか否かを判定することになる。
また、第1及び第2実施形態では、ソケット22の軸方向2箇所を加締めるものを示した。これに対し、各加締爪51に突起51aを設けずに、ソケット22の軸方向1箇所の軸方向所定範囲を全周に亘って加締める場合(いわゆるフラット加締めを行う場合)や、ソケット22の軸方向3箇所以上を加締める場合でも、前述と同様に加締径Dを演算及び設定してその加締径Dまで加締めることが可能であり、前述と同様の作用効果を達成することが可能である。
尚、第1及び第2実施形態では、ホース10の径寸法の測定結果やソケット22の径寸法の測定結果が自動的に制御装置70に送信されるものを示した。これに対し、各径寸法の測定結果を入力装置72を用いて制御装置70に入力することも可能であり、この場合でも前述と同様の作用効果を達成することが可能である。
尚、内側嵌合部21a及びソケット22を有するならば、継手部材20に他の構成を追加することや、ニップル21の形状を変更することが可能であり、この場合でも前述と同様の作用効果を達成することが可能である。
また、第1及び第2実施形態では、各加締爪51が一対のホルダー52によって保持されているものを示した。これに対し、各加締爪51をそれぞれ油圧シリンダーによって保持するともに、各加締爪51を各油圧シリンダーによってそれぞれ径方向に進退させるように構成することも可能であり、この場合でも前述と同様の作用効果を達成することが可能である。
本発明における第1実施形態を示すホース径寸法測定装置の概略側面図 ソケット径寸法測定装置の概略側面図 加締装置の一部断面側面図 加締装置の正面図 加締装置の正面図 継手部材の取付装置のブロック図 制御装置の動作を示すフローチャート 継手部材のソケットを加締める際の動作説明図 本発明における第2実施形態の制御装置の動作を示すフローチャート
符号の説明
10…ホース、20…継手部材、21a…内側嵌合部、22…ソケット、30…ホース径寸法測定装置、40…ソケット径寸法測定装置、50…加締装置、51…加締爪、51a…凹部、60…撮像装置、70…制御装置、72…入力装置、73…記憶装置、D…加締径。

Claims (10)

  1. ホース端部の内周面に嵌合可能な円筒状の内側嵌合部とその径方向外側に配置されてホース端部の外径よりも大きい内径を有する金属製のソケットとを備えた継手部材の内側嵌合部にホース端部の内周面を嵌合させる嵌合工程と、周方向に並設された複数の加締爪によってソケットを径方向内側に向かって加締めてソケットと内側嵌合部の間に配置されているホースを締付けることによりホース端部に継手部材を取付ける加締工程とを含むホース端部への継手部材の取付方法において、
    前記内側嵌合部にホース端部の内周面を嵌合させる前にホース端部の内径及び外径を測定するホース径寸法測定工程と、
    ホース径寸法測定工程の測定結果に基づき、ソケットと内側嵌合部の間に配置されているホースが所望の締付け率で締付けられるように、加締工程におけるソケットの加締径を設定する加締径設定工程とを含み、
    前記加締工程を、加締径設定工程によって設定された加締径までソケットを加締めるように構成した
    ことを特徴とするホース端部への継手部材の取付方法。
  2. 前記内側嵌合部にホース端部の内周面を嵌合させる前にソケットの内径及び外径を測定するソケット径寸法測定工程を含み、
    前記加締径設定工程を、ホース径寸法測定工程及びソケット径寸法測定工程の測定結果に基づき、ソケットと内側嵌合部の間に配置されているホースが所望の締付け率で締付けられるように、加締工程におけるソケットの加締径を設定するように構成した
    ことを特徴とする請求項1に記載のホース端部への継手部材の取付方法。
  3. 前記各加締爪によってソケットを加締径まで加締めた際に、各加締爪の所定位置にそれぞれ設けられたマーク部を画角内に入るように撮像する撮像工程と、
    撮像工程による撮像データに基づいて各マーク部間の距離を測定する距離測定工程とを含む
    ことを特徴とする請求項1または2の何れかに記載のホース端部への継手部材の取付方法。
  4. 前記距離測定工程による各マーク部間の距離が規格範囲内か否かを判定する判定工程を含む
    ことを特徴とする請求項3に記載のホース端部への継手部材の取付方法。
  5. 前記判定工程による判定結果を記憶する記憶工程を含む
    ことを特徴とする請求項4に記載のホース端部への継手部材の取付方法。
  6. ホース端部の内周面に嵌合可能な円筒状の内側嵌合部とその径方向外側に配置されてホース端部の外径よりも大きい内径を有する金属製のソケットとを備えた継手部材の内側嵌合部にホース端部の内周面が嵌合している状態で、周方向に並設された複数の加締爪によってソケットを径方向内側に向かって加締める加締装置を備え、加締装置によってソケットを加締めてソケットと内側嵌合部の間に配置されているホースを締付けることにより、ホース端部に継手部材を取付けるホース端部への継手部材の取付装置において、
    前記内側嵌合部にホース端部の内周面を嵌合させる前にホース端部の内径及び外径を測定するホース径寸法測定手段と、
    ホース径寸法測定手段の測定結果に基づき、ソケットと内側嵌合部との間に配置されているホースが所望の締付け率で締付けられるように、加締装置によるソケットの加締径を設定する加締径設定手段とを備え、
    前記加締装置を、加締径設定手段によって設定された加締径までソケットを加締めるように構成した
    ことを特徴とするホース端部への継手部材の取付装置。
  7. 前記内側嵌合部にホース端部の内周面を嵌合させる前にソケットの内径及び外径を測定するソケット径寸法測定手段を備え、
    前記加締径設定手段を、ホース径寸法測定手段及びソケット径寸法測定手段の測定結果に基づき、ソケットと内側嵌合部の間に配置されているホースが所望の締付け率で締付けられるように、加締装置によるソケットの加締径を設定するように構成した
    ことを特徴とする請求項6に記載のホース端部への継手部材の取付装置。
  8. 前記各加締爪の所定位置にそれぞれ設けられたマーク部と、
    各加締爪によってソケットを加締径まで加締めた際に各マーク部を画角内に入るように撮像する撮像装置と、
    撮像装置による撮像データに基づいて各マーク部間の距離を測定する距離測定手段とを備えた
    ことを特徴とする請求項6または7の何れかに記載のホース端部への継手部材の取付装置。
  9. 前記距離測定手段による各マーク部間の距離が規格範囲内か否かを判定する判定手段を備えた
    ことを特徴とする請求項8に記載のホース端部への継手部材の取付装置。
  10. 前記判定手段による判定結果を記憶する記憶手段を備えた
    ことを特徴とする請求項9に記載のホース端部への継手部材の取付装置。
JP2008211793A 2008-08-20 2008-08-20 ホース端部への継手部材の取付方法及びその装置 Expired - Fee Related JP5229463B2 (ja)

Priority Applications (1)

Application Number Priority Date Filing Date Title
JP2008211793A JP5229463B2 (ja) 2008-08-20 2008-08-20 ホース端部への継手部材の取付方法及びその装置

Applications Claiming Priority (1)

Application Number Priority Date Filing Date Title
JP2008211793A JP5229463B2 (ja) 2008-08-20 2008-08-20 ホース端部への継手部材の取付方法及びその装置

Publications (2)

Publication Number Publication Date
JP2010048307A true JP2010048307A (ja) 2010-03-04
JP5229463B2 JP5229463B2 (ja) 2013-07-03

Family

ID=42065561

Family Applications (1)

Application Number Title Priority Date Filing Date
JP2008211793A Expired - Fee Related JP5229463B2 (ja) 2008-08-20 2008-08-20 ホース端部への継手部材の取付方法及びその装置

Country Status (1)

Country Link
JP (1) JP5229463B2 (ja)

Cited By (2)

* Cited by examiner, † Cited by third party
Publication number Priority date Publication date Assignee Title
CN109405700A (zh) * 2018-12-18 2019-03-01 东风商用车有限公司 一种金属软管安装姿态的检测用具及使用方法
WO2019049717A1 (ja) * 2017-09-11 2019-03-14 横浜ゴム株式会社 ホース継手金具の形状測定装置、ホース継手金具の形状測定方法およびホース継手金具の形状測定プログラム

Citations (3)

* Cited by examiner, † Cited by third party
Publication number Priority date Publication date Assignee Title
JPS62251032A (ja) * 1986-04-22 1987-10-31 Kawasaki Steel Corp テ−パねじカツプリングの締付方法および装置
JPH0771672A (ja) * 1990-01-30 1995-03-17 Hans Oetiker Ag Mas & Apparatefab 高圧継手およびその取付け装置
JPH08132324A (ja) * 1994-11-08 1996-05-28 Nissan Motor Co Ltd ホースクランプ自動組み付け装置

Patent Citations (3)

* Cited by examiner, † Cited by third party
Publication number Priority date Publication date Assignee Title
JPS62251032A (ja) * 1986-04-22 1987-10-31 Kawasaki Steel Corp テ−パねじカツプリングの締付方法および装置
JPH0771672A (ja) * 1990-01-30 1995-03-17 Hans Oetiker Ag Mas & Apparatefab 高圧継手およびその取付け装置
JPH08132324A (ja) * 1994-11-08 1996-05-28 Nissan Motor Co Ltd ホースクランプ自動組み付け装置

Cited By (4)

* Cited by examiner, † Cited by third party
Publication number Priority date Publication date Assignee Title
WO2019049717A1 (ja) * 2017-09-11 2019-03-14 横浜ゴム株式会社 ホース継手金具の形状測定装置、ホース継手金具の形状測定方法およびホース継手金具の形状測定プログラム
US11162780B2 (en) 2017-09-11 2021-11-02 The Yokohama Rubber Co., Ltd. Shape measuring device for hose connector fitting, shape measuring method for hose connector fitting and shape measuring program for hose connector fitting
CN109405700A (zh) * 2018-12-18 2019-03-01 东风商用车有限公司 一种金属软管安装姿态的检测用具及使用方法
CN109405700B (zh) * 2018-12-18 2024-03-22 东风商用车有限公司 一种金属软管安装姿态的检测用具及使用方法

Also Published As

Publication number Publication date
JP5229463B2 (ja) 2013-07-03

Similar Documents

Publication Publication Date Title
CN103080693B (zh) 轮胎外形测量数据校正方法和轮胎外观检查装置
US10308464B2 (en) Apparatus and method for determining a distance measure on wound-up materials
EP3171128B1 (en) Method for correcting surface shape data of an annular rotating object, and device for inspecting appearance of an annular rotating object
US10113867B2 (en) Device and method for three-dimensional reconstruction of a scene by image analysis
EP1596218A3 (en) Information processing method and system
WO2014163921A1 (en) Laser videogrammetry
US10076885B2 (en) Joining state determination method and molding device
JP2009524238A5 (ja)
JP5923054B2 (ja) 形状検査装置
JP5229463B2 (ja) ホース端部への継手部材の取付方法及びその装置
US20180051983A1 (en) Measurement system and method for configuring the measurement system
JP2004062757A5 (ja)
JP2007281003A5 (ja)
JP6521700B2 (ja) 計測装置および計測方法
JP2015148783A5 (ja) 焦点調節装置および制御方法
US20200284670A1 (en) Gear positioning device, stress measurement system, gear positioning method, and stress measurement method
JP6040770B2 (ja) タイヤ解析システムおよび解析方法
JP2009288108A (ja) 画像相関変位計
JP2004511793A (ja) シリンダ状部材の基準方向に対する整列を判定するための方法
CN102410813B (zh) 电机跳动检测装置及检测方法
JP6441273B2 (ja) バルブ隙間測定装置
WO2020059685A1 (ja) センサシステム、および、傾き検出方法
KR101620970B1 (ko) 피스톤 장착 기반의 피스톤 링 합구틈새 검사 장치, 그리고 이를 이용한 피스톤 링 합구틈새 측정 방법
KR101500221B1 (ko) 주조롤의 슬롯 가공 장치 및 방법
Ettl et al. “Flying triangulation”: a motion-robust optical 3D sensor principle

Legal Events

Date Code Title Description
A621 Written request for application examination

Free format text: JAPANESE INTERMEDIATE CODE: A621

Effective date: 20110811

TRDD Decision of grant or rejection written
A01 Written decision to grant a patent or to grant a registration (utility model)

Free format text: JAPANESE INTERMEDIATE CODE: A01

Effective date: 20130220

A61 First payment of annual fees (during grant procedure)

Free format text: JAPANESE INTERMEDIATE CODE: A61

Effective date: 20130305

FPAY Renewal fee payment (event date is renewal date of database)

Free format text: PAYMENT UNTIL: 20160329

Year of fee payment: 3

R150 Certificate of patent or registration of utility model

Ref document number: 5229463

Country of ref document: JP

Free format text: JAPANESE INTERMEDIATE CODE: R150

Free format text: JAPANESE INTERMEDIATE CODE: R150

R250 Receipt of annual fees

Free format text: JAPANESE INTERMEDIATE CODE: R250

R250 Receipt of annual fees

Free format text: JAPANESE INTERMEDIATE CODE: R250

R250 Receipt of annual fees

Free format text: JAPANESE INTERMEDIATE CODE: R250

LAPS Cancellation because of no payment of annual fees