JP2010046761A - プラトー面加工用レジノイド超砥粒砥石ホイール - Google Patents

プラトー面加工用レジノイド超砥粒砥石ホイール Download PDF

Info

Publication number
JP2010046761A
JP2010046761A JP2008213374A JP2008213374A JP2010046761A JP 2010046761 A JP2010046761 A JP 2010046761A JP 2008213374 A JP2008213374 A JP 2008213374A JP 2008213374 A JP2008213374 A JP 2008213374A JP 2010046761 A JP2010046761 A JP 2010046761A
Authority
JP
Japan
Prior art keywords
grindstone
grinding wheel
resinoid
grinding
superabrasive
Prior art date
Legal status (The legal status is an assumption and is not a legal conclusion. Google has not performed a legal analysis and makes no representation as to the accuracy of the status listed.)
Granted
Application number
JP2008213374A
Other languages
English (en)
Other versions
JP5155774B2 (ja
Inventor
Kojiro Nakahama
功二郎 中濱
Yoshinori Matsunami
嘉典 松波
Current Assignee (The listed assignees may be inaccurate. Google has not performed a legal analysis and makes no representation or warranty as to the accuracy of the list.)
Noritake Co Ltd
Original Assignee
Noritake Co Ltd
Priority date (The priority date is an assumption and is not a legal conclusion. Google has not performed a legal analysis and makes no representation as to the accuracy of the date listed.)
Filing date
Publication date
Application filed by Noritake Co Ltd filed Critical Noritake Co Ltd
Priority to JP2008213374A priority Critical patent/JP5155774B2/ja
Publication of JP2010046761A publication Critical patent/JP2010046761A/ja
Application granted granted Critical
Publication of JP5155774B2 publication Critical patent/JP5155774B2/ja
Expired - Fee Related legal-status Critical Current
Anticipated expiration legal-status Critical

Links

Images

Landscapes

  • Polishing Bodies And Polishing Tools (AREA)

Abstract

【課題】プラトー面を高能率で研削可能なプラトー面加工用レジノイド超砥粒砥石ホイールを提供する。
【解決手段】砥石ホイール10によれば、砥石部16が10〜60容積%の気孔率と2〜15GPaの弾性率とを有することから、適度な軟らかさで超砥粒が結合されるとともに適度の割合で気孔が形成されているので、外周面で研削する通常の砥石ホイールと同様の研削手法を用いて、被削材28の表面の拡大断面において図5に示すように深い油溝gと平坦なプラトー面部pとが精度良く、一挙に且つ能率良く形成される。
【選択図】図5

Description

本発明は、拡大断面において平坦なプラトー面部と油溜まりとして機能する溝とを有するプラトー面を加工するために使用されるプラトー面加工用レジノイド超砥粒砥石ホイールに関する。
騒音の低減、精度向上、耐久性向上のために機械部品の摺動面では、潤滑性を維持することが重要であるが、加工面精度を高めると、摺動面の磨耗性は向上するが、潤滑油が入り難くなり、焼き付きの発生が容易となり、耐久性が損なわれる。このため、高い加工面精度を有する面と油溜まりとして作用する深い溝とを有する面、すなわち拡大断面において平坦なプラトー面部と油溜まりとして機能する溝とを有するプラトー面を設けることが望まれている。たとえば、軸受の摺動面や転動体の受面においてそのプラトー面を設けると、軸受の騒音が低減されるとともに回転精度が高められ、耐久寿命が得られるようになる。
上記のプラトー面は、所定の研削が施された面に対してホーニング加工、超仕上げ加工、ラップ加工を施すことにより、表面粗さ計のプロファイルで言うと多数の突起および溝が形成された研削面のうちの、山の部分のみを研磨で除去することにより、平坦な研磨面および深い溝が混在した面状態で創生される。しかし、このような方法では工程が複雑で加工時間が長く加工能率が得られ難いとともに、安定した形状精度のプラトー面が得られ難い。
これに対して、粗砥石部と細砥石部とを並列させて、深い溝と平坦なプラトー面部とが混在したプラトー面を一工程で形成するようにした砥石が提案されている。特許文献1および特許文献2に記載されたものがそれである。このような砥石によれば、工程が1つになることから、加工時間が短縮されて加工能率が得られる利点がある。
実開平6−80547号公報 特開平9−47957号公報
しかしながら、上記特許文献1および特許文献2の砥石では、従来のホーニング加工と同様に、砥石を保持するホルダをその回転軸心方向に往復振動(オッシレーション)させつつ回転軸心まわりに回転駆動させることにより、その砥石の一面が押圧される面の研磨を行うものであることから、ホーニング加工等と同様に加工能率が十分に得られないという問題が残されていた。
本発明は、以上の事情を背景として為されたものであって、その目的は、プラトー面を高能率で研削可能なプラトー面加工用レジノイド超砥粒砥石ホイールを提供することにある。
本発明者等は、外周面で研削できる砥石ホイールを用いて前記プラトー面を加工可能な研究を開始し、種々の検討を重ねた結果、レジノイド超砥粒砥石の弾性率と気孔率とを工夫することによって、そのレジノイド砥石ホイールを用いてプラトー面を加工できることを見いだした。本発明はかかる知見に基づいて為されたものである。
すなわち、請求項1に係る発明の要旨とするところは、厚肉円板状の基台と、多数の超砥粒が合成樹脂結合剤により相互に結合して形成された砥石部が該基台の外周面に固着されて成り、拡大断面において平坦なプラトー面部と油溜まりとして機能する溝とを有するプラトー面加工用レジノイド超砥粒砥石ホイールであって、前記砥石部が、10〜60容積%の気孔率と2〜15GPaの弾性率とを有することを特徴とする。
また、請求項2に係る発明の要旨とするところは、請求項1に係る発明において、前記超砥粒は、#600〜#12000の範囲内の粒度を有するものであることを特徴とする。
また、請求項3に係る発明の要旨とするところは、請求項1または2に係る発明において、前記砥石部は、その砥石部の軸心方向において、1/5〜4/5の幅を有して#600〜#2000の範囲内の粒度を有する超砥粒から構成される粗粒部と、その粗粒部を除く4/5〜1/5の幅を有して#3000〜#12000の範囲内の粒度を有する超砥粒から構成される細粒部とから構成されることを特徴とする。
また、請求項4に係る発明の要旨とするところは、請求項1乃至3のいずれか1に係る発明において、前記基台は、無機結合剤の溶融温度よりも高い温度の焼成によって無機骨材粒子が該無機結合剤により相互に固着された焼結体であることを特徴とする。
また、請求項5に係る発明の要旨とするところは、請求項1乃至4のいずれか1に係る発明において、前記砥石部には、気孔形成剤が含まれることを特徴とする。
請求項1に係る発明によれば、前記砥石部が10〜60容積%の気孔率と2〜15GPaの弾性率とを有することから、適度な軟らかさで超砥粒が結合されるとともに適度の割合で気孔が形成されているので、外周面で研削する通常の砥石ホイールと同様の研削手法を用いて、被削材表面の拡大断面において深い溝と平坦なプラトー面部とが精度良く、一挙に且つ能率良く形成される。気孔率が9容積%以下であると、砥粒率が上昇して砥石のツルーイングおよびドレッシング時の抵抗値が高くなり、良好な砥石真直度および面精度が得られがたくなり、研削時においてプラトー面部の面粗度が荒くなる。また、気孔率が60容積%を超えると、強度が低下するとともに製造が困難となる。また、弾性率が2GPaを下回ると砥石の形状が不安定となって良好な砥石真直度および面精度が得られ難くなる。また、弾性率が15GPaを超えると、砥石硬度が高くなり過ぎてプラトー面部の面粗度や加工精度を得られ難くなる。
請求項2に係る発明によれば、前記超砥粒は、#600〜#12000の範囲内の粒度を有するものであることから、プラトー面における溝加工と平坦なプラトー面部とを一挙に形成することができる。
請求項3に係る発明によれば、前記砥石部は、その砥石部の軸心方向において、1/5〜4/5の幅を有して#600〜#2000の範囲内の粒度を有する超砥粒から構成される粗粒部と、その粗粒部を除く4/5〜1/5の幅を有して#3000〜#12000の範囲内の粒度を有する超砥粒から構成される細粒部とから構成されることから、たとえばセンタレス研削において被削材を軸心に平行な方向に送ることにより、粗粒部により被削材の表面に相対的に粗い粗面を創生した後に、細粒部によりその粗面の突起を除去して平坦なプラトー面部を形成することができる。
また、請求項4に係る発明によれば、前記基台は、無機結合剤の溶融温度よりも高い温度の焼成によって無機骨材粒子がその無機結合剤により相互に固着された焼結体であることから、高剛性の基台の外周面に砥石部が設けられるので、高い面精度が得られる。
また、請求項5に係る発明によれば、前記砥石部には、気孔形成剤が含まれることから、その気孔形成剤の混入量を調節することで、10〜60容積%の気孔率を容易に得ることができる。
ここで、好適には、前記気孔形成剤は有機質の中空体であり、前記合成樹脂結合剤は低弾性のエポキシ樹脂、特にビスフェノールA系エポキシ樹脂、フェノール樹脂、それらが混合された樹脂である。合成樹脂結合剤の硬化後の砥石ホイールの弾性率が2〜15GPaとなるように、気孔形成剤の割合および材質、合成樹脂結合剤の材質や混合割合が選択される。
好適には、前記有機質中空体は、塩化ビニリデン系樹脂およびアクリル系樹脂の何れか一種或いは二種以上の混合体から成るものである。前記有機質中空体は、それを含む場合の前記砥石部の弾性率をそれを含まない場合の弾性率の2/3 〜1/4の範囲内の値とし得る弾性率を備えたものである。また、有機質中空体は、合成樹脂結合剤に対して1/30〜1/2倍程度の弾性率であることが好ましく、前記基台すなわち砥石部を支持する基台は、合成樹脂結合剤に対して2〜100倍程度の弾性率であることが好ましい。
好適には、前記有機質中空体は、前記超砥粒よりも粒径が大きいものである。このようにすれば、研削面に突き出している砥粒に作用した押圧力が1個の有機質中空体に伝達されるので、研削面が一層容易に変形させられ、延いては砥粒の突き出し高さが一層揃うことになる。一層好適には、前記有機質中空体は、前記超砥粒の3〜10倍の粒径、例えば、50〜150(μm)の範囲内、更に好適には、100(μm)程度の平均粒径を有するものである。
好適には、前記有機質中空体は、その外周壁が0.1〜5(μm)の範囲内の厚さ寸法を有するものである。このようにすれば、外周壁が十分に薄いことから、研削面に押圧力が作用した際に砥石部内において一層容易に変形させられる。
好適には、前記有機質中空体は、前記砥石部内に10〜30(容量部)の範囲内、一層好適には20(容量部)程度の割合で含まれる。このようにすれば、砥石部の機械的強度を十分に高く維持できる範囲で多量の有機質中空体が含まれていることから、研削面に露出させられた砥粒に作用した押圧力がその有機質中空体に受け止められる可能性が高められ、その突き出し高さが一層容易に揃うことになる。
また、好適には、前記超砥粒は、電気抵抗試験法による平均粒径(以下、本願において砥粒の平均粒径は全て電気抵抗試験法による値である)が20(μm)以下の微細砥粒である。このようにすれば、極めて微細な超砥粒が用いられていることから、有機質中空体の弾性変形によって突き出し高さが一層揃い易くなると共に、被削材から押圧力が作用していない状態における突出し高さの初期的なばらつきが小さくなる。そのため、被研削面のキズが一層生じ難くなって一層良好な鏡面が得られる。一層好適には、超砥粒の平均粒径は、0.3μm(♯12000)〜15μm(♯600)の範囲内である。
また、好適には、前記超砥粒は、前記砥石部に10〜30(容量部)の範囲内、更に好適には20(容量部)程度の砥粒率で含まれる。10(容量部)よりも少なくなると研削性能が不十分になり、30(容量部)よりも多くなるとドレッシングが困難になる。
また、好適には、前記合成樹脂結合剤は、前記砥石部内に30〜50(容量部)の範囲内、一層好適には40(容量部)程度の割合で含まれる。
また、好適には、前記基台は、ビトリファイド結合剤で砥粒が結合されたビトリファイド砥石または鋼から成るものである。このようにすれば、これらは樹脂結合剤に比較して十分に高い50(GPa)程度の弾性率を有する、すなわち、弾性変形し難いことから、樹脂結合剤で砥粒が結合された砥石部全体の変形が好適に抑制される。すなわち、基台は例えばフェノール、エポキシ等の樹脂結合剤が用いられた比較的弾性率が高いレジノイド砥石で構成することもできるが、ビトリファイド砥石や鋼が一層好ましいのである。上記ビトリファイド砥石は、例えば、酸化アルミニウムを砥粒とした高結合度のビトリファイド砥石等が好ましく、鋼は、一般炭素鋼や鋳鉄等が好ましい。
また、好適には、前記砥石部には、前記有機質中空体よりも大径の大気孔が分散して設けられたものである。このようにすれば、この大気孔が研削面に現れると、有機質中空体よりも大きいチップポケットを形成するので、破砕砥粒や切り粉の排出が一層容易になって目詰りが一層抑制される。
また、好適には、前記大気孔は、合成樹脂等の有機質材料やセラミックス等の無機材料等から選択される種々の材料で形成し得るが、砥石部の弾性率を高めないことが好ましく、例えば発泡倍率が10倍程度の発泡ポリスチレン等を樹脂中に分散させ、これを例えば砥石の熟成時等に加熱収縮させることにより形成することが好適である。
また、好適には、前記大気孔は、前記有機質中空体の3〜100倍の範囲内の直径、例えば、0.5〜2(mm)の範囲内、一層好適には1(mm)程度の直径を有するものである。
また、好適には、前記プラトー面加工用レジノイド超砥粒砥石ホイールは、前記基台が中央部に厚み方向に貫通する取付孔を備えた円板状、リング状、または円筒状を成し、且つその外周面に前記砥石部が一様な厚さ寸法で固着されたものである。このようなプラトー面加工用レジノイド超砥粒砥石ホイールは、平面研削盤や芯無し研削盤等の汎用研削盤に取り付けられて用いられ、被削材の鏡面仕上げのために特別な加工機やドレッシング装置を何ら必要としない利点がある。
また、好適には、前記プラトー面加工用レジノイド超砥粒砥石ホイールは、前記基台が有底円筒状を成し且つその開放側の円環状端面に前記砥石部が固着されたカップ状砥石であり、円筒研削、平面研削、内面研削等にも用いられるものである。また、好適には、前記プラトー面加工用レジノイド超砥粒砥石ホイールは、スルーフィード方式またはインフィード方式のセンタレス研削に用いられる。
また、好適には、前記砥石部は、前記基台の外周面上に2〜10(mm)の範囲内、例えば5(mm)程度の厚さ寸法で設けられる。このようにすれば、砥石部の厚さ寸法が十分に厚くされているので、砥石部内で有機質中空体が好適に圧縮されて砥粒突出し高さが揃う一方、砥石部の厚さ寸法が十分に薄くされているので、研削面に作用した押圧力で砥石部全体が圧縮変形させられ延いてはその外周面形状が変形させられることが好適に抑制されると共に、砥石部の熱膨張に起因する寸法精度の低下が一層抑制される。すなわち、本発明のプラトー面加工用レジノイド超砥粒砥石ホイールは、砥石部が基台に固着された構造であることから、その砥石部が熱膨張係数の大きい樹脂結合剤により砥粒が結合されたものであっても、その熱膨張が基台によって抑制されることによって砥石部の熱膨張に起因する寸法精度低下が抑制される利点を有するが、砥石部が薄くされる場合にはこれが一層顕著になる。
また、好適には、前記砥石部は、前記超砥粒よりも低硬度の砥粒を骨材として含むものである。骨材は、超砥粒と同程度の粒度、例えば♯1500程度のものが好ましく、また、5〜20(容量部)の範囲内、好適には10(容量部)程度の割合で含まれることが好ましい。また、骨材としては、人造炭化珪素やアルミナ等が好適に用いられる。
また、好適には、前記砥石部は、液状樹脂中に前記超砥粒および前記有機質中空体を分散させた液状混合物を所定の成形型内に流し込み成形することにより形成されたものである。このようにすれば、液状樹脂が砥粒相互間および有機質中空体相互間に満たされた状態で硬化させられることによって砥石部が形成されるため、粉末樹脂が用いられる場合に比較して砥粒の保持力が高められて研削面の過度の磨耗が抑制され、砥石寿命が高められる。なお、このような製造方法においては、砥石部が殆ど気孔を有しない緻密体に形成されるが、有機質中空体(前記大気孔を形成するための有機質材料等が含まれる場合にはその有機質材料および有機質中空体)が気孔形成材として機能するので、砥石部に気孔が存在しないことに起因する目詰りや焼け等の問題は生じない。
また、上記のような製造方法が採られる場合において、一層好適には、前記液状混合物は、前記所定の成形型内に前記基台を配置した状態でその外周側に流し込まれる。
また、好適には、上記のような流し込み成型法が採られる場合において、成形型は、前記液状樹脂が流し込まれるその内面が離型性を有するものである。このようにすれば、成形型内に流し込まれた流動性砥石原料の硬化過程においてこれが収縮させられる際に、型内面に固着されないことからその収縮が妨げられないので、歪みが生ずることが抑制される。また、硬化後に成形型内から容易に取り出すことも可能となる。このような離型処理は、例えば、成形型をポリプロピレン等の離型性を有する材料で構成すること、成形型内面にシリコーン樹脂或いはフッ素樹脂等のコーティングを施すこと、或いはポリプロピレン樹脂等のフィルムを設けること等で行うことができる。
以下、本発明の一実施例を図面を参照して詳細に説明する。なお、以下の実施例において図は適宜簡略化或いは変形されており、各部の寸法比および形状等は必ずしも正確に描かれていない。
図1は、本発明の一実施例のプラトー面加工用レジノイド超砥粒砥石ホイール(以下、砥石ホイールという)10の全体を示す斜視図である。図1において、砥石ホイール10は、外径305(mm)×厚さ20(mm)程度の円板状を成し、中央部に軸心方向(すなわち厚み方向)に貫通する内径(孔径)127.6(mm)程度の取付孔12を備えたものであって、その取付孔12を備えた厚肉円板状のコア部14と、そのコア部14の外周面に固着された砥石部16とから構成されている。本実施例においては、上記のコア部14が基台或いは支持体に相当する。
上記のコア部14は、例えば外径295(mm)程度のレジノイド砥石から成る高剛性の部材である。このレジノイド砥石は、例えばエポキシ等の樹脂結合剤で酸化アルミニウム等の砥粒を結合したものであって、全体として例えば10(GPa)程度の高い弾性率を備えている。
また、上記の砥石部16は、コア部14の外周面に径方向において例えば5(mm)程度の厚さ寸法で設けられている。この砥石部16は、例えば粒度が#1200程度のダイヤモンド(好ましくは人造単結晶ダイヤモンド)等の砥粒(超砥粒)18を、例えばビスフェノールA系エポキシ樹脂結合剤20で結合したものである。上記砥粒18は、砥石部16内においてたとえば20容量部程度の割合で略一様な分散状態で存在している。なお、砥粒18は、上記粒度に限られず種々の粒度のものを用いることができ、CBN砥粒であっても良い。また、合成樹脂結合剤20は、ビスフェノールA系エポキシ樹脂の他、硬質ポリウレタン樹脂等も用いられ得る。
図2は、砥石部16の構成すなわち砥石組織を拡大して示す図である。砥石部16は、砥粒18が樹脂結合剤20で結合されたものであるが、これらの他に、例えば粒度が#1500程度すなわち砥粒18と同程度の炭化珪素(好ましくは人造炭化珪素)等の一般砥粒から成る図示しない骨材や、有機質中空体22等が樹脂結合剤20中に分散されることにより構成されている。また、砥石組織中には、比較的大きな略球形の大気孔24が多数存在する。本実施例において、砥石部16の気孔は大気孔24の他、有機質中空体22によっても構成されており、樹脂結合剤20内の他の部分には空隙は殆ど存在せず、緻密に構成されている。なお、前記の骨材は、砥石部16内に例えば10(容量部)程度の割合で含まれている。この骨材は、樹脂結合剤20の弾性率を補って砥石部16の弾性率を高める、すなわち弾性変形し難くするために添加されているものである。砥石部16のうち砥粒18、有機質中空体22、および大気孔24を除く残部(以下、適宜「樹脂組織」という)の弾性率は、例えば2〜15GPa程度になっている。すなわち、前述したコア部14の弾性率は、樹脂組織の弾性率の3倍程度の値になっており、その樹脂組織よりも弾性変形し難い特性を有する。
上記の有機質中空体22は、例えば、塩化ビニリデン系樹脂およびアクリル系樹脂のうちの何れか一種類または二種類以上の混合物等の有機化合物から成るものであって、100μm程度、すなわち砥粒18の12.5倍程度の平均粒径を有し、砥石部16内に例えば20容量部程度の割合で略一様な分散状態で含まれている。この有機質中空体22は、上記のような樹脂から成り且つ外周壁(殻)の厚さ寸法が例えば0.5μm程度の中空球体であるので、押圧された際に容易に弾性的に押し縮められ得る。すなわち、有機質中空体22は、樹脂組織の弾性率の1/10程度の低弾性率の材料で構成されており、樹脂組織よりも弾性変形し易い特性を有する。このため、砥石部16の弾性率は、有機質中空体22が含まれていない場合の2/3〜1/4程度の範囲内の値に低下させられている。
また、上記の大気孔24は、後述するように例えば発泡倍率が10倍程度の発泡ポリスチレン等の高分子有機化合物から形成されたものであって、例えば1mm程度すなわち有機質中空体の平均粒径の10倍程度の直径を有し、砥石部16内に10(容量部)程度の割合で略一様な分散状態で存在する。なお、樹脂結合剤20の構成割合は、全容量からこれら砥粒18、骨材、有機中空体22、および大気孔24の全容積を除いた残部であり、例えば砥石部16内に40(容量部)程度の割合で含まれている。
以上のように構成される砥石ホイール10は、例えば、図3に実施状態を模式的に示されるようなセンタレス研削加工に用いられるものである。図3において、ワークレスト(ブレード)26上に、たとえばSUJ−2から成る軸状のワーク(被削材)28が載置されており、その両側に配置された砥石ホイール10と調整車30との間でそのワーク28が挟圧されている。そして、調整車30によりワーク28を所定の回転数で回転させながら、砥石ホイール10を所定の回転数で回転駆動することにより、ワーク28が砥石部16の粗粒部16a側から送られて、ワーク28の外周面32が研削加工される。なお、砥石ホイール10と調整車30とは、その軸心が互いに平行から僅かに傾いた位置関係にあるが、図においては簡略化して平行に描いている。
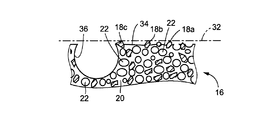
上記のような研削加工において、粗粒部16aでは、砥粒18の粒度が比較的粗いため、その粒度に応じた突起および溝がワーク28の表面に多数形成される。ワーク28が細粒部16bに到達すると、砥石ホイール10の研削面34がワーク28の外周面32に押し付けられ、その細粒部16bからの砥粒18の突き出し量にばらつきがある場合において、相対的に大きく突き出した砥粒18a、18bに外周面32から作用する押圧力が、相対的に突き出し量の小さい砥粒18cに作用する押圧力よりも大きくなる。しかし、本実施例においては、砥石部16の結合剤が低弾性率のビスフェノールA系エポキシ樹脂で構成されると共に、その砥石部16内に樹脂結合剤20よりも低弾性率の有機質中空体22が分散させられていることから、弾性変形し易いため、砥粒18a、18bに作用した大きな押圧力は樹脂結合剤20を介してその有機質中空体22に伝達され、これを弾性的に押し縮める。すなわち、有機質中空体22がエアー・クッションとして機能する。そのため、樹脂結合剤20がその研削面34近傍で僅かに弾性的に凹状に変形させられることにより、砥粒18a、18bが速やかに後退させられるので、その切れ刃先端が図4に示されるように、砥粒18cと同一面上に位置させられる。すなわち、研削加工は、このように砥粒18の突き出し高さが実質的に揃った状態で為されるのである。
したがって、細粒部16bでは、研削面34に一部の砥粒18が過度に突き出した状態でワーク外周面32を研削することが無いので、そのような砥粒18によってキズが生じることが抑制され、延いては#3000〜12000程度の微細砥粒による微細な加工が好適に実現される。これにより、センタレス研削盤のような汎用研削盤において砥石ホイール10でありながら、極めて平滑な表面、例えば十点平均粗さRzで0.02μmを下回る(すなわちそれよりも平滑な)鏡面状のプラトー面Pが深い油溝gと共に容易に得られる。図5は、その一例である。
例えば、気孔率が7容積%、42容積%である下記に示す寸法の砥石(比較例1、開発例1)を下記のドレス条件および研削条件で使用したところ、被削材において、比較例1では、ドレス時の抵抗が0.8kgf、面粗度が0.08mRaであったが、開発例1では、ドレス時の抵抗が0.2kgfと1/4となり、面粗度が0.02mRaと1/4となった。このような鏡面状のプラトー面Pは、従来はホーニングや超仕上げによらなければ得られなかったのである。また、ワーク外周面32を例えばレンジで2(μm)程度以下の高い寸法精度で加工することができた。
[砥石]
・寸法 :φ420×t150×φ228.6(mm)
・コア部:φ405×t150×φ228.6(mm)、ビトリファイド砥石製コア
[ドレッシング条件]
・研削盤 :センタレス研削盤
・砥石周速度 :2000(m/min)
・ドレス切込み:R2(μm/pass)、スパークアウト3pass
・ドレスリード:0.06(mm/rev.of.wheel)
・ドレッサ :単石ドレッサ
・ドレス方式 :湿式ドレス
[研削条件]
・被削材 :SUJ−2焼材(HRc60)、前加工粗さ:0.4μmRz
・被削材寸法:φ9×L14(mm)
・取代 :φ10(μm)
・研削方式 :湿式スルーフィードセンタレス研削
・砥石周速度:2700(m/min)
・送り角 :1.0°
・修正角 :0.5°
しかも、砥石部16内に分散して存在する大気孔24は、研削面34に露出させられると、図4に示されるようにその研削面34に巨大な凹所36を形成する。この凹所36は、研削面34においてチップポケットとして機能し、研削面34から脱落し或いは破砕された砥粒18や、切り粉(すなわち研削屑)等を一時的に収容することによってその排出を容易にする。そのため、目詰りが好適に抑制されるので、良好な切れ味が長時間に亘って維持され、研削焼けが抑制されてワーク外周面32が一層平滑に研削される利点がある。
更に、上記のように砥石部16は容易に弾性的に押し縮められ得るように構成され、延いては研削面34が容易に弾性的に後退させられるように構成されているが、砥石部16は前述したような樹脂結合剤20よりも高弾性率の(すなわち弾性変形し難い)コア14の外周面に固着されていることから、その砥石部16の過度の変形がそのコア14によって抑制される。そのため、研削面34が過度に変形させられることがないので、研削面34全体の寸法精度および形状精度が保たれることから、ワーク外周面32を高い寸法精度および形状精度で加工できる利点もある。
上記の砥石ホイール10は、例えば、以下のようにして製造される。図6は、砥石ホイール10の製造工程の要部を説明する工程図である。砥石ホイール10を製造するに際しては、先ず、調合工程P1において、前述したような割合となるように砥粒(ダイヤモンド砥粒)18、骨材(炭化珪素)、有機質中空体22、大気孔24を形成するための発泡ポリスチレン、樹脂結合剤(液状エポキシ樹脂)20をそれぞれ秤量し、混合工程P2において、順次に混合した。すなわち、先ず、砥粒18、エポキシ樹脂結合剤の主剤と硬化剤、および有機質中空体22を混合し、例えば10分間程度攪拌する。次いで、これに発泡ポリスチレンを投入し、5分間程度攪拌する。次いで、流し込み工程P3では、このようにして得られた流動性砥石原料を金型38内に流し込む。
図7は、この流し込み工程P3の実施状態を説明する模式図である。図において、金型38は、例えば内径308mm程度、深さ22mm程度の凹所40を備えたものであって、その凹所40内面には離型性のコーティングやフィルム等が設けられている。凹所40内には、別途製造された前記コア部14がその中央部に配置されており、それらの相互間には例えば径方向の幅寸法が5mm程度の円環状断面の隙間42が形成されている。なお、コア部14は前述したように例えばレジノイド砥石で構成されるものであり、例えば外径φ295mm×t22mm程度の寸法を備えている。上記の流し込み工程P3では、このような金型38内の隙間42に、前記の流動性砥石原料が流し込まれる。
次いで、硬化工程P4では、金型38内に流し込んだまま常温(すなわち室温)で例えば24時間程度放置することにより、樹脂結合剤20を硬化させ、更に、金型38から取り出し(脱型し)、例えば160(℃)程度の温度で3時間程度の本硬化処理を施す。この過程で発泡ポリスチレンは収縮させられ、前記の大気孔24が生成される。その後、端面、外周面(研削面34)、および孔(取付孔12)内面等の仕上げ加工を施すことにより、前記の砥石ホイール10が得られる。
このようにして製造される砥石ホイール10は、液状樹脂が用いられて流し込み成形されることから、砥粒18が樹脂結合剤20に強固に保持されるので、砥粒18の過度の脱落が抑制され、長寿命が得られる。樹脂結合剤組織中に自然発生的な気孔は存在しないが、前述したように大気孔24が発泡ポリスチレンから生成されると共に、有機質中空体22がチップポケットとして機能する気孔を形成する。
上述のように、本実施例の砥石ホイール10によれば、砥石部16が10〜60容積%の気孔率と2〜15GPaの弾性率とを有することから、適度な軟らかさで超砥粒が結合されるとともに適度の割合で気孔が形成されているので、外周面で研削する通常の砥石ホイールと同様の研削手法を用いて、被削材28の表面の拡大断面において図5に示すように深い油溝gと平坦なプラトー面部pとが精度良く、一挙に且つ能率良く形成される。
また、本実施例の砥石ホイール10によれば、超砥粒18は、#600〜#12000の範囲内の粒度を有するものであることから、プラトー面Pにおける溝加工と平坦なプラトー面部とを一挙に形成することができる。
また、本実施例の砥石ホイール10によれば、コア部(基台)14は、無機結合剤の溶融温度よりも高い温度の焼成によって一般砥粒(無機骨材粒子)がその無機結合剤により相互に固着された焼結体であることから、高剛性のコア部(基台)14の外周面に砥石部が設けられるので、高い面精度が得られる。
また、本実施例の砥石ホイール10によれば、砥石部16には、有機質中空体(気孔形成剤)22が含まれることから、その有機質中空体22の混入量を調節することで、10〜60容積%の気孔率を容易に得ることができる。
次に、本発明の他の実施例を説明する。なお、以下の説明において前述の実施例と共通する部分には同一の符号を付して説明を省略する。
図8において、本実施例の砥石ホイール10の砥石部16は、コア部14の外周面に径方向において例えば5(mm)程度の厚さ寸法で設けられている。この砥石部16は、例えば粒度が#600〜#2000好適には#700程度のダイヤモンド(好ましくは人造単結晶ダイヤモンド)等の砥粒(超砥粒)18を、例えばビスフェノールA系エポキシ樹脂結合剤20で結合した粗粒部16aと、例えば粒度が#3000〜#12000好適には#8000程度のダイヤモンド(好ましくは人造単結晶ダイヤモンド)等の砥粒(超砥粒)18を、例えばビスフェノールA系エポキシ樹脂結合剤20で結合した細粒部16bとから成るものである。粗粒部16aおよび細粒部16bは、上記砥石部16の幅方向すなわち回転軸心方向において1/5〜4/5および4/5〜1/5の割合で設けられている。粗粒部16aの砥粒18と細粒部16bの砥粒18とは5倍以上の粒径の差が設けられている。上記砥粒18は、砥石部16内においてたとえば20容量部程度の割合で略一様な分散状態で存在している。本実施例の砥石ホイール10でも、前述の図7に示す工程により製造されるが、流し込み工程P3および硬化工程P4が2度繰り返される。
例えば、上記粗粒部16aを#700の粒度であるダイヤモンド砥粒18を用いて気孔率を12容積%、弾性率4GPaとし、上記細粒部16bを#8000の粒度であるダイヤモンド砥粒18を用いて気孔率を54容積%、弾性率4GPaとした前述の比較例1、開発例1に示す寸法の砥石(開発例2)を作成して前述のドレス条件および研削条件(但し、切り込み量10μm、被削材の材質420J2)で使用したところ、被削材において、開発例2では、プラトー面部pの面粗さRzが0.05μm、油溝gの面粗さRzが0.41μmとなった。このようなプラトー面部pおよび油溝gを含む鏡面状のプラトー面Pは、従来はホーニングや超仕上げによらなければ得られなかったのである。また、ワーク外周面32を例えばレンジで2(μm)程度以下の高い寸法精度で加工することができた。
本実施例の砥石ホイール10によれば、砥石部16は、その砥石部16の軸心方向において、1/5〜4/5の幅を有して#600〜#2000の範囲内の粒度を有する超砥粒から構成される粗粒部と、その粗粒部を除く4/5〜1/5の幅を有して#3000〜#12000の範囲内の粒度を有する超砥粒から構成される細粒部とから構成されることから、たとえばセンタレス研削において被削材を軸心に平行な方向に送ることにより、粗粒部により被削材の表面に相対的に粗い粗面を創生した後に、細粒部によりその粗面の突起を除去して平坦なプラトー面部を形成することができる。
以上、本発明を図面を参照して詳細に説明したが、本発明は更に別の態様でも実施でき、その主旨を逸脱しない範囲で種々変更を加え得るものである。
本発明のプラトー面加工用レジノイド超砥粒砥石ホイールの全体を示す斜視図である。 図1のプラトー面加工用レジノイド超砥粒砥石ホイールの砥石部を拡大して示す図である。 図1のプラトー面加工用レジノイド超砥粒砥石ホイールの使用状態を模式的に示す図である。 図3に示す使用状態における研削面の変化を説明するための要部を拡大して示す断面図であって、被削材によって研削面が押圧されつつある状態でその押圧力に従って砥粒が押し下げられた状態をそれぞれ示す図である。 図4に示す状態で研削された研削面の表面プロファイルを拡大して示す図である。 図1のレジノイド砥石の製造方法の要部を説明する工程図である。 図6の製造工程における流し込み工程を順次説明する図であって、(a)はコア部を金型の凹所内にセットした状態を、(b)は流動性砥石原料を流し込んだ状態を示している。 本発明の他の実施例のプラトー面加工用レジノイド超砥粒砥石ホイールの全体を示す斜視図である。
符号の説明
10:砥石ホイール(プラトー面加工用レジノイド超砥粒砥石ホイール)
14:コア部(基台)
16:砥石部
18:砥粒
20:樹脂結合剤
22:有機質中空体
32:ワーク外周面
34:研削面

Claims (5)

  1. 厚肉円板状の基台と、多数の超砥粒が合成樹脂結合剤により相互に結合して形成された砥石部が該基台の外周面に固着されて成り、拡大断面において平坦なプラトー面部と油溜まりとして機能する溝とを有するプラトー面加工用レジノイド超砥粒砥石ホイールであって、
    前記砥石部が、10〜60容積%の気孔率と2〜15GPaの弾性率とを有することを特徴とするプラトー面加工用レジノイド超砥粒砥石ホイール。
  2. 前記超砥粒は、#600〜#12000の範囲内の粒度を有するものである請求項1のプラトー面加工用レジノイド超砥粒砥石ホイール。
  3. 前記砥石部は、該砥石部の軸心方向において1/5〜4/5の幅を有して#600〜#2000の範囲内の粒度を有する超砥粒から構成される粗粒部と、該粗粒部を除く4/5〜1/5の幅を有して#3000〜#12000の範囲内の粒度を有する超砥粒から構成される細粒部とから構成されることを特徴とする請求項1または2のプラトー面加工用レジノイド超砥粒砥石ホイール。
  4. 前記基台は、無機結合剤の溶融温度よりも高い温度の焼成によって無機骨材粒子が該無機結合剤により相互に固着された焼結体である請求項1乃至3のいずれか1のプラトー面加工用レジノイド超砥粒砥石ホイール。
  5. 前記砥石部には、気孔形成剤が含まれることを特徴とする請求項1乃至4のいずれか1のプラトー面加工用レジノイド超砥粒砥石ホイール。
JP2008213374A 2008-08-21 2008-08-21 プラトー面加工用レジノイド超砥粒砥石ホイール Expired - Fee Related JP5155774B2 (ja)

Priority Applications (1)

Application Number Priority Date Filing Date Title
JP2008213374A JP5155774B2 (ja) 2008-08-21 2008-08-21 プラトー面加工用レジノイド超砥粒砥石ホイール

Applications Claiming Priority (1)

Application Number Priority Date Filing Date Title
JP2008213374A JP5155774B2 (ja) 2008-08-21 2008-08-21 プラトー面加工用レジノイド超砥粒砥石ホイール

Publications (2)

Publication Number Publication Date
JP2010046761A true JP2010046761A (ja) 2010-03-04
JP5155774B2 JP5155774B2 (ja) 2013-03-06

Family

ID=42064295

Family Applications (1)

Application Number Title Priority Date Filing Date
JP2008213374A Expired - Fee Related JP5155774B2 (ja) 2008-08-21 2008-08-21 プラトー面加工用レジノイド超砥粒砥石ホイール

Country Status (1)

Country Link
JP (1) JP5155774B2 (ja)

Cited By (36)

* Cited by examiner, † Cited by third party
Publication number Priority date Publication date Assignee Title
JP2012011522A (ja) * 2010-07-02 2012-01-19 Noritake Co Ltd ホーニング砥石
JP2014050908A (ja) * 2012-09-06 2014-03-20 Ngk Spark Plug Co Ltd 軸部材のセンタレス研削方法、及び円軸部材の製造方法
CN106102983A (zh) * 2014-01-27 2016-11-09 康宁股份有限公司 通过机械加工激光切割玻璃来进行边缘斜切
US9850159B2 (en) 2012-11-20 2017-12-26 Corning Incorporated High speed laser processing of transparent materials
US9850160B2 (en) 2013-12-17 2017-12-26 Corning Incorporated Laser cutting of display glass compositions
US10173916B2 (en) 2013-12-17 2019-01-08 Corning Incorporated Edge chamfering by mechanically processing laser cut glass
US10233112B2 (en) 2013-12-17 2019-03-19 Corning Incorporated Laser processing of slots and holes
US10252931B2 (en) 2015-01-12 2019-04-09 Corning Incorporated Laser cutting of thermally tempered substrates
US10280108B2 (en) 2013-03-21 2019-05-07 Corning Laser Technologies GmbH Device and method for cutting out contours from planar substrates by means of laser
US10335902B2 (en) 2014-07-14 2019-07-02 Corning Incorporated Method and system for arresting crack propagation
US10377658B2 (en) 2016-07-29 2019-08-13 Corning Incorporated Apparatuses and methods for laser processing
US10392290B2 (en) 2013-12-17 2019-08-27 Corning Incorporated Processing 3D shaped transparent brittle substrate
US10421683B2 (en) 2013-01-15 2019-09-24 Corning Laser Technologies GmbH Method and device for the laser-based machining of sheet-like substrates
US10522963B2 (en) 2016-08-30 2019-12-31 Corning Incorporated Laser cutting of materials with intensity mapping optical system
US10526234B2 (en) 2014-07-14 2020-01-07 Corning Incorporated Interface block; system for and method of cutting a substrate being transparent within a range of wavelengths using such interface block
US10611667B2 (en) 2014-07-14 2020-04-07 Corning Incorporated Method and system for forming perforations
US10626040B2 (en) 2017-06-15 2020-04-21 Corning Incorporated Articles capable of individual singulation
US10688599B2 (en) 2017-02-09 2020-06-23 Corning Incorporated Apparatus and methods for laser processing transparent workpieces using phase shifted focal lines
US10730783B2 (en) 2016-09-30 2020-08-04 Corning Incorporated Apparatuses and methods for laser processing transparent workpieces using non-axisymmetric beam spots
US10752534B2 (en) 2016-11-01 2020-08-25 Corning Incorporated Apparatuses and methods for laser processing laminate workpiece stacks
US11062986B2 (en) 2017-05-25 2021-07-13 Corning Incorporated Articles having vias with geometry attributes and methods for fabricating the same
US11078112B2 (en) 2017-05-25 2021-08-03 Corning Incorporated Silica-containing substrates with vias having an axially variable sidewall taper and methods for forming the same
US11111170B2 (en) 2016-05-06 2021-09-07 Corning Incorporated Laser cutting and removal of contoured shapes from transparent substrates
US11114309B2 (en) 2016-06-01 2021-09-07 Corning Incorporated Articles and methods of forming vias in substrates
US11186060B2 (en) 2015-07-10 2021-11-30 Corning Incorporated Methods of continuous fabrication of holes in flexible substrate sheets and products relating to the same
CN114364479A (zh) * 2019-08-29 2022-04-15 株式会社则武 齿轮磨削用多层磨石
US11542190B2 (en) 2016-10-24 2023-01-03 Corning Incorporated Substrate processing station for laser-based machining of sheet-like glass substrates
US11554984B2 (en) 2018-02-22 2023-01-17 Corning Incorporated Alkali-free borosilicate glasses with low post-HF etch roughness
US11556039B2 (en) 2013-12-17 2023-01-17 Corning Incorporated Electrochromic coated glass articles and methods for laser processing the same
US11648623B2 (en) 2014-07-14 2023-05-16 Corning Incorporated Systems and methods for processing transparent materials using adjustable laser beam focal lines
US11697178B2 (en) 2014-07-08 2023-07-11 Corning Incorporated Methods and apparatuses for laser processing materials
US11773004B2 (en) 2015-03-24 2023-10-03 Corning Incorporated Laser cutting and processing of display glass compositions
US11774233B2 (en) 2016-06-29 2023-10-03 Corning Incorporated Method and system for measuring geometric parameters of through holes
US12180108B2 (en) 2017-12-19 2024-12-31 Corning Incorporated Methods for etching vias in glass-based articles employing positive charge organic molecules
EP4363163A4 (en) * 2021-06-30 2025-04-23 Saint-gobain Abrasives, Inc ABRASIVE ARTICLES AND METHODS OF FORMING SUCH ARTICLES
WO2025164226A1 (ja) * 2024-01-31 2025-08-07 住友ベークライト株式会社 ブレーキピストンの研摩方法

Citations (6)

* Cited by examiner, † Cited by third party
Publication number Priority date Publication date Assignee Title
JPH02145264A (ja) * 1988-11-29 1990-06-04 Ibiden Co Ltd センターレス研削盤の砥石車
JPH0680547U (ja) * 1993-04-20 1994-11-15 ジューキ株式会社 プラトー表面加工用砥石工具
JPH0947957A (ja) * 1995-08-08 1997-02-18 Asahi Daiyamondo Kogyo Kk ホーニング砥石
JP2003014067A (ja) * 2001-06-29 2003-01-15 Nissan Motor Co Ltd トラクションドライブ用転動体およびトラクションドライブ用転動体の転動面加工方法ならびに自動車用無段変速機
JP2005246569A (ja) * 2004-03-05 2005-09-15 Noritake Co Ltd 鏡面研削用レジノイド砥石
JP2006320992A (ja) * 2005-05-18 2006-11-30 Noritake Co Ltd 固体潤滑剤を含む鏡面研磨用レジノイド砥石の製造方法

Patent Citations (6)

* Cited by examiner, † Cited by third party
Publication number Priority date Publication date Assignee Title
JPH02145264A (ja) * 1988-11-29 1990-06-04 Ibiden Co Ltd センターレス研削盤の砥石車
JPH0680547U (ja) * 1993-04-20 1994-11-15 ジューキ株式会社 プラトー表面加工用砥石工具
JPH0947957A (ja) * 1995-08-08 1997-02-18 Asahi Daiyamondo Kogyo Kk ホーニング砥石
JP2003014067A (ja) * 2001-06-29 2003-01-15 Nissan Motor Co Ltd トラクションドライブ用転動体およびトラクションドライブ用転動体の転動面加工方法ならびに自動車用無段変速機
JP2005246569A (ja) * 2004-03-05 2005-09-15 Noritake Co Ltd 鏡面研削用レジノイド砥石
JP2006320992A (ja) * 2005-05-18 2006-11-30 Noritake Co Ltd 固体潤滑剤を含む鏡面研磨用レジノイド砥石の製造方法

Cited By (43)

* Cited by examiner, † Cited by third party
Publication number Priority date Publication date Assignee Title
JP2012011522A (ja) * 2010-07-02 2012-01-19 Noritake Co Ltd ホーニング砥石
JP2014050908A (ja) * 2012-09-06 2014-03-20 Ngk Spark Plug Co Ltd 軸部材のセンタレス研削方法、及び円軸部材の製造方法
US9850159B2 (en) 2012-11-20 2017-12-26 Corning Incorporated High speed laser processing of transparent materials
US11345625B2 (en) 2013-01-15 2022-05-31 Corning Laser Technologies GmbH Method and device for the laser-based machining of sheet-like substrates
US11028003B2 (en) 2013-01-15 2021-06-08 Corning Laser Technologies GmbH Method and device for laser-based machining of flat substrates
US10421683B2 (en) 2013-01-15 2019-09-24 Corning Laser Technologies GmbH Method and device for the laser-based machining of sheet-like substrates
US10280108B2 (en) 2013-03-21 2019-05-07 Corning Laser Technologies GmbH Device and method for cutting out contours from planar substrates by means of laser
US11713271B2 (en) 2013-03-21 2023-08-01 Corning Laser Technologies GmbH Device and method for cutting out contours from planar substrates by means of laser
US10233112B2 (en) 2013-12-17 2019-03-19 Corning Incorporated Laser processing of slots and holes
US11556039B2 (en) 2013-12-17 2023-01-17 Corning Incorporated Electrochromic coated glass articles and methods for laser processing the same
US10392290B2 (en) 2013-12-17 2019-08-27 Corning Incorporated Processing 3D shaped transparent brittle substrate
US10173916B2 (en) 2013-12-17 2019-01-08 Corning Incorporated Edge chamfering by mechanically processing laser cut glass
US9850160B2 (en) 2013-12-17 2017-12-26 Corning Incorporated Laser cutting of display glass compositions
US10597321B2 (en) 2013-12-17 2020-03-24 Corning Incorporated Edge chamfering methods
CN106102983A (zh) * 2014-01-27 2016-11-09 康宁股份有限公司 通过机械加工激光切割玻璃来进行边缘斜切
US11697178B2 (en) 2014-07-08 2023-07-11 Corning Incorporated Methods and apparatuses for laser processing materials
US10526234B2 (en) 2014-07-14 2020-01-07 Corning Incorporated Interface block; system for and method of cutting a substrate being transparent within a range of wavelengths using such interface block
US11648623B2 (en) 2014-07-14 2023-05-16 Corning Incorporated Systems and methods for processing transparent materials using adjustable laser beam focal lines
US10335902B2 (en) 2014-07-14 2019-07-02 Corning Incorporated Method and system for arresting crack propagation
US10611667B2 (en) 2014-07-14 2020-04-07 Corning Incorporated Method and system for forming perforations
US10252931B2 (en) 2015-01-12 2019-04-09 Corning Incorporated Laser cutting of thermally tempered substrates
US11773004B2 (en) 2015-03-24 2023-10-03 Corning Incorporated Laser cutting and processing of display glass compositions
US11186060B2 (en) 2015-07-10 2021-11-30 Corning Incorporated Methods of continuous fabrication of holes in flexible substrate sheets and products relating to the same
US11111170B2 (en) 2016-05-06 2021-09-07 Corning Incorporated Laser cutting and removal of contoured shapes from transparent substrates
US11114309B2 (en) 2016-06-01 2021-09-07 Corning Incorporated Articles and methods of forming vias in substrates
US11774233B2 (en) 2016-06-29 2023-10-03 Corning Incorporated Method and system for measuring geometric parameters of through holes
US10377658B2 (en) 2016-07-29 2019-08-13 Corning Incorporated Apparatuses and methods for laser processing
US10522963B2 (en) 2016-08-30 2019-12-31 Corning Incorporated Laser cutting of materials with intensity mapping optical system
US10730783B2 (en) 2016-09-30 2020-08-04 Corning Incorporated Apparatuses and methods for laser processing transparent workpieces using non-axisymmetric beam spots
US11130701B2 (en) 2016-09-30 2021-09-28 Corning Incorporated Apparatuses and methods for laser processing transparent workpieces using non-axisymmetric beam spots
US11542190B2 (en) 2016-10-24 2023-01-03 Corning Incorporated Substrate processing station for laser-based machining of sheet-like glass substrates
US10752534B2 (en) 2016-11-01 2020-08-25 Corning Incorporated Apparatuses and methods for laser processing laminate workpiece stacks
US10688599B2 (en) 2017-02-09 2020-06-23 Corning Incorporated Apparatus and methods for laser processing transparent workpieces using phase shifted focal lines
US11078112B2 (en) 2017-05-25 2021-08-03 Corning Incorporated Silica-containing substrates with vias having an axially variable sidewall taper and methods for forming the same
US11062986B2 (en) 2017-05-25 2021-07-13 Corning Incorporated Articles having vias with geometry attributes and methods for fabricating the same
US11972993B2 (en) 2017-05-25 2024-04-30 Corning Incorporated Silica-containing substrates with vias having an axially variable sidewall taper and methods for forming the same
US10626040B2 (en) 2017-06-15 2020-04-21 Corning Incorporated Articles capable of individual singulation
US12180108B2 (en) 2017-12-19 2024-12-31 Corning Incorporated Methods for etching vias in glass-based articles employing positive charge organic molecules
US11554984B2 (en) 2018-02-22 2023-01-17 Corning Incorporated Alkali-free borosilicate glasses with low post-HF etch roughness
CN114364479A (zh) * 2019-08-29 2022-04-15 株式会社则武 齿轮磨削用多层磨石
CN114364479B (zh) * 2019-08-29 2024-01-02 株式会社则武 齿轮磨削用多层磨石
EP4363163A4 (en) * 2021-06-30 2025-04-23 Saint-gobain Abrasives, Inc ABRASIVE ARTICLES AND METHODS OF FORMING SUCH ARTICLES
WO2025164226A1 (ja) * 2024-01-31 2025-08-07 住友ベークライト株式会社 ブレーキピストンの研摩方法

Also Published As

Publication number Publication date
JP5155774B2 (ja) 2013-03-06

Similar Documents

Publication Publication Date Title
JP5155774B2 (ja) プラトー面加工用レジノイド超砥粒砥石ホイール
EP2219824B1 (en) Abrasive processing of hard and/or brittle materials
KR100359401B1 (ko) 연삭 공구
EP1066134B1 (en) Abrasive tools
KR100416330B1 (ko) 전자 부품 연삭용 연마 도구
US6019668A (en) Method for grinding precision components
JP3795778B2 (ja) 水添ビスフェノールa型エポキシ樹脂を用いたレジノイド研削砥石
JP3791610B2 (ja) 鏡面加工用超砥粒ホイール
JP2001205566A (ja) 樹脂含浸ビトリファイド砥石およびその製造方法
JP2005246569A (ja) 鏡面研削用レジノイド砥石
JP2003136410A (ja) 超砥粒ビトリファイドボンド砥石
JP3553810B2 (ja) 固体潤滑剤を含む樹脂含浸ビトリファイド砥石
JP2001300856A (ja) 超砥粒工具
JP2006320992A (ja) 固体潤滑剤を含む鏡面研磨用レジノイド砥石の製造方法
JP2000024934A (ja) 鏡面加工用超砥粒砥石
JP2006297528A (ja) 塊状砥粒を有するレジノイド砥石の製造方法
JP2003053668A (ja) ビトリファイドボンド砥石
JP2004130464A (ja) レジノイド研削砥石
IE20060634A1 (en) Porous abrasive segments and tools incorporating the same

Legal Events

Date Code Title Description
A621 Written request for application examination

Free format text: JAPANESE INTERMEDIATE CODE: A621

Effective date: 20100714

A131 Notification of reasons for refusal

Free format text: JAPANESE INTERMEDIATE CODE: A131

Effective date: 20120306

A977 Report on retrieval

Free format text: JAPANESE INTERMEDIATE CODE: A971007

Effective date: 20120308

A521 Request for written amendment filed

Free format text: JAPANESE INTERMEDIATE CODE: A523

Effective date: 20120411

TRDD Decision of grant or rejection written
A01 Written decision to grant a patent or to grant a registration (utility model)

Free format text: JAPANESE INTERMEDIATE CODE: A01

Effective date: 20121113

A61 First payment of annual fees (during grant procedure)

Free format text: JAPANESE INTERMEDIATE CODE: A61

Effective date: 20121207

FPAY Renewal fee payment (event date is renewal date of database)

Free format text: PAYMENT UNTIL: 20151214

Year of fee payment: 3

R150 Certificate of patent or registration of utility model

Free format text: JAPANESE INTERMEDIATE CODE: R150

Ref document number: 5155774

Country of ref document: JP

Free format text: JAPANESE INTERMEDIATE CODE: R150

R250 Receipt of annual fees

Free format text: JAPANESE INTERMEDIATE CODE: R250

R250 Receipt of annual fees

Free format text: JAPANESE INTERMEDIATE CODE: R250

R250 Receipt of annual fees

Free format text: JAPANESE INTERMEDIATE CODE: R250

R250 Receipt of annual fees

Free format text: JAPANESE INTERMEDIATE CODE: R250

R250 Receipt of annual fees

Free format text: JAPANESE INTERMEDIATE CODE: R250

R250 Receipt of annual fees

Free format text: JAPANESE INTERMEDIATE CODE: R250

LAPS Cancellation because of no payment of annual fees