JP2010046717A - 粗形材 - Google Patents
粗形材 Download PDFInfo
- Publication number
- JP2010046717A JP2010046717A JP2009273680A JP2009273680A JP2010046717A JP 2010046717 A JP2010046717 A JP 2010046717A JP 2009273680 A JP2009273680 A JP 2009273680A JP 2009273680 A JP2009273680 A JP 2009273680A JP 2010046717 A JP2010046717 A JP 2010046717A
- Authority
- JP
- Japan
- Prior art keywords
- forging
- product
- rough
- shape
- surface layer
- Prior art date
- Legal status (The legal status is an assumption and is not a legal conclusion. Google has not performed a legal analysis and makes no representation as to the accuracy of the status listed.)
- Granted
Links
Images
Landscapes
- Forging (AREA)
- Vehicle Body Suspensions (AREA)
Abstract
【解決手段】表面層が、鋳造鋳肌、逆偏析層、酸化層から選ばれる何れか1種または2種以上の組み合わせであり、表面部位を、粗形材表面から5mm以内の部位とすること、その形状が、製品部の必要とする体積より小さい部分では、外周部幅が製品外周部幅より大きく、製品部の必要とする体積より大きい部分では、外周部幅が製品外周部幅より小さい形状となっている粗形材を閉塞鍛造で成形し、特に、表面部位に鍛造用素材の表面層を有し、鍛流線が枝部の長手方向に沿った流れになっていて、表面部位にバリ取り痕がないものとした。
【選択図】図1
Description
具体的には、例えば図7に示す中実丸棒71から粗形材鍛造用金型で鍛造し、外側にバリ72を有する鍛造品よりトリム金型(トリミング金型)によりバリ72をバリ取り加工し、得られた粗形材73を複数回鍛造してアッパーアーム74を得ている。ここで、バリ72による材料ロスを低減するために、粗形材鍛造用金型は1つの中実丸棒71から複数の鍛造製品73aが一度に得られるような形状とすることがおこなわれている。
(1)閉塞鍛造で成形され、表面部位に鍛造用素材の表面層を有し、鍛流線が枝部の長手方向に沿った流れになっていて、表面部位にバリ取り痕がない状態で、前記表面層をバリとして製品部位外に押出す鍛造工程に用いられるとともに、この鍛造工程の後に、前記表面層が含まれるバリを除去し鍛造製品とするバリ取り工程を経る粗形材であって、鍛造工程は、(a)鍛造製品の形状の断面に基づき、「製品の横幅+(表面層幅×2以上)」を横幅とした長方形を想定し、その長方形の面積と前記鍛造製品の断面積とが同じになるように長方形の「高さ」を求め、(b)鍛造製品の全ての箇所の断面形状及びその断面積から(a)の方法により求められた長方形の「高さ」のうち最大のものを「粗形材の基本厚さ」とし、(c)(b)で求めた「粗形材の基本厚さ」と「製品の横幅+(表面層幅×2)」により「初期値の粗形材形状」を仮定し、(d)「初期値の粗形材形状」の断面積と、該断面積の位置での「製品形状」の断面積とを比較し、(e)(d)の結果、(製品形状の断面積)<(初期値粗形材形状の断面積)である場合、(粗形材形状の断面積)が(製品形状の断面積)と等しくなるまで、粗形材の幅を小さくする方向に修正して(d)へ戻り繰り返すことにより、製品形状及び粗形材形状の表面部位の位置と鍛造工程用金型の成形孔との位置関係が定められている、ことを特徴とする。
(2)特に、表面層が、鋳造鋳肌、逆偏析層、酸化層から選ばれる何れか1種または2種以上の組み合わせである、ことを特徴とする。
(3)さらに、表面部位を、粗形材表面から5mm以内の部位とする、ことを特徴とする。
(4)さらにまた、その形状が、製品部の必要とする体積より、粗形材の体積が小さい部分では、粗形材外周部幅が製品外周部幅より大きく、製品部の必要とする体積より粗形材の体積が大きい部分では、粗形材外周部幅が製品外周部幅より小さい形状となっている、ことを特徴とする。
(a)与えられた製品形状の断面において、「製品の横幅+(表面層幅×2以上、例えば20mm以上)」を横幅とした長方形を想定し、その長方形の面積と製品断面積とが同じになるように長方形の「高さ」を求める。
(b)製品形状の全ての箇所について断面形状と断面積を求め、断面形状と断面積を求めた各箇所において(a)の方法により長方形の「高さ」を求め、各箇所で求めた「高さ」のうち最大のものを仮の「粗形材の基本厚さ」とする。
(c)「(b)で求めた粗形材の厚さ」と「製品の横幅+(表面層幅×2)」とでまず「初期値の粗形材形状」を仮定する。ここで、粗形材の側面を表面層とする。
(d)次ぎに「初期値の粗形材形状」の断面面積と、断面面積の位置での「製品形状」の断面面積とを比較する(図23(a))。断面の方向は、例えば、枝部の伸びる方向に垂直であって鍛造加圧方向と平行とすることができる。または鍛造加圧方向に平行であって、加圧方向において断面面積が最小となる角度の方向とすることができる。または、枝部の伸びる方向に垂直であって、中間仕上鍛造のパーティングラインに垂直である方向とすることができる。
または、製品形状において体積の大きな部位(例えば、ボールジョイント部、ボス部、ブッシュ装着部など)数ヶ所においてこれらを組み合わせた断面積をもって代表させることができる。
(e)(d)の結果、(製品形状断面積)<(初期値粗形材形状断面積)である場合、粗形材形状断面積が製品形状断面積と等しくなるまで、粗形材の幅を小さくする方向に修正して(d)へ戻り繰り返す(図23(b)参照。)。
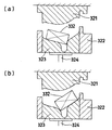
(f)(e)の結果、粗形材の幅が製品の幅より大きくなった場合、金型のバリ出し部がそのまま表層部排出部となる(図23(b)参照。)。
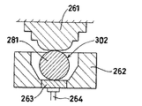
また、(e)の結果、粗形材の幅が製品の幅より小さくなった場合、金型には表層部排出部を設ける(図23(c)、(d)、(e)。)。粗形材の幅が製品の幅より小さくなった場合に設ける表層部排出部は、幅271は表層部の幅以上に設定するのが好ましい。深さ272は、成形時に粗形材は成形孔内に押し下げられると同時に押し広げられるが(例えば金型に凸部がある場合はより広げられる。)、その時に粗形材の側面の表層部が排出部の位置に広がって結果表層部が排出部内に押出されていくように設けることが好ましい。また排出部の角部273は、鍛造時の応力を逃すだけでなく表層部の排出がスムーズになるように曲率を設ける(例えば曲率半径3mm〜10mmとする。)のが好ましい。
(g)以上より、最終決定された粗形材の形状は、製品部の必要とする体積より、粗形材の体積が小さい場合、粗形材外周部は製品外周部より大きく、製品部の必要とする体積より粗形材の体積が大きい場合、粗形材外周部は製品外周部より小さい形状となっている(図24参照。)。
(h)以上より、粗形材形状、表層部の位置、中間仕上鍛造用金型の成形孔、金型の表層部排出部の関係は次ぎのようになっている。
(ア)金型は、粗形材の幅が製品の幅より大きくなった場合に対応する箇所では、表層部の位置は製品成形孔の外周になるようにし、その外周部には表層部が残るように表層部排出部を設ける。
(イ)金型は、粗形材の幅が製品の幅より小さくなった場合に対応する箇所では、表層部の位置は製品成形孔の内側(製品部の内側)になるようにし、その外周部には表層部が排出されるように表層部排出部を設ける。
1)連続鋳造丸棒を粗形材と同体積の長さに切断する工程と、
2)一定量の鍛造用素材をホッパー内に保留し、次工程へ鍛造用素材を供給する工程と、
3)鍛造用素材を金型へ搬送する工程と、
4)鍛造用素材を鍛造する工程(粗仕上鍛造工程、中間仕上鍛造工程、最終仕上鍛造工程、バリ取り(トリム)工程)と、
5)鍛造製品を金型内から排出する工程と、
6)取り出した鍛造製品を溶体化・時効処理を実施する熱処理工程とを含ませることができる。
図6(a)に示す自動車用サスペンション部品であるアッパーアーム荒地粗材(粗形材)を粗仕上鍛造工程で成形する為、このアッパーアーム荒地粗材と同一体積のJIS6061アルミニウム合金の切断品を鍛造用素材として次のように設計した。
実施例1でのアッパーアーム荒地粗材を、図7に示した従来からの製法であるバリ出し熱間鍛造方法にて製造した。鍛造条件は、素材の加熱温度500℃、金型温度180℃とした。JIS6061に示されるアルミニウム合金の連続鋳造丸棒材(直径80[mm])から、切断品直径80[mm]、長さ360[mm]、体積1810[cm3]、素材重量4900[g]を切断し、鍛造用素材として用いた。連続鋳造丸棒材は外周部2mmについてピーリング処理を施したものを用いた。
図18に示す車両用サスペンション部品であるアッパーアームを製造する為、図19に示すアッパーアーム荒地鍛造用粗材を製造した。このアッパーアーム荒地粗材と同一体積のJIS6061アルミニウム合金の切断品を鍛造用素材としてを次のように設計した。
前述の実施例1において、鍛造用素材のアルミニウム合金種を以下の様に変更した以外、その他の鍛造条件は同条件にて鍛造を行った。
前述の比較例1において、鍛造用合金種を実施例3と同じものを用い、その他の鍛造条件は同じで鍛造を行った。
本発明による閉塞鍛造により得られたアッパーアームの鍛造製品(実施例3)と、従来方法であるバリ出し熱間鍛造で得られた粗形材を用いた鍛造製品(比較例2)とを溶体化処理条件(530℃で6時間保持。)、時効処理条件(180℃で6時間保持。)にて熱処理を実施した後、図6(a)中の符号Qで示す部分より図9に示す引張試験片はASTM−R3号(標点間の径6.4mm、標点間距離25.4mm。)を切りだし、機械的特性を調査した。引張試験機は、(株)島津製作所オートグラフを使用し、引張荷重20[kN]の条件にて実施した。試料数はそれぞれ各3本とし、この時得られた各機械的特性のデータを表1に示す。
前述の実施例3に於いて、金型として図13に示すホルダーリングを有する分割ダイスを用いた以外は、鍛造条件は同条件にて鍛造を行った。
図29に示す鍛造用荒地粗材(粗形材)を粗仕上鍛造工程で成形する為、この粗形材と同一体積のJIS6061アルミニウム合金の切断品を鍛造用素材として次のように設計した。
円盤状の切断品(円柱状素材)は実施例5と同じものを用いたが、配置方向は実施例5とは異なり図35に示すように置き、円盤の表面層332を有する外周面からパンチで加重して熱間鍛造を実施した。鍛造条件は、素材の加熱温度500℃、金型温度180℃とした。
(1)複数の枝部を有する金属鍛造製品の製造方法において、側面に表面層を有する円柱状素材を用いて、表面部位に表面層を有するように閉塞鍛造法にて粗形材を成形する粗仕上鍛造工程と、表面部位に表面層を有している粗形材を用いて表面層をバリとして製品部位外に押出す中間仕上鍛造工程と、を含むことを特徴とする金属鍛造製品の製造方法の発明。
(2)さらに、最終形状品を用いて表面層が含まれるバリを除去し鍛造最終製品とするバリ取り工程を含む発明。
(3)さらに、表面層が、鋳造鋳肌、逆偏析層、酸化層から選ばれる何れか1種または2種以上を組み合わせた状態の部分を含む範囲である発明。
(4)さらに、表面層を、円柱状素材の側面表面から5mm以内の部位とする発明。
(5)さらに、表面部位を、粗形材表面から7mm以内の部位とする発明。
(6)さらに、粗仕上鍛造工程が、鍛造製品の体積と同一の体積であって加圧方向に垂直な投影面の短軸長と加圧方向の長さとの比が1以下である形状を有し、形状が角を含まない上底面及び下底面と、側面とからなる円柱状の鋳塊を鍛造用の素材として用い、上底面及び下底面が粗形材の有する平行面と対応するように配置して、上記円柱状の素材の側面から加圧する発明。
(7)さらに、上記円柱状の素材は、直径(R)と厚さ(T)との比(T/R)の値が1以下であって、かつ粗形材の体積(V)と同一の体積であるように切断した円柱状の切断品である発明。
(8)さらに、上記粗形材の体積(V)と、上記円柱状の素材の厚さ(T)と、上記粗形材の加圧方向に対する投影面積の長軸長(L)と、上記円柱状の素材の直径(R)との関係が、
(9)さらに、上記円柱状の素材の厚さ(T)が0.8〜1.0×(上記粗形材の加圧方向に対する投影面積の短軸長(t))である発明。
(10)さらに、中間仕上鍛造工程が、粗形材の厚みが成形品の厚みより小さい部位では粗形材の表面部位を金型成形孔の製品部位の外側に設けた表面層排出部の上に粗形材を配置し、粗形材の厚みが成形品の厚みより大きい部位では製品部位より外周側の高さが製品部位と同等または低くなっている金型成形孔の製品部位の端より製品部位内側に表面部位が配置されるように粗形材を配置した状態で、鍛造を行う発明。
(11)さらに、上記鍛造用の素材をアルミニウムまたはアルミニウム合金とする発明。
(12)さらに、鍛造製品が車両用サスペンション部品であるアッパーアームまたはロアアームである発明。
(13)さらに、粗仕上鍛造工程において、粗仕上鍛造工程用金型は、丸棒材の厚さ(T)が0.8〜1.0×(粗形材の加圧方向に対する投影面積の短軸長(t)mmとなるようなパンチとダイスで囲まれた空間の形状を有していること。
(14)さらに、粗仕上鍛造工程において、粗仕上鍛造工程用金型のパンチとダイスで囲まれる空間形状が、粗形材の体積(V)mm3と、丸棒材の厚さ(T)mmと、粗形材の加圧方向に対する投影面積の長軸長(L)mmと、丸棒材の直径(R)mmとが、(1/3)×L≦R=2×(V/Tπ)1/2≦Lの関係を有する発明。
(15)さらに、この中間仕上鍛造工程においては、(a)鍛造製品の形状の断面に基づき、「製品の横幅+(表面層幅×2以上)」を横幅とした長方形を想定し、その長方形の面積と前記鍛造製品の断面積とが同じになるように長方形の「高さ」を求め、(b)鍛造製品の全ての箇所の断面形状及びその断面積から(a)の方法により求められた長方形の「高さ」のうち最大のものを「粗形材の基本厚さ」とし、(c)(b)で求めた「粗形材の基本厚さ」と「製品の横幅+(表面層幅×2)」により「初期値の粗形材形状」を仮定し、(d)「初期値の粗形材形状」の断面積と、該断面積の位置での「製品形状」の断面積とを比較し、(e)(d)の結果、(製品形状の断面積)<(初期値粗形材形状の断面積)である場合、(粗形材形状の断面積)が(製品形状の断面積)と等しくなるまで、粗形材の幅を小さくする方向に修正して(d)へ戻り繰り返すことにより、製品形状及び粗形材形状の表面部位の位置と中間仕上鍛造工程用金型の成形孔との位置関係を定める発明。
(16)さらに、上記製造方法を用いて製造され、枝部断面の中心部の鍛流線が枝部の長手方向に沿った流れになっていることを特徴とする車両用サスペンション部品であるアッパーアームまたはロアアームである発明。
(17)なお、製品を成形するに用いる粗形材(本発明)は、表面部位に鍛造用素材の表面層を有し、鍛流線が枝部の長手方向に沿った流れになっていて、表面部位にバリ取り痕がないことを特徴とする閉塞鍛造で成形された粗形材であって、表面層が、鋳造鋳肌、逆偏析層、酸化層から選ばれる何れか1種または2種以上の組み合わせであり、表面部位を、粗形材表面から5mm以内の部位とすること、その形状が、製品部の必要とする体積より、粗形材の体積が小さい部分では、粗形材外周部幅が製品外周部幅より大きく、製品部の必要とする体積より粗形材の体積が大きい部分では、粗形材外周部幅が製品外周部幅より小さい形状となっていることが好ましい。
(18)また、上記粗形材の製品が車両用サスペンション部品のアッパーアームまたはロアアームであることも好ましい。
(19)さらに、パンチと、ダイスとを含む閉塞鍛造用金型であって、表面部位に表面層を有し、鍛流線が枝部の長手方向に沿った流れになっていて、表面部位にバリ取り痕がない複数の枝部を有する成形品が得られるように成形空間が設けられている成形孔を有する上記製造方法に含まれる粗仕上鍛造工程に使用される金型である発明に用いられる。
(20)さらに、上記金型が左右への分割構造を有して、かつ分割された金型を嵌め合せて保持する手段を有する発明に用いられる。
(21)さらに、保持する手段が、ホルダーリング、稼動機構から選ばれる何れか1種または2種以上の組み合わせである発明に用いられる。
(22)さらに、パンチと、ダイスとを含む鍛造用金型であって、表面部位に表面層を有している粗形材の表面層をバリとして製品部位外に押出すように成形空間が設けられている成形孔を有する上記製造方法に含まれる中間仕上鍛造工程に使用される金型である発明に用いられる。
(23)さらに、粗形材の厚みが成形品の厚みより小さい部位では粗形材の表面部位がその位置に配置されるように金型成形孔の製品部位の外側に表面層排出部を設けてあり、粗形材の厚みが成形品の厚みより大きい部位では製品部位より外周側にその高さが製品部位と同等または低くなっている表面層排出部を設けてある金型成形孔を有する発明に用いられる。
(24)さらに、素材切断装置と、鍛造機械とを含む複数の枝部を有する金属鍛造製品生産システムにおいて、(19)から(21)のいずれか1つに記載された金型を有する鍛造機械と、(22)または(23)に記載された金型を有する鍛造機械と、を有すること、または、(19)から(21)のいずれか1つに記載された金型と、(22)または(23)に記載された金型と、を有する鍛造機械を有することを特徴とする金属鍛造製品生産システムである発明に用いられる。
12、112、262 ダイス
13、114、263 ノック
14、264 ノックアウト
15、61、73、251、265、804 粗形材
51、52、53 部分
54、74 アッパーアーム
62、252、352 粗形材の側面
63、253、351 粗形材の平行面
64 製品部位
65 表面層部逃がしライン
66 表面層部排出部位
67 バリ部位
71 中実丸棒
72 バリ
73a 鍛造製品
92 分岐部
93、94 金型
101 素材切断装置
102 素材供給装置
103 素材加熱装置
104 素材搬送装置
105 鍛造機械
106 成形品搬出装置
107 鍛造製品熱処理炉
108 バリ取り装置
113 ブッシュ
115 潤滑剤噴霧装置
121 分割ダイス
122 腕部
231、281、331 円盤状切断品
271 幅
272 深さ
273 角部
301 円柱状素材
302、332 表面層
501 ホルダーリング
502 ホルダーリングの幅
503 金型の厚肉部位
504 分割金型ダイス
601 中間仕上鍛造工程用金型(下型)
602 製品形状の成形孔の製品部位
603、805 表面層排出部
801 中間仕上鍛造工程用金型の上金型(パンチ)
802 中間仕上鍛造工程用金型の下金型(ダイス)
803 製品部位成形孔
I、M 加圧方向
J、N、U 短軸長
K、O、W 長軸長
Q 部分
Claims (4)
- 閉塞鍛造で成形され、表面部位に鍛造用素材の表面層を有し、鍛流線が枝部の長手方向に沿った流れになっていて、表面部位にバリ取り痕がない状態で、前記表面層をバリとして製品部位外に押出す鍛造工程に用いられるとともに、
この鍛造工程の後に、前記表面層が含まれるバリを除去し鍛造製品とするバリ取り工程を経る粗形材であって、
前記鍛造工程は、
(a)鍛造製品の形状の断面に基づき、「製品の横幅+(表面層幅×2以上)」を横幅とした長方形を想定し、その長方形の面積と前記鍛造製品の断面積とが同じになるように長方形の「高さ」を求め、
(b)鍛造製品の全ての箇所の断面形状及びその断面積から(a)の方法により求められた長方形の「高さ」のうち最大のものを「粗形材の基本厚さ」とし、
(c)(b)で求めた「粗形材の基本厚さ」と「製品の横幅+(表面層幅×2)」により「初期値の粗形材形状」を仮定し、
(d)「初期値の粗形材形状」の断面積と、該断面積の位置での「製品形状」の断面積とを比較し、
(e)(d)の結果、(製品形状の断面積)<(初期値粗形材形状の断面積)である場合、(粗形材形状の断面積)が(製品形状の断面積)と等しくなるまで、粗形材の幅を小さくする方向に修正して(d)へ戻り繰り返すことにより、
製品形状及び粗形材形状の表面部位の位置と鍛造工程用金型の成形孔との位置関係が定められている、
ことを特徴とする粗形材。 - 前記表面層が、鋳造鋳肌、逆偏析層、酸化層から選ばれる何れか1種または2種以上の組み合わせである、
ことを特徴とする請求項1に記載の粗形材。 - 前記表面部位を、粗形材表面から5mm以内の部位とする、
ことを特徴とする請求項1または請求項2に記載の粗形材。 - その形状が、製品部の必要とする体積より、粗形材の体積が小さい部分では、粗形材外周部幅が製品外周部幅より大きく、製品部の必要とする体積より粗形材の体積が大きい部分では、粗形材外周部幅が製品外周部幅より小さい形状となっている、
ことを特徴とする請求項1から請求項3のいずれか1項に記載の粗形材。
Priority Applications (1)
| Application Number | Priority Date | Filing Date | Title |
|---|---|---|---|
| JP2009273680A JP4927929B2 (ja) | 2003-02-18 | 2009-12-01 | 粗形材 |
Applications Claiming Priority (5)
| Application Number | Priority Date | Filing Date | Title |
|---|---|---|---|
| JP2003039140 | 2003-02-18 | ||
| JP2003039140 | 2003-02-18 | ||
| JP2003322929 | 2003-09-16 | ||
| JP2003322929 | 2003-09-16 | ||
| JP2009273680A JP4927929B2 (ja) | 2003-02-18 | 2009-12-01 | 粗形材 |
Related Parent Applications (1)
| Application Number | Title | Priority Date | Filing Date |
|---|---|---|---|
| JP2004041676A Division JP4703961B2 (ja) | 2003-02-18 | 2004-02-18 | 金属鍛造製品の製造方法 |
Related Child Applications (1)
| Application Number | Title | Priority Date | Filing Date |
|---|---|---|---|
| JP2011203206A Division JP5483292B2 (ja) | 2003-02-18 | 2011-09-16 | 金属鍛造製品の製造方法 |
Publications (2)
| Publication Number | Publication Date |
|---|---|
| JP2010046717A true JP2010046717A (ja) | 2010-03-04 |
| JP4927929B2 JP4927929B2 (ja) | 2012-05-09 |
Family
ID=42064257
Family Applications (2)
| Application Number | Title | Priority Date | Filing Date |
|---|---|---|---|
| JP2009273680A Expired - Fee Related JP4927929B2 (ja) | 2003-02-18 | 2009-12-01 | 粗形材 |
| JP2011203206A Expired - Fee Related JP5483292B2 (ja) | 2003-02-18 | 2011-09-16 | 金属鍛造製品の製造方法 |
Family Applications After (1)
| Application Number | Title | Priority Date | Filing Date |
|---|---|---|---|
| JP2011203206A Expired - Fee Related JP5483292B2 (ja) | 2003-02-18 | 2011-09-16 | 金属鍛造製品の製造方法 |
Country Status (1)
| Country | Link |
|---|---|
| JP (2) | JP4927929B2 (ja) |
Cited By (1)
| Publication number | Priority date | Publication date | Assignee | Title |
|---|---|---|---|---|
| JP2017006970A (ja) * | 2015-06-25 | 2017-01-12 | 日立金属株式会社 | 鍛造型設計支援装置および鍛造型設計支援方法 |
Families Citing this family (1)
| Publication number | Priority date | Publication date | Assignee | Title |
|---|---|---|---|---|
| JP7393236B2 (ja) * | 2020-02-07 | 2023-12-06 | 株式会社神戸製鋼所 | 鍛造装置及び車両用ナックル |
Citations (3)
| Publication number | Priority date | Publication date | Assignee | Title |
|---|---|---|---|---|
| JPH0323028A (ja) * | 1989-06-19 | 1991-01-31 | Mazda Motor Corp | アルミニウム部品の製造方法及びそれに用いる鍛造金型 |
| JPH10118735A (ja) * | 1996-10-17 | 1998-05-12 | Nippon Light Metal Co Ltd | 鋳造・鍛造用金型と鋳造・鍛造法及びその製品 |
| JP2002361354A (ja) * | 2001-03-29 | 2002-12-17 | Showa Denko Kk | 閉塞鍛造方法、アッパーアームまたはロアアームの粗形材、ヨーク、金型及び閉塞鍛造生産システム |
Family Cites Families (2)
| Publication number | Priority date | Publication date | Assignee | Title |
|---|---|---|---|---|
| JPH04309430A (ja) * | 1991-04-09 | 1992-11-02 | Toyota Motor Corp | アルミニウム合金の型鍛造方法 |
| JP4224676B2 (ja) * | 2002-07-12 | 2009-02-18 | 日本軽金属株式会社 | アルミニウム合金の鍛造方法 |
-
2009
- 2009-12-01 JP JP2009273680A patent/JP4927929B2/ja not_active Expired - Fee Related
-
2011
- 2011-09-16 JP JP2011203206A patent/JP5483292B2/ja not_active Expired - Fee Related
Patent Citations (3)
| Publication number | Priority date | Publication date | Assignee | Title |
|---|---|---|---|---|
| JPH0323028A (ja) * | 1989-06-19 | 1991-01-31 | Mazda Motor Corp | アルミニウム部品の製造方法及びそれに用いる鍛造金型 |
| JPH10118735A (ja) * | 1996-10-17 | 1998-05-12 | Nippon Light Metal Co Ltd | 鋳造・鍛造用金型と鋳造・鍛造法及びその製品 |
| JP2002361354A (ja) * | 2001-03-29 | 2002-12-17 | Showa Denko Kk | 閉塞鍛造方法、アッパーアームまたはロアアームの粗形材、ヨーク、金型及び閉塞鍛造生産システム |
Cited By (1)
| Publication number | Priority date | Publication date | Assignee | Title |
|---|---|---|---|---|
| JP2017006970A (ja) * | 2015-06-25 | 2017-01-12 | 日立金属株式会社 | 鍛造型設計支援装置および鍛造型設計支援方法 |
Also Published As
| Publication number | Publication date |
|---|---|
| JP5483292B2 (ja) | 2014-05-07 |
| JP2012020341A (ja) | 2012-02-02 |
| JP4927929B2 (ja) | 2012-05-09 |
Similar Documents
| Publication | Publication Date | Title |
|---|---|---|
| CN101234401B (zh) | 一种镁合金汽车车轮挤压成形方法及模具 | |
| EP1610914B1 (en) | Method for producing a metal forged product | |
| JP2846263B2 (ja) | 半割り機械部品の製造方法 | |
| CN109093048B (zh) | 一种大型机闸类锻件模具及锻造方法 | |
| KR100572560B1 (ko) | 밀폐 단조 방법, 그 방법을 이용한 단조 제조 시스템, 그방법 및 시스템에 이용되는 단조용 다이, 및 그 방법 및시스템에 의해 제조되는 조형재 및 요크 | |
| JP4355140B2 (ja) | ユニバーサルジョイントヨークの製造方法及び鍛造用金型 | |
| JP5553291B2 (ja) | 成形品の製造方法 | |
| JP2010082693A (ja) | 押出しによるホイールの製造方法及びホイール | |
| US5689882A (en) | Method of producing a rear wheel spindle | |
| US10442241B2 (en) | Methods and apparatus to produce high performance axisymmetric components | |
| JP2007118040A (ja) | 鍛造成形品、その製造方法、鍛造成形装置、鍛造品製造システムおよび予備成形品 | |
| JP2009274135A (ja) | 軽合金製鍛造ホイールとその製造方法 | |
| JP4703961B2 (ja) | 金属鍛造製品の製造方法 | |
| JP3846785B2 (ja) | 閉塞鍛造方法、金型及び閉塞鍛造生産システム | |
| JP5483292B2 (ja) | 金属鍛造製品の製造方法 | |
| CZ101698A3 (cs) | Způsob výroby kol z lehkých slitin | |
| JP5801783B2 (ja) | 分割ダイス | |
| JP2006043770A (ja) | 成形品製造方法、鍛造用金型、成形品、および鍛造生産システム | |
| CN105870760B (zh) | 电子卡卡托的制造工艺 | |
| JP2020131217A (ja) | スクロール部材用鍛造品 | |
| JP3951463B2 (ja) | はすば歯車または平歯車の製造方法および製造装置 | |
| JP2005163179A (ja) | 成形品の製造方法およびその生産ライン | |
| JPWO2007013675A1 (ja) | 鍛造用金型、鍛造成形品製造方法とその鍛造成形品 | |
| JP2010137257A (ja) | 鍛造ビレット及びホイール |
Legal Events
| Date | Code | Title | Description |
|---|---|---|---|
| A621 | Written request for application examination |
Free format text: JAPANESE INTERMEDIATE CODE: A621 Effective date: 20091201 |
|
| A977 | Report on retrieval |
Free format text: JAPANESE INTERMEDIATE CODE: A971007 Effective date: 20110714 |
|
| A131 | Notification of reasons for refusal |
Free format text: JAPANESE INTERMEDIATE CODE: A131 Effective date: 20110719 |
|
| A521 | Written amendment |
Free format text: JAPANESE INTERMEDIATE CODE: A523 Effective date: 20110916 |
|
| TRDD | Decision of grant or rejection written | ||
| A01 | Written decision to grant a patent or to grant a registration (utility model) |
Free format text: JAPANESE INTERMEDIATE CODE: A01 Effective date: 20120207 |
|
| A01 | Written decision to grant a patent or to grant a registration (utility model) |
Free format text: JAPANESE INTERMEDIATE CODE: A01 |
|
| A61 | First payment of annual fees (during grant procedure) |
Free format text: JAPANESE INTERMEDIATE CODE: A61 Effective date: 20120209 |
|
| FPAY | Renewal fee payment (event date is renewal date of database) |
Free format text: PAYMENT UNTIL: 20150217 Year of fee payment: 3 |
|
| R150 | Certificate of patent or registration of utility model |
Ref document number: 4927929 Country of ref document: JP Free format text: JAPANESE INTERMEDIATE CODE: R150 Free format text: JAPANESE INTERMEDIATE CODE: R150 |
|
| LAPS | Cancellation because of no payment of annual fees |
