JP2010046030A - カキ果実用クラック発生処理装置及びカキ果実用外果皮除去装置 - Google Patents

カキ果実用クラック発生処理装置及びカキ果実用外果皮除去装置 Download PDF

Info

Publication number
JP2010046030A
JP2010046030A JP2008214124A JP2008214124A JP2010046030A JP 2010046030 A JP2010046030 A JP 2010046030A JP 2008214124 A JP2008214124 A JP 2008214124A JP 2008214124 A JP2008214124 A JP 2008214124A JP 2010046030 A JP2010046030 A JP 2010046030A
Authority
JP
Japan
Prior art keywords
oyster
fruit
oyster fruit
persimmon
support table
Prior art date
Legal status (The legal status is an assumption and is not a legal conclusion. Google has not performed a legal analysis and makes no representation as to the accuracy of the status listed.)
Granted
Application number
JP2008214124A
Other languages
English (en)
Other versions
JP4991659B2 (ja
Inventor
Yoshitaka Kimoto
佳孝 木本
Toshiaki Nakanishi
登志明 中西
Mitsuo Konno
光生 今野
Keishi Nishi
佳史 西
Shinsuke Koda
親助 甲田
Hiroki Shinohara
啓樹 篠原
Current Assignee (The listed assignees may be inaccurate. Google has not performed a legal analysis and makes no representation or warranty as to the accuracy of the list.)
KIMOTO SANGYO KK
Original Assignee
KIMOTO SANGYO KK
Priority date (The priority date is an assumption and is not a legal conclusion. Google has not performed a legal analysis and makes no representation as to the accuracy of the date listed.)
Filing date
Publication date
Application filed by KIMOTO SANGYO KK filed Critical KIMOTO SANGYO KK
Priority to JP2008214124A priority Critical patent/JP4991659B2/ja
Publication of JP2010046030A publication Critical patent/JP2010046030A/ja
Application granted granted Critical
Publication of JP4991659B2 publication Critical patent/JP4991659B2/ja
Expired - Fee Related legal-status Critical Current
Anticipated expiration legal-status Critical

Links

Images

Landscapes

  • Apparatuses For Bulk Treatment Of Fruits And Vegetables And Apparatuses For Preparing Feeds (AREA)

Abstract

【課題】カキ果実の剥皮作業に要する手間と時間を簡略化したカキ果実用剥皮装置に用いるためのカキ果実用クラック発生処理装置及びカキ果実用外果皮除去装置の提供を目的とする。
【解決手段】カキ果実用クラック発生処理装置2は、カキ果実Fを支持する支持部11と、支持部11に支持されたカキ果実Fに火炎を放射して少なくとも角皮にクラックを発生させるバーナ12とを備えてなる。また、カキ果実用外果皮除去装置6は、カキ果実Fが通過可能な通過穴部60を有し、該通過穴部60の内周に径方向内向きの舌片部61を設けてなる円盤体49と、円盤体49を略垂直軸心回りに回転させる回転駆動手段64とを備えたものである。
【選択図】図2

Description

本発明は、カキ果実用クラック発生処理装置及びカキ果実用外果皮除去装置に関するものである。
従来、野菜や果実等の剥皮には、刃物や研削機具、ロール状機具を用いたり、圧搾空気や蒸気を利用したり、また、苛性ソーダ等の薬品処理を行うといった方法が単独で、またはこれらを組み合わせて利用されている。しかし、剥皮野菜や剥皮果実の品質を維持しつつ、大量の野菜や果実を効率的に剥皮するための汎用的剥皮装置は確立されていなかった。
そこで、下記特許文献1には、カキ果実に関し、該カキ果実を加熱手段により加熱したカキ果実に、ペクチン質分解酵素を含浸させてカキ果実の外果皮組織を分解する酵素処理を施し、酵素処理の施された外果皮を除去するカキ果実の剥皮方法が開示されている。
また、下記特許文献2には、カキ果実について加熱処理を行った後、カキ果実の表面に金属針による穿孔を行い、続いて酵素処理を施すことでカキ果実の剥皮を行うといった方法及びこれに用いる装置が開示されている。このカキ果実の剥皮方法では加熱処理において亀裂が生じていない部分に金属針による穿孔を行うことで、その後の酵素処理に用いる酵素の浸透を増大させ、外果皮組織の崩壊を促進させることができ効率よく剥皮処理を行うことができる。
そして、下記特許文献3には、加熱手段より先にカキ果実の角皮に該角皮を貫通する傷を生じさせ、その後加熱処理してカキ果実に含まれているペクチン質分解酵素活性阻害因子を不活性化させる。そして、ペクチン質分解酵素を含浸させる酵素処理を行い、外果皮組織を除去手段により除去することで剥皮カキ果実を得る方法が開示されている。これによりカキ果実の品種や熟度が異なっていてもあらゆるカキ果実において剥皮が可能となる。
更に、下記特許文献4には、柑橘系の果物に関し、外皮にあけた孔から柑橘系の果物の内部に酵素を導入して、外皮と果肉との間の結合体を弱化させる柑橘類果物の外皮除去方法が開示されている。
特開2004−121242号公報
特開2005−253353号公報
特開2008−86258号公報
特開平5−115268号公報
しかしながら、上記各特許文献に記載の剥皮方法では、大部分が手動による作業を行っており、剥皮のために多大な手間と時間を要した。
本発明は、上記した従来の問題点に鑑みてなされたものであって、カキ果実の剥皮作業に要する手間と時間を簡略化したカキ果実用剥皮装置に用いるためのカキ果実用クラック発生処理装置及びカキ果実用外果皮除去装置の提供を目的とする。
上記目的を達成するために、本発明に係るカキ果実用クラック発生処理装置は、カキ果実を支持する支持部と、支持部に支持されたカキ果実に火炎を放射して少なくとも角皮にクラックを発生させるバーナとを備えてなる。
また、前記構成において、支持部は、バーナの火炎放射位置と待避位置との間でカキ果実を移動させる移動手段と、移動手段による移動中及び火炎放射位置での停止中にカキ果実を支持部に保持するよう吸引する吸引手段とを備えたものである。
そして、前記各構成において支持部は、周縁部にカキ果実を載置するための載置皿部を設けるとともに、載置皿部に上下貫通する貫通孔部が形成された支持テーブルと、支持テーブルの貫通孔部に上下出没自在に設けられたカキ払い出し棒とを備えているものである。
更に、本発明に係るカキ果実用外果皮除去装置は、カキ果実が通過可能な通過穴部を有し、該通過穴部の内周に径方向内向きの舌片部を設けてなる円盤体と、円盤体を略垂直軸心回りに回転させる回転駆動手段とを備えたものである。
更に、前記構成において、円盤体に洗浄液を供給する洗浄液供給部を備え、前記円盤体の下方位置に洗浄液及び通過穴部を通過したカキ果実を収容するカキ果実受槽を設け、カキ果実受槽内にカキ果実から除去された外果皮と洗浄液とを分離する濾過体を設けたものである。
本発明に係るカキ果実用クラック発生処理装置よれば、カキ果実を支持する支持部と、支持部に支持されたカキ果実に火炎を放射して少なくとも角皮にクラックを発生させるバーナとを備えてなるので、短時間で均一のクラックを少なくともカキ果実の角皮に発生させることができる。
また、支持部は、バーナの火炎放射位置と待避位置との間でカキ果実を移動させる移動手段と、移動手段による移動中及び火炎放射位置での停止中にカキ果実を支持部に保持するよう吸引する吸引手段とを備えたので、移動手段による移動中、吸引手段によってカキ果実を支持部に保持することができる。
そして、支持部は、周縁部にカキ果実を載置するための載置皿部を設けるとともに、載置皿部に上下貫通する貫通孔部が形成された支持テーブルと、支持テーブルの貫通孔部に上下出没自在に設けられたカキ払い出し棒とを備えた場合には、クラック発生処理後のカキ果実を容易に支持テーブルから外方に払い出すことができる。
更に、カキ果実用外果皮除去装置は、カキ果実が通過可能な通過穴部を有し、該通過穴部の内周に径方向内向きの舌片部を設けてなる円盤体と、円盤体を略垂直軸心回りに回転させる回転駆動手段とを備えたので、カキ果実が通過穴部を通過中に回転駆動する円盤体の舌片部をカキ果実に接触させて外果皮を除去できる。
更に、円盤体に洗浄液を供給する洗浄液供給部を備え、前記円盤体の下方位置に洗浄液及び通過穴部を通過したカキ果実を収容するカキ果実受槽を設け、カキ果実受槽内にカキ果実から除去された外果皮と洗浄液とを分離する濾過体を設けた場合には、洗浄液と外果皮を容易に分離することができ、使用後の洗浄液廃棄処理が容易となるとともに、回収した外果皮を資源として利用することができる。
本発明の最良の実施形態を説明する。ここに、図1は本発明の一実施形態に係るカキ果実用クラック発生処理装置及びカキ果実用外果皮除去装置を備えたカキ果実の剥皮システムの構成概略図、図2は前記カキ果実用クラック発生処理装置の構成断面図、図3は前記カキ果実の剥皮システムの酵素処理装置の構成断面図、図4は前記カキ果実用外果皮除去装置の外観斜視図、図5は前記カキ果実用外果皮除去装置の内部構造を示す図である。
図1に示すように、本実施形態にかかるカキ果実の剥皮システム1は、カキ果実の少なくとも角皮にクラックを発生させる処理を行うカキ果実用クラック発生処理装置2と、角皮にクラックの発生したカキ果実を加熱する加熱処理装置3と、加熱処理装置3により加熱されたカキ果実のペクチン質を酵素により分解処理する酵素処理装置4と、酵素処理の行われたカキ果実を所定時間保管する保管庫5と、保管庫5に保管されたカキ果実の外果皮を除去するカキ果実用外果皮除去装置6とを備えている。
本実施形態にかかる剥皮処理の対象となるカキ果実の種類は、特に限定されず、干し柿用に用いる例えば平核無カキ、刀根早生カキ、市田カキ、富有カキ、祇園坊カキ、西条カキ、青曽カキ、三社カキ等の剥皮に用いてもよく、カットフルーツ等の生食用の各種カキ果実に用いてもよい。カキ果実の組織は、上記特許文献3の図4に示すように、外側から順に角皮、表皮、亜表皮及び石細胞の4層からなる外果皮と、その内側のタンニン細胞及び柔細胞からなる中果皮により構成されている。尚、文献によっては、石細胞を外果皮でなく中果皮に含めるとする記述も存在するが、本発明においては、石細胞を外果皮として扱い、記述を行う。
カキ果実用クラック発生処理装置2は、上記した4層からなる外果皮のうち、少なくとも角皮にクラックを発生させる処理を行う。該角皮に加えて外果皮を構成する他の組織、即ち、表皮、亜表皮または石細胞のいずれかにもクラックを生じさせても構わない。ここで、クラックとは、亀裂、ひび割れ、割れ目などといった所定の長さに亘って形成された細長い切れ目のことを意味する。
カキ果実用クラック発生処理装置2は、図2(a)において横断面図で、(b)において縦断面側図で示すように、カキ果実Fを支持する支持部11と、支持部11に支持されたカキ果実Fの角皮に火炎を放射して少なくとも角皮にクラックを発生させるバーナ12とを備えてなる。支持部11は、カキ果実用クラック発生処理装置2の中段の枠体13に回転自在に軸支された平面視円形状の支持テーブル14と、図2(b)において支持テーブル14の下方左側に示す移動手段16とを備えている。
支持テーブル14は中心部下方に設置した支持テーブル回転手段15によって平面視反時計回りに回転するよう回転自在に軸支されている。支持テーブル回転手段15による回転速度は図示しない制御装置によって制御されている。
また、支持テーブル14の周縁部にはカキ果実Fを載置するための複数の載置皿部21を設けており、載置皿部21の略中央には支持テーブル14を上下貫通する貫通孔部22が形成され、該貫通孔部22は後述する移動手段16の昇降棒17が挿通可能な大きさに形成されている。複数の載置皿部21は、支持テーブル14の周縁部に所定個数が所定間隔で配置されたものであり、本実施形態では図2(a)に示すように、30個の載置皿部21を、隣接する載置皿部21の中心Pと支持テーブル14の中心Cとを結ぶ2本の直線T,T’のなす角度θが略12°となるように配置されている。
以後の説明の便宜上、支持テーブル14に形成された載置皿部21の位置については図2(a)において右方略中央部に位置する載置皿部を21aとし、反時計回りに順次21b,21c,21d,・・・,21Dとする。
支持テーブル14の載置皿部21w,21x,21yの下方には、カキ果実Fを支持テーブル14から外方に払い出すための払い出し手段25を備えている。載置皿部21w,21x,21yはバーナ12の火炎放射位置Kより支持テーブル回転手段15による回転方向の下流側にあり、火炎放射位置Kにおいて少なくとも角皮にクッラクを発生させる処理の行われたカキ果実Fを、下流側の載置皿部21w,21x,21yにおいて支持テーブル14から外方へ排出し、コンベア(図示しない)などを用いてカキ果実Fを自動で次工程に搬送するようになっている。
払い出し手段25は、支持テーブル14の載置皿部21w,21x,21yの貫通孔部22に上下出没自在に設けられた3本のカキ払い出し棒26を備えている。カキ払い出し棒26の上端部は支持テーブル14の中心C側が高く外周縁側が低くなるよう傾斜して形成されている。このカキ払い出し棒26を載置皿部21w,21x,21yの貫通孔部22から突出させることにより、載置皿部21w,21x,21yに載置されたカキ果実Fを持ち上げるとともに、カキ払い出し棒26の上端部の傾斜面に沿わせてカキ果実Fを支持テーブル14の外周縁側へ転がすことで、カキ果実Fを支持テーブル14から外方に払い出すようになっている。
移動手段16は、シリンダ19と、シリンダ19内に挿通するピストン18と、ピストン18の上部に接続された昇降棒17とを備えている。昇降棒17はピストン18の昇降動作に連動して上下動し、昇降棒17の上方に位置合わせされた載置皿部21中央の貫通孔部22に挿通できるよう構成されている。この昇降棒17が貫通孔部22から突出することで、載置皿部21に載置されたカキ果実Fを昇降棒17の上端部で支持し、カキ果実Fをバーナ12の火炎放射位置Kと待避位置Wとの間で昇降させるようになっている。
また、図2(b)に示すように、昇降棒17は軸心Uを中心としてr方向に回動する昇降棒回動手段20を備えており、昇降棒17上端部に支持するカキ果実Fを軸心Uを中心に回動することができるようになっている。更に、昇降棒17は中空筒状に形成され、該中空筒内に負圧を発生して上端部に支持するカキ果実Fを吸引する吸引手段(図示しない)を備えており、カキ果実Fを昇降する際及び火炎放射位置Kで停止させる際にカキ果実Fを昇降棒17上端部に保持するようになっている。
係る構造の移動手段16は支持テーブル14の載置皿部21o,21q,21sの下方にそれぞれ1個ずつ合わせて3個備えており、各移動手段16a,16b,16cの昇降棒17がそれぞれ載置皿部21o,21q,21sの貫通孔部22に挿通可能な位置に位置合わせされている。
バーナ12は、載置皿部21o,21q,21sの各上方位置にそれぞれ図2(a)において左側面より右方に向けて火炎を放射する向きに設置されている。各バーナ12の火炎放射位置Kには耐火壁よりなる上下開口した角筒状の第1火炎放射室23a、第2火炎放射室23b及び第3火炎放射室23cがそれぞれフレーム天井部より垂下されおり、該各火炎放射室23内でカキ果実Fにバーナ12の火炎を放射するようになっている。
バーナ12の熱量は特に限定されないが、良好なクラック発生処理を行う上で10000cal〜18000calが好ましく、温度は1200℃〜1800℃が好ましい。
カキ果実Fが支持テーブル14上を載置皿部21oの位置まで回転してきた場合には、カキ果実Fを待機位置Wから火炎放射位置Kに移動するため、載置皿部21oの下方に設けた移動手段16aの昇降棒17を上昇して第1火炎放射室23a内に移動させ、ここで火炎放射処理を行うようになっている。同様に、カキ果実Fが載置皿部21qの位置に回転してきた場合には、載置皿部21qの下方に設けた移動手段16bによりカキ果実Fを待機位置Wから火炎放射位置Kに移動する。更に同様に、カキ果実Fが載置皿部21sの位置にきた場合は、載置皿部21sの下方に設けた移動手段16cの昇降棒17によりカキ果実Fを第3火炎放射室23c内に上昇移動させる。
各火炎放射室23の上方には換気部24を設け、火炎放射室23内の換気を行うようになっている。
次に、図1に示す加熱処理装置3は、公知のものが使用可能であり、熱水、過熱スチーム、熱風などの加熱手段(図示しない)を備えており、該加熱手段によって、前記したカキ果実用クラック発生処理装置2において少なくとも角皮にクラックが発生したカキ果実を加熱してカキ果実に含まれるペクチン質分解酵素活性阻害因子を不活性化させる。
酵素処理装置4は、図3に示すように、加熱処理装置3により加熱されたカキ果実Fを浸漬するためのペクチン質分解酵素液を収容した酵素処理槽32を備えている。酵素処理槽32は平面視縦長矩形状に形成されており、酵素処理槽32の一端側には、槽内にペクチン質分解酵素液を供給する酵素液供給部31を設け、他端側には酵素液回収部34を設けている。酵素液回収部34は酵素液供給部31から供給され酵素処理槽32内を他端側に向かって流通したペクチン質分解酵素液を回収するようになっている。
この酵素液回収部34は、ペクチン質分解酵素液32の下流側で酵素処理槽32の底部から突出してなり、所定高さを有する上端の開口した円筒状の配管35を備えている。該配管35の下端は酵素処理槽32の下方で屈曲した後酵素液供給部31側に延在し、ポンプ36を介して酵素液供給部31に接続されている。これにより、配管35の上端部をオーバーフローし、配管35内に流入したペクチン質分解酵素液は、ポンプ36の作動により酵素液回収部34より酵素液供給部31へと循環するようになっている。
酵素処理槽32底部からの配管35の突出高さによって、酵素処理槽32内に収容されるペクチン質分解酵素液の水位が調整される。このペクチン質分解酵素液の水位は酵素処理槽34内を流通するカキ果実Fの全体をペクチン質分解酵素液に浸漬するために十分な高さとなっている。
更に、酵素液供給部31近傍にはカキ果実Fを酵素処理槽32内に投入するためのカキ果実投入部37を設け、酵素液回収部34近傍には酵素処理槽32内を流通したカキ果実Fを取り出すための取出部33を設けている。取出部33は、モータ(図示しない)によって回転駆動するコンベア33aと該コンベア33aに所定間隔で取り付けられたカキ果実Fを載せるためのカキ果実台33bと、該カキ果実台bに載せられ、酵素処理槽32から取り出されたカキ果実Fを図3において左方に搬送するためのローラーコンベア33cと、自重によりローラーコンベア33c上を搬送されたカキ果実Fを複数個まとめて収容するための収容容器33dとを備えている。
ペクチン質分解酵素液は、水、緩衝液、好ましくは蒸留水のように酵素作用に影響を及ぼさない液にペクチン質分解酵素を溶解させた酵素含有液である。ペクチン質分解酵素は不溶性のプロトペクチンに作用して植物組織を崩壊させる活性、いわゆるマセレーション活性を有する酵素であれば、微生物が生産するもの、または合成により得られるもののいずれであってもよく、酵素1種のみの使用でも2種以上の併用であっても構わない。
かかるペクチン質分解酵素としては、トリコスポロン・ペニシラタム(Trichosporon penicillatum)など酵母および酵母近縁の微生物により生じたプロトペクチナーゼ類(Methods in Enzymology、161 巻、335頁、1988年)、アスペルギルス・アワモリ(Aspergillus awamori)由来のポリガラクチュロナーゼ類(Biochem. Biophys. Biotech.、 64巻、1337および1729頁、2000年)、トリコスポロン・ペニシラタム由来のポリメトキシガラクチュロナーゼ類(FEBS Letters、 414巻、439頁、1997年)などが挙げられるが、トリコスポロン・ペニシラタムSNO3株の生産するプロトペクチナーゼ−S(Methods in Enzymology、161 巻、335頁、1988年)が特に好ましい。
ペクチン質分解酵素は、例えば、カキ果実1kg当たりに10〜50万U (国際単位)、詳しくは20〜40万Uの濃度で使用することができる。
保管庫5は酵素処理装置4において酵素処理が行われたカキ果実Fの酵素反応を促進させるため、所定温度において所定時間カキ果実Fを保管するものであり、多数のカキ果実Fを一度に保管可能とするため複数の保管棚を有することが望ましい。保管温度は、酵素反応をより効率よく促進させるため例えば30℃〜45℃が好ましく、35℃〜38℃がより好ましい。
保管温度が30℃より低い場合には酵素の働きが悪くなって保管時間が長くなり、45℃より高い場合にはカキ果実Fの軟化やカキ果実Fからの独特の臭気である柿臭の発生といった問題が生じる。そして、保管時間は30分〜3時間程度であるが、カキ果実Fの種類によって若干異なり、例えば、富有カキの場合には、30分〜150分が好ましく、40分〜120分がより好ましい。また、市田カキについては80分〜150分が好ましく、90分〜120分がより好ましい。
図4は、カキ果実用外果皮除去装置6の外観斜視図、図5(a)はカキ果実用外果皮除去装置6の平面図、(b)は図5(a)のA−A線矢視断面図、(c)は、図5(a)のB−B線矢視断面図である。カキ果実用外果皮除去装置6は、外果皮除去装置本体41と外果皮除去装置本体41下方に設置されたカキ果実受槽42とから構成されている。
外果皮除去装置本体41は、ケーシング45の上部にカキ果実Fを投入するための投入口43を設け、投入口43は把手付の蓋体44により閉止可能に構成されている。また、ケーシング45の一側面には窓付きの扉部50を開閉自在に設置し、扉部50を開放することで、外果皮除去の際ケーシング45内に付着したカキ果実Fの外果皮等を洗浄できるようになっている。
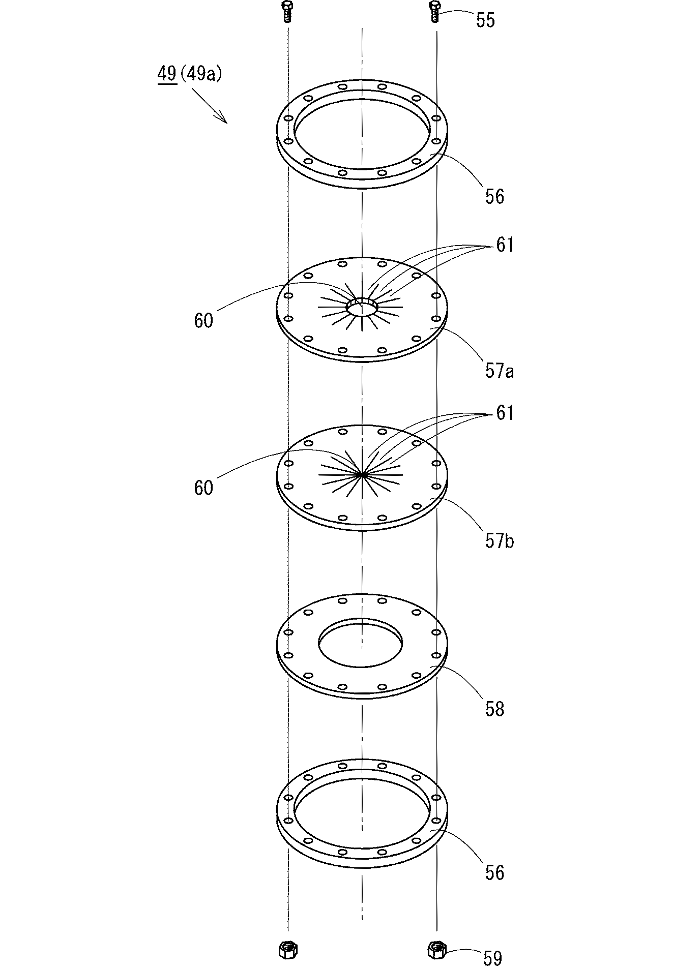
図5(b),(c)に示すように、外果皮除去装置本体41のケーシング45内には、カキ果実Fの外果皮を除去するための複数の円盤体49を収容している。図6は、円盤体49の分解斜視図である。円盤体49は厚さが、例えば、2mm〜5mm程度であり、シリコン樹脂または天然ゴム等の弾性部材よりなる2枚の外果皮除去板57a,57bと、2枚の外果皮除去板57a,57bの下面に設置された剛性を有する剛性板58と、2枚の外果皮除去板57a,57b及び剛性板58を挟持するリング板状に形成された上下一対の押え板56,56と、これら外果皮除去板57a,57b、剛性板58及び押え板56,56の周縁にそれぞれ形成された貫通孔に挿通する複数のボルト55及びボルト55に螺合するナット59から構成されている。尚、図6においてはボルト55及びナット56の図示を一部省略している。
図6では2枚の外果皮除去板57a,57bを用いたが、1枚であってもよく3枚以上を重ね合わせて用いてもよい。そして、外果皮除去板57はカキ果実Fが通過可能な通過穴部60を有し、該通過穴部60の内周に径方向内向きの舌片部61を設けてなる。通過穴部60及び舌片部61の形状は特に限定されないが、本実施形態においては例えば図7に部分断面図を示す3種の外果皮除去板57a.57b.57cを用いている。
図7(a)に示す外果皮除去板57aは、中心にカキ果実Fの短尺部の長さよりやや短い所定直径dを有する平面視円形状の通過穴部60aを有し、該通過穴部60aから放射状にスリット62aが形成されることによって平面視台形状の舌片部61aを有し、図7(b)に示す外果皮除去板57bは中心から放射状に伸びるスリット62bのみが形成されることによって該スリット62bによって略中心に通過穴部60bを形成するとともに平面視三角形状の舌片部61を有し、図7(c)に示す外果皮除去板57cは三角形状の舌片部61cと台形状の舌片部61dとが交互に組み合わされ形成されることで、二等辺三角形状の切欠部63が形成され、該切欠部63及びスリット62cにより通過穴部60cが構成されている。
そして、外果皮除去板57a及び外果皮除去板57bを上下に重ね合わせ用いた図6に示す円盤体49aと、外果皮除去板57cのみを剛性板58伴って押え板56により挟持した構造の円盤体49bとを組み合わせ、図5(b),(c)において、上から3,6,9,12番目という3の倍数の位置には円盤体49bが設置され、他の位置には円盤体49aが設置されている。
これら円盤体49a,49bは、ケーシング45内で上下方向に所定間隔離間して複数並設されており、回転駆動手段64によって略垂直軸心回りに回転するようになっている。
回転駆動手段64は、ケーシング45上面及びケーシング45内に左右一対設置され、回転方向が相異なる2個のモータ65a,65bと、該モータ65a,65bによってケーシング45内で互いに逆回転する一対の回転駆動軸66と、回転駆動軸66の回転を円盤体49に伝導する複数の駆動円板67と、駆動円板67によって回転する円盤体49を側方より回転自在に軸支する支持円板68(図8参照)を備えている。尚、支持円板68はケーシング45の内壁に軸支されている。
また、図5(b)に示す円盤体49のうち上から偶数番目の円盤体49Lは左方のモータ65aによって、奇数番目の円盤体49Rは右方のモータ65bによってそれぞれ回転するようになっており、これにより上下に隣接する円盤体49同士が互いに逆回転するようになっている。
図8(a)は図5(b)のC―C線矢視断面図、図8(b)は図5(b)のD−D線矢視断面図である。図8(a)に示すように、右方のモータ65bによって回転する円盤体49Rと、図8(b)に示す左方のモータ65aによって回転する偶数番目の円盤体49Lとは回転軸心が所定長さSだけ偏心して設置されており、これによりカキ果実Fが各円盤体49R,49L上で正逆反転しつつ、図5(b)に示す側面において各円盤体49R,49Lの中心をジグザグに落下するようになっている。
図5(b),(c)に示すケーシング45内上部のカキ果実Fの投入口43近傍には、ケーシング45内に収容された複数の円盤体49にカキ果実Fを案内する案内筒47を設けている。また、ケーシング45下部には円盤体49により外果皮の除去されたカキ果実Fを外果皮除去装置本体41下部より下方に排出する排出口46を設けるとともに、排出口46にカキ果実Fを案内する案内筒48を設けている。
また、外果皮除去装置本体41には配管53からなる洗浄液供給部51を設けている。配管53は、一端が例えば水道水の蛇口などに接続され、他端側がケーシング45上部からケーシング45内に配備され、案内筒47の筒内周に沿って設けられるととに、円盤体49の側方に上下に設けられている。
ケーシング45内の配管53には、所定位置に複数の小孔(図示しない)が形成されており、蛇口等から水が供給され配管53内に所定の水圧が掛かると小孔から円盤体49に向けて洗浄液を放出する。これにより、円盤体49、及び円盤体49上で外果皮が除去されるカキ果実Fに水道水などの洗浄液を供給し、カキ果実Fを洗浄するとともに、カキ果実Fと舌片部61との接触部分に洗浄液を介在させることで、円滑にカキ果実Fを下方に移動させるようになっている。
カキ果実受槽42は内部に水道水等の洗浄液を収容し、外果皮除去装置本体41下部の排出口46から排出されたカキ果実Fをこの洗浄液で受け止めるようになっている。図5(a),(b)に示すように、カキ果実受槽42の底面の右方中央部にはカキ果実Fから除去された外果皮と洗浄液とを分離するための濾過体72が設置され、この濾過体72の下方に凹部70が設けられている。凹部70は、外果皮の除去された使用後の洗浄液を収容するようになっており、凹部70内に設置されたポンプ52により、該凹部70に収容された濾過後の洗浄液を外部に排出するようになっている。
尚、凹部70に収容された濾過後の洗浄液の外部への排出は、ポンプ52を用いる方法以外にも、例えば、凹部70に底面に排水口を設ける等してもよく、そのような場合には適時に排水口より濾過後の洗浄液を所定量排出すればよい。
そして、カキ果実受槽42の底面はこの凹部70に向かって低くなるよう傾斜して形成されている。
続いて、カキ果実の剥皮システム1の動作につき以下に説明する。
カキ果実Fの剥皮を行うには、カキ果実Fの少なくとも角皮にクラックを発生させるクラック発生処理工程と、クラック発生処理工程において少なくとも角皮にクラックが発生したカキ果実Fを加熱手段により加熱して、カキ果実Fに含まれているペクチン質分解酵素活性阻害因子を不活性化させる加熱処理工程と、該加熱処理工程を経たカキ果実にペクチン質分解酵素を含浸させる酵素処理工程と、該酵素処理工程を経たカキ果実の外果皮を除去手段により除去して剥皮カキ果実を得る外果皮除去工程とを備えてなる。
まず、クラック発生処理工程においては、剥皮を行いたいカキ果実Fをカキ果実用クラック発生処理装置2の所定の載置皿部21、例えば載置皿部21bに載置し、支持テーブル回転手段15によって支持テーブル14を平面視反時計方向に180°回転し、カキ果実Fを第2火炎放射室23bの下方となる載置皿部21qの位置に移動する。
これに同期して、揺動部20を揺動し、昇降棒17を載置皿部21qの真下に移動する。その後、昇降棒17を上昇して載置皿部21qの貫通孔部22に挿通し、昇降棒17の上端部でカキ果実Fを支持しつつ、吸引手段によってカキ果実Fを吸引ながらカキ果実Fを支持テーブル14上の待機位置Wから上昇させ、バーナ12の火炎放射位置Kに移動する。
第2火炎放射室23b内においてバーナ12から火炎を放射する。火炎放射時間は、2〜4秒程度が好ましい。火炎放射中、カキ果実Fを吸引手段により吸引するとともに、昇降棒回動手段による昇降棒17の軸心Uを中心としたr方向の回動に伴ってカキ果実Fをr方向に回動させる。
このように、カキ果実Fは吸引手段により昇降棒17の上端部に吸引されているので、移動手段16による移動中及び火炎放射位置Kでの停止中にカキ果実Fを昇降棒17上端部に保持することができるので、昇降棒17上端部からカキ果実Fを転落させたりしずらくなる。また、昇降棒回動手段による昇降棒17の軸心Uを中心としたr方向の回動に伴ってカキ果実Fがr方向に回動するので、バーナ12の火炎放射方向が一定方向であってもカキ果実Fの角皮に均一に火炎を放射することができる。
特に、載置皿部21にカキ果実Fのへタ部分を下方にして載置した場合には、該ヘタ部分が昇降棒17の円筒内に収容されるため、火炎によりヘタ部分を燃焼してしまうといったことがなく、角皮にのみ火炎を放射でき、クラックを発生させることが可能となる。
そして、バーナ12によるクラック発生処理の行われたカキ果実Fを、移動手段16によって第2火炎放射室23bから降下させ、載置皿部21q上に戻し、その後、支持テーブル回転手段15の回転によって載置皿部21qの位置から載置皿部21wの位置までカキ果実Fを移動し、この位置においてカキ払い出し棒26を上昇し載置皿部21wの貫通孔部22にカキ払い出し棒26を挿通し支持テーブル14から突出させ、カキ払い出し棒26上端部の傾斜面に沿わせて、カキ果実Fを支持テーブル14の外周側に排出する。そして、図示しないコンベアなどにより次工程となる加熱処理装置3に搬送する。このように、カキ払い出し手段25及びコンベアなどを用いれば自動で連続的に次工程に移行することができる。
このクラック発生処理工程においては、例えば3個のカキ果実Fを1グループとし、載置皿部21への載置を行うことにより効率よくクラック発生処理を行うことが可能となる。
即ち、図9に示すように、支持テーブル14の30個の載置皿部21a〜21Dを3個ずつのグループに分け、載置皿部21a,21b,21cを第1グループとし、反時計回りに載置皿部21d,21e,21fを第2グループ、載置皿部21g,21h,21iを第3グループとして順次第10グループまで分け、3個ずつまとめて処理を行う。この場合各載置皿部21を支持テーブル14に均等に並べるとすると、3個毎の載置皿部21a,21d,21g,21j,・・・について、隣接する載置皿部21a,21d,21g,21j,・・・の各中心と支持テーブル14の中心Cとを結ぶ直線のなす角度αは36°となる。
そして、載置皿部21a,21b,21cに3個のカキ果実Fをそれぞれ載置し、支持テーブル回転手段15により支持テーブル14を回転する。その際、回転方法を回転角度36°の回転を行って載置皿部21a,21b,21cに載置したカキ果実Fを第2グループの載置皿部21d,21e,21fまで移動した後、この位置で例えば5〜10秒といった所定時間停止する。同様に更に36°回転し、その後所定時間停止するという動作を繰り返す。
この回転動作を4回行うと、第1グループの載置皿部21a,21b,21cに載置した3個のカキ果実Fが第5グループの載置皿部21m,21n,21oの位置に達する。載置皿部21oのカキ果実Fは、当初第1グループの載置皿部21cに載置したものであるが、第5グループの載置皿部21oは第1火炎放射室23aの待避位置Wとなっている。
そこで、支持テーブル14の停止中に、この載置皿部21oに位置したカキ果実Fを、載置皿部21oの下方に位置する移動手段16aの昇降棒17を昇降することで待機位置Wから火炎放射位置Kに移動し、第1火炎放射室23aにおいて火炎放射処理する。
載置皿部21oのカキ果実Fの火炎処理の後、カキ果実Fを待機位置Wに戻し、続いて支持テーブル回転手段15により支持テーブル14を36°反時計方向に回転移動し、第5グループの載置皿部21m,21n,21oにあったカキ果実Fを第6グループの載置皿部21p,21q,21rに移動すると、当初第1グループの載置皿部21bに載置されていたカキ果実Fが第2火炎放射室23bの待避位置W(載置皿部21q)にくる。そこで、支持テーブル14の停止後、第6グループの載置皿部21qにあるカキ果実Fを第2火炎放射室23bにおいて火炎放射処理する。
最後に更に36°支持テーブル14を回転移動して第6グループの載置皿部21p,21q,21rにあったカキ果実Fを第7グループの載置皿部21s,21t,21uに移動すると、未だ火炎放射処理の行われていなかった第1グループの載置皿部21aに載置したカキ果実Fが第3火炎放射室23cの待避位置W(載置皿部21s)にくるので、この載置皿部21sに載置されているカキ果実Fを第3火炎放射室23cで火炎放射処理を行う。
その後、支持テーブル14を36°回転移動し、3個のカキ果実Fを第8グループの載置皿部21v,21w,21xに位置させると、支持テーブル14の停止中にカキ払い出し棒26を上昇する。3個の払い出し棒26が支持テーブルの貫通孔部22から同時に上下出没する場合には、第8グループの載置皿部21w,21xの貫通孔部22と、未だカキ果実Fの載置されていない載置皿部21yの貫通孔部22とにカキ払い出し棒26が挿通し支持テーブル14から突出する。これにより、載置皿部21w,21xのカキ果実Fはカキ払い出し棒26の上端部によって持ち上げられ、且つ、カキ払い出し棒26上端部の傾斜面に沿って支持テーブル14の外周側(図2(a)において下方)に排出される。
このように、3個の払い出し棒26が支持テーブル14から同時に出没する場合には、載置皿部21yの貫通穴部22から突出したカキ払い出し棒26は、カキ果実Fを支持テーブル14から払い出すことなく下降する。これに対し、3個の払い出し棒26が個別に上下出没可能に構成する場合には、載置皿部21w,21x下方のカキ払い出し棒26のみ作動すればよい。
その後、支持テーブル14を更に36°回転し、載置皿部21vにあったカキ果実Fを載置皿部21yに移動し、この載置皿部21yにおいてカキ払い出し棒26を貫通孔部22から突出し、載置皿部21yのカキ果実Fを支持テーブル14の外方に排出する。
このように、本実施形態では、カキ払い出し棒26を載置皿部21w,21x,21yの下方に設けているので、載置皿部21vのカキ果実Fは、第3火炎放射室23cにおいて火炎を放射した直後の載置皿部21vにおいて、載置皿部21w,21xに載置されたカキ果実Fとともに払い出すのではなく、更に36°回転した載置皿部21yにおいて払い出すことができる。よって、火炎により上昇したカキ果実Fの表面温度を冷却することができ、カキ払い出し棒26の上部や支持テーブル14及びコンベアなどとの摩擦等でカキ果実Fの表面を傷めずに次工程へ搬送することができる。
支持テーブル14から払い出したカキ果実Fをコンベアなどにより次工程となる加熱処理装置3に搬送する。
第9グループの載置皿部21y,21z,21A及び第10グループの載置皿部21B,21C,21Dの位置では、第8グループの載置皿部21w,21x,21yにおいてカキ果実Fを外方に排出しているので、カキ果実Fが載置されず空のまま支持テーブル14の回転及び停止を行い、第1グループの載置皿部21a,21b,21cにおいて再度カキ果実Fを載置する。
そして、複数のカキ果実Fを順次連続的にクラック発生処理する場合には、このように3個のカキ果実Fを1組とし支持テーブル14への載置を行っていくと更に効率がよくなる。即ち、まず第1グループの21a,21b,21cにAグループのカキ果実I,II,IIIをこの順にそれぞれ載置し、支持テーブル14が36°回転移動してAグループのカキ果実I,II,IIIが第2グループの載置皿部21d,21e,21fに移動した際、支持テーブル14の停止中にBグループの3個のカキ果実I,II,IIIを第1グループの載置皿部21a,21b,21cに載置する。そして、更に36°回転移動後停止中にAグループのカキ果実I,II,IIIが第3グループの載置皿部21g,21h,21iに、Bグループのカキ果実I,II,IIIが第2グループの載置皿部21d,21e,21fにある状態でCグループのカキ果実I,II,IIIを第1グループの載置皿部21a,21b,21cに載置する。かかる状態が図10(a)である。
この状態からさらに36°の回転移動を2回行った後、Aグループのカキ果実IIIを第1火炎放射室23aで火炎放射処理し、次に36°支持テーブル14の回転後停止中に、第2火炎放射室23bでAグループのカキ果実IIを処理すると同時に第1火炎放射室23aでBグループのIIIのカキ果実を処理する。更に、Aグループのカキ果実Iを第3火炎放射室23cで処理すると同時に、Bグループのカキ果実IIを第2火炎放射室23bで、Cグループのカキ果実IIIを第1火炎処理室23aで同時に処理する。かかる状態が図10(b)である。
このように、支持テーブル14の隣接する載置皿部21を略12°といった所定間隔とし、該載置皿部21に位置合わせして、複数の火炎処理室23及び移動手段16を設け、全ての火炎処理室23を用いて複数のカキ果実Fを同時に火炎放射処理することにより、多量のカキ果実Fを短時間で処理可能である。よって、処理能力が格段に向上する。
また、支持テーブル12上の載置皿部21の間隔を狭くすれば、多くのカキ果実Fを一度に支持テーブル14上に載置でき、載置皿部21にカキ果実Fを供給する際、隣接する載置皿部21の間隔が狭いので、カキ果実Fの載置作業が容易となる。そして、上記のように例えば3個ずつ等のように所定個数ずつ処理する場合の支持テーブル14の一回の回転量を小さくすることができ、回転動作に要する時間を短縮することができる。
図11は、本実施形態にかかる火炎放射処理によってクラック発生処理の行われたカキ果実Fの一例である。図11に示すように、カキ果実の少なくとも角皮にクラックをカキ果実の全体にわたって均一に発生できている。
次に、加熱処理工程において、クラック発生処理工程によって少なくとも角皮にクラックが付与されたカキ果実Fを加熱処理装置2で加熱してカキ果実Fに含まれるペクチン質分解酵素活性阻害因子を不活性化させる。その際、例えば80℃から100℃まで、より好ましくは95℃から100℃までの熱水を加熱手段として用いることができる。熱水を用いた場合投入するカキ果実Fと熱水量との割合は、カキ果実Fを熱水中に投入した際に水温の低下が5℃以内に抑えられる割合、例えばカキ果実10kgに対して熱水50L〜100L程度とすることができる。また、加熱処理時間はカキ果実の軟化を防ぐためにも極力短い方がよく、例えば水温98℃の場合に、30秒から120秒間、より好ましくは60秒から90秒間程度浸漬し加熱処理を行う。その後、コンベアなどにより次工程となる酵素処理装置4に自動で搬送する。
酵素処理工程では、加熱処理工程を経たカキ果実Fを酵素処理装置4のカキ果実投入部37より酵素処理槽32内に投入し、酵素液供給部31から供給されるペクチン質分解酵素液の流通によって下流側へ流し、酵素処理槽32内を移動させる。酵素処理槽32内での酵素処理時間は例えば、15秒程度とする。このようにして角皮のクラック部分からカキ果実の内部組織にペクチン質分解酵素液を浸透させることにより、外果皮組織を崩壊させることができる。
酵素処理槽32の下流側に移動したカキ果実Fを、ペクチン質分解酵素液の流体圧によってカキ果実台33bに載せ、コンベア33aを回転してカキ果実Fの載ったカキ果実台33bを上昇した後カキ果実Fをローラーコンベア33cに送り、自重によりローラーコンベア33c上を移動させ、収容容器33d内に収容して酵素処理槽32からカキ果実Fを取り出す。
保管工程では、酵素処理槽32から取り出した後保存容器等に並べたカキ果実Fを、保管庫5内に収容して1時間乃至5時間程度保管する。
外果皮除去工程においては、カキ果実用外果皮除去装置6の蓋体44を開放し、保管庫5で保管されたカキ果実Fを投入口43よりケーシング45内に投入すると、案内筒47に案内されたカキ果実Fは円盤体49上面に至る。そして、カキ果実は、回転駆動手段64により回転する円盤体49上で外果皮除去板57の舌片部61に接触しつつ通過穴部60を通過して外果皮が除去される。その際、洗浄液供給部51により外果皮除去板57の中央部及び外果皮除去板57上のカキ果実Fに洗浄液を供給すると、外果皮やゴミなどを効率よく下方に落下させ除去できるとともに、舌片部61に引っかかったままカキ果実Fが下方に移動しなくなるといったことがなく、円滑且つ、容易に通過穴部60を通過させることができる。
このカキ果実用外果皮除去装置6では、上下に隣接する円盤体49は回転方向が逆方向となっているので、カキ果実Fのあらゆる部分に均一に舌片部61を接触されることができ、効率よく外果皮を除去できる。また、隣接する円盤体49が偏心位置に配備されているので、カキ果実Fは通過穴部60をジグザクに移動することで舌片部61とカキ果実Fとの接触角度が変化し、外果皮の除去率を向上できる。
円盤体49の回転速度は外果皮の除去を行うカキ果実の重量に応じて調整することにより効率よく外果皮の除去ができる。即ち、カキ果実が比較的小さく軽い場合には高速で回転し、大きく重い場合には低速で回転する。カキ果実が比較的小さく軽い場合には高速で回転すればカキ果実Fの通過穴部60から下方への移動を妨げることができるので、カキ果実Fの通過穴部60の通過に要する時間を最大限長くすることができ、カキ果実Fの舌片部61への接触回数を低速で回転した場合よりも増加させることができる。逆に、カキ果実が比較的大さく重い場合には、低速で回転した方がカキ果実Fが通過穴部60から下方へ移動しづらくなり、カキ果実Fの通過穴部60の通過に要する時間を最大限長くすることができ、カキ果実Fの舌片部61への接触回数を高速で回転した場合よりも増加させることができる。
その後、外果皮除去装置本体41内で外果皮を除去したカキ果実Fを、円盤体49下方から案内筒48により案内して排出口46から外果皮除去装置本体41の下方に排出し、カキ果実受槽42内の洗浄液中に落下させる。そして、落下したカキ果実Fをカキ果実受槽42の底面の傾斜に沿って濾過体72の上面に移動させる。所望により剥皮の行われたカキ果実を水切りし、剥皮カキ果実を得ることができる。
カキ果実受槽42内に収容される洗浄液は、濾過体72によってカキ果実Fから除去された外果皮やごみなどが濾過され、凹部70に流入し、ポンプ52によりカキ果実受け槽42の外部に排出される。
カキ果実受槽内にカキ果実から除去された外果皮と洗浄液とを分離する濾過体を設けたので、洗浄液と外果皮とを容易に分離することができ、使用後の洗浄液廃棄処理が容易となるとともに、回収した外果皮を資源として利用することができる。特に、外果皮は酵素処理工程で用いたプロトペクチナーゼを豊富に含んでいるので、肥料などの原料として有効活用が可能である。
上記カキ果実用クラック発生処理装置2を用いてカキ果実Fの少なくとも角皮にクラックを発生させた。カキ果実Fの種類は、平核無カキを用い、バーナー12を桂精機製作所社製KB−45−1−10を用い、該バーナー12にガスを供給する配管に設けられたバルブの回転量を2回転で全閉から全開となる火力調整につき、全閉から2分の1回転開放、全閉から4分の3回転開放、全閉から1回転開放の3種類とすることで、全開で18,350calのそれぞれ4分の1,8分の3,2分の1とした。また、r方向の回転量を全て360°とし、バーナ12による火炎放射処理時間を4秒、3秒、2秒、1秒の4種類とし、更に、バーナ12先端部より、カキ果実Fの中心までの距離を80mm、110mm、180mmの3種類とし測定を行った。結果を表1に示す。
Figure 2010046030
上記表1において、×は角皮にクラックを十分発生できたが、表面が乾燥していた場合、若しくは角皮に生じたクラックの量が比較的少ない場合、△は部分的に角皮にクラックを生じさせることが場合、○はカキ果実の角皮全体に均一なクラックを発生できた場合、◎はカキ果実の角皮全体に非常に細かいクラックを均一に生じさせることができた場合である。
表1より、本実施形態に係るクラック発生処理装置2を用いて略全ての条件で少なくともカキ果実の角皮にクラックを発生させることができ、特に、2秒〜3秒で良好な結果が得られた。従来、先鋭な突起により角皮を貫通する傷を付けた場合には2分〜10分程度要した所、本実施形態に係るクラック発生処理装置2を用いることで角皮へのクラック発生処理作業が大幅に短縮できたことがわかる。
上記実施形態に係るカキ果実用外果皮除去装置6により、カキ果実Fの外果皮除去を行った。カキ果実Fとして市田カキ10個を用いた。前処理についてクラック発生処理工程は、剣山を用いて手作業により角皮を貫通する傷をカキ果実F全体に均一に付与することにより行った。加熱処理工程は、角皮を貫通する傷を付与したカキ果実Fを100℃の熱水中に60秒間浸漬することにより行った。酵素処理工程は、ペクチン質分解酵素にプロトペクチナーゼ−Sを用い1重量%水溶液中に35℃〜38℃で20秒〜30秒間浸漬した。保管工程は35℃で5時間、保管庫5内に保管することにより行った。外果皮除去工程は上記実施形態に示すカキ果実用外果皮除去装置を用い、回転駆動手段64のモータ65a,65bを住友重機械工業社製モータRNYM02−1220−AV−5を用い、モータ65a,65bの回転速度をともに105rpmとし、外径300mmの円盤体を用いたため円盤体の円周部での回転速度は63m/minであった。
この結果、10個全てのカキ果実Fについて全外果皮の約9割程度の剥皮が可能であった。尚、約1割程度の剥皮困難な部位はカキ果実Fの虫食い部分や収穫前若しくは収穫時についた傷部分であった。
上記実施例2の市田カキに替えて、平核無カキを用い、カキ果実用外果皮除去装置の回転数のインバータ設定値を30Hzとしたことで、回転速度を52.5rpmとした以外は上記実施例2と同様の条件でカキ果実剥皮装置6により剥皮を行った。この結果実施例2と同様全外果皮の約9割程度の剥皮が可能となり、約1割程度カキ果実Fの虫食い部分や収穫前若しくは収穫時についた傷部分の剥皮は困難との結果が得られた。
本発明の一実施形態に係るカキ果実の剥皮システムの構成概略図である。 前記カキ果実の剥皮システムのカキ果実用クラック発生処理装置の構成断面図である。 前記カキ果実の剥皮システムの酵素処理装置の構成断面図である。 前記カキ果実の剥皮システムのカキ果実用外果皮除去装置の外観斜視図である。 前記カキ果実用外果皮除去装置の平面図及び構成断面図である。 前記カキ果実用外果皮除去装置の円盤体の分解斜視図である。 前記円盤体の外果皮除去板の部分拡大図である。 前記カキ果実用外果皮除去装置の部分断面図である。 前記カキ果実用クラック発生処理装置の実施態様を示す図である。 前記カキ果実用クラック発生処理装置の実施態様を示す図である。 前記カキ果実用クラック発生処理装置により少なくとも角皮にクラックが付与されたカキ果実を示す斜視図である。
符号の説明
2 カキ果実用クラック発生処理装置
6 カキ果実用外果皮除去装置
11 支持部
12 バーナ
16,16a,16b,16c 移動手段
60 通過穴部
61 舌片部
49 円盤体
64 回転駆動手段

Claims (5)

  1. カキ果実を支持する支持部と、支持部に支持されたカキ果実に火炎を放射して少なくとも角皮にクラックを発生させるバーナとを備えてなることを特徴とするカキ果実用クラック発生処理装置。
  2. 支持部は、バーナの火炎放射位置と待避位置との間でカキ果実を移動させる移動手段と、移動手段による移動中及び火炎放射位置での停止中にカキ果実を支持部に保持するよう吸引する吸引手段とを備えてなることを特徴とする請求項1に記載のカキ果実用クラック発生処理装置。
  3. 支持部は、周縁部にカキ果実を載置するための載置皿部を設けるとともに、載置皿部に上下貫通する貫通孔部が形成された支持テーブルと、支持テーブルの貫通孔部に上下出没自在に設けられたカキ払い出し棒とを備えている請求項1又は請求項2に記載のカキ果実用クラック発生処理装置。
  4. カキ果実が通過可能な通過穴部を有し、該通過穴部の内周に径方向内向きの舌片部を設けてなる円盤体と、円盤体を略垂直軸心回りに回転させる回転駆動手段とを備えたカキ果実用外果皮除去装置。
  5. 円盤体に洗浄液を供給する洗浄液供給部を備え、前記円盤体の下方位置に洗浄液及び通過穴部を通過したカキ果実を収容するカキ果実受槽を設け、カキ果実受槽内にカキ果実から除去された外果皮と洗浄液とを分離する濾過体を設けたことを特徴とする請求項4に記載のカキ果実用外果皮除去装置。
JP2008214124A 2008-08-22 2008-08-22 カキ果実用クラック発生処理装置 Expired - Fee Related JP4991659B2 (ja)

Priority Applications (1)

Application Number Priority Date Filing Date Title
JP2008214124A JP4991659B2 (ja) 2008-08-22 2008-08-22 カキ果実用クラック発生処理装置

Applications Claiming Priority (1)

Application Number Priority Date Filing Date Title
JP2008214124A JP4991659B2 (ja) 2008-08-22 2008-08-22 カキ果実用クラック発生処理装置

Related Child Applications (1)

Application Number Title Priority Date Filing Date
JP2011233688A Division JP5309199B2 (ja) 2011-10-25 2011-10-25 カキ果実用外果皮除去装置

Publications (2)

Publication Number Publication Date
JP2010046030A true JP2010046030A (ja) 2010-03-04
JP4991659B2 JP4991659B2 (ja) 2012-08-01

Family

ID=42063696

Family Applications (1)

Application Number Title Priority Date Filing Date
JP2008214124A Expired - Fee Related JP4991659B2 (ja) 2008-08-22 2008-08-22 カキ果実用クラック発生処理装置

Country Status (1)

Country Link
JP (1) JP4991659B2 (ja)

Cited By (2)

* Cited by examiner, † Cited by third party
Publication number Priority date Publication date Assignee Title
CN110801034A (zh) * 2019-11-05 2020-02-18 当涂县瑞龙果树种植专业合作社 一种具有除尘功能的振动筛式桃子火法去皮装置
JP7765849B1 (ja) * 2024-08-26 2025-11-07 国立研究開発法人農業・食品産業技術総合研究機構 剥皮青果物の製造方法

Citations (1)

* Cited by examiner, † Cited by third party
Publication number Priority date Publication date Assignee Title
JP2008161128A (ja) * 2006-12-28 2008-07-17 Mitsuwa:Kk 果実の不要部分を除去する除去装置並びに果実の表皮除去機

Patent Citations (1)

* Cited by examiner, † Cited by third party
Publication number Priority date Publication date Assignee Title
JP2008161128A (ja) * 2006-12-28 2008-07-17 Mitsuwa:Kk 果実の不要部分を除去する除去装置並びに果実の表皮除去機

Cited By (2)

* Cited by examiner, † Cited by third party
Publication number Priority date Publication date Assignee Title
CN110801034A (zh) * 2019-11-05 2020-02-18 当涂县瑞龙果树种植专业合作社 一种具有除尘功能的振动筛式桃子火法去皮装置
JP7765849B1 (ja) * 2024-08-26 2025-11-07 国立研究開発法人農業・食品産業技術総合研究機構 剥皮青果物の製造方法

Also Published As

Publication number Publication date
JP4991659B2 (ja) 2012-08-01

Similar Documents

Publication Publication Date Title
JP5309199B2 (ja) カキ果実用外果皮除去装置
JP6531333B2 (ja) 低塩キムチの製造システム
JP4659782B2 (ja) 果実類及び果菜類の表皮洗浄システム
US10448650B2 (en) Spiral cooking devices and methods of using the same
US20040043126A1 (en) Method and apparatus for peeling citrus fruit
CN104472664A (zh) 真空-蒸汽脉动烫漂设备及利用该设备进行烫漂的方法
JP4991659B2 (ja) カキ果実用クラック発生処理装置
TW201532570A (zh) 過濾裝置及利用該裝置之泥狀加工食品之製造方法
CN202112268U (zh) 一种剥皮装置
CN111604140B (zh) 一种养鸡场用病死鸡无害化处理设备
CN110916216A (zh) 超声与微波及变频辅助果蔬离心脱水预处理加工的一体化装置及其应用
CN204763312U (zh) 一种新型果蔬清洗杀菌机
CN222656234U (zh) 一种搅拌式蒸炉
CN219182709U (zh) 一种自动水果去皮清洗装置
CN220034589U (zh) 一种锤片热处理淬火装置
CN201409441Y (zh) 一种打击成绒式鱼肉打松机
JPS606189B2 (ja) 海苔熟成促進方法
CN213428198U (zh) 一种花生浸泡脱皮装置
JP2011234644A (ja) 米粉製造システム、米浸漬装置及びテンパリング装置
CN206498913U (zh) 一种竹笋去皮装置
KR101698037B1 (ko) 건나물 제조시스템
KR20030035175A (ko) 자동 야채절임장치
CN210145130U (zh) 便捷式医用消毒装置
KR20220166519A (ko) 염지 성능이 향상된 닭고기 가공육제조장치
KR102719667B1 (ko) 분쇄 효율을 개선한 다진 양파 제조 장치

Legal Events

Date Code Title Description
A131 Notification of reasons for refusal

Free format text: JAPANESE INTERMEDIATE CODE: A131

Effective date: 20110830

A521 Request for written amendment filed

Free format text: JAPANESE INTERMEDIATE CODE: A523

Effective date: 20111025

TRDD Decision of grant or rejection written
A01 Written decision to grant a patent or to grant a registration (utility model)

Free format text: JAPANESE INTERMEDIATE CODE: A01

Effective date: 20120417

A01 Written decision to grant a patent or to grant a registration (utility model)

Free format text: JAPANESE INTERMEDIATE CODE: A01

A61 First payment of annual fees (during grant procedure)

Free format text: JAPANESE INTERMEDIATE CODE: A61

Effective date: 20120507

R150 Certificate of patent or registration of utility model

Free format text: JAPANESE INTERMEDIATE CODE: R150

Ref document number: 4991659

Country of ref document: JP

Free format text: JAPANESE INTERMEDIATE CODE: R150

FPAY Renewal fee payment (event date is renewal date of database)

Free format text: PAYMENT UNTIL: 20150511

Year of fee payment: 3

R250 Receipt of annual fees

Free format text: JAPANESE INTERMEDIATE CODE: R250

R250 Receipt of annual fees

Free format text: JAPANESE INTERMEDIATE CODE: R250

R250 Receipt of annual fees

Free format text: JAPANESE INTERMEDIATE CODE: R250

R250 Receipt of annual fees

Free format text: JAPANESE INTERMEDIATE CODE: R250

R250 Receipt of annual fees

Free format text: JAPANESE INTERMEDIATE CODE: R250

R250 Receipt of annual fees

Free format text: JAPANESE INTERMEDIATE CODE: R250

R250 Receipt of annual fees

Free format text: JAPANESE INTERMEDIATE CODE: R250

R250 Receipt of annual fees

Free format text: JAPANESE INTERMEDIATE CODE: R250

LAPS Cancellation because of no payment of annual fees