JP2010043580A - 汎用エンジンの排気マフラ - Google Patents

汎用エンジンの排気マフラ Download PDF

Info

Publication number
JP2010043580A
JP2010043580A JP2008207167A JP2008207167A JP2010043580A JP 2010043580 A JP2010043580 A JP 2010043580A JP 2008207167 A JP2008207167 A JP 2008207167A JP 2008207167 A JP2008207167 A JP 2008207167A JP 2010043580 A JP2010043580 A JP 2010043580A
Authority
JP
Japan
Prior art keywords
exhaust
muffler
pipe
chamber
silencing chamber
Prior art date
Legal status (The legal status is an assumption and is not a legal conclusion. Google has not performed a legal analysis and makes no representation as to the accuracy of the status listed.)
Granted
Application number
JP2008207167A
Other languages
English (en)
Other versions
JP4970383B2 (ja
Inventor
Shoji Kawase
祥司 川瀬
Atsushi Maruyama
敦志 丸山
Tooru Kawai
徹 川合
Current Assignee (The listed assignees may be inaccurate. Google has not performed a legal analysis and makes no representation or warranty as to the accuracy of the list.)
Honda Motor Co Ltd
Original Assignee
Honda Motor Co Ltd
Priority date (The priority date is an assumption and is not a legal conclusion. Google has not performed a legal analysis and makes no representation as to the accuracy of the date listed.)
Filing date
Publication date
Application filed by Honda Motor Co Ltd filed Critical Honda Motor Co Ltd
Priority to JP2008207167A priority Critical patent/JP4970383B2/ja
Publication of JP2010043580A publication Critical patent/JP2010043580A/ja
Application granted granted Critical
Publication of JP4970383B2 publication Critical patent/JP4970383B2/ja
Active legal-status Critical Current
Anticipated expiration legal-status Critical

Links

Images

Landscapes

  • Exhaust Silencers (AREA)

Abstract

【課題】汎用エンジンのシリンダに近接配置される排気マフラにおいて,排ガスの冷却を促進して,排ガスの圧力低下による消音効果を高めることを可能にする。
【解決手段】汎用エンジンEのシリンダ3に排気管10を介して連結されて該シリンダ3に隣接配置されるマフラ本体15と,このマフラ本体15内を,排気管10に連通する第1消音室16及び,マフラ本体15の排気出口35に連通する第2消音室17に区画する仕切り部材19と,第1消音室16及び第2消音室17間を連通しながらマフラ本体15外に露出する排気冷却管31とで,汎用エンジンの排気マフラMを構成する。排ガスは,第1消音室16から第2消音室17に移るとき,排気冷却管31を通過することにより効果的に冷却される。
【選択図】 図5

Description

本発明は,汎用エンジンのシリンダに排気管を介して連結されるマフラ本体と,このマフラ本体内を,排気管に連通する第1消音室及び,マフラ本体の排気出口に連通する第2消音室に区画する仕切り部材と,第1消音室及び第2消音室間を連通する連通手段とを備える,汎用エンジンの排気マフラの改良に関する。
かゝる汎用エンジンの排気マフラは,下記特許文献1に開示されるように,既に知られている。
特開2007−2730号公報
一般に,エンジンの排ガスの消音効果を高めるために,排ガスの冷却による圧力低下は効果的であり,自動二輪車や自動車では,エンジン及び排気マフラ間を連通する排気管を充分に長く形成することが可能であるので,エンジンの排ガスが排気管を通過する間に,その排ガスの冷却を行い,その圧力の低下を図ることができる。
しかしながら,特許文献1に開示されるような汎用エンジンでは,そのシリンダに排気マフラを近接配置して,全体をコンパクトに纏める必要があることから,シリンダ及び排気マフラ間を連結する排気管は必然的に短いものとなり,排気管による排ガスの冷却は多く望めない。
本発明は,かゝる事情に鑑みてなされたもので,汎用エンジンのシリンダに近接配置されるも,排ガスの冷却を促進し得るようにして,排ガスの圧力低下による消音効果を高め得る,汎用エンジンの排気マフラを提供することを目的とする。
上記目的を達成するために,本発明は,汎用エンジンのシリンダに排気管を介して連結されるマフラ本体と,このマフラ本体内を,排気管に連通する第1消音室及び,マフラ本体の排気出口に連通する第2消音室に区画する仕切り部材と,第1消音室及び第2消音室間を連通する連通手段とを備える,汎用エンジンの排気マフラにおいて,前記連通手段を,第1消音室及び第2消音室間を連通しながらマフラ本体外に露出する排気冷却管で構成したことを第1の特徴とする。尚,前記排気出口は,後述する本発明の実施例中の排気出口管35に対応する。
また本発明は,第1の特徴に加えて,前記排気冷却管を,その一端部が排気管を連結したマフラ本体の一側壁を貫通して第1消音室に開口する一方,その他端部が前記一側壁及び第1消音室を貫通して第2消音室に開口するように配置したことを第2の特徴とする。
さらに本発明は,第1又は第2の特徴に加えて,前記排気冷却管の,マフラ本体外方への露出部には,前記排気管と共にシリンダに固着されるステ一を取り付けたことを第3の特徴とする。
本発明の第1の特徴によれば,排気管から第1消音室に流入した排ガスは,マフラ本体外に露出した排気連結管を通過することにより冷却されることになり,その冷却による排ガスの圧力低下により,排ガスの消音を効果的に図ることができる。また,このような排ガスの圧力低下は,消音のみならず,エンジンの運転停止後,排気マフラ内に残留する未燃ガスが自然着火するアフターバーン現象を抑えることにも寄与する。しかも,このような排ガスの冷却による圧力低下を,第1消音室及び第2消音室間を連通する排気冷却管をマフラ本体下方に露出させることで達成し得るので,マフラ本体の容積を特に拡張する必要がなく,排気マフラの大型化を避けることができる。
本発明の第2の特徴によれば,排気冷却管を,排気管と共に,マフラ本体の一側壁に集中的に取り付けられることになり,排気マフラの外観を良好に保つことができる。
本発明の第3の特徴によれば,排気冷却管は,ステーを介してエンジンのシリンダに支持されることになり,その振動を効果的に抑えることができる。しかも,上記ステーの,シリンダへの固着には,排気管のシリンダへの固着を利用するので,その固着手段は簡単で安価である。
本発明の実施の形態を,添付図面に示す本発明の好適な実施例に基づいて説明する。
図1は本発明の実施例に係る汎用エンジンの正面図,図2は図1の2矢視図,図3は図1の3矢視図,図4は図1の4−4線に沿う汎用エンジンの断面図,図5は図2中の排気マフラ部の拡大断面図,図6は図5の6矢視図,図7は図5の7−7線断面図,図8は図5の8−8線断面図,図9は図5の9−9線断面図,図10は上記排気マフラ内の仕切り部材の分解斜視図である。
先ず,図1〜図4において,汎用エンジンEのエンジン本体1は,下面に据え付けフランジ2aを有してクランク軸4を水平に支承するクランクケース2と,このクランクケース2から一側方に斜め上向きに突出するシリンダ3とからなっており,クランク軸4の前端にはフライホイール12(図4参照)と,その前端に重ねられる冷却ファン13とが固着される。クランク軸4の後端部が,各種作業機に連結される出力部となっている。
クランクケース2の正面側には,クランク軸4をクランキングするリコイル式エンジンスタータ5と,このスタータ5を覆う外気取り入れ用のグリル14とが取り付けられる。グリル14は多数の外気取り入れ孔を有しており,このグリル14の後端に連なってシリンダ3周りに冷却風通路41を画成するシュラウド42がクランクケース2及びシリンダ3に取り付けられる。而して,冷却ファン13の作動によれば,外気即ち冷却風をグリル14から取り入れ,冷却風通路41に流してクランクケース2及びシリンダ3周りを冷却し,その後,後述の排気マフラM側に排出するようになっている。
またエンジン本体1には,クランクケース2の上方に配置される燃料タンクTと,シリンダ3の直上で燃料タンクTに隣接する吸気エアクリーナA及び排気マフラMとが取り付けられる。
前記シリンダ3は,クランクケース2に連なるシリンダブロック3aと,このシリンダブロック3aの端面に接合され,シリンダブロック3a内のピストン6が臨む燃焼室7を有するシリンダヘッド3bと,このシリンダヘッド3bに接合されて,それとの間に動弁室8を画成するヘッドカバー3cとで構成され,シリンダヘッド3bには,燃焼室7に連なる排気ポート9に連通する排気管10の下端フランジ10aがボルト11により固着され,この排気管10に排気マフラMが連結される。排気管10は,排気マフラMのシリンダ3への隣接配置を可能にすべく,比較的短く形成されている。
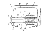
上記排気マフラMについて,図5〜図10により説明する。
図5及び図6に示すように,排気マフラMは,箱型のマフラ本体15と,このマフラ本体15内に一つの対角線に沿って配置されて,その内部を第1消音室16及び第2消音室17に区画する仕切り部材19と,マフラ本体15の排気管10側下面を除く外面を覆って,マフラ本体15に複数のタッピングねじ21,21…により固着される合成樹脂製又は鋼板製のマフラカバー20とを備える。
マフラ本体15は,一つの対角線に沿って分割される鋼板製の上部マフラ半体15a及び下部マフラ半体15bからなっており,上部マフラ半体15a外周のかしめ部22を,下部マフラ半体15b外周のフランジ部23にかしめることにより,両マフラ半体15a,15bは結合される。その際,かしめ部22及びフランジ部23間に前記仕切り部材19の外周部を挟持することにより,仕切り部材19はマフラ本体15に結合される。
下部マフラ半体15bの下側壁の内面には,その下側壁下方に突出する連結ボルト28が溶接されており,この連結ボルト28とこれに螺合するナット29とにより,下部マフラ半体15bは,前記排気管10の上端フランジ10bに固着される。下部マフラ半体15bの下側壁には,上記排気管10を第1消音室16に開口させる排気入口25が設けられる。
また下部マフラ半体15bの下側壁には,U字状に屈曲した排気冷却管31が溶接される。この排気冷却管31の上流端31aは,下部マフラ半体15bの下側壁を貫通して第1消音室16の上下方向中間に開口し,その下流端31bは,下部マフラ半体15bの下側壁,第1消音室16及び仕切り部材19を貫通して第2消音室17に開口する。その際,排気冷却管31は,これが貫通する仕切り部材19の貫通孔36周りに溶接される。マフラ本体15外に露出する排気管10及び排気冷却管31の周囲は,前述のようにシリンダ3を冷却し終えた冷却風の通り道になっている。
図5及び図6に示すように,排気冷却管31の,マフラ本体15下方に露出した部分にはステー43が溶接により固着されており,このステー43は,排気管10の下端フランジ10aと共に,前記ボルト11によりシリンダヘッド3bに固着される。
図7〜図10に示すように,仕切り部材19は,互いに接合される鋼板製の上部仕切り半体19a及び下部仕切り半体19bからなっている。この両仕切り半体19a,19bの一半部間には,それらを外方に膨出させて第3消音室18が形成されると共に,第2消音室17をこの第3消音室18に連通する第1連通孔32,32…群が上部仕切り半体19aに設けられる。そして,第3消音室18は排気出口管35を介して大気に開放される。
上記排気出口管35は,第3消音室18を横断するように上部及び下部仕切り半体19a,19b間に支持されるパイプ部材35aと,このパイプ部材35aに連通するように上部及び下部仕切り半体19a,19b間に膨出形成されるパイプ状部35bとからなっており,そのパイプ状部35bが上部及び下部マフラ半体15a,15bの接合面間を貫き,外部に突出するように配置される。パイプ部材35aには,第3消音室18を排気出口管35に連通する第2連通孔33,33…群が設けられる。
図9に示すように,マフラカバー20には,排気出口管35の外端開口部を受容する通孔38が設けられると共に,この通孔38を覆う金網製のスパークアレスタ39が付設される。
次に,この実施例の作用について説明する。
エンジンEの排気行程で,燃焼室7を出た排ガスは,排気ポート9,排気管10及び排気入口25を順次経て第1消音室16に流入し,次いで第1消音室16から排気冷却管31をへて第2消音室17に移り,続いて第1連通孔32,32…を通って第3消音室18へ,さらに第2連通孔33,33…から排気出口管35内へと移っていき,大気に排出される。このように,排ガスは,排気管10から排気出口管35へと順次移行する間に,複数回の膨張による減衰作用によって消音される。
こゝで注目すべき点は,排気管10から第1消音室16に流入した排ガスが,マフラ本体15の下側壁に取り付けられてマフラ本体15の下方の外気に露出したU字状の排気冷却管31を通過することにより冷却されることであり,その冷却により排ガスの圧力が低下するので,排ガスの消音を効果的に図ることができる。しかも排気管10及び排気冷却管31は,シリンダ3を冷却した冷却風の通り道に配置される配置されるので,その冷却風により排気管10及び排気冷却管31を効果的に冷却することができ,それらの内部を流れる排ガスの冷却による圧力低下をより促進することができる。
このような排ガスの圧力低下は,消音のみならず,汎用エンジンEの運転停止後,排気マフラM内に残留する未燃ガスが自然着火するアフターバーン現象を抑えるという効果をももたらすことができる。
また,このような排ガスの冷却による圧力低下を,第1消音室16及び第2消音室17間を連通する排気冷却管31をマフラ本体15下方に露出させることで達成し得るので,マフラ本体15の容積を特に拡張する必要がなく,排気マフラMの大型化を避けることができる。
さらに,第1消音室16及び第2消音室17間を連通する排気冷却管31は,第1消音室16から一旦,マフラ本体15の下側壁を貫通して下方へ出た後,再び前記下側壁を貫通し,更に第1消音室16を貫通して第2消音室17に開口するように配置されるので,排気冷却管31は,排気管10と共に,マフラ本体15の下側壁に集中的に取り付けられることになり,したがって,排気冷却管31がマフラ本体15の側方や上方に突出することを抑え,排気マフラMの外観を良好に保つことができる。
本発明は,上記実施例に限定されるものではなく,その要旨を逸脱しない範囲で種々の設計変更が可能である。例えば,第2消音室17を排気出口管35に直接的に連通して,第3消音室18を廃止することもできる。
本発明の実施例に係る汎用エンジンの正面図 図1の2矢視図。 図1の3矢視図。 図1の4−4線に沿う汎用エンジンの断面図。 図2中の排気マフラ部の拡大断面図。 図5の6矢視図。 図5の7−7線断面図。 図5の8−8線断面図。 図5の9−9線断面図 上記排気マフラ内の仕切り部材の分解斜視図。
符号の説明
E・・・・・エンジン
M・・・・・排気マフラ
3・・・・・シリンダ
10・・・・排気管
15・・・・マフラ本体
16・・・・第1消音室
17・・・・第2消音室
19・・・・仕切り部材
31・・・・排気冷却管(連通手段)
35・・・・排気出口(排気出口管)
43・・・・ステー

Claims (3)

  1. 汎用エンジン(E)のシリンダ(3)に排気管(10)を介して連結されるマフラ本体(15)と,このマフラ本体(15)内を,排気管(10)に連通する第1消音室(16)及び,マフラ本体(15)の排気出口(35)に連通する第2消音室(17)に区画する仕切り部材(19)と,第1消音室(16)及び第2消音室(17)間を連通する連通手段とを備える,汎用エンジンの排気マフラにおいて,
    前記連通手段を,第1消音室(16)及び第2消音室(17)間を連通しながらマフラ本体(15)外に露出する排気冷却管(31)で構成したことを特徴とする,汎用エンジンの排気マフラ。
  2. 請求項1記載の汎用エンジンの排気マフラにおいて,
    前記排気冷却管(31)を,その上流端(31a)が排気管(10)を連結したマフラ本体(15)の一側壁を貫通して第1消音室(16)に開口する一方,その下流端(31b)が前記一側壁及び第1消音室(16)を貫通して第2消音室(17)に開口するように配置したことを特徴とする,汎用エンジンの排気マフラ。
  3. 請求項1又は2記載の汎用エンジンの排気マフラにおいて,
    前記排気冷却管(31)の,マフラ本体(15)外方への露出部には,前記排気管(10)と共にシリンダ(3)に固着されるステー(43)を取り付けたことを特徴とする,汎用エンジンの排気マフラ。
JP2008207167A 2008-08-11 2008-08-11 汎用エンジンの排気マフラ Active JP4970383B2 (ja)

Priority Applications (1)

Application Number Priority Date Filing Date Title
JP2008207167A JP4970383B2 (ja) 2008-08-11 2008-08-11 汎用エンジンの排気マフラ

Applications Claiming Priority (1)

Application Number Priority Date Filing Date Title
JP2008207167A JP4970383B2 (ja) 2008-08-11 2008-08-11 汎用エンジンの排気マフラ

Publications (2)

Publication Number Publication Date
JP2010043580A true JP2010043580A (ja) 2010-02-25
JP4970383B2 JP4970383B2 (ja) 2012-07-04

Family

ID=42015140

Family Applications (1)

Application Number Title Priority Date Filing Date
JP2008207167A Active JP4970383B2 (ja) 2008-08-11 2008-08-11 汎用エンジンの排気マフラ

Country Status (1)

Country Link
JP (1) JP4970383B2 (ja)

Cited By (3)

* Cited by examiner, † Cited by third party
Publication number Priority date Publication date Assignee Title
CN105507985A (zh) * 2015-12-19 2016-04-20 李家森 用于汽车发动机的消声组件
CN105569774A (zh) * 2015-12-19 2016-05-11 北海创思电子科技产业有限公司 用于发动机的消声器
CN109340730A (zh) * 2018-11-20 2019-02-15 连云港长锦电力设备有限公司 消声器及应用其的锅炉

Citations (3)

* Cited by examiner, † Cited by third party
Publication number Priority date Publication date Assignee Title
JPH06280553A (ja) * 1993-03-31 1994-10-04 Honda Motor Co Ltd 消音器
JPH11200835A (ja) * 1998-01-19 1999-07-27 Sango Co Ltd 消音装置
JP2007002730A (ja) * 2005-06-23 2007-01-11 Honda Motor Co Ltd 汎用エンジンのマフラ構造

Patent Citations (3)

* Cited by examiner, † Cited by third party
Publication number Priority date Publication date Assignee Title
JPH06280553A (ja) * 1993-03-31 1994-10-04 Honda Motor Co Ltd 消音器
JPH11200835A (ja) * 1998-01-19 1999-07-27 Sango Co Ltd 消音装置
JP2007002730A (ja) * 2005-06-23 2007-01-11 Honda Motor Co Ltd 汎用エンジンのマフラ構造

Cited By (3)

* Cited by examiner, † Cited by third party
Publication number Priority date Publication date Assignee Title
CN105507985A (zh) * 2015-12-19 2016-04-20 李家森 用于汽车发动机的消声组件
CN105569774A (zh) * 2015-12-19 2016-05-11 北海创思电子科技产业有限公司 用于发动机的消声器
CN109340730A (zh) * 2018-11-20 2019-02-15 连云港长锦电力设备有限公司 消声器及应用其的锅炉

Also Published As

Publication number Publication date
JP4970383B2 (ja) 2012-07-04

Similar Documents

Publication Publication Date Title
WO2011030458A1 (ja) 汎用エンジンの排気マフラ
JP4381868B2 (ja) エンジン用排気浄化機能付き排気マフラ
JP5417610B2 (ja) 高性能排気システム
US7426980B2 (en) Internal combustion engine exhaust system
JP2009008089A (ja) 自動二輪車の排気システム
JP3649306B2 (ja) 多気筒内燃機関の排気マニホルド
JP2009041562A (ja) 鞍乗型車両の排気装置
US7896127B2 (en) Muffler unit for general-purpose engine
JP4970383B2 (ja) 汎用エンジンの排気マフラ
JP2007146681A (ja) 内燃機関の排気装置
JP4551781B2 (ja) 排気マフラー
JP5893926B2 (ja) 触媒内蔵マフラ
JP2005061342A (ja) ターボチャージャ付きエンジンのエアバイパス通路構造
US20090266644A1 (en) Catalytic converter muffler
JP4359265B2 (ja) 汎用エンジンのマフラカバー構造
JP4609314B2 (ja) 排気マニホールドの遮熱構造
WO2006019286A1 (en) Front muffler
CN216043947U (zh) 用于车辆排气系统的消声器
JP7615196B2 (ja) 圧力調整構造及び鞍乗型車両
JP3452528B2 (ja) エギゾーストマニホルド
JP7006030B2 (ja) 排気装置
JPS5943457Y2 (ja) 消音器
JP2007303341A (ja) 内燃機関の樹脂製吸気マニホールド、及び内燃機関
JP2025008834A (ja) 内燃機関の排気装置
JP4582476B2 (ja) 消音器

Legal Events

Date Code Title Description
A621 Written request for application examination

Effective date: 20101109

Free format text: JAPANESE INTERMEDIATE CODE: A621

A977 Report on retrieval

Free format text: JAPANESE INTERMEDIATE CODE: A971007

Effective date: 20110725

A131 Notification of reasons for refusal

Effective date: 20110803

Free format text: JAPANESE INTERMEDIATE CODE: A131

A521 Written amendment

Free format text: JAPANESE INTERMEDIATE CODE: A523

Effective date: 20110928

TRDD Decision of grant or rejection written
A01 Written decision to grant a patent or to grant a registration (utility model)

Free format text: JAPANESE INTERMEDIATE CODE: A01

Effective date: 20120307

A01 Written decision to grant a patent or to grant a registration (utility model)

Free format text: JAPANESE INTERMEDIATE CODE: A01

A61 First payment of annual fees (during grant procedure)

Effective date: 20120404

Free format text: JAPANESE INTERMEDIATE CODE: A61

FPAY Renewal fee payment (prs date is renewal date of database)

Free format text: PAYMENT UNTIL: 20150413

Year of fee payment: 3

R150 Certificate of patent (=grant) or registration of utility model

Free format text: JAPANESE INTERMEDIATE CODE: R150