JP2010042464A - 工作機械の制振装置 - Google Patents

工作機械の制振装置 Download PDF

Info

Publication number
JP2010042464A
JP2010042464A JP2008207275A JP2008207275A JP2010042464A JP 2010042464 A JP2010042464 A JP 2010042464A JP 2008207275 A JP2008207275 A JP 2008207275A JP 2008207275 A JP2008207275 A JP 2008207275A JP 2010042464 A JP2010042464 A JP 2010042464A
Authority
JP
Japan
Prior art keywords
weight
vibration
workpiece
shaft
machine tool
Prior art date
Legal status (The legal status is an assumption and is not a legal conclusion. Google has not performed a legal analysis and makes no representation as to the accuracy of the status listed.)
Granted
Application number
JP2008207275A
Other languages
English (en)
Other versions
JP5265987B2 (ja
Inventor
Akihide Hamaguchi
顕秀 浜口
Current Assignee (The listed assignees may be inaccurate. Google has not performed a legal analysis and makes no representation or warranty as to the accuracy of the list.)
Okuma Corp
Original Assignee
Okuma Corp
Okuma Machinery Works Ltd
Priority date (The priority date is an assumption and is not a legal conclusion. Google has not performed a legal analysis and makes no representation as to the accuracy of the date listed.)
Filing date
Publication date
Application filed by Okuma Corp, Okuma Machinery Works Ltd filed Critical Okuma Corp
Priority to JP2008207275A priority Critical patent/JP5265987B2/ja
Publication of JP2010042464A publication Critical patent/JP2010042464A/ja
Application granted granted Critical
Publication of JP5265987B2 publication Critical patent/JP5265987B2/ja
Expired - Fee Related legal-status Critical Current
Anticipated expiration legal-status Critical

Links

Images

Landscapes

  • Milling Processes (AREA)
  • Turning (AREA)

Abstract

【課題】 加工条件や工具が制約を受けることが無く、被加工物の振動を抑制できる工作機械の制振装置を提供する。
【解決手段】 先端に被加工物2を装着した回転軸4の後端部に、支持軸9を連結して複数の錘部材6aから成る錘6を支持軸9に組み付けた。回転軸4の回転に対して錘6が回転しないよう支持軸9を回転軸4に連結し、回転軸4を回転させて加工を行う際に被加工物2に発生する振動に対して、錘6の質量を変更して共振周波数を変更し、発生する振動を抑制する。
【選択図】 図1

Description

本発明は、工作機械の回動可能な軸に振動抑制の対象となる被加工物或いは工具を連結し、前記軸に連結した被加工物あるいは工具を回転させて加工動作させた場合に、発生する振動を抑制させる工作機械の制振装置に関する。
従来は、回転する被加工物等に発生する振動を抑制するために、梁部材の端部に錘部材を取り付け、梁部材を支持する支持箇所から錘部材に至る長さを変更して、共振周波数を可変とする動吸振器を制振装置として工作機械に取り付けていた(例えば、特許文献1参照)。また、回転する被加工物を切削加工する工具本体を複数の環状部材とそれを係合する係合部材とで構成し、工具自体に摩擦減衰機能を持たせて被加工物の振動を抑制する機構が提案されている(例えば、特許文献2参照)。
特開2004−263767号公報 特開2005−329509号公報
上記特許文献1の技術は効率的に制振効果を発揮できる。しかし、高い制振効果を得るためには、対象物に見合った質量の動吸振器を追加する必要があり、設置スペースに制限を受けて効率的に制振作用を発揮できない場合があった。
また、上記特許文献2の技術では、加工点に近い工具において制振させることで、高い制振効果が期待できるものの、突き出し長さや加工形状などにより係合部材の形状や個数が制限されるため、十分な制振効果を得るために加工条件が制限される場合があるし、使用する工具全てに対して加工を施さなければ成らなかった。
そこで、本発明はこのような問題点に鑑み、加工条件や工具が制約を受けることが無く、被加工物等の回転体の振動を抑制できる工作機械の制振装置を提供するものである。
上記課題を解決する為に、請求項1の発明は、被加工物或いは工具の何れか一方からなる回転体を工作機械の回動可能な軸の先端に連結し、他方を前記回転体に当接させて被加工物の加工を行う工作機械の制振装置であって、前記軸の後端部に質量を変更可能な錘を連結し、前記被加工物の前記工具による加工中に発生する振動に対して、前記錘の質量を適宜選択して前記振動の共振周波数を変更して制振させることを特徴とする。
この構成によれば、加工領域から離れた軸後部に錘を配置するし、工具は従来の工具を使用できるため、加工条件や工具が制約されることがない。そして、任意の共振周波数に対してそれを変更することが可能であり、加工時の振動に対して高い制振作用を発揮させることが可能となる。更に、工具変更毎の調整を必要としない利点がある。
請求項2の発明は、請求項1に記載の発明において、前記錘は、複数の板状錘部材から成り、前記錘部材が前記軸と平行に重なって前記軸後端部に連結されて成ることを特徴とする。
この構成によれば、発生した振動により各錘部材の間で微小な相対運動が生じる。この相対運動は、接触している錘部材間で摩擦を発生させ、摩擦により効果的な制振作用を生ずる。
請求項3の発明は、請求項1に記載の発明において、前記錘は、前記回転体と同一又は同等の形状及び質量を備えると共に、前記軸の中心軸を延長した軸上に配置されて成ることを特徴とする。
この構成によれば、軸に対して対称位置に回転体と錘とが配置されるので、同一の形状及び質量とすれば、双方の共振周波数が一致する。よって、特別な計測器や計算を必要とすることなく、共振周波数を一致させることができ、回転体を変更した場合でも、それに応じて錘の共振周波数を容易に一致させることができ、良好な制振作用を奏させることができる。また、回転体が被加工物の場合、加工により形状が大きく変化する場合があるが、中途加工製品に合わせた錘を複数準備しておけば、加工過程に応じて付け替えるだけで、制振作用を持続させて良好な加工を継続できる。
請求項4の発明は、請求項1又は2に記載の発明において、前記錘は、前記軸の中心軸を延長した軸上に配置されると共に、前記回転体の共振周波数を観測する振動観測手段を有し、観測した回転体の共振周波数と前記錘の共振周波数が一致するように、前記錘の質量が設定されることを特徴とする。
この構成によれば、回転体の共振周波数を求めることで錘の質量を決定でき、良好な制振作用を生じさせることができる。
この発明によれば、加工領域から離れた軸後部に錘を配置するし、工具は従来の工具を使用できるため、加工条件や工具が制約されることがない。そして、任意の共振周波数に対してそれを変更することが可能であり、加工時の振動に対して高い制振作用を発揮させることが可能となる。更に、工具変更毎の調整を必要としない利点がある。
また、軸の中心軸を延長した軸上に錘を配置すれば、制振装置の錘を回転体と同一の部材とすることができ、その場合は共振周波数を測定する必要が無く容易に且つ良好に制振することができる。
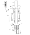
以下、本発明を具体化した実施の形態を、図面に基づいて詳細に説明する。図1は本発明に係る工作機械の制振装置の一例を示す断面図であり、1は制振装置、2は振動抑制の対象となる被加工物、3は被加工物2を把持する把持装置、4は把持装置3に接合された回転軸、5は回転軸4を回転可能に支持する支持部、6は複数の錘部材6aから成る錘、7は回転軸4の後方に錘6を接合するための係合部材、7aは係合部材7が接合されても回転軸4が良好に回転するために回転軸4に組み込まれた支持装置、8は錘部材6aを係合部材7と共に固定する固定部材、9は係合部材7に一端が接合されて錘を支持するために後方に延びた支持軸、10は係合部材7に一端が接合されて錘部材6aを支持軸9に平行な方向に案内すると共に錘6の回転を防止するためのレールである。制振装置1は、錘6、係合部材7、固定部材8、支持軸9、レール10とで構成されている。
尚、支持軸9の他端、及びレール10の他端は、支持部5を組み込んだ支持体11と一体に形成された固定面11aに支持されている。また、12aは被加工物2に実際に発生する振動を観測するための振動センサ、12は振動センサ12aの観測値から共振周波数を演算する振動演算手段であり、振動センサ12aは支持体11の被加工物2に近い部位に設置されている。
制振装置1は具体的に以下のように構成されている。まず、係合部材7は円盤状に形成され、支持装置7aを介して回転軸4の後端部に回転自在に連結されている。そして、支持軸9は、係合部材7の中心、即ち回転軸4の中心軸と同一軸上に配置されて固着されている。レール10は、支持軸9の下部に平行に配置され、係合部材7の下部に同様に固着されている。また、支持軸9はねじ溝が周囲に形成され、固定部材8は支持軸9に螺合するねじ溝を有している。
一方、錘部材6aは略四角形の板状に形成され、下辺となる1辺の中央から上辺に向けて支持軸9の径及びレール10の径よりも大きな幅の溝6bが設けられている。この溝6bに支持軸9及びレール10が挿入されて錘部材6aは支持軸9に載置される。
こうして支持軸9に載置された錘部材6aは、係合部材7と固定部材8とで挟持され固定される。但し、支持軸9とレール10は、錘6による制振作用を妨げることが無いように、装着された錘6に比べて十分低い剛性となっている。
このように構成された制振装置1は、錘6の質量を変化させることにより、被加工物2を含む回転軸4周りの共振周波数を任意に変更することが可能となる。錘6は予め錘部材6aの枚数と共振周波数との関係を調べて装着され、錘6の質量決定(錘部材6aの枚数決定)及び変更手順は次のように行われる。
把持装置3により被加工物2を把持して装着した回転軸4を回転させ、図示しない工具を被加工物に当接させて加工を開始し、発生した振動の周波数を振動センサ12a及び振動演算手段12により測定する。こうして測定した周波数に対して、錘6の共振周波数が適切となるよう必要な錘部材6aの枚数を決定する。錘部材6aの変更は、固定部材8を回転して緩めて、装着済みの錘部材6aの固定を解除した後、錘部材6の追加或いは抜き取りを行い、固定部材8を回転して固定操作することで、錘6の共振周波数を変更する。これらの作業は、図示しないロボットやローダなどを用いて、それらを振動センサの測定結果に基づいて制御して行うと良い。
こうして、錘6をセットした状態で回転軸4を回転させ、図示しない工具を被加工物2に回転軸に直交する側方から当接させて加工が開始される。この時発生する振動は、被加工物2から回転軸4を介して制振装置1に伝達され、被加工物2と同一の周波数で制振装置1が振動する。このとき発生する振動で、各錘部材6aの間で微小な相対運動が生じ、その接触表面にて発生する摩擦により高い制振効果が発生する。
尚、このとき錘部材6aの表面摩擦により得られる減衰性を向上させるために、例えば、表面の平坦度を高くして接触表面積を大きくしても良いし、摩擦係数を大きくする表面加工を施しても良い。
このように、加工領域から離れた軸後部に錘を配置するし、工具は従来の工具を使用できるため、加工条件や工具が制約されることがない。そして、任意の共振周波数に対してそれを変更することが可能であり、加工時の振動に対して高い制振作用を発揮させることが可能となる。更に、工具変更毎の調整を必要としない利点がある。
また、被加工物の共振周波数を求めることで錘の質量を容易に決定でき、加工により被加工物の形状が大きく変化する場合でも、制振効果を失うことなく効率的な制振を行うことができる。
ここで、上記制振装置1の効果を検証するために行ったシミュレーション解析の結果を以下に示す。図3は制振装置を持たないモデル(以下、モデルM1とする)の斜視図、図4は制振装置1を有するモデル(以下、モデルM2とする)の斜視図である。尚、制振装置1は円柱モデルに簡易化してある。そして、図5は解析結果を示し、振動振幅と周波数の関係を示している。
解析では、被加工物2の先端に一定の大きさで周期変動する力13を加えた場合の各周波数における被加工物2の先端における振動振幅を算出した。図5はその結果であり、この図5に示すように、実線で示すモデルM1では周波数fAにピーク14が現れたのに対して、点線で示すモデルM2では周波数fBにピーク15が、周波数fCにピーク16が現れた。そして、最大振幅を見ると、モデルM1ではGAとなったのに対して、モデルM2ではGCとなり、約32%の減少が見られた。
また、図6〜図8は上記シミュレーションにより各モデルを振動させた状態の外観図を示し、図6はモデルM1の周波数fAにおける振動状態、図7はモデルM2の周波数fBにおける振動状態、図8はモデルM2の周波数fCにおける振動状態をそれぞれ示している。この振動状態図より、モデルM1では被加工物2が単独で振動しているのに対して、モデルM2では、錘6が被加工物2と一緒に振動していることが分かる。このとき、図7、図8から周波数fBと周波数fCとでは、錘6は反対位相で振動していることが分かる。
以上の挙動は、動吸振器に見られる特徴であり、本制振装置1が被加工物2に対して効果的に制振効果を発揮することを示している。
尚、本発明の制振装置1に係る構成は、上記実施の形態に示した態様に何ら限定されるものではなく、制振装置1を構成する錘6、係合部材7、固定部材8等に係る構成を、本発明の趣旨を逸脱しない範囲で、必要に応じて適宜変更することができる。
例えば、上記実施形態では、回転軸4の軸心に連続する軸上に支持軸9を配置して錘6を装着しているが、回転しない支持軸9は回転軸4と同一軸上に配置しなくとも良い。また、複数の錘部材6aにより錘6を構成しているが、単一の構成物を用いても良い。
図9は、制振装置のこのような変更例を示す断面説明図であり、錘6を一体形成した構造物17とし、それを把持する把持部材18とにより制振装置を構成した例を示している。そして、構造物17を、被加工物2と略同一の形状及び質量を備えたものとしている。このように構成することで、特別な器具や計算を必要とすることなく、双方の共振周波数を一致させ、簡単に制振装置を構成することができる。また、制振装置1をこのように構成した場合、被加工物を変更した場合は、それに応じて構造物17を変更することで、簡単に周波数を一致させることができる。また、被加工物2が加工により形状を大きく変化する場合でも、中途加工製品に合わせた構造物17を複数準備しておけば、加工過程に応じて付け替えるだけで、制振作用を持続させて良好な加工を継続できる。
また、上記実施形態では、回転軸4に対して係合部材7を回転可能に結合することで、制振装置1を回転しないようにしているが、回転軸4と係合部材7とを締結して、制振装置1を軸4と共に回転させても良い。図10、図11は、回転する制振装置1の構成例を示している。図10は工作機械を含む断面説明図であり、図11は図10の制振装置1の斜視図である。
この図10、11に示すように、円環状の錘部材19aから成る錘19と、固定用ナット20と、回転軸4に接合された係合部材21と、軸4のクランプ装置22とを用いて装置を構成することも可能である。これにより、レール10や支持装置7aが不要となるし、係合部材21から延びた支持軸9の端部を固定面に固定する必要が無くなるため、装置の簡易化を図ることができる。
また、上記実施形態の振動センサ12は、具体的に加速度センサ、音センサ、或いは変位センサを用いることができるが、シミュレーション解析によって共振周波数を推定しても良いし、加振テストを行って測定しても良い。
更に、上記実施形態では、旋盤や研削盤等において被加工物2を把持装置3で把持して回転する主軸装置等に適用できる構成を例に挙げて説明したが、本発明はこれに限定されるものではなく、図12に示すように、回転軸4の先端に工具24を装着する例えばマシニングセンタの主軸や複合加工旋盤の工具主軸にも適用できることはいうまでもない。
本発明に係る工作機械の制振装置の一例を示す工作機械の断面説明図である。 図1の制振装置の斜視図である。 シミュレーション解析に用いた制振装置を持たないモデルの斜視図である。 シミュレーション解析に用いた図2に示す制振装置を備えたモデルの斜視図である。 シミュレーション解析から算出された振動振幅と周波数の関係を示すグラフである。 シミュレーション解析から算出された周波数fAにおける制振装置を持たないモデルの振動状態を示した上面図である。 シミュレーション解析から算出された周波数fBにおける制振装置を備えたモデルの振動状態を示した上面図である。 シミュレーション解析から算出された周波数fCにおける制振装置を備えたモデルの振動状態を示した上面図である。 振動抑制対象と同等の構造物と把持装置を用いた制振装置の構成例を示す断面説明図である。 回転軸と共に回転する制振装置の構成例を示す断面説明図である。 図10に示す制振装置の斜視図である。 本発明に係る工作機械の他の例を示す工作機械の断面説明図である。
符号の説明
1・・制振装置、2・・被加工物、4・・回転軸(軸)、5・・支持部、6・・錘、6a・・錘部材、7・・係合部材、7a・・支持装置、8・・固定部材、9・・支持軸、11・・支持体、12・・振動演算手段(振動観測手段)、12a・・振動センサ(振動観測手段)、17・・構造物(錘)、19・・錘、19a・・錘部材、20・・固定用ナット、21・・係合部材、24・・工具。

Claims (4)

  1. 被加工物或いは工具の何れか一方からなる回転体を工作機械の回動可能な軸の先端に連結し、他方を前記回転体に当接させて被加工物の加工を行う工作機械の制振装置であって、
    前記軸の後端部に質量を変更可能な錘を連結し、前記被加工物の前記工具による加工中に発生する振動に対して、前記錘の質量を適宜選択して前記振動の共振周波数を変更して制振させることを特徴とする工作機械の制振装置。
  2. 前記錘は、複数の板状錘部材から成り、前記錘部材が前記軸と平行に重なって前記軸後端部に連結されて成ることを特徴とする請求項1記載の工作機械の制振装置。
  3. 前記錘は、前記回転体と同一又は同等の形状及び質量を備えると共に、前記軸の中心軸を延長した軸上に配置されて成ることを特徴とする請求項1記載の工作機械の制振装置。
  4. 前記錘は、前記軸の中心軸を延長した軸上に配置されると共に、前記回転体の共振周波数を観測する振動観測手段を有し、
    観測した回転体の共振周波数と前記錘の共振周波数が一致するように、前記錘の質量が設定されることを特徴とする請求項1又は2記載の工作機械の制振装置。
JP2008207275A 2008-08-11 2008-08-11 工作機械の制振装置 Expired - Fee Related JP5265987B2 (ja)

Priority Applications (1)

Application Number Priority Date Filing Date Title
JP2008207275A JP5265987B2 (ja) 2008-08-11 2008-08-11 工作機械の制振装置

Applications Claiming Priority (1)

Application Number Priority Date Filing Date Title
JP2008207275A JP5265987B2 (ja) 2008-08-11 2008-08-11 工作機械の制振装置

Publications (2)

Publication Number Publication Date
JP2010042464A true JP2010042464A (ja) 2010-02-25
JP5265987B2 JP5265987B2 (ja) 2013-08-14

Family

ID=42014266

Family Applications (1)

Application Number Title Priority Date Filing Date
JP2008207275A Expired - Fee Related JP5265987B2 (ja) 2008-08-11 2008-08-11 工作機械の制振装置

Country Status (1)

Country Link
JP (1) JP5265987B2 (ja)

Cited By (8)

* Cited by examiner, † Cited by third party
Publication number Priority date Publication date Assignee Title
JP2010269444A (ja) * 2009-05-25 2010-12-02 Sandvik Intellectual Property Ab 材料のフライス加工のための装置および方法
JP2011235364A (ja) * 2010-05-06 2011-11-24 Jtekt Corp 工作機械の主軸装置
KR101370705B1 (ko) 2011-10-05 2014-03-06 가부시키가이샤 고베 세이코쇼 스크류 압축기
KR101376023B1 (ko) 2011-10-05 2014-03-19 가부시키가이샤 고베 세이코쇼 스크류 압축기
KR20200107044A (ko) * 2019-03-06 2020-09-16 두산공작기계 주식회사 공작기계의 떨림 감소 장치
WO2020197094A1 (ko) * 2019-03-27 2020-10-01 두산공작기계 주식회사 공작기계 스핀들의 떨림 감쇠장치 및 이를 포함하는 공작기계
CN112247231A (zh) * 2020-10-15 2021-01-22 航天科工哈尔滨风华有限公司 一种三点定位支撑结构的加长型角度铣头装置
CN116833807A (zh) * 2023-07-14 2023-10-03 天津大学 一种基于减振技术的机床机械振动抑制方法

Citations (3)

* Cited by examiner, † Cited by third party
Publication number Priority date Publication date Assignee Title
JPS4913978U (ja) * 1972-05-08 1974-02-05
JPS4928761A (ja) * 1972-07-15 1974-03-14
JP2001162489A (ja) * 1999-12-09 2001-06-19 Hitachi Tool Engineering Ltd 切削加工方法

Patent Citations (3)

* Cited by examiner, † Cited by third party
Publication number Priority date Publication date Assignee Title
JPS4913978U (ja) * 1972-05-08 1974-02-05
JPS4928761A (ja) * 1972-07-15 1974-03-14
JP2001162489A (ja) * 1999-12-09 2001-06-19 Hitachi Tool Engineering Ltd 切削加工方法

Cited By (10)

* Cited by examiner, † Cited by third party
Publication number Priority date Publication date Assignee Title
JP2010269444A (ja) * 2009-05-25 2010-12-02 Sandvik Intellectual Property Ab 材料のフライス加工のための装置および方法
JP2011235364A (ja) * 2010-05-06 2011-11-24 Jtekt Corp 工作機械の主軸装置
KR101370705B1 (ko) 2011-10-05 2014-03-06 가부시키가이샤 고베 세이코쇼 스크류 압축기
KR101376023B1 (ko) 2011-10-05 2014-03-19 가부시키가이샤 고베 세이코쇼 스크류 압축기
KR20200107044A (ko) * 2019-03-06 2020-09-16 두산공작기계 주식회사 공작기계의 떨림 감소 장치
KR102685345B1 (ko) * 2019-03-06 2024-07-15 주식회사 디엔솔루션즈 공작기계의 떨림 감소 장치
WO2020197094A1 (ko) * 2019-03-27 2020-10-01 두산공작기계 주식회사 공작기계 스핀들의 떨림 감쇠장치 및 이를 포함하는 공작기계
US11731226B2 (en) 2019-03-27 2023-08-22 Dn Solutions Co., Ltd. Vibration damping device for machine tool spindle and machine tool comprising same
CN112247231A (zh) * 2020-10-15 2021-01-22 航天科工哈尔滨风华有限公司 一种三点定位支撑结构的加长型角度铣头装置
CN116833807A (zh) * 2023-07-14 2023-10-03 天津大学 一种基于减振技术的机床机械振动抑制方法

Also Published As

Publication number Publication date
JP5265987B2 (ja) 2013-08-14

Similar Documents

Publication Publication Date Title
JP5265987B2 (ja) 工作機械の制振装置
JP5824583B2 (ja) 工作機械の振動低減装置および方法
EP2708316B1 (en) Inertia damper for suppressing vibrations in a machine tool
JP2004515371A (ja) 切削工具における振動減衰用装置と方法
JP2019534795A (ja) 切れ刃の撓みの推定
JP2010507489A (ja) 工作機械
JPWO2014017460A1 (ja) 工具を備えた超音波振動体の支持構造
JP5983112B2 (ja) 工作機械の動特性算出装置および動特性算出方法
EP3560655B1 (en) Vibration suppression device, machine tool, and vibration suppression method
US7730813B2 (en) Variable tuned holder for machine tools
JP4232841B2 (ja) 高速回転機器のアンバランス修正装置
JP5983113B2 (ja) 工作機械の動特性算出装置および動特性算出方法
CN105651473A (zh) 用于自动确定物体的动态刚度的方法
JP5862381B2 (ja) 工作機械の機械剛性測定用起振ツール及び工作機械の機械剛性測定方法
US7536924B2 (en) Flexure-based dynamometer for determining cutting force
KR101510638B1 (ko) Mr 가진기 및 피에조 가진기를 이용한 착탈식 능동 방진 장치 및 방법
JP2006118968A (ja) 振動試験用多軸加振装置
JP6330324B2 (ja) 工作機械の動特性算出装置および動特性算出方法
JP5689951B2 (ja) 複数の節に切削ビットを取り付けるためのロッド状の工具ホルダ
JP2011106590A (ja) 平行板ばね式動吸振器
JP2006145530A (ja) 不釣合いおよびノンユニフォーミティを検出する装置用の軸受装置ならびに不釣合いおよびノンユニフォーミティ検出方法
JP5137440B2 (ja) 起振装置
JPH04276806A (ja) アーム用振動抑制装置
JP2009014743A (ja) 高速回転機器のアンバランス修正装置
JP6273746B2 (ja) 荷重測定装置

Legal Events

Date Code Title Description
A621 Written request for application examination

Free format text: JAPANESE INTERMEDIATE CODE: A621

Effective date: 20110427

A977 Report on retrieval

Free format text: JAPANESE INTERMEDIATE CODE: A971007

Effective date: 20121213

A131 Notification of reasons for refusal

Free format text: JAPANESE INTERMEDIATE CODE: A131

Effective date: 20121218

A521 Request for written amendment filed

Free format text: JAPANESE INTERMEDIATE CODE: A523

Effective date: 20130205

TRDD Decision of grant or rejection written
A01 Written decision to grant a patent or to grant a registration (utility model)

Free format text: JAPANESE INTERMEDIATE CODE: A01

Effective date: 20130402

A61 First payment of annual fees (during grant procedure)

Free format text: JAPANESE INTERMEDIATE CODE: A61

Effective date: 20130502

R150 Certificate of patent or registration of utility model

Ref document number: 5265987

Country of ref document: JP

Free format text: JAPANESE INTERMEDIATE CODE: R150

Free format text: JAPANESE INTERMEDIATE CODE: R150

LAPS Cancellation because of no payment of annual fees