JP2010042380A - 微細気泡混入水の供給装置 - Google Patents

微細気泡混入水の供給装置 Download PDF

Info

Publication number
JP2010042380A
JP2010042380A JP2008209800A JP2008209800A JP2010042380A JP 2010042380 A JP2010042380 A JP 2010042380A JP 2008209800 A JP2008209800 A JP 2008209800A JP 2008209800 A JP2008209800 A JP 2008209800A JP 2010042380 A JP2010042380 A JP 2010042380A
Authority
JP
Japan
Prior art keywords
water
tap
tube
tap water
fine
Prior art date
Legal status (The legal status is an assumption and is not a legal conclusion. Google has not performed a legal analysis and makes no representation as to the accuracy of the status listed.)
Granted
Application number
JP2008209800A
Other languages
English (en)
Other versions
JP5081099B2 (ja
Inventor
Takeo Kawai
健男 河井
Harumi Shimada
晴示 島田
Wataru Morizaki
亘 森崎
Current Assignee (The listed assignees may be inaccurate. Google has not performed a legal analysis and makes no representation or warranty as to the accuracy of the list.)
EMIRIE IRYO SYSTEM KK
Nitta Moore Co
Original Assignee
EMIRIE IRYO SYSTEM KK
Nitta Moore Co
Priority date (The priority date is an assumption and is not a legal conclusion. Google has not performed a legal analysis and makes no representation as to the accuracy of the date listed.)
Filing date
Publication date
Application filed by EMIRIE IRYO SYSTEM KK, Nitta Moore Co filed Critical EMIRIE IRYO SYSTEM KK
Priority to JP2008209800A priority Critical patent/JP5081099B2/ja
Publication of JP2010042380A publication Critical patent/JP2010042380A/ja
Application granted granted Critical
Publication of JP5081099B2 publication Critical patent/JP5081099B2/ja
Active legal-status Critical Current
Anticipated expiration legal-status Critical

Links

Images

Landscapes

  • Cleaning By Liquid Or Steam (AREA)
  • Apparatus For Disinfection Or Sterilisation (AREA)

Abstract

【課題】装置全体がコンパクトであり且つ十分な微細気泡混入水の供給が可能な微細気泡混入水の供給装置を提供すること。
【解決手段】水道蛇口Jからの水道水がチューブT1を介して微細気泡発生装置Sに供給されると共に前記微細気泡発生装置Sの少なくとも気液混合出口6を、水道水が充填された貯水槽7内に漬けてあり、前記貯水槽7内の微細気泡を含んだ水道水を外部に排出供給できるようにした微細気泡混入水の供給装置において、水道水を供給するための上記チューブT1を微細気泡発生装置Sの手前で分岐し、この分岐チューブT2からの水道水を貯水槽7内に直接投入している。
【選択図】図1

Description

この発明は、微細気泡が混入された水を供給するための装置に関するものである。
微細気泡を発生させる装置としては、例えば有底円筒形のスペーサを有する容器本体と、前記スペースの内壁円周面の一部にその接線方向に開設された加圧液体導入口と、前記円筒形のスペースの底壁に開設された気体導入孔と、前記スペースの先部に開設された旋回気液混合体導出口とを具えているものがある(例えば、特許文献1。)。
上記微細気泡発生装置によると、気体導入孔から容器本体内に導入された気体は、微細気泡(マイクロバブル:直径50μm以下)として容器本体から放出される。
ところで、近年において、液体中に微細気泡を発生させて、病院などでの手洗い、厨房などの野菜洗浄、農業・漁業・工業分野などでの手洗いを始め、食品・物品などの洗浄まで、広範囲に利用できる微細気泡体の供給装置ができないかとの期待が高まっている。
しかしながら、上記微細気泡発生装置では、一個当たりの微細気泡混入水量はごく僅かなものであるから、シャワーや洗浄水として使用するような場合、複数個又は多数個の装置が必要となると共に大きな貯水槽が必要になってしまう。したがって、装置全体が大きくなってしまうことから、設置スペース等の問題が生じる。
国際公開番号WO00/69550公報
そこで、この発明では、装置全体がコンパクトであり且つ十分な微細気泡混入水の供給が可能な微細気泡混入水の供給装置を提供することを課題とする。
(請求項1記載の発明)
この請求項1記載の発明は、水道蛇口からの水道水がチューブを介して微細気泡発生装置に供給されると共に前記微細気泡発生装置の少なくとも気液混合出口を、水道水が充填された貯水槽内に漬けてあり、前記貯水槽内の微細気泡を含んだ水道水を外部に排出供給できるようにした微細気泡混入水の供給装置であって、前記水道蛇口から水道水を供給するための上記チューブを、微細気泡発生装置の手前で分岐して水道水を貯水槽内に直接投入するか、又は前記水道蛇口とは別の水道蛇口からの水道水を直接貯水槽内に直接投入するようにしている。
(請求項2記載の発明)
この請求項2記載の発明は、上記請求項1記載の発明に関し、上記分岐したチューブから貯水槽へ水道水が投入される位置は、貯水槽内における気液混合出口からできるだけ離れた位置である。
(請求項3記載の発明)
この請求項3記載の発明は、上記請求項1又は2記載の発明に関し、チューブと分岐チューブのうち、少なくとも分岐チューブに流量調整弁を設けてある。
(請求項4記載の発明)
この請求項4記載の発明は、上記請求項1乃至3のいずれかに記載の発明に関し、微細気泡発生装置の空気流入口に、枝管を有するメインチューブを接続し、貯水槽内の微細気泡を含んだ水道水をシャワー具又は蛇口から排出供給する。
(請求項5記載の発明)
この請求項5記載の発明は、上記請求項1乃至4のいずれかに記載の発明に関し、微細気泡発生装置の空気流入口に枝管を有するメインチューブを接続し、前記微細気泡発生装置内で発生する負圧により、枝管先端部側に設けられた薬品が空気流入口側に吸引されるようにしてある。
(請求項6記載の発明)
この請求項6記載の発明は、上記請求項5記載の発明に関し、薬品は、グリセリン、アルコール、洗剤である。
この発明の微細気泡混入水の供給装置によると、装置全体がコンパクトであり且つ十分な微細気泡混入水の供給が可能である。
以下にこの発明の微細気泡混入水の発生装置を実施するための最良の形態として実施例について詳しく説明する。
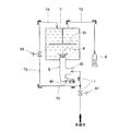
図1はこの発明の実施例1における微細気泡混入水の供給装置の部分断面図、図2は前記実施例1の微細気泡混入水の供給装置に使用されている微細気泡発生装置Sの拡大断面図。
(この微細気泡混入水の供給装置の構成について)
この微細気泡混入水の供給装置は、図1に示すように、水道蛇口Jからの水道水がチューブT1を介して微細気泡発生装置Sに供給されると共に前記微細気泡発生装置Sの少なくとも気液混合出口6を、水道水が充填された貯水槽7内に漬けてあり、前記貯水槽7内の微細気泡を含んだ水道水を外部に排出供給(シャワー具8や蛇口)できるようにすると共に水道水を供給するための上記チューブT1を微細気泡発生装置Sの手前で分岐し、この分岐チューブT2からの水道水を貯水槽7内に直接投入している。
なお、チューブT1中には流量調整弁b1を、チューブT2中には流量調整弁b2を、それぞれ投入してあり、チューブT3の先端部にはシャワー具8(又は蛇口)を設けてある。
(この微細気泡発生装置Sの構成について)
上記した微細気泡発生装置Sは、図2に示すように、第1構成体1と第2構成体2とを気密状態に相対回転可能として成るものであり、前記第1構成体1は主として、水道水導入路3とその中心部分に設けられた空気導入路4を有するものであり、前記第2構成体2は主として、液体導入路3からの液体を螺旋流に変化させながら空気導入路4の出口付近に至らしめる螺旋状液体導入路5と、螺旋流となった水道水と空気導入路4からの気体よりなる気液混合体を排出する気液混合導出口6とを有するものである。
なお、この微細気泡発生装置Sにおいては、図1や図2に示すように、水道水導入路3の始端部はチューブT1の接続・離反が容易なチューブ継手30(所謂ワンタッチ継手)により形成してあり、気体導入路4の始端部は流量調整弁付きチューブ継手40により形成してある。
この微細気泡発生装置Sを使用する際には、図1に示すように、少なくとも第2構成体2の気液混合導出口6を液体中に漬け、水道水導入路3に水道蛇口Jからの水道水を圧送する。
すると、チューブT1から入ってきた水道水は、チューブ継手30→横L字状の水道水導入路3→螺旋状液体導入路5(このとき初めて螺旋流となり、その直後、負圧領域が形成され、この負圧により空気導入路4から導かれてきた空気と混合状態となる)→気液混合導出口6の経路で排出されることとなり、貯水槽7内の水道水中に大量の微細気泡が発生することになる。なお、この微細気泡の発生メカニズムは公知であるので詳述しない。
(この微細気泡混入水の供給装置の作用・効果について)
水道蛇口Jを開状態にしてチューブT1を介してチューブ継手30から水道水を投入すると、流量調整弁付きチューブ継手40から空気が吸引され、貯水槽7に設けられた気液混合導出口6から微細気泡が発生し、徐々に貯水槽7内に微細気泡が充満することになる。
ここで、この実施例の供給装置では、チューブT2から直接、水道水を貯水槽7へ送るルートを設けており、流量調整弁b2の調整により、チューブ継手30からの水道水の量と、チューブT2の水道水の量との比率を、調整できるようにしている。この構成による上記調整により、微細気泡発生装置Sからの微細気泡を潰す(消滅させる)ことなく貯水槽7への水道水の全体の量を多くできる。
したがって、装置全体がコンパクトであり且つ十分な微細気泡混入水の供給が可能な微細気泡混入水の供給装置が提供できることになる。
なお、チューブT2を付加することなく、多数の微細気泡発生装置を用いて又は大きな微細気泡発生装置を用いて、同様の供給装置を提供することも可能であるが、装置全体が大きくなる共にチューブのルート等が複雑に故に、設置位置等の問題が生じると考えられる。
(実際の微細気泡混入水の供給装置の実例について)
(1)水道水全体の供給量 4.6リットル/分
(2)チューブT1側/チューブT2側の水道水の比率 1:1
(3)微細気泡混入水の排出量 4.6リットル/分
(4)貯水槽7の大きさ 直径120mm、高さ200mm
上記条件によると、シャワー具8から十分な微細気泡混入水がでるようになる。
なお、上記分岐したチューブT2から貯水槽7へ水道水が投入される位置は、貯水槽7内における気液混合出口からできるだけ離れた位置であることが好ましい。微細気泡の消滅が生じないようにするためである。
図3は前記実施例1の流量調整弁付きチューブ継手に、枝管を有するメインチューブを接続した状態を示す微細気泡混入水の供給装置の断面図。
この微細気泡混入水の供給装置は、図3に示すように、基本的構成は同じであるが、同図に示すように、微細気泡発生装置Sの空気流入口(具体的には流量調整弁付き継手40、以下同じ)に、枝管(具体的にはT字管92又は斜め管から直角方向に延びる管、以下同じ)を有するメインチューブT4を接続し、前記枝管付近で生じる負圧力により枝管先端部側に設けられた薬品93が空気流入口(流量調整弁付き継手40)側に吸引されるようにしてある。なお、符号90、91は絞り弁である。
上記構成によると、気液混合導出口6から微細気泡は、薬品を含んだものとなる。
なお、上記薬品としては、グリセリン、アルコール、洗剤等が採用できる。グリセリンを使用した場合、手等への保湿の如き効果があり、アルコールを使用した場合には微細気泡数の増加の如き効果があり、洗剤を使用した場合には定濃度洗浄液の提供ができる。
(その他について)
なお、上記実施例では、水道蛇口Jからの水道水がチューブT1を介して微細気泡発生装置Sに供給されると共に前記微細気泡発生装置Sの少なくとも気液混合出口を、水道水が充填された貯水槽7内に漬けてあり、前記貯水槽7内の微細気泡を含んだ水道水を外部に排出供給できるようにした微細気泡混入水の供給装置であって、前記水道蛇口Jから水道水を供給するための上記チューブT1を、微細気泡発生装置Sの手前で分岐して水道水を貯水槽7内に直接投入するようにしているが、これに限定されることなく、図4に示すように、前記水道蛇口Jとは別の水道蛇口J1からの水道水を直接貯水槽7内に直接投入するようにしてもよい。
また、上部からの入水により微細気泡が消滅しないようにするため、図5に示すように、貯水槽7内において、邪魔板70のようなものを設けておくようにしてもよい。
この発明の実施例1における微細気泡混入水の供給装置の部分断面図。 前記実施例1の微細気泡混入水の供給装置に使用されている微細気泡発生装置の拡大断面図。 この発明の実施例2であり、前記実施例1の流量調整弁付きチューブ継手に、枝管を有するメインチューブを接続した状態を示す微細気泡混入水の供給装置の断面図。 他の実施例であり、分岐チューブからの水道水を貯水槽内に投入するのではなく、他の蛇口から水道水を貯水槽内に投入している微細気泡混入水の供給装置の断面図。 他の実施例であり、貯水槽内に邪魔板を設けてある微細気泡混入水の供給装置の断面図。
符号の説明
S 微細気泡発生装置
J 水道蛇口
T1 チューブ
T2 チューブ
T3 チューブ
T4 チューブ
b1 流量調整弁
b2 流量調整弁
1 第1構成体
2 第2構成体
3 水道水導入路
30 チューブ継手
4 空気導入路
40 流量調整弁付チューブ
5 螺旋状液体導入路
6 気液混合導出口
7 貯水槽
70 邪魔板
8 シャワー部



























Claims (6)

  1. 水道蛇口からの水道水がチューブを介して微細気泡発生装置に供給されると共に前記微細気泡発生装置の少なくとも気液混合出口を、水道水が充填された貯水槽内に漬けてあり、前記貯水槽内の微細気泡を含んだ水道水を外部に排出供給できるようにした微細気泡混入水の供給装置であって、前記水道蛇口から水道水を供給するための上記チューブを、微細気泡発生装置の手前で分岐して水道水を貯水槽内に直接投入するか、又は前記水道蛇口とは別の水道蛇口からの水道水を直接貯水槽内に直接投入するようにしていることを特徴とする微細気泡混入水の供給装置。
  2. 上記分岐チューブから貯水槽へ水道水が投入される位置は、貯水槽内における気液混合出口からできるだけ離れた位置であることを特徴とする請求項1記載の微細気泡混入水の供給装置。
  3. チューブと分岐チューブのうち、少なくとも分岐チューブに流量調整弁を設けてあることを特徴とする請求項1又は2記載の微細気泡混入水の供給装置。
  4. 微細気泡発生装置の空気流入口に、枝管を有するメインチューブを接続し、貯水槽内の微細気泡を含んだ水道水をシャワー具又は蛇口から排出供給することを特徴とする請求項1乃至3のいずれかに記載の微細気泡混入水の供給装置。
  5. 微細気泡発生装置の空気流入口に枝管を有するメインチューブを接続し、前記微細気泡発生装置内で発生する負圧により、枝管先端部側に設けられた薬品が空気流入口側に吸引されるようにしてあることを特徴とする請求項1乃至4のいずれかに記載の微細気泡混入水の供給装置。
  6. 薬品は、グリセリン、アルコール、洗剤であることを特徴する請求項5記載の微細気泡混入水の供給装置。










JP2008209800A 2008-08-18 2008-08-18 微細気泡混入水の供給装置 Active JP5081099B2 (ja)

Priority Applications (1)

Application Number Priority Date Filing Date Title
JP2008209800A JP5081099B2 (ja) 2008-08-18 2008-08-18 微細気泡混入水の供給装置

Applications Claiming Priority (1)

Application Number Priority Date Filing Date Title
JP2008209800A JP5081099B2 (ja) 2008-08-18 2008-08-18 微細気泡混入水の供給装置

Publications (2)

Publication Number Publication Date
JP2010042380A true JP2010042380A (ja) 2010-02-25
JP5081099B2 JP5081099B2 (ja) 2012-11-21

Family

ID=42014203

Family Applications (1)

Application Number Title Priority Date Filing Date
JP2008209800A Active JP5081099B2 (ja) 2008-08-18 2008-08-18 微細気泡混入水の供給装置

Country Status (1)

Country Link
JP (1) JP5081099B2 (ja)

Cited By (3)

* Cited by examiner, † Cited by third party
Publication number Priority date Publication date Assignee Title
JP2012187464A (ja) * 2011-03-09 2012-10-04 Iwase:Kk ミキサー装置
KR102213793B1 (ko) * 2020-04-28 2021-02-09 유한회사 호원 마이크로버블 생성 혼합 수중 에어레이터
KR20220102697A (ko) * 2021-01-13 2022-07-21 조득형 마이크로버블 생성 혼합 수중 에어레이터 회전분사 조립체

Citations (4)

* Cited by examiner, † Cited by third party
Publication number Priority date Publication date Assignee Title
JPH05123554A (ja) * 1991-11-05 1993-05-21 Idec Izumi Corp 気液接触装置およびオゾン水製造装置
JPH09290280A (ja) * 1996-04-30 1997-11-11 Meidensha Corp オゾン接触槽とその制御方法
JP2008055145A (ja) * 2006-08-03 2008-03-13 Mitsuaki Kato 理髪・美容の施術方法及びこの方法に用いる洗浄水供給装置
JP2008149219A (ja) * 2006-12-14 2008-07-03 Nippon Torimu:Kk 微細気泡発生方法および微細気泡発生装置

Patent Citations (4)

* Cited by examiner, † Cited by third party
Publication number Priority date Publication date Assignee Title
JPH05123554A (ja) * 1991-11-05 1993-05-21 Idec Izumi Corp 気液接触装置およびオゾン水製造装置
JPH09290280A (ja) * 1996-04-30 1997-11-11 Meidensha Corp オゾン接触槽とその制御方法
JP2008055145A (ja) * 2006-08-03 2008-03-13 Mitsuaki Kato 理髪・美容の施術方法及びこの方法に用いる洗浄水供給装置
JP2008149219A (ja) * 2006-12-14 2008-07-03 Nippon Torimu:Kk 微細気泡発生方法および微細気泡発生装置

Cited By (4)

* Cited by examiner, † Cited by third party
Publication number Priority date Publication date Assignee Title
JP2012187464A (ja) * 2011-03-09 2012-10-04 Iwase:Kk ミキサー装置
KR102213793B1 (ko) * 2020-04-28 2021-02-09 유한회사 호원 마이크로버블 생성 혼합 수중 에어레이터
KR20220102697A (ko) * 2021-01-13 2022-07-21 조득형 마이크로버블 생성 혼합 수중 에어레이터 회전분사 조립체
KR102498267B1 (ko) 2021-01-13 2023-02-13 주식회사 아이웍스 마이크로버블 생성 혼합 수중 에어레이터 회전분사 조립체

Also Published As

Publication number Publication date
JP5081099B2 (ja) 2012-11-21

Similar Documents

Publication Publication Date Title
JP6483303B2 (ja) 気液溶解タンク及び微細気泡発生装置
JP2021504133A (ja) マイクロバブル発生器
JP2010075838A (ja) 気泡発生ノズル
JP2017176924A (ja) マイクロ・ナノバブル発生器及び配管洗浄方法
CN101594926B (zh) 一种微小气泡发生装置
JP2011218343A (ja) 気液混合用のノズル、気液混合機構およびその用途
JP5081099B2 (ja) 微細気泡混入水の供給装置
JP5218948B1 (ja) 気体溶解器
KR200449102Y1 (ko) 마이크로 버블 노즐
JP4545564B2 (ja) 微細気泡発生装置
JP2001187326A (ja) 気水混合器
JP2007117799A (ja) 微細気泡生成器及びこれを用いた微細気泡生成装置
JP2011183350A (ja) 気液混合装置
JP2006122813A (ja) 混合機およびこれを用いた混合装置
JP2006061829A (ja) 微細気泡発生装置、これを用いた溶存酸素除去装置およびこれらを用いた溶存酸素除去方法
JP2009274026A (ja) 水栓用マイクロバブルユニット
WO2014050521A1 (ja) 気体溶解装置
JP2005034747A (ja) 微細気泡発生装置
JP2008178780A (ja) 微細気泡発生装置
JP7505739B2 (ja) 水素微細気泡発生装置及び水素微細気泡発生ユニット
JP6508629B2 (ja) 微細気泡発生装置
JP2008178779A (ja) 微細気泡発生装置
JP2008178806A (ja) 微細気泡発生装置
KR101275229B1 (ko) 미세기포 발생장치
JP5081169B2 (ja) 混合装置

Legal Events

Date Code Title Description
A711 Notification of change in applicant

Free format text: JAPANESE INTERMEDIATE CODE: A712

Effective date: 20101014

RD04 Notification of resignation of power of attorney

Free format text: JAPANESE INTERMEDIATE CODE: A7424

Effective date: 20101118

A621 Written request for application examination

Free format text: JAPANESE INTERMEDIATE CODE: A621

Effective date: 20110801

RD02 Notification of acceptance of power of attorney

Free format text: JAPANESE INTERMEDIATE CODE: A7422

Effective date: 20110801

A521 Written amendment

Free format text: JAPANESE INTERMEDIATE CODE: A821

Effective date: 20110801

A977 Report on retrieval

Free format text: JAPANESE INTERMEDIATE CODE: A971007

Effective date: 20120413

A131 Notification of reasons for refusal

Free format text: JAPANESE INTERMEDIATE CODE: A131

Effective date: 20120424

A521 Written amendment

Free format text: JAPANESE INTERMEDIATE CODE: A523

Effective date: 20120622

TRDD Decision of grant or rejection written
A01 Written decision to grant a patent or to grant a registration (utility model)

Free format text: JAPANESE INTERMEDIATE CODE: A01

Effective date: 20120821

A01 Written decision to grant a patent or to grant a registration (utility model)

Free format text: JAPANESE INTERMEDIATE CODE: A01

A61 First payment of annual fees (during grant procedure)

Free format text: JAPANESE INTERMEDIATE CODE: A61

Effective date: 20120831

FPAY Renewal fee payment (event date is renewal date of database)

Free format text: PAYMENT UNTIL: 20150907

Year of fee payment: 3

R150 Certificate of patent or registration of utility model

Ref document number: 5081099

Country of ref document: JP

Free format text: JAPANESE INTERMEDIATE CODE: R150

Free format text: JAPANESE INTERMEDIATE CODE: R150