JP2010041467A - 再生システム - Google Patents

再生システム Download PDF

Info

Publication number
JP2010041467A
JP2010041467A JP2008202788A JP2008202788A JP2010041467A JP 2010041467 A JP2010041467 A JP 2010041467A JP 2008202788 A JP2008202788 A JP 2008202788A JP 2008202788 A JP2008202788 A JP 2008202788A JP 2010041467 A JP2010041467 A JP 2010041467A
Authority
JP
Japan
Prior art keywords
information
reproduction
playback
portable terminal
playback device
Prior art date
Legal status (The legal status is an assumption and is not a legal conclusion. Google has not performed a legal analysis and makes no representation as to the accuracy of the status listed.)
Granted
Application number
JP2008202788A
Other languages
English (en)
Other versions
JP5279396B2 (ja
Inventor
Tomoyuki Yamada
智之 山田
Toshiyuki Inoko
寿之 猪子
Current Assignee (The listed assignees may be inaccurate. Google has not performed a legal analysis and makes no representation or warranty as to the accuracy of the list.)
TEAM LAB Inc
Original Assignee
TEAM LAB Inc
Priority date (The priority date is an assumption and is not a legal conclusion. Google has not performed a legal analysis and makes no representation as to the accuracy of the date listed.)
Filing date
Publication date
Application filed by TEAM LAB Inc filed Critical TEAM LAB Inc
Priority to JP2008202788A priority Critical patent/JP5279396B2/ja
Publication of JP2010041467A publication Critical patent/JP2010041467A/ja
Application granted granted Critical
Publication of JP5279396B2 publication Critical patent/JP5279396B2/ja
Active legal-status Critical Current
Anticipated expiration legal-status Critical

Links

Images

Landscapes

  • Two-Way Televisions, Distribution Of Moving Picture Or The Like (AREA)
  • Information Transfer Between Computers (AREA)

Abstract

【課題】 携帯端末と接続されていないモニタに,顧客の嗜好性を反映したコンテンツを再生できるシステムを提供する。
【解決手段】 店頭ディスプレイや店内ディスプレイには,大型モニタなど(2)が設けられる。その表示装置のIDを携帯端末(3)が入手する。それを管理サーバ(4)へ送信するとともに,コンテンツを選択するための情報を送信する。そして,管理サーバは,コンテンツを記憶している放送サーバ(5)に対して,そのIDで特定される表示装置(2)へ,所定のコンテンツを送るように指示する。このようにすれば,携帯端末を用いて,店頭ディスプレイなどに希望するコンテンツを表示できることとなる。
【選択図】 図1

Description

本発明は,たとえば,携帯端末を利用して,店先などに設置してあるモニタに映像コンテンツを再生できる再生システムに関する。
携帯端末を利用したコンテンツ表示システムは知られている(たとえば,特開2007−249358号公報)。しかし,通常,従来のシステムは,携帯電話に設置されているモニタにコンテンツを表示するものである。このような表示システムは,持参した携帯端末に入手したコンテンツを出力するものである。この表示システムは,モニタが小画面になるという問題がある。また,この表示システムは,近くにいる者にモニタに出力されるコンテンツを用いてアピールするといった用い方をすることができない。
たとえば,喫茶店内にモニタを用意しておき,このモニタに携帯電話で指定したコンテンツを放映できるようにすれば,新しいコンテンツ表示システムを構築できる。
特開2007−249358号公報
そこで,本発明は,携帯端末を用いて,携帯端末と接続されていないモニタに携帯端末により指示されたコンテンツを出力できる再生システムや,顧客の嗜好性を反映したコンテンツを再生できる再生システムを提供することを目的とする。
本発明の基本概念は以下のとおりである。つまり,店頭ディスプレイや店内ディスプレイに大型モニタなどの再生装置(2)を設ける。そして,その再生装置はIDを有しており,そのIDを携帯端末(3)で入手できるようにされている。ある携帯端末が再生装置のIDを入手し,それを管理サーバ(4)へ送信するとともに,コンテンツを選択するための情報を送信する。そして,管理サーバは,コンテンツを記憶している放送サーバ(5)に対して,そのIDで特定される再生装置(2)へ,所定のコンテンツを送るように指示する。または,管理サーバは再生装置(2)へ再生情報を送信し,再生装置(2)が放送サーバ(5)に対し,再生情報や再生装置のIDを送信する。このようにすれば,携帯端末を用いて,店頭ディスプレイなどに希望するコンテンツを表示できることとなる。
具体的に説明すると,本発明の第1の側面にかかる再生システムは,以下の発明である。すなわち,再生装置と,携帯端末と,管理サーバと,放送サーバを用いた再生システムに関する。前記再生装置は,通信網を介して前記放送サーバから音又は映像に関する情報を受信し,受信した音又は映像を再生する装置であり,前記通信網を介して前記放送サーバから音又は映像に関する情報を受信する受信手段と,前記受信した音又は映像に関する情報を再生する再生手段と,前記再生情報および前記再生装置に関する情報を前記放送サーバへ送信する再生装置の送信手段と,を有する。
前記携帯端末は,前記再生装置の識別情報である再生装置IDを取得するID取得手段と,前記携帯端末に入力された情報を用いて,前記管理サーバ又は前記放送サーバにアクセスし,再生情報を得る再生情報取得手段と,前記携帯端末が取得した前記再生装置IDと前記再生情報を,前記通信網を介して前記管理サーバへ送信する携帯端末の送信手段と,を有する。また,前記再生情報は前記再生装置で再生する音又は映像を指定する情報である。
前記管理サーバは,前記携帯端末から送信された再生装置IDを記憶するID記憶手段と,前記携帯端末から送信された再生情報を記憶する再生情報記憶手段と,前記再生情報を,前記通信網を介して前記再生装置IDで特定される前記再生装置へ送信する管理サーバの送信手段と,を有する。
前記放送サーバは,前記再生装置が再生できる音又は映像情報を記憶する音又は映像記憶部と,前記再生装置の送信手段から送信された前記再生情報を受信する受信手段と,受信した前記再生情報にしたがって,前記音又は映像記憶部から,前記再生装置により再生される音又は映像情報を読み出す,音又は映像読み出し手段と,前記読み出した音又は映像情報を,前記通信網を介して前記再生装置へ送信する放送サーバの送信手段と,を有する。
前記携帯端末が,前記再生装置IDを取得し,前記管理サーバ又は前記放送サーバにアクセスして前記再生情報を取得して,前記再生装置ID及び前記再生情報を前記管理サーバへ送信する。前記管理サーバが,前記携帯端末から送信された前記再生装置ID及び前記再生情報を記憶し,前記再生装置へ向けて前記再生情報を送信する。前記再生装置は前記再生情報を受信し,前記放送サーバへ前記再生情報および前記再生装置に関する情報を送信する。前記放送サーバは,前記管理サーバから送信された前記再生情報および前記再生装置に関する情報を受信し,受信した前記再生情報にしたがって前記再生装置により再生される前記音又は映像情報を前記音又は映像記憶部から読み出し,受信した再生装置に関する情報を用いて前記再生装置へ前記音又は映像情報を送信する。前記再生装置は,通信網を介して前記放送サーバから音又は映像に関する情報を受信し,受信した音又は映像を再生する。
本発明の第1の側面の好ましいパターンは,前記管理サーバは,ある再生装置IDと関連して記憶した複数の再生情報を用いて,当該ある再生装置IDにおける候補情報を求めるための候補情報選択手段を有する。そして,前記候補情報とは,ある再生装置IDで特定される再生装置にいずれの携帯端末からの再生要求がない場合に再生する音又は映像情報の候補の再生情報である。また,前記候補情報選択手段は,前記複数の再生装置IDに関連付けて記憶された再生情報を用いて候補情報を求める。
本発明の第1の側面の好ましいパターンは,前記携帯端末は,携帯端末の識別情報である携帯端末IDを前記管理サーバへ送信する送信手段を有し,再生装置ID及び再生情報を管理サーバへ送信する際に,前記携帯端末IDも合わせて送信する。また管理サーバは,前記携帯端末IDを記憶する携帯端末ID記憶手段と,ある再生装置IDと関連して記憶した複数の再生情報および携帯端末IDと関連して記憶した複数の再生情報を用いて,当該ある再生装置IDにおける候補情報を求めるための候補情報選択手段を有し,前記候補情報とは,ある再生装置IDで特定される再生装置にいずれの携帯端末からの再生要求がない場合に再生する音又は映像情報の候補の再生情報であり,前記候補情報選択手段は,前記複数の再生装置IDに関連付けて記憶された再生情報を用いて候補情報を求めるとともに,前記再生装置IDに再生情報を提供した携帯端末の携帯端末IDを把握し,その携帯端末IDと関連して記憶した複数の再生情報を用いて当該ある再生装置IDにおける候補情報を求める。
また本発明の第2の側面にかかる再生システムは,以下の発明である。すなわち,再生装置と,携帯端末と,管理サーバと,放送サーバを用いた再生システムに関する。再生装置は,通信網を介して前記放送サーバから音又は映像に関する情報を受信し,受信した音又は映像を再生する装置であり,前記通信網を介して前記放送サーバから音又は映像に関する情報を受信する受信手段と,前記受信した音又は映像に関する情報を再生する再生手段と,を有する。
前記携帯端末は,前記再生装置の識別情報である再生装置IDを取得するID取得手段と,前記携帯端末に入力された情報を用いて,前記管理サーバ又は前記放送サーバにアクセスし,再生情報を得る再生情報取得手段と,前記携帯端末が取得した前記再生装置IDと前記再生情報を,前記通信網を介して前記管理サーバへ送信する携帯端末の送信手段と,を有する。そして,前記再生情報は前記再生装置で再生する音又は映像を指定する情報である。
前記管理サーバは,前記携帯端末から送信された再生装置IDを記憶するID記憶手段と,前記携帯端末から送信された再生情報を記憶する再生情報記憶手段と,前記再生情報を,前記通信網を介して前記放送サーバへ送信するとともに,前記再生装置IDで特定される再生装置に関する情報を,前記放送サーバへ送信する管理サーバの送信手段と,を有する。
前記放送サーバは,前記再生装置が再生できる音又は映像情報を記憶する音又は映像記憶部と,前記管理サーバの送信手段から送信された前記再生情報を受信する受信手段と,受信した前記再生情報にしたがって,前記音又は映像記憶部から,前記再生装置により再生される音又は映像情報を読み出す,音又は映像読み出し手段と,前記読み出した音又は映像情報を,前記通信網を介して前記再生装置へ送信する放送サーバの送信手段と,を有する。
前記携帯端末が,前記再生装置IDを取得し,前記管理サーバ又は前記放送サーバにアクセスして前記再生情報を取得して,前記再生装置ID及び前記再生情報を前記管理サーバへ送信する。前記管理サーバが,前記携帯端末から送信された前記再生装置ID及び前記再生情報を記憶し,前記放送サーバへ向けて前記再生情報及び前記再生装置IDで特定される再生装置に関する情報を送信する。前記放送サーバは,前記管理サーバから送信された前記再生情報および前記再生装置に関する情報を受信し,受信した前記再生情報にしたがって前記再生装置により再生される前記音又は映像情報を前記音又は映像記憶部から読み出し,受信した再生装置に関する情報を用いて前記再生装置へ前記音又は映像情報を送信する。前記再生装置は,通信網を介して前記放送サーバから音又は映像に関する情報を受信し,受信した音又は映像を再生する。
本発明の第2の側面の好ましいパターンは,前記管理サーバは,ある再生装置IDと関連して記憶した複数の再生情報を用いて,当該ある再生装置IDの候補情報を求めるものである。ここで,前記候補情報とは,携帯端末からの再生要求がない場合に再生する音又は映像情報の候補の再生情報である。
本発明の第2の側面の好ましいパターンは,前記携帯端末は,携帯端末の識別情報である携帯端末IDを前記管理サーバへ送信する送信手段を有し,再生装置ID及び再生情報を管理サーバへ送信する際に,前記携帯端末IDも合わせて送信する。前記管理サーバは,前記携帯端末IDを記憶する携帯端末ID記憶手段と,ある再生装置IDと関連して記憶した複数の再生情報および携帯端末IDと関連して記憶した複数の再生情報を用いて,当該ある再生装置IDにおける候補情報を求めるための候補情報選択手段を有する。そして,前記候補情報とは,ある再生装置IDで特定される再生装置にいずれの携帯端末からの再生要求がない場合に再生する音又は映像情報の候補の再生情報である。前記候補情報選択手段は,前記複数の再生装置IDに関連付けて記憶された再生情報を用いて候補情報を求めるとともに,前記再生装置IDに再生情報を提供した携帯端末の携帯端末IDを把握し,その携帯端末IDと関連して記憶した複数の再生情報を用いて当該ある再生装置IDにおける候補情報を求める。
本発明によれば,携帯端末を用いて,携帯端末と接続されていないモニタに携帯端末により指示されたコンテンツを出力できる再生システムや,顧客の嗜好性を反映したコンテンツを再生できる再生システムを提供できる。
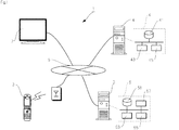
再生システム(1)は,再生装置(2)と,携帯端末(3)と,管理サーバ(4)と,放送サーバ(5)を用いたシステムに関する。
再生装置(2)は,通信網(6)を介して放送サーバから音又は映像に関する情報を受信し,受信した音又は映像を再生する装置である。再生装置の例は,モニタである。この再生装置は,店頭ディスプレイや,店内に設置されたモニタであってもよい。また,顧客が一定時間待つような箇所に設置されたモニタであってもよい。また,複数台のモニタが設置されている室内におけるモニタであってもよい。再生装置(2)は,コンピュータなどと接続されているものが好ましい。このような場合,再生装置(2)は,管理サーバから再生情報を受信する再生情報受信手段と,通信網を介して前記放送サーバから音又は映像に関する情報を受信する受信手段と,受信した音又は映像に関する情報を再生する再生手段と,再生情報及び前記再生装置の識別情報である再生装置IDを前記放送サーバへ送信する再生装置の送信手段とを有するものであってもよい。このような送受信手段や再生手段は,通常のコンピュータが備えるものであってもよい。
携帯端末(3)の例は,携帯電話,PDA,携帯型コンピュータ,アイフォーン(登録商標),ウェアラブルコンピュータ又はノート型パーソナルコンピュータである。携帯端末(3)は,ID取得手段(31),再生情報取得手段(33)および携帯端末の送信手段(35)を有する。
ID取得手段(31)は,再生装置の識別情報である再生装置IDを取得するための手段である。
再生情報取得手段(33)は,携帯端末に入力された情報を用いて,管理サーバ又は放送サーバにアクセスし,再生情報を得る手段である。再生情報取得手段は,ブラウザ機能を有するソフトウェアを用いたシステムにより実現できる。
携帯端末の送信手段(35)は,取得した再生装置ID及び再生情報を,通信網を介して管理サーバへ送信するための手段である。携帯端末の送信手段の例は,携帯端末のインターフェイスを含むシステムである。
携帯端末(3)は,上記の各手段以外にも,携帯端末として機能するために必要な各種手段を備えている。たとえば,携帯端末の受信手段を備えており,各種情報を受信できる。また,制御部,記憶部,演算部,入出力部を備えており,各種演算処理を行うことができるようにされている。
管理サーバ(4)は,ID記憶手段(41)と,再生情報記憶手段(43)と,管理サーバの送信手段(45)とを有する。図1において,管理サーバ(4)の内部構造は,符号4により指定される点線内で示されている。
ID記憶手段(41)は,携帯端末から送信された再生装置IDを記憶する手段である。ID記憶手段の例は,サーバ内の記憶装置である。記憶装置として,ハードディスク,フラッシュメモリ,DRAMがあげられる。管理サーバは,受信した再生装置IDに関する情報を,記憶装置の所定の領域に記憶する。
再生情報記憶手段(43)は,再生情報を記憶する手段である。再生情報記憶手段の例は,サーバ内の記憶装置である。記憶装置として,ハードディスク,フラッシュメモリ,DRAMがあげられる。管理サーバは,受信した再生情報を,記憶装置の所定の領域に記憶する。再生情報記憶手段として,再生情報と再生装置IDとを関連付けて記憶する手段を有するものが好ましい。
管理サーバの送信手段(45)は,再生情報と再生装置IDとを,通信網を介して放送サーバへ送信するための手段である。この送信手段の例は,携帯端末のインターフェイスを含むシステムである。管理サーバの送信手段は,たとえば,放送サーバのIPアドレス,再生情報及び再生装置IDを記憶部から読み出す手段と,読み出した再生情報及び再生装置IDをパケットのペイロード情報にして,管理サーバへ向けたヘッダを付して,通信網へ出力する手段とを有するものがあげられる。
管理サーバ(4)は,上記の各手段以外にも,サーバとして機能するために必要な各種手段を備えている。たとえば,サーバの受信手段を備えており,各種情報を受信できる。また,制御部,記憶部,演算部,入出力部を備えており,各種演算処理を行うことができるようにされている。
放送サーバ(5)は,音又は映像記憶部(51),受信手段(53),音又は映像読み出し手段(55),放送サーバの送信手段(57)と,を有する。図1において,放送サーバ(5)の内部構造は,符号5により指定される点線内で示されている。
音又は映像記憶部(51)は,再生装置が再生できる音又は映像情報を記憶する。音又は映像記憶部の例は,データベースである。このデータベースでは,音又は映像コンテンツが,識別IDと関連付けられて記憶されている。
受信手段(53)は,管理サーバの送信手段から送信された再生情報と再生装置IDとを受信する手段である。具体的には,放送サーバのインターフェイスを含むシステムがあげられる。
音又は映像読み出し手段(55)は,再生情報にしたがって,音又は映像記憶部から,再生装置により再生される音又は映像情報を読み出す手段である。たとえば,管理サーバに所定の情報が入力されると,記憶装置から音又は映像情報を読み出すための制御プログラムが起動される。そして,管理サーバに入力された,識別IDを用いて,この識別IDと関連して記憶されている音又は映像情報を読み出す。読み出した音又は映像情報は,メモリなどに一時的に記憶されてもよい。
放送サーバの送信手段(56)は,読み出した音又は映像情報を,通信網を介して再生装置IDにより特定される再生装置へ送信する手段である。放送サーバの送信手段は,たとえば,放送サーバのインターフェイスを含むシステムにより実現できる。
次に本システムの動作例を説明する。図2は,本発明の動作例を示すフローチャートである。なお,図中Sはステップ(工程)を示す。まず,携帯端末(3)が,再生装置IDを取得する(ステップ101)。たとえば,店内の所定の箇所に設けられたバーコードをカメラで撮影すると,再生装置IDを入手できるものがあげられる。また,たとえば,携帯端末に,所定の情報が入力された場合に,入力された情報を再生装置IDとして入手することで再生装置IDを取得してもよい。たとえば,携帯端末を操作して所定の表示画面とする。そして,テンキーを用いて携帯端末内に再生装置IDに関する情報が入力される。すると,携帯端末は,入力された情報を,再生装置IDとして取得する。なお,取得した再生装置IDは,バッファメモリなどに一時的に記憶されてもよい。
携帯端末(3)は,管理サーバ(4)又は放送サーバ(5)にアクセスして再生情報を取得する(ステップ102)。携帯端末におけるプログラムを立ち上げ,携帯端末の通信手段を用いて管理サーバ又は放送サーバへアクセスする。アクセスしたサーバから得られる表示情報に従った情報が携帯端末へ入力されるので,この入力された情報を用いて再生情報を取得すればよい。再生情報は,再生装置で再生する音又は映像を指定する情報である。再生情報の例は,放送サーバにおいて記憶されているコンテンツを指定するID,パスワード,管理番号があげられる。また,再生情報の別の例は,映画のタイトル,書物の題名,楽曲があげられる。得られた再生情報は通信網を介して管理サーバへ送信されてもよい。また,再生情報が抽出される際に,再生情報が管理サーバへ送信されたとみなしてもよい。そして,再生情報は,管理サーバにおいて記憶されてもよい。携帯端末への入力情報については,ブラウザ上に表示される情報だけでなく,携帯端末に搭載されたカメラによって受信される画像情報を検索クエリーとして入力としてもよいし,携帯端末に内蔵されている三軸加速度センサー,磁気センサー,GPS等により取得された物理的な位置,現在時刻をクエリーとしてもよい。
携帯端末は,再生装置ID及び再生情報を,管理サーバへ送信する(ステップ103)。送信工程の例は,管理サーバのIPアドレス,及び再生装置IDを記憶部から読み出して,読み出した再生装置ID及び再生情報をパケットのペイロード情報にし,このペイロードに管理サーバへ向けたヘッダを付して,通信網(6)へ出力するものである。なお,再生情報取得手段が,管理サーバにおいて再生情報を抽出する際に,所定の情報を送信することで再生情報を抽出できる場合は,この所定の情報を送信することで再生情報を送信したとみなしてもよい。
そして,管理サーバ(4)が,携帯端末から送信された再生装置ID及び再生情報を受信し,記憶する(ステップ201)。この際,再生情報と再生装置IDとを関連付けて記憶するものが好ましい。これにより再生装置IDと再生情報とを組み合わせて管理でき,処理できることとなる。具体的には,管理サーバのデータベースに,再生装置IDと,再生情報とを関連付けて記憶すればよい。そして,この管理サーバは,再生装置IDごとに,再生情報を蓄積できるものが好ましい。このようにすることで,ある再生装置IDにおいて再生される情報の傾向を把握できる。
つまり,好ましい管理サーバ(4)の例は,ある再生装置IDと関連して記憶した複数の再生情報を用いて,候補情報を求めるものである。ここで,候補情報とは,この再生装置IDに,携帯端末からの再生要求がない場合に再生する音又は映像情報の候補の再生情報である。そして,管理サーバ(4)の好ましい例は,複数の再生情報のうち同じタイトルが多く含まれるものを優先的に抽出することで候補情報を求めるものである。このようにすれば,ある再生装置でリクエストが多いコンテンツを,再生要求がない場合に再生させることができることとなる。管理サーバは任意の計時手段を有している。そして,たとえば,ある再生装置IDについて所定時間リクエストがない場合,ある再生装置IDを特定した過去のリクエストを集計する。そして,たとえば,これまで選択されたことの多い再生情報を1個〜数個選択する。その上で,ある再生装置についてリクエストがない場合には,選択した再生情報を1個から数個選択し,放送サーバにこの再生装置IDとともに送信する。すると,放送サーバは,再生装置IDと再生情報(候補情報)を用いて,所定のコンテンツを読み出し,再生装置へと送信する。このようにすることで,ある再生装置に集まる顧客の嗜好性に沿ったコンテンツを表示できることとなる。
管理サーバ(4)は,放送サーバ(5)へ向けて再生装置ID及び再生情報を送信する(ステップ202)。管理サーバは,放送サーバのアドレスを記憶している。そして,再生装置ID及び再生情報を送信する際には,記憶している放送サーバのアドレスを読み出す。そして,読み出したアドレス情報をヘッダ部分に含ませ,再生装置IDと再生情報とを組み合わせたパケットとして通信網(6)へ送信する。このようにして,再生装置IDと再生情報とが,放送サーバ(5)へと送信される。
放送サーバ(5)は,管理サーバから送信された再生装置ID及び再生情報を受信する(ステップ301)。放送サーバは,たとえば,受信したパケットを分析する装置を有している。そして,受信したパケットからヘッダを分離し,ヘッダが自らを指定するアドレスを含む場合,受信したパケットが自らに当てられたものと判断する。この場合,受信したパケットのペイロード部分を抽出し,放送サーバ内に入力する。
放送サーバ(5)は,受信した再生情報にしたがって,再生装置により再生される音又は映像情報を音又は映像記憶部から読み出す(ステップ302)。たとえば,放送サーバ(5)は,データベースが構成されており,識別IDと関連付けて,コンテンツが記憶されている。そこで,再生情報が識別IDである場合は,この識別IDを用いて,識別IDと関連付けて記憶されている音又は映像情報を読み出す。また,再生情報が,映画のタイトルである場合は,この映画のタイトルと関連付けて記憶されている映画の音声情報と映像情報とを読み出す。このようにして,携帯端末からリクエストがあったコンテンツを読み出すことができる。
放送サーバ(5)は,再生装置IDにより特定される再生装置へ,音又は映像情報を送信する(ステップ303)。送信の方法は,これまで説明したものと同様である。
すると,再生装置(2)は,音又は映像情報を受信する(ステップ401)。そして,受信した映像情報をフレームバッファに記憶し,映像を再生する。また,受信した音をバッファに記憶し,音を再生する。このようにして,再生装置において,携帯端末で指定した音又は映像情報を,再生装置(2)に再生させる(ステップ402)。
次に,本発明の好ましいパターン例について説明する。この例は,管理サーバが,上記の構成に加え,さらに,ある再生装置IDと関連して記憶した複数の再生情報を用いて,当該ある再生装置IDにおける候補情報を求めるための候補情報選択手段を有する。ここで「候補情報」とは,ある再生装置IDで特定される再生装置にいずれの携帯端末からの再生要求がない場合に再生する音又は映像情報の候補の再生情報である。つまり,店頭モニタなどについて,携帯端末から再生要求がない場合,店頭モニタをうまく活用できない。このため,過去のデータを利用することで,店頭モニタにおいて表示させる候補をあげることができる。具体的には,管理サーバは,再生装置IDに関連して,複数の再生情報を記憶している。このさい記憶した再生情報に紐付けられて記憶されている再生情報を候補情報としてあげればよい。なお,複数の再生情報のうち記憶された回数の多いものを候補情報としてあげてもよい。また,再生情報に関連する再生情報を,ワード検索などを用いて抽出し,候補情報としてもよい。このような候補情報選択手段を有するので,再生要求がない場合であっても,ある再生装置を見るものに興味が深い情報を表示できることとなる。なお,再生装置で再生されるコンテンツは,あらかじめ用意された映像(環境映像など)やムービークリップなどであってもかまわない。また,1つのディスプレイ上の画面を複数に分割し,それぞれの分割画面に異なる映像が再生されるものであっても良い。
次に,本発明の好ましいパターン例について説明する。この例では,携帯端末が,携帯端末の識別情報である携帯端末IDを前記管理サーバへ送信する送信手段を有する。そして,携帯端末が,再生装置ID及び再生情報を管理サーバへ送信する際に,携帯端末IDも合わせて送信する。
一方,管理サーバは,携帯端末IDを記憶する携帯端末ID記憶手段と,ある再生装置IDと関連して記憶した複数の再生情報および携帯端末IDと関連して記憶した複数の再生情報を用いて,当該ある再生装置IDにおける候補情報を求めるための候補情報選択手段をさらに有する。
候補情報選択手段は,複数の再生装置IDに関連付けて記憶された再生情報を用いて候補情報を求めるとともに,再生装置IDに再生情報を提供した携帯端末の携帯端末IDを把握し,その携帯端末IDと関連して記憶した複数の再生情報を用いて当該ある再生装置IDにおける候補情報を求める。複数の再生装置IDに関連付けて記憶された再生情報を用いて候補情報を求める方法は,さきに説明したとおりである。これと同様の方法を用いて,携帯端末IDと関連して記憶した複数の再生情報を用いて当該ある再生装置IDにおける候補情報を求めればよい。
次に,上記とは別の再生システムについて説明する。この再生システムは,要するに,管理サーバが取得した再生情報を,再生装置が入手し,再生装置が放送サーバに対して再生情報を送信するものに関する。よって,先に説明した再生システムの構成を適宜利用することができる。
具体的には,この再生システムは,再生装置と,携帯端末と,管理サーバと,放送サーバを用いた再生システムに関する。
再生装置は,通信網を介して前記放送サーバから音又は映像に関する情報を受信し,受信した音又は映像を再生する装置である。そして,管理サーバから再生情報を受信する再生情報受信手段と,通信網を介して前記放送サーバから音又は映像に関する情報を受信する受信手段と,受信した音又は映像に関する情報を再生する再生手段と,再生情報及び前記再生装置の識別情報である再生装置IDを前記放送サーバへ送信する再生装置の送信手段とを有する。受信手段は,通常のコンピュータが有している受信装置を適宜利用すればよく,再生手段もモニタやスピーカなどが有するものを適宜用いればよい。
携帯端末は,先に説明したものと同様である。
管理サーバは,携帯端末から送信された再生装置IDを記憶するID記憶手段と,携帯端末から送信された再生情報を記憶する再生情報記憶手段と,再生情報を,通信網を介して再生装置へ送信する管理サーバの送信手段とを有する。
すなわち,この側面にかかる再生装置は,再生情報を,通信網を介して放送装置へ送信する。再生情報を,通信網を介して再生装置へ送信する方法は公知である。この際,再生装置を特定する情報もあわせて,放送サーバへ送信してもよい。
放送サーバは,再生装置が再生できる音又は映像情報を記憶する音又は映像記憶部と,再生装置の送信手段から送信された前記再生情報と前記再生装置IDとを受信する受信手段と,受信した前記再生情報にしたがって,音又は映像記憶部から再生装置により再生される音又は映像情報を読み出す,音又は映像読み出し手段と,読み出した音又は映像情報を,通信網を介して再生装置IDにより特定される再生装置へ送信する放送サーバの送信手段と,を有する。この構成も実質的には先に説明したものと同様である。
図3は,本発明の動作例を示すフローチャートである。なお,図中Sはステップ(工程)を示す。まず,携帯端末(3)が,再生装置IDを取得する(ステップ101)。たとえば,店内の所定の箇所に設けられたバーコードをカメラで撮影すると,再生装置IDを入手できるものがあげられる。また,たとえば,携帯端末に,所定の情報が入力された場合に,入力された情報を再生装置IDとして入手することで再生装置IDを取得してもよい。たとえば,携帯端末を操作して所定の表示画面とする。そして,テンキーを用いて携帯端末内に再生装置IDに関する情報が入力される。すると,携帯端末は,入力された情報を,再生装置IDとして取得する。なお,取得した再生装置IDは,バッファメモリなどに一時的に記憶されてもよい。
携帯端末(3)は,管理サーバ(4)又は放送サーバ(5)にアクセスして再生情報を取得する(ステップ102)。携帯端末におけるプログラムを立ち上げ,携帯端末の通信手段を用いて管理サーバ又は放送サーバへアクセスする。アクセスしたサーバから得られる表示情報に従った情報が携帯端末へ入力されるので,この入力された情報を用いて再生情報を取得すればよい。再生情報は,再生装置で再生する音又は映像を指定する情報である。再生情報の例は,放送サーバにおいて記憶されているコンテンツを指定するID,パスワード,管理番号があげられる。また,再生情報の別の例は,映画のタイトル,書物の題名,楽曲があげられる。得られた再生情報は通信網を介して管理サーバへ送信されてもよい。また,再生情報が抽出される際に,再生情報が管理サーバへ送信されたとみなしてもよい。そして,再生情報は,管理サーバにおいて記憶されてもよい。
携帯端末は,再生装置ID及び再生情報を,管理サーバへ送信する(ステップ103)。送信工程の例は,管理サーバのIPアドレス,及び再生装置IDを記憶部から読み出して,読み出した再生装置ID及び再生情報をパケットのペイロード情報にし,このペイロードに管理サーバへ向けたヘッダを付して,通信網(6)へ出力するものである。なお,再生情報取得手段が,管理サーバにおいて再生情報を抽出する際に,所定の情報を送信することで再生情報を抽出できる場合は,この所定の情報を送信することで再生情報を送信したとみなしてもよい。
そして,管理サーバ(4)が,携帯端末から送信された再生装置ID及び再生情報を受信し,記憶する(ステップ201)。この際,再生情報と再生装置IDとを関連付けて記憶するものが好ましい。これにより再生装置IDと再生情報とを組み合わせて管理でき,処理できることとなる。具体的には,管理サーバのデータベースに,再生装置IDと,再生情報とを関連付けて記憶すればよい。そして,この管理サーバは,再生装置IDごとに,再生情報を蓄積できるものが好ましい。このようにすることで,ある再生装置IDにおいて再生される情報の傾向を把握できる。
つまり,好ましい管理サーバ(4)の例は,ある再生装置IDと関連して記憶した複数の再生情報を用いて,候補情報を求めるものである。ここで,候補情報とは,この再生装置IDに,携帯端末からの再生要求がない場合に再生する音又は映像情報の候補の再生情報である。そして,管理サーバ(4)の好ましい例は,複数の再生情報のうち同じタイトルが多く含まれるものを優先的に抽出することで候補情報を求めるものである。このようにすれば,ある再生装置でリクエストが多いコンテンツを,再生要求がない場合に再生させることができることとなる。管理サーバは任意の計時手段を有している。そして,たとえば,ある再生装置IDについて所定時間リクエストがない場合,ある再生装置IDを特定した過去のリクエストを集計する。そして,たとえば,これまで選択されたことの多い再生情報を1個〜数個選択する。その上で,ある再生装置についてリクエストがない場合には,選択した再生情報を1個から数個選択し,放送サーバにこの再生装置IDとともに送信する。すると,放送サーバは,再生装置IDと再生情報(候補情報)を用いて,所定のコンテンツを読み出し,再生装置へと送信する。このようにすることで,ある再生装置に集まる顧客の嗜好性に沿ったコンテンツを表示できることとなる。
管理サーバ(4)は,再生装置(2)へ向けて再生情報を送信する(ステップ202’)。管理サーバは,再生装置のアドレスを記憶している。そして,再生情報を送信する際には,記憶している再生装置のアドレスを読み出す。なお,再生装置IDにそのようなアドレスが含まれていてもよい。そして,読み出したアドレス情報をヘッダ部分に含ませ,再生情報とを組み合わせたパケットとして通信網(6)へ送信する。このようにして,再生情報が,再生装置(2)へと送信される。
再生装置(2)は,再生情報を受信する(ステップ203’)。そして,再生装置(2)は,放送サーバ(5)へ向けて再生情報及び再生装置に関する情報を送信する(ステップ204’)。
放送サーバ(5)は,再生装置から送信された再生装置に関する情報及び再生情報を受信する(ステップ301)。放送サーバは,たとえば,受信したパケットを分析する装置を有している。そして,受信したパケットからヘッダを分離し,ヘッダが自らを指定するアドレスを含む場合,受信したパケットが自らに当てられたものと判断する。この場合,受信したパケットのペイロード部分を抽出し,放送サーバ内に入力する。
放送サーバ(5)は,受信した再生情報にしたがって,再生装置により再生される音又は映像情報を音又は映像記憶部から読み出す(ステップ302)。たとえば,放送サーバ(5)は,データベースが構成されており,識別IDと関連付けて,コンテンツが記憶されている。そこで,再生情報が識別IDである場合は,この識別IDを用いて,識別IDと関連付けて記憶されている音又は映像情報を読み出す。また,再生情報が,映画のタイトルである場合は,この映画のタイトルと関連付けて記憶されている映画の音声情報と映像情報とを読み出す。このようにして,携帯端末からリクエストがあったコンテンツを読み出すことができる。
放送サーバ(5)は,再生装置に関する情報により特定される再生装置へ,音又は映像情報を送信する(ステップ303)。送信の方法は,これまで説明したものと同様である。
すると,再生装置(2)は,音又は映像情報を受信する(ステップ401)。そして,受信した映像情報をフレームバッファに記憶し,映像を再生する。また,受信した音をバッファに記憶し,音を再生する。このようにして,再生装置において,携帯端末で指定した音又は映像情報を,再生装置(2)に再生させる(ステップ402)。
次に,本発明の好ましいパターン例について説明する。この例は,管理サーバが,上記の構成に加え,さらに,ある再生装置IDと関連して記憶した複数の再生情報を用いて,当該ある再生装置IDにおける候補情報を求めるための候補情報選択手段を有する。ここで「候補情報」とは,ある再生装置IDで特定される再生装置にいずれの携帯端末からの再生要求がない場合に再生する音又は映像情報の候補の再生情報である。つまり,店頭モニタなどについて,携帯端末から再生要求がない場合,店頭モニタをうまく活用できない。このため,過去のデータを利用することで,店頭モニタにおいて表示させる候補をあげることができる。具体的には,管理サーバは,再生装置IDに関連して,複数の再生情報を記憶している。このさい記憶した再生情報に紐付けられて記憶されている再生情報を候補情報としてあげればよい。なお,複数の再生情報のうち記憶された回数の多いものを候補情報としてあげてもよい。また,再生情報に関連する再生情報を,ワード検索などを用いて抽出し,候補情報としてもよい。このような候補情報選択手段を有するので,再生要求がない場合であっても,ある再生装置を見るものに興味が深い情報を表示できることとなる。
次に,本発明の好ましいパターン例について説明する。この例では,携帯端末が,携帯端末の識別情報である携帯端末IDを前記管理サーバへ送信する送信手段を有する。そして,携帯端末が,再生装置ID及び再生情報を管理サーバへ送信する際に,携帯端末IDも合わせて送信する。
一方,管理サーバは,携帯端末IDを記憶する携帯端末ID記憶手段と,ある再生装置IDと関連して記憶した複数の再生情報および携帯端末IDと関連して記憶した複数の再生情報を用いて,当該ある再生装置IDにおける候補情報を求めるための候補情報選択手段をさらに有する。
候補情報選択手段は,複数の再生装置IDに関連付けて記憶された再生情報を用いて候補情報を求めるとともに,再生装置IDに再生情報を提供した携帯端末の携帯端末IDを把握し,その携帯端末IDと関連して記憶した複数の再生情報を用いて当該ある再生装置IDにおける候補情報を求める。複数の再生装置IDに関連付けて記憶された再生情報を用いて候補情報を求める方法は,さきに説明したとおりである。これと同様の方法を用いて,携帯端末IDと関連して記憶した複数の再生情報を用いて当該ある再生装置IDにおける候補情報を求めればよい。
以下,実施例を用いて本発明の例を説明する。本発明は,以下の実施例に限定されず,当業者に自明な範囲で適宜修正を行うことができる。
図4は,携帯端末Aが,コンテンツ指定情報を用いて,放送サーバにおいて検索した様子を示す図である。図4に示されるように,携帯端末Aが,「ファミコン」(登録商標)というコンテンツ指定情報を用いて,放送サーバであるユーチューブ(登録商標)において検索する。
図5は,携帯端末Aが,放送サーバからコンテンツ指定情報に対応するムービーリストを取得した様子を示す図である。図5に示されるように,携帯端末Aは,ユーチューブ(登録商標)から「ファミコン」(登録商標)に対応するムービーリストを取得する。この通信は,携帯端末による一般的な通信太陽であってもよい。
図6は,携帯端末が近くにある再生装置の再生装置IDを取得する様子を示す図である。図6に示されるように,携帯端末Aが近くにある再生装置ロの再生装置ID「ロ」を取得する。この工程は,図4または図5の工程の前に行われてもよいし,図4と図5の工程との間に行われてもよく,図4及び図5の工程の後に行われてもよい。
図7は,携帯端末Aは,放送サーバから取得したコンテンツ指定情報を管理サーバに送信する様子を示す図である。その際に,コンテンツ指定情報である「ファミコン」(登録商標),再生装置ID「ロ」及び放送サーバであるユーチューブ(登録商標)に関する情報もあわせて送信する。図7に示されるように,携帯端末Aは,放送サーバであるユーチューブ(登録商標)から取得したムービーリストから再生情報である「5LuNqq3UFvw」を選択して管理サーバに送信する。その際に,コンテンツ指定情報である「ファミコン」(登録商標),再生装置ID「ロ」及び放送サーバであるユーチューブ(登録商標)に関する情報もあわせて送信する。
図8は,管理サーバが,再生装置ロに放送サーバを特定する情報,再生情報(コンテンツ特定情報),及びコンテンツ指定情報を送信する様子を示す図である。図8に示されるように,管理サーバは,再生装置ロに,放送サーバである「ユーチューブ」(登録商標)を特定する情報,その放送サーバにおける再生情報である「5LuNqq3UFvw」,及びコンテンツ指定情報である「ファミコン」(登録商標)を送信する。
図9は,再生装置が,放送サーバにコンテンツ特定情報を送信し,指定した動画を配信するように指示する様子を示す図である。図9に示されるように,再生装置ロは,管理サーバから送信された情報を用いて,放送サーバである「ユーチューブ」(登録商標)にアクセスし,コンテンツ特定情報である「5LuNqq3UFvw」を用いて,指定した動画を配信するように指示する。すると,放送サーバは,コンテンツ特定情報「5LuNqq3UFvw」を用いて,動画情報を検索し,読み出した動画を再生装置ロへ向けて送信する。再生装置ロは,受信した動画を再生する。
図10は,管理サーバにおける紐付けの例を示す図である。図10に示されるように,管理サーバーは上記のような情報を蓄積することができるため、多彩な候補情報を提供できる。
再生装置「イ」が設置してある場所ではサッカーに関連する動画が放送されておりサッカー好きが集まる場所であると推測される。よって,サッカーに関する再生情報を候補情報とすることができる。
再生装置「ロ」が設置してある場所ではコマーシャル、特にファミコン(登録商標)に関係するコマーシャルやゲームに関する動画を放送する。再生装置「ハ」が設置してある場所ではお笑いに関係する動画を候補情報とする。また、携帯端末ID
Bで特定される携帯端末は女性歌手Cだけ検索しているが、場所によって表示するコンテンツを使い分けていることがわかる。このように蓄積された情報から得られたコンテンツのカテゴリによって再生情報の候補となる動画を管理サーバは携帯端末IDもしくは再生装置IDそれぞれに推薦できる。また,例えば、再生装置IDと携帯端末IDを用いることによって携帯端末Bが再生装置IDロで動画を閲覧した直後に女性歌手Cの歌が挿入されたCMを候補情報とすることができる。またロでは全体としてファミコン(登録商標)に関するCMが流れているため例えば「ファミコンCM集」を候補情報とすることができるようになる。
本発明は,ディスプレイ産業や情報通信の分野で利用されうる。
図1は,本発明のシステム例を説明するブロック図である。 図2は,本発明の動作例を説明するフローチャートである。 図3は,本発明の上記とは別の動作例を説明するフローチャートである。 図4は,携帯端末Aが,コンテンツ指定情報を用いて,放送サーバにおいて検索した様子を示す図である。 図5は,携帯端末Aが,放送サーバからコンテンツ指定情報に対応するムービーリストを取得した様子を示す図である。 図6は,携帯端末が近くにある再生装置の再生装置IDを取得する様子を示す図である。 図7は,携帯端末Aは,放送サーバから取得したコンテンツ指定情報を管理サーバに送信する様子を示す図である。 図8は,管理サーバが,再生装置ロに放送サーバを特定する情報,放送サーバにおけるコンテンツ特定情報,及びコンテンツ指定情報を送信する様子を示す図である。 図9は,再生装置が,放送サーバにコンテンツ特定情報を送信し,指定した動画を配信するように指示する様子を示す図である。 図10は,管理サーバにおける紐付けの例を示す図である。
符号の説明
1 再生システム;2 再生装置;3 携帯端末; 4 管理サーバ;5 放送サーバ

Claims (6)

  1. 再生装置と,携帯端末と,管理サーバと,放送サーバを用いた再生システムであって,

    前記再生装置は,
    通信網を介して前記放送サーバから音又は映像に関する情報を受信し,受信した音又は映像を再生する装置であり,
    前記通信網を介して前記放送サーバから音又は映像に関する情報を受信する受信手段と,
    前記受信した音又は映像に関する情報を再生する再生手段と,
    前記再生情報および前記再生装置に関する情報を前記放送サーバへ送信する再生装置の送信手段と,
    を有し,

    前記携帯端末は,
    前記再生装置の識別情報である再生装置IDを取得するID取得手段と,
    前記携帯端末に入力された情報を用いて,前記管理サーバ又は前記放送サーバにアクセスし,再生情報を得る再生情報取得手段と,
    前記携帯端末が取得した前記再生装置IDと前記再生情報を,前記通信網を介して前記管理サーバへ送信する携帯端末の送信手段と,を有し,
    前記再生情報は前記再生装置で再生する音又は映像を指定する情報であり,

    前記管理サーバは,
    前記携帯端末から送信された再生装置IDを記憶するID記憶手段と,
    前記携帯端末から送信された再生情報を記憶する再生情報記憶手段と,
    前記再生情報を,前記通信網を介して前記再生装置IDで特定される前記再生装置へ送信する管理サーバの送信手段と,を有し,

    前記放送サーバは,
    前記再生装置が再生できる音又は映像情報を記憶する音又は映像記憶部と,
    前記再生装置の送信手段から送信された前記再生情報を受信する受信手段と,
    受信した前記再生情報にしたがって,前記音又は映像記憶部から,前記再生装置により再生される音又は映像情報を読み出す,音又は映像読み出し手段と,
    前記読み出した音又は映像情報を,前記通信網を介して前記再生装置へ送信する放送サーバの送信手段と,を有し,

    前記携帯端末が,前記再生装置IDを取得し,前記管理サーバ又は前記放送サーバにアクセスして前記再生情報を取得して,前記再生装置ID及び前記再生情報を前記管理サーバへ送信し,

    前記管理サーバが,前記携帯端末から送信された前記再生装置ID及び前記再生情報を記憶し,前記再生装置へ向けて前記再生情報を送信し,

    前記再生装置は前記再生情報を受信し,前記放送サーバへ前記再生情報および前記再生装置に関する情報を送信し,

    前記放送サーバは,前記管理サーバから送信された前記再生情報および前記再生装置に関する情報を受信し,受信した前記再生情報にしたがって前記再生装置により再生される前記音又は映像情報を前記音又は映像記憶部から読み出し,受信した再生装置に関する情報を用いて前記再生装置へ前記音又は映像情報を送信し,

    前記再生装置は,通信網を介して前記放送サーバから音又は映像に関する情報を受信し,受信した音又は映像を再生する,

    再生システム。
  2. 前記管理サーバは,
    ある再生装置IDと関連して記憶した複数の再生情報を用いて,当該ある再生装置IDにおける候補情報を求めるための候補情報選択手段を有し,
    前記候補情報とは,ある再生装置IDで特定される再生装置にいずれの携帯端末からの再生要求がない場合に再生する音又は映像情報の候補の再生情報であり,

    前記候補情報選択手段は,
    前記複数の再生装置IDに関連付けて記憶された再生情報を用いて候補情報を求める,
    請求項1に記載の再生システム。
  3. 前記携帯端末は,
    携帯端末の識別情報である携帯端末IDを前記管理サーバへ送信する送信手段を有し,
    再生装置ID及び再生情報を管理サーバへ送信する際に,前記携帯端末IDも合わせて送信し,

    前記管理サーバは,
    前記携帯端末IDを記憶する携帯端末ID記憶手段と,
    ある再生装置IDと関連して記憶した複数の再生情報および携帯端末IDと関連して記憶した複数の再生情報を用いて,当該ある再生装置IDにおける候補情報を求めるための候補情報選択手段を有し,
    前記候補情報とは,ある再生装置IDで特定される再生装置にいずれの携帯端末からの再生要求がない場合に再生する音又は映像情報の候補の再生情報であり,

    前記候補情報選択手段は,
    前記複数の再生装置IDに関連付けて記憶された再生情報を用いて候補情報を求めるとともに,前記再生装置IDに再生情報を提供した携帯端末の携帯端末IDを把握し,その携帯端末IDと関連して記憶した複数の再生情報を用いて当該ある再生装置IDにおける候補情報を求める,

    請求項1に記載の再生システム。
  4. 再生装置と,携帯端末と,管理サーバと,放送サーバを用いた再生システムであって,

    前記再生装置は,
    通信網を介して前記放送サーバから音又は映像に関する情報を受信し,受信した音又は映像を再生する装置であり,
    前記通信網を介して前記放送サーバから音又は映像に関する情報を受信する受信手段と,
    前記受信した音又は映像に関する情報を再生する再生手段と,
    を有し,

    前記携帯端末は,
    前記再生装置の識別情報である再生装置IDを取得するID取得手段と,
    前記携帯端末に入力された情報を用いて,前記管理サーバ又は前記放送サーバにアクセスし,再生情報を得る再生情報取得手段と,
    前記携帯端末が取得した前記再生装置IDと前記再生情報を,前記通信網を介して前記管理サーバへ送信する携帯端末の送信手段と,を有し,
    前記再生情報は前記再生装置で再生する音又は映像を指定する情報であり,

    前記管理サーバは,
    前記携帯端末から送信された再生装置IDを記憶するID記憶手段と,
    前記携帯端末から送信された再生情報を記憶する再生情報記憶手段と,
    前記再生情報を,前記通信網を介して前記放送サーバへ送信するとともに,前記再生装置IDで特定される再生装置に関する情報を,前記放送サーバへ送信する管理サーバの送信手段と,を有し,

    前記放送サーバは,
    前記再生装置が再生できる音又は映像情報を記憶する音又は映像記憶部と,
    前記管理サーバの送信手段から送信された前記再生情報を受信する受信手段と,
    受信した前記再生情報にしたがって,前記音又は映像記憶部から,前記再生装置により再生される音又は映像情報を読み出す,音又は映像読み出し手段と,
    前記読み出した音又は映像情報を,前記通信網を介して前記再生装置へ送信する放送サーバの送信手段と,を有し,

    前記携帯端末が,前記再生装置IDを取得し,前記管理サーバ又は前記放送サーバにアクセスして前記再生情報を取得して,前記再生装置ID及び前記再生情報を前記管理サーバへ送信し,

    前記管理サーバが,前記携帯端末から送信された前記再生装置ID及び前記再生情報を記憶し,前記放送サーバへ向けて前記再生情報及び前記再生装置IDで特定される再生装置に関する情報を送信し,

    前記放送サーバは,前記管理サーバから送信された前記再生情報および前記再生装置に関する情報を受信し,受信した前記再生情報にしたがって前記再生装置により再生される前記音又は映像情報を前記音又は映像記憶部から読み出し,受信した再生装置に関する情報を用いて前記再生装置へ前記音又は映像情報を送信し,

    前記再生装置は,通信網を介して前記放送サーバから音又は映像に関する情報を受信し,受信した音又は映像を再生する,

    再生システム。
  5. 前記管理サーバは,
    ある再生装置IDと関連して記憶した複数の再生情報を用いて,当該ある再生装置IDの候補情報を求めるものであり,
    前記候補情報とは,携帯端末からの再生要求がない場合に再生する音又は映像情報の候補の再生情報である,
    請求項4に記載の再生システム。
  6. 前記携帯端末は,
    携帯端末の識別情報である携帯端末IDを前記管理サーバへ送信する送信手段を有し,
    再生装置ID及び再生情報を管理サーバへ送信する際に,前記携帯端末IDも合わせて送信し,

    前記管理サーバは,
    前記携帯端末IDを記憶する携帯端末ID記憶手段と,
    ある再生装置IDと関連して記憶した複数の再生情報および携帯端末IDと関連して記憶した複数の再生情報を用いて,当該ある再生装置IDにおける候補情報を求めるための候補情報選択手段を有し,
    前記候補情報とは,ある再生装置IDで特定される再生装置にいずれの携帯端末からの再生要求がない場合に再生する音又は映像情報の候補の再生情報であり,

    前記候補情報選択手段は,
    前記複数の再生装置IDに関連付けて記憶された再生情報を用いて候補情報を求めるとともに,前記再生装置IDに再生情報を提供した携帯端末の携帯端末IDを把握し,その携帯端末IDと関連して記憶した複数の再生情報を用いて当該ある再生装置IDにおける候補情報を求める,

    請求項4に記載の再生システム。
JP2008202788A 2008-08-06 2008-08-06 再生システム Active JP5279396B2 (ja)

Priority Applications (1)

Application Number Priority Date Filing Date Title
JP2008202788A JP5279396B2 (ja) 2008-08-06 2008-08-06 再生システム

Applications Claiming Priority (1)

Application Number Priority Date Filing Date Title
JP2008202788A JP5279396B2 (ja) 2008-08-06 2008-08-06 再生システム

Publications (2)

Publication Number Publication Date
JP2010041467A true JP2010041467A (ja) 2010-02-18
JP5279396B2 JP5279396B2 (ja) 2013-09-04

Family

ID=42013523

Family Applications (1)

Application Number Title Priority Date Filing Date
JP2008202788A Active JP5279396B2 (ja) 2008-08-06 2008-08-06 再生システム

Country Status (1)

Country Link
JP (1) JP5279396B2 (ja)

Cited By (3)

* Cited by examiner, † Cited by third party
Publication number Priority date Publication date Assignee Title
JP2011223506A (ja) * 2010-04-14 2011-11-04 Kddi Corp 表示システム、表示方法およびプログラム
WO2013172077A1 (ja) * 2012-05-17 2013-11-21 日立コンシューマエレクトロニクス株式会社 コンテンツ配信制御プログラム、コンテンツ配信制御装置、コンテンツ配信装置及びコンテンツ配信システム
JP2017016561A (ja) * 2015-07-06 2017-01-19 株式会社リコー 情報処理装置、情報提供システム、情報提供方法、及びプログラム

Citations (1)

* Cited by examiner, † Cited by third party
Publication number Priority date Publication date Assignee Title
JP2008021297A (ja) * 2006-06-12 2008-01-31 Sharp Corp コンテンツ配信システム、及び、携帯端末

Patent Citations (1)

* Cited by examiner, † Cited by third party
Publication number Priority date Publication date Assignee Title
JP2008021297A (ja) * 2006-06-12 2008-01-31 Sharp Corp コンテンツ配信システム、及び、携帯端末

Cited By (4)

* Cited by examiner, † Cited by third party
Publication number Priority date Publication date Assignee Title
JP2011223506A (ja) * 2010-04-14 2011-11-04 Kddi Corp 表示システム、表示方法およびプログラム
WO2013172077A1 (ja) * 2012-05-17 2013-11-21 日立コンシューマエレクトロニクス株式会社 コンテンツ配信制御プログラム、コンテンツ配信制御装置、コンテンツ配信装置及びコンテンツ配信システム
JP2013240024A (ja) * 2012-05-17 2013-11-28 Hitachi Consumer Electronics Co Ltd コンテンツ配信制御プログラム、コンテンツ配信制御装置、コンテンツ配信装置及びコンテンツ配信システム
JP2017016561A (ja) * 2015-07-06 2017-01-19 株式会社リコー 情報処理装置、情報提供システム、情報提供方法、及びプログラム

Also Published As

Publication number Publication date
JP5279396B2 (ja) 2013-09-04

Similar Documents

Publication Publication Date Title
JP4388128B1 (ja) 情報提供サーバ、情報提供方法及び情報提供システム
CN103004228A (zh) 获取关键词用于搜索
KR20140126556A (ko) 감성 기반 멀티미디어 재생을 위한 장치, 서버, 단말, 방법, 및 기록 매체
JP5279396B2 (ja) 再生システム
JP5490793B2 (ja) 複製支援装置、端末装置、複製支援方法、及び複製支援プログラム
JP2005032319A (ja) 記録媒体及び再生装置
CN101326825B (zh) 视听装置和内容处理方法
JP4507254B2 (ja) 情報管理装置および方法、並びにプログラム
JP4146993B2 (ja) 図書情報提供装置、図書情報提供方法、およびその方法をコンピュータに実行させるプログラムを記録したコンピュータ読み取り可能な記録媒体
JP2012161030A (ja) 付随コンテンツ検索装置、システム、方法、及びプログラム
KR20140056636A (ko) 플레이리스트 공유를 통한 컨텐츠 추천 시스템 및 방법
JP2006252734A (ja) 情報処理装置、情報記録再生システムおよびコンテンツ転送方法
JP2006236111A (ja) コンテンツ検索装置および方法、コンテンツ検索プログラムならびに当該プログラムを記録した機械読取り可能な記録媒体
JP4845683B2 (ja) コンテンツ再生方法及び通信端末装置
JP2006067255A (ja) テレビ放送番組自動録画システム、テレビ放送番組自動録画サーバおよびテレビ放送番組自動録画プログラム
JP2007129308A (ja) 情報処理装置
JP4389667B2 (ja) 映像検索方法およびシステム
JP2007265362A (ja) コンテンツ再生リスト検索システム、コンテンツ再生リスト検索装置、及びコンテンツ再生リスト検索方法
JP2010283707A (ja) 車載用電子装置および車載用電子装置の画像更新システム
JP2009239552A (ja) 放送受信システム
JP2007288279A (ja) 情報処理システム
JP4462373B2 (ja) 記録媒体及び再生装置
JP4826677B2 (ja) 記録媒体及び再生装置
JP4596080B2 (ja) 記録媒体及び再生装置
JP5094907B2 (ja) 記録媒体及び再生装置

Legal Events

Date Code Title Description
A621 Written request for application examination

Free format text: JAPANESE INTERMEDIATE CODE: A621

Effective date: 20110215

A977 Report on retrieval

Free format text: JAPANESE INTERMEDIATE CODE: A971007

Effective date: 20120911

A131 Notification of reasons for refusal

Free format text: JAPANESE INTERMEDIATE CODE: A131

Effective date: 20121002

A521 Request for written amendment filed

Free format text: JAPANESE INTERMEDIATE CODE: A523

Effective date: 20121128

TRDD Decision of grant or rejection written
A01 Written decision to grant a patent or to grant a registration (utility model)

Free format text: JAPANESE INTERMEDIATE CODE: A01

Effective date: 20130514

A61 First payment of annual fees (during grant procedure)

Free format text: JAPANESE INTERMEDIATE CODE: A61

Effective date: 20130521

R150 Certificate of patent or registration of utility model

Free format text: JAPANESE INTERMEDIATE CODE: R150

Ref document number: 5279396

Country of ref document: JP

Free format text: JAPANESE INTERMEDIATE CODE: R150

R250 Receipt of annual fees

Free format text: JAPANESE INTERMEDIATE CODE: R250

R250 Receipt of annual fees

Free format text: JAPANESE INTERMEDIATE CODE: R250

R250 Receipt of annual fees

Free format text: JAPANESE INTERMEDIATE CODE: R250

R250 Receipt of annual fees

Free format text: JAPANESE INTERMEDIATE CODE: R250

R250 Receipt of annual fees

Free format text: JAPANESE INTERMEDIATE CODE: R250

R250 Receipt of annual fees

Free format text: JAPANESE INTERMEDIATE CODE: R250

R250 Receipt of annual fees

Free format text: JAPANESE INTERMEDIATE CODE: R250

R250 Receipt of annual fees

Free format text: JAPANESE INTERMEDIATE CODE: R250

R250 Receipt of annual fees

Free format text: JAPANESE INTERMEDIATE CODE: R250

R250 Receipt of annual fees

Free format text: JAPANESE INTERMEDIATE CODE: R250