JP2010040751A - プリント配線板およびその製造方法ならびにプリント配線板のフィリングビアの外観検査方法 - Google Patents

プリント配線板およびその製造方法ならびにプリント配線板のフィリングビアの外観検査方法 Download PDF

Info

Publication number
JP2010040751A
JP2010040751A JP2008201816A JP2008201816A JP2010040751A JP 2010040751 A JP2010040751 A JP 2010040751A JP 2008201816 A JP2008201816 A JP 2008201816A JP 2008201816 A JP2008201816 A JP 2008201816A JP 2010040751 A JP2010040751 A JP 2010040751A
Authority
JP
Japan
Prior art keywords
filling
poorly filled
wiring board
printed wiring
gray level
Prior art date
Legal status (The legal status is an assumption and is not a legal conclusion. Google has not performed a legal analysis and makes no representation as to the accuracy of the status listed.)
Granted
Application number
JP2008201816A
Other languages
English (en)
Other versions
JP4978584B2 (ja
Inventor
Tatsunobu Yoshioka
立信 吉岡
Hiroyuki Okabe
宏之 岡部
Nagayoshi Matsuo
長可 松尾
Current Assignee (The listed assignees may be inaccurate. Google has not performed a legal analysis and makes no representation or warranty as to the accuracy of the list.)
Hitachi Cable Ltd
Original Assignee
Hitachi Cable Ltd
Priority date (The priority date is an assumption and is not a legal conclusion. Google has not performed a legal analysis and makes no representation as to the accuracy of the date listed.)
Filing date
Publication date
Application filed by Hitachi Cable Ltd filed Critical Hitachi Cable Ltd
Priority to JP2008201816A priority Critical patent/JP4978584B2/ja
Publication of JP2010040751A publication Critical patent/JP2010040751A/ja
Application granted granted Critical
Publication of JP4978584B2 publication Critical patent/JP4978584B2/ja
Expired - Fee Related legal-status Critical Current
Anticipated expiration legal-status Critical

Links

Images

Landscapes

  • Production Of Multi-Layered Print Wiring Board (AREA)
  • Length Measuring Devices By Optical Means (AREA)
  • Investigating Materials By The Use Of Optical Means Adapted For Particular Applications (AREA)

Abstract

【課題】 層間導通用ビアの外観検査の際に、種々の計測条件が変化しても、常に信頼性の高い検査結果を得ることができ、またその検査結果の信頼性を随時確認することのできるプリント配線板およびその製造方法ならびにプリント配線板のフィリングビアの外観検査方法を提供する。
【解決手段】 このプリント配線板は、絶縁性基板2に設けられたビア穴に層間導通用のめっき導体7を充填してなるフィリングビア4を有するプリント配線板であって、フィリングビア4とは別に、絶縁性基板2の各個片1の所定位置ごとに、めっき導体7を意図的に充填不良の状態とした充填不良サンプルビア6を形成してなることを特徴としている。
【選択図】 図1

Description

本発明は、絶縁性基板に設けられたビア穴にめっき導体を充填してなるフィリングビアを有するプリント配線板およびその製造方法ならびにプリント配線板のフィリングビアの外観検査方法に関する。
この種の両面または多層プリント配線板もしくはそれらをさらに積層して形成される多層プリント配線板に必要とされるフィリングビアのような層間導通用ビアは、近年、配線の高密度化等に伴って、1つの(各個片の)プリント配線板内に数100個が形成されることもあるようになってきている。また、近年では、配線のさらなる高密度化を達成するため、およびその層間導通性をさらに確実なものとするために、ビア同士を垂直に(絶縁性基板の厚さ方向に直線的に)積み重ねた構造が提案され、その構造に適した層間導通用ビアとして、フィリングビアが採用されることが多くなってきている。
このフィリングビアのような層間導通用ビアは、配線板ブロック単位、またはシート単位、もしくはリール単位に換算すると、数1000個あるいはそれ以上と膨大な個数になる場合も多い。これらの層間導通用ビアのうちに1個でも導通不良のものがあると、その導通不良を有するプリント配線板の各個片における配線は、その導通不良のビアの部分で断線が生じたことと同等の状態となるので、プリント配線板としては致命的な欠陥品ということになってしまう。このため、フィリングビアのような層間導通用ビアの導通不良を確実かつ簡易・迅速に検査(検出)することが、強く要請されている。
このフィリングビアのような層間導通用ビアの導通不良の検査方法としては、電気的に導通確認を行う方法、断面観察による方法、配線パターン検査に用いられるような反射光の画像識別技術を用いた方法などがある。
電気的に導通確認を行う方法では、回路デザインによっては検査出来ない場合も多い。断面観察による方法では、膨大な作業労力が不可避的に必要となる。しかも、破壊試験であるから、通常生産では抜き取り検査となるため、全ての層間導通用ビアについての完全な導通を保証することは不可能である。反射光の画像識別技術を用いた場合の層間導通用ビアの検査方法は、配線パターンの検査方法の場合と同様に、反射光による画像識別を用いた検査方法であり、これを採用することにより、全ての層間導通用ビアについて外観検査を行うことができる。従って、その結果に基づいて、全ての層間導通用ビアについての導通の可否を判定・保証することが可能となる。
より具体的には、作製された配線パターンの外観検査によるパターン検査は、CAD(設計)データ、特徴点識別、基準画像データ等を用いた比較検査を行うことで、その検査対象の配線パターンが正しいパターン形状であるか否かを判定(検出)するものである。層間導通用ビアの外観検査による導通検査も、基本的な計測原理(検査手法)としては、配線パターンの外観検査の場合と同様に、各フィリングビアにおけるビア穴に充填されたビアフィリングめっき(めっき導体)が、不めっきや低フィリング異常が生じている状態にあるか、それとも正常にめっき導体が充填された状態にあるかを、その検査対象の層間導通用ビアに光を照射した際の反射光のグレーレベル画像処理を行い、そのグレーレベルを検出閾値と比較することで、その検査対象の正否を判定するようにしている。このようにすることにより、個々の層間導通用ビアの全てについて検査することができる(以上、特許文献1参照)。
特開平10−246613号公報
配線パターンの外観検査の場合、配線パターンを検出する反射光の閾値は、表面の光反射率が比較的低いエポキシやポリイミドフィルムのような材質からなる絶縁性基板と、表面の光反射率が高い材質である銅やその他の金属からなる配線パターンとの差であり、その設定条件は安定的に得ることができ易い傾向にある。
しかしながら、斯様な配線パターンの外観検査の手法を応用して層間導通用ビアの外観検査を行うと、層間導通用ビアの外観検査の場合は、検査対象の層間導通用ビアとその周囲の導体層の表面(具体的にはランドや配線パターン等の表面)との、僅かな反射光のグレーレベルの差を認識するものであるため、導体層の表面の酸化具合、エッチング処理変動による粗度バラツキ、部材の反り、検査テーブルとの吸着具合など、種々の要因から、検出される反射光のグレーレベルが多大な影響を受けることとなる。このため、層間導通用ビアの外観検査では、検査結果の信頼性が著しく低下する場合が多いという問題がある。
また、上記のような問題の発生を回避するために、検出閾値を厳しく設定すると、虚報率が増加することとなり、やはり検査結果の信頼性が著しく低下するという問題がある。
より具体的な一例を挙げて説明すると、図10(a)に模式的に示したように、フィリングビア201が正常な充填状態の場合には、ビア穴が完全にめっき導体で充填されているので、その上面は周囲のランド202や配線バターン203の上面とほぼ同じ高さであり、その表面に参照光100を照射したときの反射率が高く、かつその反射光101は大幅な拡散が生じることなく高い密度を保って反射されるので、図11(a)に模式的に示したように、高いグレーレベルの反射光103として検出される。他方、図10(b)に模式的に示したように、フィリングビア201に不めっきや低フィリングなどの充填不良が生じている場合には、その表面での参照光100の反射率が低く、かつその反射光102は大幅に拡散してしまうので、図11(b)に模式的に示したように、低いグレーレベルの反射光104として検出される。このような反射光の輝度の差異は、図11に模式的に示したような画像処理装置等を用いた画像認識によるグレーレベル処理以外にも、実体顕微鏡による観察などでも確認できる。
ところが、このようなフィリングビア201の表面に参照光100を照射したときの反射光101、102は、導体層(ランド202や配線パターン203)やフィリングビア201の表面の酸化状態、検査材料の変形、エッチング処理による表面粗度、検査台での製品吸着具合等のような諸条件の変化に起因して、材料ロットごと、あるいは処理ロットごと、もしくは各個片ごとで、本来の正則な計測状態で検出されることが想定される反射光101、102のグレーレベルが、全体的に上方にシフトしたり、あるいは逆に下方にシフトするなどして、検査の信頼性を確保することが困難なものとなりやすい傾向にあるという問題がある。
本発明は、このような問題に鑑みて成されたもので、その目的は、フィリングビアの充填不良を検査する際に、種々の計測条件等が変化しても、常に信頼性の高い検査結果を得ることができ、またその検査結果の信頼性を随時確認することのできる、プリント配線板およびその製造方法ならびにプリント配線板のフィリングビアの外観検査方法を提供することにある。
本発明のプリント配線板は、絶縁性基板に設けられたビア穴に層間導通用のめっき導体を充填してなるフィリングビアを有するプリント配線板であって、前記フィリングビアとは別に、前記絶縁性基板の所定位置に、前記めっき導体を意図的に充填不良の状態とした
充填不良サンプルビアを形成してなることを特徴としている。
また、絶縁性基板に設けられたビア穴に層間導通用のめっき導体を充填してなるフィリングビアを有するプリント配線板であって、前記フィリングビアとは別に、前記絶縁性基板の所定位置に、前記フィリングビアにおける前記めっき導体が充填不良の状態の場合と等価なグレーレベルの光反射特性を有する充填不良サンプルパターンを形成してなることを特徴としている。
本発明のプリント配線板の製造方法は、絶縁性基板にビア穴を設ける工程と、前記ビア穴に層間導通用のめっき導体を充填してフィリングビアを形成する工程と、前記フィリングビアに光を照射し、その反射光のグレーレベルを検出閾値と比較することで、前記フィリングビアにおける前記めっき導体の導通不良の要因となる充填不良の有無を検出する工程と、を含むプリント配線板の製造方法であって、前記フィリングビアとは別に、前記絶縁性基板の所定位置に、前記めっき導体を意図的に前記充填不良の状態とした充填不良サンプルビアまたは当該充填不良の状態の場合と等価なグレーレベルの光反射特性を有する充填不良サンプルパターンを形成する工程と、前記充填不良サンプルビアまたは前記充填不良サンプルパターンの反射光のグレーレベルに基づいて、前記検出閾値を設定し、当該検出閾値を用いて、前記フィリングビアにおける前記めっき導体の導通不良の要因となる充填不良の有無を検出する工程とを含むことを特徴としている。
また、絶縁性基板にビア穴を設ける工程と、前記ビア穴に層間導通用のめっき導体を充填してフィリングビアを形成する工程と、前記フィリングビアに光を照射し、その反射光のグレーレベルを検出閾値と比較することで、前記フィリングビアにおける前記めっき導体の導通不良の要因となる充填不良の有無を検出する工程と、を含むプリント配線板の製造方法であって、前記フィリングビアとは別に、前記絶縁性基板の所定位置に、前記めっき導体を意図的に前記充填不良の状態とした充填不良サンプルビアまたは当該充填不良の状態の場合と等価なグレーレベルの光反射特性を有する充填不良サンプルパターンを形成する工程と、前記充填不良サンプルビアまたは前記充填不良サンプルパターンの反射光のグレーレベルに基づいて、前記フィリングビアにおける前記めっき導体の導通不良の要因となる充填不良の有無の検出結果の信頼性を評価する工程とを含むことを特徴としている。
本発明のプリント配線板のフィリングビアの外観検査方法は、絶縁性基板にビア穴を設け、当該ビア穴に層間導通用のめっき導体を充填することでフィリングビアを形成してなるプリント配線板における、前記フィリングビアに光を照射し、その反射光のグレーレベルを検出閾値と比較することにより、前記フィリングビアにおける前記めっき導体の導通不良の要因となる充填不良の有無を検出するプリント配線板のフィリングビア外観検査方法であって、前記フィリングビアとは別に、前記絶縁性基板の所定位置に、前記めっき導体を意図的に前記充填不良の状態とした充填不良サンプルビアまたは当該充填不良の状態の場合と等価なグレーレベルの光反射特性を有する充填不良サンプルパターンを形成しておき、前記充填不良サンプルビアまたは前記充填不良サンプルパターンの反射光のグレーレベルに基づいて、前記検出閾値を設定し、当該検出閾値を用いて、前記フィリングビアにおける前記めっき導体の導通不良の要因となる充填不良の有無を検出すること特徴としている。
また、絶縁性基板にビア穴を設け、当該ビア穴に層間導通用のめっき導体を充填することでフィリングビアを形成してなるプリント配線板における、前記フィリングビアに光を照射し、その反射光のグレーレベルを検出閾値と比較することにより、前記フィリングビアにおける前記めっき導体の導通不良の要因となる充填不良の有無を検出するプリント配線板のフィリングビア外観検査方法であって、前記フィリングビアとは別に、前記絶縁性基板の所定位置に、前記めっき導体を意図的に前記充填不良の状態とした充填不良サンプルビアまたは当該充填不良の状態の場合と等価なグレーレベルの光反射特性を有する充填不良サンプルパターンを形成しておき、前記充填不良サンプルビアまたは前記充填不良サンプルパターンの反射光のグレーレベルに基づいて、前記フィリングビアにおける前記めっき導体の導通不良の要因となる充填不良の有無の検出結果の信頼性を評価するプロセス
を含むことを特徴としている。
本発明によれば、フィリングビアとは別に、絶縁性基板の所定位置に、めっき導体を意図的に充填不良の状態とした充填不良サンプルビア、またはそのような充填不良の状態の場合と等価なグレーレベルの光反射特性を有する充填不良サンプルパターンを形成しておき、その充填不良サンプルビアまたは充填不良サンプルパターンの反射光のグレーレベルに基づいて検出閾値を設定し、その検出閾値を用いて、フィリングビアにおけるめっき導体の導通不良の要因となる充填不良の有無を検出するようにしたので、フィリングビアの外観検査の際に種々の計測条件等が変化しても、その計測条件に対応して変化する充填不良サンプルビアまたは充填不良サンプルパターンの反射光のグレーレベルに基づいて設定された、そのときの計測条件に適合した検出閾値を用いることができ、その結果、常に信頼性の高い検査結果を得ることが可能となる。
また、フィリングビアとは別に、絶縁性基板の所定位置に、めっき導体を意図的に前記充填不良の状態とした充填不良サンプルビアまたはそのような充填不良の状態の場合と等価なグレーレベルの光反射特性を有する充填不良サンプルパターンを形成しておき、充填不良サンプルビアまたは充填不良サンプルパターンの反射光のグレーレベルに基づいて、フィリングビアにおけるめっき導体の導通不良の要因となる充填不良の有無の検出結果の信頼性を評価するようにしたので、フィリングビアの外観検査の際に、種々の計測条件が変化することなどに起因して変化することが想定される、その検査結果の信頼性(計測工学的な、いわゆる確からしさ)を、随時確認することが可能となる。その結果、常に信頼性の高いフィリングビアの外観検査を実現することが可能となる。
以下、本実施の形態に係るプリント配線板およびその製造方法ならびにプリント配線板のフィリングビアの外観検査方法について、図面を参照して説明する。
図1は、本発明の実施の形態に係るプリント配線板の主要部の平面的構成を示す図、図2は、図1に示したプリント配線板に設けられた充填不良サンプルビアを抽出し拡大して示す図、図3は、本発明の実施の形態に係る充填不良サンプルビアの主要な製造工程を示す図、図4は、本発明の実施の形態に係る充填不良サンプルパターンの主要な製造工程を示す図、図5は、めっき導体を施す分量を一定にしたときのフィリングビアの穴径とめっき導体の充填厚さとの関係を示す図、図6は、フィリングビアの穴径とめっき導体のフィリング率との相関をグラフとして示す図、図7は、フィリングビアの検査時に得られる画像のグレーレベルマップの一例を模式的に示す図、図8は、検出閾値(グレーレベル値)の設定と充填不良のビアの検出確率および虚報率との相関をグラフとして示す図、図9は、検査軸に沿った位置座標ごとでの反射光のグレーレベル値の分布および検出閾値をグラフで示す図である。
このプリント配線板の各個片1は、図1に示したように、例えばポリイミドフィルムのような絶縁性フィルム基板からなる絶縁性基板2における、いわゆるグラウンド(GND)面側に、例えば銅箔をエッチング法などにより所望の配線パターン30にパターン加工してなるグラウンド配線層3を有している。また、絶縁性基板2におけるグラウンド面側とは反対側の、いわゆるシグナル面側には、例えば銅箔をエッチング法などによりパターン加工してなるシグナル配線層5(図1では省略)を有している。また、絶縁性基板2の表裏を貫通するように穿設されると共にそのシグナル面側をシグナル配線層5の銅箔で塞がれたビア穴に、例えば充填めっき法などによってめっき導体7を充填して形成されたフィリングビア4を有している。このフィリングビア4によって、絶縁性基板2の表裏の、グラウンド配線層3とシグナル配線層5との間の電気的な導通が確保されるように設定されている。
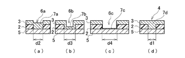
そして、フィリングビア4とは別に、各個片1における所定の位置ごとに、上記のフィリングビア4と同じ材質からなるめっき導体7を意図的に充填不良の状態とした充填不良サンプルビア6が、1個または複数個、設けられている。図1および図2では、ビア穴径を異ならせることでフィリング率を異ならせた複数(3個)の充填不良サンプルビア6a、6b、6cを設けた場合の一例を示してある。
図1および図2に示した一例では、充填不良サンプルビア6a、6b、6cは、図5に示したように、正常なフィリングビア4の穴径d1<充填不良サンプルビア6aの穴径d2<充填不良サンプルビア6bの穴径d3<充填不良サンプルビア6cの穴径d4、のように穴径を異ならせることで、図6に示したように、そのそれぞれの充填不良サンプルビア6a、6b、6cごとで、めっき導体7a、7b、7cのフィリング率61a、61b、61cの値が、いずれも正常なフィリングビア4におけるめっき導体7dのフィリング率を100%としたときの、その100%未満であって、かつ61c<61b<61a<61d=100%のような序列で異なったものとなるように、それぞれ形成されている。
このように意図的にめっき導体7のフィリング率を100%未満とした充填不良サンプルビア6の反射光の画像70のグレーレベルは、図7にその一例を模式的に示したように、例えば画素71におけるグレーレベル値が178、画素72におけるグレーレベル値が182というように、いずれも199以下となっている。これは、その充填不良サンプルビア6の反射光の画像70の領域外におけるグレーレベルが全て200以上であるのとは、明確に異なっている。従って、この図7に示した一例の場合には、検出閾値を例えば200に設定することにより、充填不良サンプルビア6の反射光の画像70のグレーレベルに基づいて、フィリングビア4の外観検査による充填不良の検査を常に正確に行うことができる。ここで、充填不良サンプルビア6の反射光の画像70における全画素のグレーレベルの平均値を取って、例えばそれが190である場合には、そのグレーレベルの平均値=190を検出閾値として用いるようにすることなども有効である。
このような充填不良サンプルビア6a、6b、6cは、図示は省略するが、フィリングビア4の形成と並行して形成するようにしてもよく、あるいはそれとは別段に、専用の形成工程で形成するようにしてもよい。
いずれの場合でも、図5および図6に則して上記で説明したように、同じ分量のめっき導体7を被着させるというイコールコンディションのめっき工程においては、異なった穴径d2、d3、d4にそれぞれ充填されるめっき導体7a、7b、7cの厚さ、すなわち充
填不良サンプルビア6a、6b、6cのフィリング率が、正規の充填量を確保してなる良品であるフィリングビア4の穴径d1の場合を100%としたときの、その100%未満
の異なった値になるということを利用して、意図的にフィリング率を100%未満の所定の値とした、いわゆる低フィリング不良の状態の充填不良サンプルビア6a、6b、6cを形成することができる。
あるいは、図3にその主要な工程を示したような形成方法によって、フィリング率を0%とした、いわゆる不めっき状態の充填不良サンプルビア6を形成することも可能である。
すなわち、絶縁性基板2にフィリングビア4用の貫通孔を穿設する際に(図3ではその工程は図示省略)、絶縁性基板2の所定位置に、充填不良サンプルビア6のビア穴用の貫通孔も穿設しておく。
続いて、絶縁性基板2のシグナル面側に、例えば銅箔をパターンエッチングしてシグナル配線層5を形成する。そして、図3(a)に示したように、絶縁性基板2のグラウンド面側に、例えば充填めっき法などによりめっき導体7を被着させることで、各フィリングビア4(図3では図示省略)のビア穴にめっき導体7が充填される。またそれと共に、各充填不良サンプルビア6のビア穴にもめっき導体7が充填される。
続いて、図3(b)に示したように、各充填不良サンプルビア6を形成する予定の部分
は露出させその他の部分は被覆するように、エッチングレジストパターン8を形成し、図3(c)に示したように、エッチングレジストパターン8で覆われておらずに露出している部分のめっき導体7を、エッチングプロセスによって、シグナル配線層5の表面5aが露出するまで完全に蝕刻除去することで、不めっき状態の充填不良サンプルビア6を得ることができる。
または、その図3(c)に示したエッチングプロセスで、露出している部分のめっき導体7を完全に除去するのではなく、いわゆるハーフエッチングを行うことにより(図示省略)、不めっき(0%)ではないが100%未満の所定の低フィリング率を有する、低フィリング不良の状態の充填不良サンプルビア6を形成することなども可能である。
このような不めっき状態や低フィリング不良の状態の充填不良サンプルビア6は、図示は省略するが、例えばグラウンド配線層3をパターン形成する工程と並行して形成するようにしてもよく、あるいはそれとは別段に、専用の形成工程で形成するようにしてもよい。
もしくは、図4にその主要な工程を示したような形成方法によって、フィリング率が0%の不めっき状態の場合と等価なグレーレベルの光反射特性を有する充填不良サンプルパターン6を、ビア穴用の貫通孔を穿設することなしに、絶縁性基板2の所定位置に形成することも可能である。
すなわち、絶縁性基板2のシグナル面側に、例えば銅箔をパターンエッチングすることによりシグナル配線層5を形成する。そして、図4(a)に示したように、絶縁性基板2のグラウンド面側に、例えば充填めっき法などによって、めっき導体7を被着させることで、グラウンド配線層3を形成する。
続いて、図4(b)に示したように、各充填不良サンプルパターン6を形成する予定の部分は露出させその他の部分は被覆するようにエッチングレジストパターン8を形成し、図4(c)に示したように、エッチングレジストパターン8で覆われておらずに露出している部分のグラウンド配線層3をエッチングプロセスによって蝕刻除去して、その部分の絶縁性基板2の表面2aを露出させることで、不めっき状態の場合と等価なグレーレベルの光反射特性を有する充填不良サンプルパターン6を得ることができる。
ここで、エポキシ樹脂やポリイミド樹脂のような絶縁性合成樹脂からなる絶縁性基板2の表面2aの光反射率は、一般に、グラウンド配線層3の表面の光反射率よりも明確に低い傾向にあるので、この図4に示したような方法で所定位置のグラウンド配線層3を除去してその下の絶縁性基板2の表面2aを露出させることにより、充填不良の状態の場合と等価な、グレーレベルの低い光反射特性を有する充填不良サンプルパターン6を得ることができるのである。但し、場合によっては、絶縁性基板2の表面2aの光反射特性とグラウンド配線層3の光反射特性とが近い組み合わせになることもある。そうすると、図4に示したような充填不良サンプルパターン6では、その光反射率が周囲のグラウンド配線層3の光反射率と明確には区別できないものとなり、充填不良と同等のグレーレベル画像として計測されなくなる虞が極めて高くなる。そのような場合には、図4に示したような充填不良サンプルパターン6ではなく、図3に示したような充填不良サンプルビア6を形成すればよい。
このような不めっき状態の充填不良サンプルパターン6は、図示は省略するが、例えばグラウンド配線層3をパターン形成する工程と並行して形成するようにしてもよく、あるいはそれとは別段に、専用の形成工程で形成するようにしてもよい。
次に、本発明の実施の形態に係るプリント配線板の製造方法における特にフィリングビアの検査工程、および本発明の実施の形態に係るプリント配線板のフィリングビアの検査方法、ならびにそれらにおける主要な作用について説明する。
本発明の実施の形態に係るプリント配線板は、長尺状のポリイミドフィルム基板のような絶縁性基板2にグラウンド配線層3、フィリングビア4、シグナル配線層5を作り込む
と共に、各個片1の所定位置ごとに、めっき導体7を意図的に充填不良の状態とした充填不良サンプルビア(または充填不良サンプルパターン)6を作り込むことで、その主要部が作製される。
その後、パターン外観検査装置を用いてグラウンド配線層3のパターン検査が行われる。このパターン外観検査の具体的な手法については、一般的なもので構わない。
そして、フィリングビア4の外観検査による導通検査が行われる。この導通検査では、検査対象のフィリングビア4に参照光を照射し、その反射光のグレーレベル画像処理を行う。そして、そのグレーレベルの値を、正常にめっき導体7が充填された状態の場合に得られることが想定されるグレーレベルの値に基づいて設定された検出閾値と比較する。
その比較の結果、そのときの検査対象であるフィリングビア4の反射光のグレーレベルの平均値が、検出閾値以上であった場合には、正常にめっき導体7が充填されており、正常な導通状態にあるものと見做すことができるので、導通不良は発生していないものと判定される。しかし反射光のグレーレベルの平均値が、検出閾値未満であった場合には、斯様な低いグレーレベルになったということは、めっき導体7が不めっき状態かまたは低フィリング状態のような充填不良の状態にあるからであると見做すことができるので、そのような充填不良に起因した導通不良が発生しているものと判定される。このような外観検査による導通検査を、個々のフィリングビア4ごとに行うことにより、全てのフィリングビア4について導通検査を行うことができる。
あるいは、上記のようにフィリングビア4の反射光のグレーレベルの平均値を検出閾値と比較すること以外にも、1個のフィリングビア4の反射光画像内における各画素のグレーレベル値を検出閾値と比較し、その検出閾値未満のグレーレベル値であった画素の個数が、所定の個数以上であった場合には、そのときの検査対象の1個のフィリングビア4には充填不良に起因した導通不良が発生しているものと判定し、所定の個数未満であった場合には、正常な充填状態に対応した正常な導通状態にあるものと判定する、というような判定方法を採用することなども可能である。
ところが、このようなフィリングビア4の外観検査による導通検査では、一般に、その検査中に絶縁性基板2の反りや、グラウンド配線層3およびめっき導体7の表面の酸化・粗度の変化などのような種々の要因から、フィリングビア4に充填されためっき導体7の表面およびその周囲の配線パターン30の表面における、反射光のグレーレベル値が、図9に一例を示したように、上方や下方にシフトしてしまうことが多い。
これを図9に示した一例に則して具体的に説明する。図9(a)のグラフでは、横軸には検査の進行方向における各位置の座標を、縦軸には観測される反射光のグレーレベル値を、それぞれ示している。また図9(b)では、検査対象の充填不良のフィリングビア4として充填不良サンプルビア6と、グラウンド配線層3における検査対象の配線パターン30とを、検査の進行方向軸上に直線的に配列形成してなるパターンを示している。配線バターン30の一部分には、傷や汚れなどに起因して光反射率の低下した鈍反射部9が生じているものとする。
従来の一般的なフィリングビアの外観検査による導通検査の方法では、検査対象のフィリングビア4に導通不良の要因である充填不良が発生しているか否かを判定するための検出閾値90は、例えばフィリングビア4や配線パターン30等を形成してから所定時間が経過した後に、検査装置に正しい位置および姿勢でセットされた検査状態のような所定の標準的な検査状態のときに観察されることが想定される、充填不良の状態のフィリングビア4(図9ではそれと等価なものとして充填不良サンプルビア6を示している)のグレーレベル分布91に対応して、予め固定的に定められている。
このような検出閾値90を用いることにより、導通不良を引き起こすような充填不良が発生しているフィリングビア4のめっき導体7の表面における、低い光反射率に起因して
低くなったグレーレベル値が検出されると、その低くなった部分のグレーレベル値が、検出閾値90よりも低いものであることから、このときの検査対象のフィリングビア4が充填不良の状態にあること、従って導通不良の状態にあることが、明確に検出(判定)される。
ところが、例えばフィリングビア4や配線パターン30等を形成した直後に検査を行った場合、フィリングビア4や配線パターン30等の表面は未だ殆ど酸化していない無垢の金属表面のような光沢表面状態にあることから、それらフィリングビア4や配線パターン30等の表面の光反射率は全体的に、上記の所定の標準的な検査状態での光反射率よりも高いものとなっている。このため、この場合には、フィリングビア4やその周囲の配線パターン30等の表面における反射光のグレーレベルは全体的に、図9でグレーレベル分布92として示したように、標準的な検査状態で計測されるグレーレベル分布91よりも上方へとシフトしてしまうこととなる。すると、このとき計測されるグレーレベル分布92における、充填不良のフィリングビア4のめっき導体7の表面での反射光のグレーレベル値は、その周囲の配線パターン30(グラウンド配線層3)の表面における反射光のグレーレベル値よりも相対的に明らかに低くて充填不良を示しているにも関わらず、検出閾値90よりも低くなっていないので(むしろ検出閾値90よりも全体的に高いので)、このときの検査対象のフィリングビア4が充填不良の状態にあることは、検出されないこととなる。つまりこの場合、実際には充填不良の状態にあり、従って導通不良の状態にあるにも関わらず、それを正確に検出することができずに、いわゆる不良品の見逃しをしてしまうこととなる。
また、それとは逆に、例えばフィリングビア4や配線パターン30等を形成してから上記のような所定の時間よりも長い時間が経過した後に、検査を行った場合、フィリングビア4や配線パターン30等の表面は、酸化の進行や塵埃の付着等に起因して、光反射率が低くなる。このため、この場合には、フィリングビア4やその周囲の配線パターン30等の表面における反射光のグレーレベルは全体的に、図9でグレーレベル分布93として示したように、標準的な検査状態のグレーレベル分布91よりも下方へとシフトする。そうすると、このとき計測されるグレーレベル分布93における、例えば配線パターン30の鈍反射部9で低下したグレーレベル値が、検出閾値90未満となって、充填不良等ではないにも関わらず、充填不良等として検出されてしまうこととなる。あるいは、図9では図示を省略したが、このときの検査対象のフィリングビア4が正常な範囲内のフィリング率でめっき導体7を充填された状態にある場合であっても、そのフィリングビア4の表面の部分を含んで全体的に反射光のグレーレベルが低下しているのであるから、そのフィリングビア4の反射光のグレーレベルについても検出閾値90未満の値ということになり、これに基づいて充填不良つまり導通不良と検出されてしまう。すなわち、この場合には、いわゆる虚報が検出されてしまうこととなる。
また、上記のような要因に加えて、絶縁性基板2をはじめとした製品全体の反りや、検査テーブルの吸着具合の変化等、種々の検査時における作業条件等に因ってもグレーレベル分布は種々に変化するので、導通不良の検出確率(計測工学的な観点で云うところの、いわゆる確からしさ)は、さらに低下する虞がある。
そこで、本発明の実施の形態に係るプリント配線板の製造方法およびフィリングビアの外観検査方法では、フィリングビア4とは別に、絶縁性基板2の所定位置に、めっき導体7を意図的に充填不良の状態とした充填不良サンプルビア6またはその充填不良の状態の場合と等価なグレーレベルの光反射特性を有する充填不良サンプルパターン6を形成しておき、検査時には、フィリングビア4の検査を開始するに先立って、まず充填不良サンプルビア6(または充填不良サンプルパターン6)の反射光のグレーレベル値を計測し、そのグレーレベル値に基づいて検出閾値90を設定し(あるいは設定を変更し)、その検出閾値90を用いて、検査対象の各フィリングビア4におけるめっき導体7の充填不良の有無
を検出することで、導通不良の検出を常に検査状態に則して適正に設定された検出閾値に基づいて、常に正確に行うようにしている。
すなわち、図9に則して説明すると、検査対象であるフィリングビア4のめっき導体7の表面およびその周囲のグラウンド配線層3(配線パターン30等)の表面における反射光のグレーレベル値が、全体的に、グレーレベル分布92のように上方にシフトした場合や、逆にグレーレベル分布93のように下方にシフトした場合、それに伴って、充填不良サンプルパターン6のめっき導体7の表面における反射光のグレーレベルも同方向にかつ同程度にシフトする。そこで、その充填不良サンプルパターン6のめっき導体7の表面における反射光のグレーレベル値を計測し、そのシフトしたグレーレベル値に基づいて、検出閾値90を、例えば各個片1ごとに設定変更する。これは端的に云えば、検査対象であるフィリングビア4のめっき導体7や配線バターン30等の表面のグレーレベル分布の全体的なシフトに対応して、検出閾値90もシフトさせる、ということである。
このようにすることにより、フィリングビア4の外観検査の際に種々の計測条件等が変化しても、その計測条件に対応して変化する充填不良サンプルビア(または充填不良サンプルパターン)6の反射光のグレーレベル値に基づいて、そのときのグレーレベル分布全体のシフトに対応して適切に設定された検出閾値90を常に用いることができ、その結果、常に信頼性の高い検査結果を得ることが可能となる。
また、本発明の実施の形態に係るプリント配線板の製造方法およびフィリングビアの外観検査方法では、フィリングビア4とは別に、絶縁性基板2の所定位置に、めっき導体7を意図的に充填不良の状態とした充填不良サンプルビア(またはそのような充填不良の状態の場合と等価なグレーレベルの光反射特性を有する充填不良サンプルパターン)6を形成しておき、その充填不良サンプルビア6(または充填不良サンプルパターン6;以下、これらを纏めて充填不良サンプルビア6とも呼ぶ)の反射光のグレーレベル値に基づいて、検査対象であるフィリングビア4におけるめっき導体7の充填不良の発生の有無についての検出結果の信頼性を評価することで、フィリングビア4の外観検査の際に、種々の計測条件が変化することなどに起因して変化することが想定される、その検査結果の信頼性を、随時確認することができる。その結果、全てのフィリングビア4の充填不良(延いては導通不良)について、常に信頼性の高い外観検査を実現することが可能となる。また、必要に応じて、計測条件の見直しや、検出閾値の設定条件の見直し等を行うことも可能となる。
具体的には、例えば上記のように充填不良サンプルビア6を用いて各個片1ごとに検出閾値90を設定変更しつつ、全てのフィリングビア4についての連続自動外観検査による導通検査を行った後、その各個片1ごとに、充填不良サンプルビア6が、充填不良であると検出されているか否かを、その連続自動外観検査の結果のデータに基づいてチェックする。
そのチェックの結果、充填不良サンプルビア6が導通不良であると検出されていた場合には、その充填不良サンプルビア6を備えた個片1の検査は、正しく行われたものと判定することができる。しかし、充填不良サンプルビア6が導通不良のものとして検出されていなかった場合には、そのときの検査が不正確なものであったか、もしくはそのとき形成された充填不良サンプルビア6自体に、例えば充填不良の状態に形成されることを意図されていたにも関わらずフィリング率が100%近くに形成されてしまったといった、何らかの欠陥があったものと判定することができる。
そして特に、充填不良サンプルビア6が導通不良として検出されていなかった場合には、その充填不良サンプルビア6を有する個片1について、フィリングビア4の導通不良の再検査を行うことで、充填不良の見逃しや虚報等の発生をさらに確実に防いで、その外観検査による導通不良検査の信頼性をさらに高いものとすることが可能となる。
なお、本発明は特に多数の微細なフィリングビアを有するプリント配線板において有効であることから、本実施の形態では、絶縁性基板2がポリイミドフィルムのような絶縁性フィルム基板であり、かつその絶縁性基板2の表裏面のうちの一方の面にシグナル配線層5を備えると共に、他方の面にはフィリングビア4に接続されるグラウンド配線層3を備えて、全体として例えばBGA(Ball Grid Array)のような実装パッケージ用の配線板
として用いられる、いわゆる2メタルタイプの半導体装置用TABテープの構造を成すプリント配線板、およびそのフィリングビアの連続自動外観検査に、本発明を適用した場合について説明したが、本発明の適用は、このような半導体装置用TABテープのみには限定されないことは勿論である。この他にも、例えば絶縁性基板2としてガラスエポキシ基板を用いた、いわゆるリジッド多層配線板におけるフィリングビアの連続自動外観検査などにも、本発明は適用可能である。
また、充填不良サンプルビア(または充填不良サンプルパターン)6は、個々の個片1ごとに設けること以外にも、例えば枚葉処理(バッチ処理)方式で製造されるリジッドプリント配線板(図示省略)の場合には、その個々のシートごとに設けるようにしてもよい。あるいは、リールからリールへの連続処理方式で製造されるTABテープ型のプリント配線板の場合には、その一本のTABテープにおける所定の間隔ごとや、複数の個辺1を一組として、その一組ごとに1個の充填不良サンプルビア6を設けるようにすることなども可能であることは言うまでもない。
上記の実施の形態で説明したような充填不良サンプルビア6を個々の個片1ごとに備えた2層(2メタル)TABテープ型のプリント配線板を作製し、それに上記の実施の形態で説明したような連続自動外観検査を施行した。フィリングビア4の穴径は40μmとした。
自動外観検査装置としては、日本オルボテック株式会社製のInfinex3100を使用した。
その結果、得られた充填不良サンプルビア6の256諧調グレーレベル画像70は、図7に一例を模式的に示したようなものとなり、明確に認識可能な充填不良サンプルビア6の画像のグレーレベルに基づいて検出閾値の設定変更を行うこと、および充填不良サンプルビア6等の画像の認識を確実に行うことが可能であることが確認された。
すなわち、充填不良サンプルビア6における画素71、72等の各画素のグレーレベルおよび検出ビア面積等に対応して、適切な画素領域(検出対象とする位置およびその画素数等)および検出閾値を設定してデータ処理することにより、充填不良サンプルビア6における画素71、72とそれよりも外側の領域における各画素73等とでの、画像のグレーレベル差を明確に判別することができる。
例えば、充填不良サンプルビア6のグレーレベル画像70のグレーレベルの閾値を160とする。また、その充填不良サンプルビア6の周囲の検出画素を設定することにより、充填不良サンプルビア6の画像が認識される。この設定条件による図7に示した結果では、充填不良サンプルビア6の周囲のグレーレベルは255となっており、明確にグレーレベル値の差異が生じている。このように、充填不良サンプルビア6の画像のグレーレベルは、その周囲の画像のグレーレベルとは明確に異なって低いものとなる。
そして、この実験での検出閾値の設定と充填不良のフィリングビア6の検出確率および虚報率との相関関係は、図8に示したようなものとなった。この図8のグラフから、検出閾値82をグレーレベル値=180〜200の付近に設定することで、充填不良のフィリングビア4の検出確率80を、ほぼ100%にすることができるということが確認された。しかし、それとは裏腹に、虚報率81は、検出閾値82をグレーレベル値190以上に設定すると、急峻に増大してしまうことが確認された。これらを総合的に判断すると、本実施例の場合には、検出閾値82をグレーレベル値=190付近に設定することが最も望ましいということになる。
以上のように、充填不良のフィリングビア6のグレーレベル値に基づいて、検出閾値82を設定変更することにより、実際に得られるグレーレベル画像におけるグレーレベル分布のシフトに対して適確に対応した検出閾値82を設定することができ、その結果、常に検出確率の高い(検査結果の信頼性の高い)連続自動外観検査を実現することができることが確認された。
本発明の実施の形態に係るプリント配線板の主要部の構成を示す図である。 図1に示したプリント配線板に設けられた充填不良サンプルビアを抽出し拡大して示す図である。 本発明の実施の形態に係る充填不良サンプルビアの主要な製造工程を示す図である。 本発明の実施の形態に係る充填不良サンプルパターンの主要な製造工程を示す図である。 めっき導体を施す分量を基板面上で一定にしたときのフィリングビアの穴径とめっき導体の充填厚さとの関係を示す図である。 フィリングビアの穴径とめっき導体のフィリング率との相関をグラフとして示す図である。 フィリングビアの検査時に得られる画像のグレーレベルマップの一例を模式的に示す図である。 検出閾値(グレーレベル値)の設定と充填不良のビアの検出確率および虚報率との相関をグラフとして示す図である。 検査軸に沿った位置座標ごとでの反射光のグレーレベル値の分布の変化および検出閾値をグラフとして示す図である。 正常なフィリングビア付近(a)と充填不良の状態のフィリングビア付近(b)とでの、光の反射状態をそれぞれ模式的に示す図である。 正常なフィリングビアの画像(a)と充填不良の状態のフィリングビアの画像(b)とでの、グレーレベルの平面的分布をそれぞれ模式的に示す図である。
符号の説明
1 プリント配線板の各個片
2 絶縁性基板
3 グラウンド配線層
4 フィリングビア
5 シグナル配線層
6 充填不良サンプルビア(または充填不良サンプルパターン)
7 めっき導体

Claims (6)

  1. 絶縁性基板に設けられたビア穴に層間導通用のめっき導体を充填してなるフィリングビアを有するプリント配線板であって、
    前記フィリングビアとは別に、前記絶縁性基板の所定位置に、前記めっき導体を意図的に充填不良の状態とした充填不良サンプルビアを形成してなる
    ことを特徴とするプリント配線板。
  2. 絶縁性基板に設けられたビア穴に層間導通用のめっき導体を充填してなるフィリングビアを有するプリント配線板であって、
    前記フィリングビアとは別に、前記絶縁性基板の所定位置に、前記フィリングビアにおける前記めっき導体が充填不良の状態の場合と等価なグレーレベルの光反射特性を有する充填不良サンプルパターンを形成してなる
    ことを特徴とするプリント配線板。
  3. 絶縁性基板にビア穴を設ける工程と、前記ビア穴に層間導通用のめっき導体を充填してフィリングビアを形成する工程と、前記フィリングビアに光を照射し、その反射光のグレーレベルを検出閾値と比較することで、前記フィリングビアにおける前記めっき導体の導通不良の要因となる充填不良の有無を検出する工程と、を含むプリント配線板の製造方法であって、
    前記フィリングビアとは別に、前記絶縁性基板の所定位置に、前記めっき導体を意図的に前記充填不良の状態とした充填不良サンプルビアまたは当該充填不良の状態の場合と等価なグレーレベルの光反射特性を有する充填不良サンプルパターンを形成する工程と、
    前記充填不良サンプルビアまたは前記充填不良サンプルパターンの反射光のグレーレベルに基づいて、前記検出閾値を設定し、当該検出閾値を用いて、前記フィリングビアにおける前記めっき導体の導通不良の要因となる充填不良の有無を検出する工程と
    を含むことを特徴とするプリント配線板の製造方法。
  4. 絶縁性基板にビア穴を設ける工程と、前記ビア穴に層間導通用のめっき導体を充填してフィリングビアを形成する工程と、前記フィリングビアに光を照射し、その反射光のグレーレベルを検出閾値と比較することで、前記フィリングビアにおける前記めっき導体の導通不良の要因となる充填不良の有無を検出する工程と、を含むプリント配線板の製造方法であって、
    前記フィリングビアとは別に、前記絶縁性基板の所定位置に、前記めっき導体を意図的に前記充填不良の状態とした充填不良サンプルビアまたは当該充填不良の状態の場合と等価なグレーレベルの光反射特性を有する充填不良サンプルパターンを形成する工程と、
    前記充填不良サンプルビアまたは前記充填不良サンプルパターンの反射光のグレーレベルに基づいて、前記フィリングビアにおける前記めっき導体の導通不良の要因となる充填不良の有無の検出結果の信頼性を評価する工程と
    を含むことを特徴とするプリント配線板の製造方法。
  5. 絶縁性基板にビア穴を設け、当該ビア穴に層間導通用のめっき導体を充填することでフィリングビアを形成してなるプリント配線板における、前記フィリングビアに光を照射し、その反射光のグレーレベルを検出閾値と比較することにより、前記フィリングビアにおける前記めっき導体の導通不良の要因となる充填不良の有無を検出するプリント配線板のフィリングビアの外観検査方法であって、
    前記フィリングビアとは別に、前記絶縁性基板の所定位置に、前記めっき導体を意図的に前記充填不良の状態とした充填不良サンプルビアまたは当該充填不良の状態の場合と等価なグレーレベルの光反射特性を有する充填不良サンプルパターンを形成しておき、
    前記充填不良サンプルビアまたは前記充填不良サンプルパターンの反射光のグレーレベ
    ルに基づいて、前記検出閾値を設定し、当該検出閾値を用いて、前記フィリングビアにおける前記めっき導体の導通不良の要因となる充填不良の有無を検出する
    ことを特徴とするプリント配線板のフィリングビアの外観検査方法。
  6. 絶縁性基板にビア穴を設け、当該ビア穴に層間導通用のめっき導体を充填することでフィリングビアを形成してなるプリント配線板における、前記フィリングビアに光を照射し、その反射光のグレーレベルを検出閾値と比較することにより、前記フィリングビアにおける前記めっき導体の導通不良の要因となる充填不良の有無を検出するプリント配線板のフィリングビアの外観検査方法であって、
    前記フィリングビアとは別に、前記絶縁性基板の所定位置に、前記めっき導体を意図的に前記充填不良の状態とした充填不良サンプルビアまたは当該充填不良の状態の場合と等価なグレーレベルの光反射特性を有する充填不良サンプルパターンを形成しておき、前記充填不良サンプルビアまたは前記充填不良サンプルパターンの反射光のグレーレベルに基づいて、前記フィリングビアにおける前記めっき導体の導通不良の要因となる充填不良の有無の検出結果の信頼性を評価するプロセスを含む
    ことを特徴とするプリント配線板のフィリングビアの外観検査方法。
JP2008201816A 2008-08-05 2008-08-05 プリント配線板およびその製造方法ならびにプリント配線板のフィリングビアの外観検査方法 Expired - Fee Related JP4978584B2 (ja)

Priority Applications (1)

Application Number Priority Date Filing Date Title
JP2008201816A JP4978584B2 (ja) 2008-08-05 2008-08-05 プリント配線板およびその製造方法ならびにプリント配線板のフィリングビアの外観検査方法

Applications Claiming Priority (1)

Application Number Priority Date Filing Date Title
JP2008201816A JP4978584B2 (ja) 2008-08-05 2008-08-05 プリント配線板およびその製造方法ならびにプリント配線板のフィリングビアの外観検査方法

Publications (2)

Publication Number Publication Date
JP2010040751A true JP2010040751A (ja) 2010-02-18
JP4978584B2 JP4978584B2 (ja) 2012-07-18

Family

ID=42012993

Family Applications (1)

Application Number Title Priority Date Filing Date
JP2008201816A Expired - Fee Related JP4978584B2 (ja) 2008-08-05 2008-08-05 プリント配線板およびその製造方法ならびにプリント配線板のフィリングビアの外観検査方法

Country Status (1)

Country Link
JP (1) JP4978584B2 (ja)

Cited By (3)

* Cited by examiner, † Cited by third party
Publication number Priority date Publication date Assignee Title
JP2012164017A (ja) * 2011-02-03 2012-08-30 Seiko Epson Corp ロボット装置、検査装置、検査プログラム、および検査方法
JP2013062295A (ja) * 2011-09-12 2013-04-04 Sumitomo Wiring Syst Ltd プリント回路板及びプリント回路板の製造方法
JP2020087996A (ja) * 2018-11-16 2020-06-04 凸版印刷株式会社 多面付け多層配線基板、及びめっき厚判定方法、並びに多層配線基板の製造方法

Citations (3)

* Cited by examiner, † Cited by third party
Publication number Priority date Publication date Assignee Title
JPH02247513A (ja) * 1989-03-20 1990-10-03 Fujitsu Ltd 孔充填状態検査装置
JPH10246613A (ja) * 1997-03-03 1998-09-14 Matsushita Electric Ind Co Ltd プリント配線板の穴埋め検査方法
JP2003101234A (ja) * 2001-09-27 2003-04-04 Toppan Printing Co Ltd 多層配線基板およびその製造方法、並びにその製造に用いる製造装置

Patent Citations (3)

* Cited by examiner, † Cited by third party
Publication number Priority date Publication date Assignee Title
JPH02247513A (ja) * 1989-03-20 1990-10-03 Fujitsu Ltd 孔充填状態検査装置
JPH10246613A (ja) * 1997-03-03 1998-09-14 Matsushita Electric Ind Co Ltd プリント配線板の穴埋め検査方法
JP2003101234A (ja) * 2001-09-27 2003-04-04 Toppan Printing Co Ltd 多層配線基板およびその製造方法、並びにその製造に用いる製造装置

Cited By (4)

* Cited by examiner, † Cited by third party
Publication number Priority date Publication date Assignee Title
JP2012164017A (ja) * 2011-02-03 2012-08-30 Seiko Epson Corp ロボット装置、検査装置、検査プログラム、および検査方法
JP2013062295A (ja) * 2011-09-12 2013-04-04 Sumitomo Wiring Syst Ltd プリント回路板及びプリント回路板の製造方法
JP2020087996A (ja) * 2018-11-16 2020-06-04 凸版印刷株式会社 多面付け多層配線基板、及びめっき厚判定方法、並びに多層配線基板の製造方法
JP7192423B2 (ja) 2018-11-16 2022-12-20 凸版印刷株式会社 めっき厚判定方法、並びに多層配線基板の製造方法

Also Published As

Publication number Publication date
JP4978584B2 (ja) 2012-07-18

Similar Documents

Publication Publication Date Title
US7642106B2 (en) Methods for identifying an allowable process margin for integrated circuits
JP2011169791A (ja) X線検査方法及びx線検査装置
US7561434B2 (en) Wired circuit board and method for manufacturing wired circuit board and mounting electronic component thereon
CN109526156A (zh) 一种用于检测钻孔偏移程度的检测模块及检测方法
CN101212896A (zh) 印刷线路板的检查方法以及印刷线路板
KR20150084623A (ko) 회로기판의 블라인드 비아홀 내의 결함의 검사장치, 검사시스템 및 그 검사방법
CN109195313A (zh) 一种新型背钻测试孔制作方法
JP4978584B2 (ja) プリント配線板およびその製造方法ならびにプリント配線板のフィリングビアの外観検査方法
Kanygina et al. Optical and electrical control in printed circuit board manufacturing
KR101026736B1 (ko) 플렉시블 인쇄회로기판의 제조 방법 및 그의 검사 방법
US11877397B2 (en) Printed circuit board
US8102053B2 (en) Displacement detection pattern for detecting displacement between wiring and via plug, displacement detection method, and semiconductor device
KR101055507B1 (ko) 패턴부의 리페어 구조 및 리페어 방법
JPH11271233A (ja) バイアホール検査装置
CN118549437A (zh) 柔性线路板中不良盲孔的检测方法
JP2010129696A (ja) 配線回路基板の製造方法
JP3252085B2 (ja) 多層配線基板およびその製造方法
US20080017508A1 (en) Non-contact type single side probe structure
CN1404122A (zh) 检视测试区内导电层间电性瑕疵的方法
JP5810731B2 (ja) 半導体装置及び検査方法
JP2009105400A (ja) フレキシブルプリント回路基板の製造方法及びその検査方法
JP2002043385A (ja) テストパターンを有する半導体ウェハ、半導体ウェハの検査方法、製造プロセス管理方法及び半導体の製造方法
KR20080100966A (ko) 인쇄회로기판의 딤플 검사 장치 및 방법
CN112291937A (zh) 一种引线漏蚀刻防呆目视检查方法
JP7192423B2 (ja) めっき厚判定方法、並びに多層配線基板の製造方法

Legal Events

Date Code Title Description
A621 Written request for application examination

Free format text: JAPANESE INTERMEDIATE CODE: A621

Effective date: 20101015

A977 Report on retrieval

Free format text: JAPANESE INTERMEDIATE CODE: A971007

Effective date: 20120314

TRDD Decision of grant or rejection written
A01 Written decision to grant a patent or to grant a registration (utility model)

Free format text: JAPANESE INTERMEDIATE CODE: A01

Effective date: 20120321

A01 Written decision to grant a patent or to grant a registration (utility model)

Free format text: JAPANESE INTERMEDIATE CODE: A01

A61 First payment of annual fees (during grant procedure)

Free format text: JAPANESE INTERMEDIATE CODE: A61

Effective date: 20120403

FPAY Renewal fee payment (event date is renewal date of database)

Free format text: PAYMENT UNTIL: 20150427

Year of fee payment: 3

R150 Certificate of patent or registration of utility model

Free format text: JAPANESE INTERMEDIATE CODE: R150

LAPS Cancellation because of no payment of annual fees