JP2010040192A - バックライトユニットおよびこれを備えた液晶表示装置 - Google Patents
バックライトユニットおよびこれを備えた液晶表示装置 Download PDFInfo
- Publication number
- JP2010040192A JP2010040192A JP2008198275A JP2008198275A JP2010040192A JP 2010040192 A JP2010040192 A JP 2010040192A JP 2008198275 A JP2008198275 A JP 2008198275A JP 2008198275 A JP2008198275 A JP 2008198275A JP 2010040192 A JP2010040192 A JP 2010040192A
- Authority
- JP
- Japan
- Prior art keywords
- light
- light guide
- guide plate
- backlight unit
- liquid crystal
- Prior art date
- Legal status (The legal status is an assumption and is not a legal conclusion. Google has not performed a legal analysis and makes no representation as to the accuracy of the status listed.)
- Withdrawn
Links
Images
Landscapes
- Liquid Crystal (AREA)
- Planar Illumination Modules (AREA)
Abstract
【課題】薄型かつ省電力を両立することができるとともに、ローカルディミングなどの部分駆動方式において、輝度均一性に優れたバックライトユニットを提供する。
【解決手段】表示パネルの背面に配置され、表示パネルに光を照射するバックライトユニットであって、それぞれ表示パネルに対向する出射面20aとこの出射面の反対側に位置した入射面20cとを有し、互いに並んで配設される複数の導光板20と、各導光板の入射面に対向して設けられ、導光板に光を入射する少なくとも1つの点光源22と、を備えている。各導光板の出射面は、光を透過する複数の光透過領域と光を反射する複数の光反射領域とを有している。
【選択図】 図2
【解決手段】表示パネルの背面に配置され、表示パネルに光を照射するバックライトユニットであって、それぞれ表示パネルに対向する出射面20aとこの出射面の反対側に位置した入射面20cとを有し、互いに並んで配設される複数の導光板20と、各導光板の入射面に対向して設けられ、導光板に光を入射する少なくとも1つの点光源22と、を備えている。各導光板の出射面は、光を透過する複数の光透過領域と光を反射する複数の光反射領域とを有している。
【選択図】 図2
Description
本発明は、光源と導光板とを備え、液晶表示装置等のバックライトとして用いられるバックライトユニット、およびこれを備えた液晶表示装置に関する。
通常、液晶表示装置は、液晶表示パネルと、この液晶表示パネルを照明するバックライトユニットとを備えている。大型の液晶表示装置では直下型のバックライトが、また、中小型の液晶表示装置では導光板方式によるバックライトが主流となっている。
近年、大型液晶表示装置は薄型化の傾向が高まり、直下型のバックライトユニットでは、部品数を統合することによる薄型化が行われている。しかし、直下型のバックライトユニットは光源の光を均一に拡散させる必要があり、光源と拡散板との間に一定以上の間隔を設ける必要がある。その結果、直下型の大型液晶表示装置においては、原理的にバックライトユニットの薄型化に限界がある。
一方、導光板方式によるバックライトユニットにおいて、光源は導光板の周りに配置され、画面の額縁部に配置される。そのため、導光板方式のバックライトユニットは直下型よりも容易に薄型化することができる。導光板方式のバックライトユニットを大型液晶表示装置に使用する試みも行われているが、大型の導光板を形成することに技術的な課題がある。また、導光板方式のバックライトユニットとして、導光板の背面側に点光源を設けたものが提案されている(例えば、特許文献1)
また、薄型化とは別に液晶表示装置の省電力化も重要な課題となっている。バックライトの光源が冷陰極蛍光ランプ(CCFL)から発光ダイオード(LED)に置き換わることに伴い、光源の調光を行うことにより、省電力化を図る試みがなされている。特に、液晶表示装置の高コントラスト化、低消費電力化が可能となる技術として、ローカルディミング技術が知られている(非特許文献1)。
これは、液晶パネルを複数の分割領域に分割するとともに分割領域毎に光源を設け、各分割領域の表示輝度レベルに応じて各光源の輝度レベルを調整する駆動方式である。この駆動方式を用いることにより、液晶表示装置の省電力化に加え、コントラストが向上し、表示品位の向上にも貢献することができる。
また、薄型化とは別に液晶表示装置の省電力化も重要な課題となっている。バックライトの光源が冷陰極蛍光ランプ(CCFL)から発光ダイオード(LED)に置き換わることに伴い、光源の調光を行うことにより、省電力化を図る試みがなされている。特に、液晶表示装置の高コントラスト化、低消費電力化が可能となる技術として、ローカルディミング技術が知られている(非特許文献1)。
これは、液晶パネルを複数の分割領域に分割するとともに分割領域毎に光源を設け、各分割領域の表示輝度レベルに応じて各光源の輝度レベルを調整する駆動方式である。この駆動方式を用いることにより、液晶表示装置の省電力化に加え、コントラストが向上し、表示品位の向上にも貢献することができる。
このような薄型化と省電力とを両立する大型液晶表示装置用のバックライトシステムとして、例えば多数の導光板と多数の光源とを面内に配列したバックライトシステムが提案されている(特許文献2)。
特開2008−27886
Seetzen et al.,ACM Trans. Graph.23,3,pp.760-768,2004
特開2007−293339号公報
導光板方式によるバックライトユニットにおいては直下型よりも薄型化することが容易である。しかしながら、導光板方式では、光源を導光板の周りに設置する必要があり、光源をマトリックス状に配列した場合、輝度の均一性を達成する事が困難となる。すなわち、導光板方式ではローカルディミングに対応することが困難となる。
このように、薄型化・輝度の均一化・省電力化を同時に達成する大型液晶表示装置用のバックライトユニットが望まれているが、現状では、これらの特性を同時に満足するバックライトユニットは提供されていない。
この発明は以上の点に鑑みなされたもので、その目的は、薄型かつ省電力を両立することができるとともに、ローカルディミングなどの部分駆動方式において、輝度均一性に優れた高品質なバックライトユニットおよびこれを備えた液晶表示装置を提供することにある。
上記課題を達成するため、この発明の態様に係るバックライトユニットは、表示パネルの背面に配置され、前記表示パネルに光を照射するバックライトユニットであって、それぞれ前記表示パネルに対向する出射面とこの出射面の反対側に位置した入射面とを有し、互いに並んで配設される複数の導光板と、前記各導光板の入射面に対向して設けられ、前記導光板に光を入射する少なくとも1つの点光源と、を備え、前記各導光板の出射面は、光を透過する光透過領域と光を反射する光反射領域とを有している。
この発明の他の態様に係る液晶表示装置は、少なくとも液晶表示パネルと、前記液晶表示パネルの背面に配置され、前記液晶表示パネルに光を照射するバックライトユニットと、を有する液晶表示装置であって、前記バックライトユニットは、前記液晶パネル方向に光を出射する少なくとも1つの以上のLEDと、前記LED上に設けられ、前記液晶パネルと略平行な方向に光を導光する導光部と、前記液晶パネルと前記導光部との間に設けられ、光の一部を透過する反射面と、を有している。
上記構成によれば、薄型かつ省電力を両立することができるとともに、ローカルディミングなどの部分駆動方式において、輝度均一性に優れた高品質なバックライトユニットおよびこれを備えた液晶表示装置を提供することができる。
以下、図面を参照しながら、この発明の実施形態に係るバックライトユニットを備えた液晶表示装置について詳細に説明する。
図1は、第1の実施形態に係るバックライトユニットを備えた液晶表示装置を示す分解斜視図、図2は液晶表示装置の断面図、図3はバックライトユニットにおける導光板およびLEDの配列を示す平面図である。
図1は、第1の実施形態に係るバックライトユニットを備えた液晶表示装置を示す分解斜視図、図2は液晶表示装置の断面図、図3はバックライトユニットにおける導光板およびLEDの配列を示す平面図である。
図1および図2に示すように、液晶表示装置は、矩形状の液晶表示パネル10、およびこの液晶表示パネル10の背面側に対向して配設されたバックライトユニット12を備えている。液晶表示パネル10は、矩形状のアレイ基板15、アレイ基板15と隙間を置いて対向配置された矩形状の対向基板14、およびこれらアレイ基板15と対向基板14との間に封入された液晶層16を備えている。バックライトユニット12は、光学シート30を間に挟んで、液晶表示パネル10のアレイ基板15と隣接対向して設けられている。
図4はバックライトユニットの導光板を拡大して示す平面図、図5は導光板の側面図である。図1ないし図5に示すように、バックライトユニット12は、相互分離された多数の導光板20と、それぞれ点光源として機能する多数のLED22とを有している。各導光板20は、多角形状、例えば、正方形に形成され、正方形の出射面20a、4つの側面20b、および出射面20aと反対側に位置した入射面20cを有している。各導光板20は、透明な合成樹脂、例えば、アクリル樹脂、耐熱性を有するポリカーボネイト等により形成されている。
多数の導光板20の各々は、その側面20bが他の導光板20の側面と隣接対向した状態、ここでは、僅かに隙間をおいて対向した状態で配置され、複数列、複数行に並んで配列されている。多数の導光板20の出射面20aは、同一平面内に整列して位置している。そして、これら多数の導光板20により、全体として、液晶表示パネル10の大きさに対応した大きさの矩形状の導光板を構成している。各導光板20は、液晶表示パネル10と略平行な方向に光を導光する導光部を構成している。
バックライトユニット12は、矩形状のプリント回路基板24を有している。導光板20は、入射面20cがプリント回路基板24に対向して配置され、例えば、複数の支持脚25によりプリント回路基板24上に支持されている。プリント回路基板24の導光板20側の上面には、光を乱反射する反射膜27が形成されている。
多数のLED22は、プリント回路基板24上に格子状に並んで実装され、プリント回路基板24に電気的に接続されている。LED22は、各導光板20に対して少なくとも1つ設けられている。本実施形態において、LED22は、それぞれ各導光板20の入射面20cの中央部と対向して設けられている。そして、LED22は、導光板20に向けて光を照射し、導光板20に出射光を入光させる。
図4および図5に示すように、各導光板20の出射面20aには、それぞれ略球状に突出した複数の光透過素子32が形成されている。導光板20の出射面20aにおいて、光透過素子32が形成されていない平らな部分には、光を反射する反射膜34が形成されている。反射膜34は、例えば、銀、アルミニウム等の反射率の高い金属、あるいは多層膜により形成され、導光板20内の光を鏡面反射する。このように、導光板20の出射面20aには、光透過素子32により形成され光を透過する複数の光透過領域と、反射膜34により形成され光を反射する光反射領域とが形成されている。このように、導光板20の出射面20aは、光の一部を透過する反射面を構成している。
光透過素子32は、それぞれ同一の径に形成されている。光透過素子32は、レンズとして機能し、導光板20を通して入射した光を、種々の方向、つまり、ほぼ全周に亘って出射する。そして、複数の光透過素子32は、導光板20の中央部において疎に設けられ、導光板20の端縁に行くほど密に設けられている。言い換えると、光透過素子32の配列ピッチは、導光板20の端部に比べ、中央部の方が大きくなっている。これにより、導光板20の出射面20aにおける光透過領域の面積割合は、LED22に隣接した導光板中央部分が最も小さく、LEDから離れた位置に従って増加している。
なお、光透過素子32の径を同一とし配列ピッチを変える代わりに、光透過素子の配列ピッチを一定とし、導光板20の中央部に位置した光透過素子32の径を小さく、導光板20の端部に行くほど、光透過素子32の径を大きく形成するようにしてもよい。
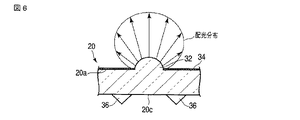
図6は導光板の一部を拡大して示した断面図である。図5および図6に示すように、各導光板20の入射面20cには、例えば、円錐状に突起した複数の光反射素子36が形成されている。これらの光反射素子36は、入射面20cの全面あるいは一部に渡って設けられ、また、均一あるいは不均一に設けられている。これらの光反射素子36は、導光板20内に入光した光を乱反射し、複数の光透過素子32に導く。なお、光反射素子36は、出射面側の光透過素子32の配置分布に合わせて設けても良い。
導光板20の各側面20b上には、反射膜38が形成されている。これらの反射膜38は、隣合う導光板20間での光の干渉を防止する。
図1に示すように、バックライトユニット12において、複数の導光板20の出射面20a上には、レンズシート、拡散シート等の光学シート30が重ねて敷設されている。バックライトユニット12は、光学シート30を間に挟んで、液晶表示パネル10のアレイ基板15と隣接対向して設けられている。LED22を点灯することにより、LEDから出射された光は導光板20に入光する。その光は、直接、あるいは、導光板20内で反射を繰り返した後、光透過領域である光透過素子32を通して出射面20aから出射され、更に、光学シート30を介して液晶表示パネル10に照射される。
バックライトユニット12は、LED22の点灯を制御する制御部40を有している。この制御部40は、プリント回路基板24に接続されているとともに、液晶表示装置の図示しない主制御部に接続されている。制御部40は、液晶表示装置の主制御部から送られた映像輝度信号に基づき、LED22の発光量を、対応する導光板20毎に、あるいは、隣接する複数の導光板20を1ユニットとして、この1ユニットに対応するLED22毎に、調整する発光量調整部42を備えている。すなわち、制御部40は、複数のLED22を個別に駆動することによって、映像情報に合わせてバックライト12の各発光領域の調光を行う。
以上のように構成されたバックライトユニット12は、複数の導光板と各導光板に対向した複数の点光源とを備えた構成であることから、直下型のバックライトユニットに比較して、薄型化を図ることができる。
相互分離された複数の導光板20を使用しているため、各LED22の光量分布を明確に区分することが出来る。これにより、本バックライトユニットにおいては、複数のLED22を映像情報に合わせて個別に駆動するローカルディミング駆動を達成することができ、複数のLEDを別個に調光することにより、消費電力の低減を図ることが可能となる。なお、駆動の単位は、導光板20毎に部分駆動してもよいし、隣接する複数の導光板を1ユニットとしたユニット毎に部分駆動してもよく、表示装置の画面のサイズや駆動回路との相性などにより適宜選択すればよい。
相互分離された複数の導光板20を使用しているため、各LED22の光量分布を明確に区分することが出来る。これにより、本バックライトユニットにおいては、複数のLED22を映像情報に合わせて個別に駆動するローカルディミング駆動を達成することができ、複数のLEDを別個に調光することにより、消費電力の低減を図ることが可能となる。なお、駆動の単位は、導光板20毎に部分駆動してもよいし、隣接する複数の導光板を1ユニットとしたユニット毎に部分駆動してもよく、表示装置の画面のサイズや駆動回路との相性などにより適宜選択すればよい。
LED22が導光板20の中央部に対向して設けられている場合、通常であれば、導光板20の中央部分の輝度が大きくなってしまう。これに対して、本実施形態によれば、各導光板20は、複数の光透過領域を有し、端縁部に比べ、中央部に位置した光透過領域の面積割合が小さく形成されている。そのため、導光板20の全面にわたって均一な照度分布を得ることができる。更に、導光板の入射面には、複数の光反射素子が形成されているため、導光板に入射した光の角度が変化し、光が導光板内でミキシングされる。同時に、光透過素子32はレンズ効果を有し、入射した光を拡散する。よって、1つの光透過素子32から出射される配光分布は、図6に示したように、大きなひろがりをもった分布となる。これにより、各導光板は、どの方向からみても輝度ムラのない均一な輝度特性を得ることができる。
以上のことから、薄型、省電力かつ高コントラスト比を両立することができるとともに、ローカルディミング駆動において、発光領域の輝度の均一性に優れたバックライトユニットが得られる。また、このバックライトユニットを液晶表示装置に適用することにより、高コントラスト、低消費電力、かつ薄型を満たす高品質な大画面液晶表示装置を提供することができる。
次に、この発明の他の実施形態に係るバックライトユニットについて説明する。
図7は、第2の実施形態に係るバックライトユニットの導光板を示す平面図である。第2の実施形態によれば、バックライトユニットの各導光板20は、外形状が正6角形をなしている。点光源としてのLED22は、導光板20の中央部と対向して設けられている。導光板20の出射面20aには、複数の光透過素子32が全面に渡って形成され、光透過素子32のない平坦な部分には、反射膜34が形成されている。光透過領域を形成している光透過素子32の配列ピッチは、導光板20の端部に比べ、中央部の方が大きくなっている。これにより、導光板20の出射面20aにおける光透過領域の面積割合は、LED22に隣接した導光板中央部分が最も小さく、LEDから離れた位置に従って増加している。また、導光板20の入射面20cには、複数の光反射素子36が設けられている。
図7は、第2の実施形態に係るバックライトユニットの導光板を示す平面図である。第2の実施形態によれば、バックライトユニットの各導光板20は、外形状が正6角形をなしている。点光源としてのLED22は、導光板20の中央部と対向して設けられている。導光板20の出射面20aには、複数の光透過素子32が全面に渡って形成され、光透過素子32のない平坦な部分には、反射膜34が形成されている。光透過領域を形成している光透過素子32の配列ピッチは、導光板20の端部に比べ、中央部の方が大きくなっている。これにより、導光板20の出射面20aにおける光透過領域の面積割合は、LED22に隣接した導光板中央部分が最も小さく、LEDから離れた位置に従って増加している。また、導光板20の入射面20cには、複数の光反射素子36が設けられている。
導光板20を上記のような正六角形とすることにより、光源であるLED22に対して、導光板を回転対称に近づけることができ、より対称性がます。そのため、導光板20における光量分布の均一性が一層向上する。ただし、上記導光板20を複数並べた場合、最外に位置する導光板20の側縁は、凹凸に並ぶため、直線的に加工する工夫が必要となる。
第2の実施形態において、バックライトユニットの他の構成は、前述した第1の実施形態と同一であり、同一の部分には同一の参照符号を付してその詳細な説明を省略する。そして、第2の実施形態においても、第1の実施形態と同様の作用効果を得ることができる。
次に、この発明の第3の実施形態に係るバックライトユニットについて説明する。
図8は、第3の実施形態に係るバックライトユニットにおける導光板の配置を示す平面図である。本実施形態によれば、バックライトユニットを構成する複数の導光板20は、それぞれ矩形状に形成され、複数行、複数列に並んで配置されている。また、導光板20の隣合う列は、互いに半ピッチずれた状態で配列されている。すなわち、複数の導光板20は、いわゆる千鳥状に並んで設けられている。
図8は、第3の実施形態に係るバックライトユニットにおける導光板の配置を示す平面図である。本実施形態によれば、バックライトユニットを構成する複数の導光板20は、それぞれ矩形状に形成され、複数行、複数列に並んで配置されている。また、導光板20の隣合う列は、互いに半ピッチずれた状態で配列されている。すなわち、複数の導光板20は、いわゆる千鳥状に並んで設けられている。
また、複数のLED22は、各導光板20の中央部に対向して配置され、全体としてほぼ千鳥状に配置されている。これにより、隣合う複数のLED22は、三角形の頂点となる位置に配置されている。
第3の実施形態において、バックライトユニットの他の構成は、前述した第1の実施形態と同一であり、同一の部分には同一の参照符号を付してその詳細な説明を省略する。そして、第3の実施形態においても、第1の実施形態と同様の作用効果を得ることができる。また、第3の実施形態によれば、LED22が三角形の頂点に配置されているため、LED22への配線が容易となる利点がある。ただし、上記導光板を複数並べた場合、最外に位置する導光板20の側縁は、凹凸に並ぶため、直線的に加工する工夫を施すことが望ましい。
この発明は上述した実施形態そのままに限定されるものではなく、実施段階ではその要旨を逸脱しない範囲で構成要素を変形して具体化可能である。また、上記実施形態に開示されている複数の構成要素の適宜な組み合わせにより、種々の発明を形成できる。例えば、実施形態に示される全構成要素から幾つかの構成要素を削除してもよい。さらに、異なる実施形態にわたる構成要素を適宜組み合わせてもよい。
上述した実施形態では、光透過素子32を突起した略球形状としているが、特に、使用するLED22の配光特性との相性が重要であり、配光特性によって光透過素子が導光板の出射面に対して窪んでいる方が好ましい場合もある。また、光透過素子の形状は、球形状に限らず、角錐、円錐、円筒、楕円型などとしてもよい。更に、例えば、製造コストを重視する場合には、導光板の出射面を凹凸のない平面としてもよい。
また、上述した実施形態では、光反射素子36を突起した円錐状としているが、これに限定されることなく、光反射素子は、窪んだ形状、平らな形状でもよく、また、角錐、円錐、円筒、楕円型などとしてもよい。また、反射部は、導光板の入射面または出射面の全面あるいは一部に渡って形成され、導光板に入射した光を反射する複数の凹凸部により形成してもよい。
導光板は正方形、正六角形に限らず、長方形、ひし形等の他の形状としてもよく、この場合でも上記と同様の効果を得ることができる。上述した実施形態では、同じ大きさの導光板を配置する構成としているが、形状あるいは大きさの異なる複数の導光板を配置してもよい。この場合、光量分布の不均一性のパターンがランダムに配置されるパターンとなるため、輝度ムラが目立ちにくくなるという利点がある。
バックライトユニットと液晶表示パネルとの間に配置される光学シートは、通常、複数枚の拡散シート、拡散板、あるいは輝度上昇フィルムなどで構成されるが、例えば価格を重視するものであるならば、光学シートを省略することも可能である。
導光板の反射領域を形成する反射膜は、鏡面反射の反射膜に限らず、光を拡散反射する反射膜、例えば、酸化チタンで形成された反射膜を用いてもよい。この場合、反射膜の製造コストを低減することができる。
上述した実施形態では、プリント回路基板上に形成された反射膜は、光を乱反射する反射膜としている。一般に、乱反射膜は光のミキシング作用には優れるが、光の吸収が大きいため、効率が低下する。そのため、効率、すなわち省電力を重視する場合、この反射膜を正反射する鏡面としてもよい。
導光板の各側面については、正反射する鏡面、乱反射する乱反射面のいずれを形成してもよく、また、反射面を省略してもよい。導光板の側面の反射条件は、導光板の端部の光量分布に影響を与えるため、導光板の端部における光量分布の調整パラメーターとして適宜選択すればよい。
10…液晶表示パネル、12…バックライトユニット、20…導光板、
20a…出射面、20b…側面、20c…入射面、22…LED、
24…プリント回路基板、32…光透過素子、34…反射膜、40…制御部、
42…発光量調整部
20a…出射面、20b…側面、20c…入射面、22…LED、
24…プリント回路基板、32…光透過素子、34…反射膜、40…制御部、
42…発光量調整部
Claims (14)
- 表示パネルの背面に配置され、前記表示パネルに光を照射するバックライトユニットであって、
それぞれ前記表示パネルに対向する出射面とこの出射面の反対側に位置した入射面とを有し、互いに並んで配設される複数の導光板と、
前記各導光板の入射面に対向して設けられ、前記導光板に光を入射する少なくとも1つの点光源と、を備え、
前記各導光板の出射面は、光を透過する光透過領域と光を反射する光反射領域とを有しているバックライトユニット。 - 前記各導光板の光透過領域の面積割合は、前記点光源に隣接した部分が最も小さい請求項1に記載のバックライトユニット。
- 前記各導光板の光透過領域の面積割合は、前記点光源から離れるに従って増加している請求項2に記載のバックライトユニット。
- 前記各導光板は、それぞれ前記出射面から突出し前記光透過領域を形成した球状の光透過素子を有している請求項1又は2に記載のバックライトユニット。
- 前記各導光板は、前記入射面または前記出射面の全面あるいは一部に渡って形成され、導光板に入射した光を反射する複数の凹凸部を有している請求項1又は2に記載のバックライトユニット。
- 前記各導光板の光反射領域は、前記出射面に形成された光反射膜を有している請求項1又は2に記載のバックライトユニット。
- 前記光反射膜は、正反射を主とする反射膜である請求項6に記載のバックライトユニット。
- 前記反射膜は、拡散反射を主とする反射膜である請求項6に記載のバックライトユニット。
- 前記各導光板は、前記出射面と入射面との間を延びた複数の側面と、前記側面に形成された反射膜と、を有している請求項1に記載のバックライトユニット。
- 前記導光板は、前記出射面と入射面との間を延びた複数の側面を有し、複数の側面が他の導光板の側面と対向した状態で、複数行、複数列に並んで配設されている請求項1に記載のバックライトユニット。
- 前記導光板は、多角形の外形を有している請求項10に記載のバックライトユニット。
- 映像輝度信号に基づき、前記点光源の発光量を、前記導光板毎、もしくは隣接する複数の導光板を1ユニットとするユニット毎に部分調整する発光量調整部を備えている請求項1ないし11のいずれか1項に記載のバックライトユニット。
- 液晶表示パネルと、
前記液晶表示パネルの表示パネルの背面に配置され、前記液晶表示パネルに光を照射する請求項1ないし12のいずれか1項に記載のバックライトユニットと、
を備えた液晶表示装置。 - 少なくとも液晶表示パネルと、前記液晶表示パネルの背面に配置され、前記液晶表示パネルに光を照射するバックライトユニットと、を有する液晶表示装置であって、
前記バックライトユニットは、
前記液晶表示パネル方向に光を出射する少なくとも1つの以上のLEDと、
前記LED上に設けられ、前記液晶表示パネルと略平行な方向に光を導光する導光部と、
前記液晶表示パネルと前記導光部との間に設けられ、光の一部を透過する反射面と、を有している液晶表示装置。
Priority Applications (1)
| Application Number | Priority Date | Filing Date | Title |
|---|---|---|---|
| JP2008198275A JP2010040192A (ja) | 2008-07-31 | 2008-07-31 | バックライトユニットおよびこれを備えた液晶表示装置 |
Applications Claiming Priority (1)
| Application Number | Priority Date | Filing Date | Title |
|---|---|---|---|
| JP2008198275A JP2010040192A (ja) | 2008-07-31 | 2008-07-31 | バックライトユニットおよびこれを備えた液晶表示装置 |
Publications (1)
| Publication Number | Publication Date |
|---|---|
| JP2010040192A true JP2010040192A (ja) | 2010-02-18 |
Family
ID=42012551
Family Applications (1)
| Application Number | Title | Priority Date | Filing Date |
|---|---|---|---|
| JP2008198275A Withdrawn JP2010040192A (ja) | 2008-07-31 | 2008-07-31 | バックライトユニットおよびこれを備えた液晶表示装置 |
Country Status (1)
| Country | Link |
|---|---|
| JP (1) | JP2010040192A (ja) |
Cited By (9)
| Publication number | Priority date | Publication date | Assignee | Title |
|---|---|---|---|---|
| WO2013039276A1 (ko) * | 2011-09-14 | 2013-03-21 | 한아에쎄스주식회사 | 규칙적인 격자를 이용한 광원의 배열 구조 |
| WO2016181788A1 (ja) * | 2015-05-08 | 2016-11-17 | 株式会社エンプラス | 面光源装置 |
| KR20170117421A (ko) * | 2015-02-15 | 2017-10-23 | 베이징 유니버설 란보 테크놀로지 씨오., 엘티디. | Led 디스플레이 스크린 커버 및 led 디스플레이 스크린 |
| JP2018041747A (ja) * | 2017-12-13 | 2018-03-15 | 東芝ライテック株式会社 | 照明器具 |
| WO2019187462A1 (ja) * | 2018-03-30 | 2019-10-03 | ミネベアミツミ株式会社 | 面状照明装置 |
| JP2020072076A (ja) * | 2018-06-22 | 2020-05-07 | ミネベアミツミ株式会社 | 面状照明装置 |
| US10884290B2 (en) | 2019-03-05 | 2021-01-05 | Nichia Corporation | Light emittng module |
| US11131883B2 (en) | 2018-06-22 | 2021-09-28 | Minebea Mitsumi Inc. | Planar lighting device |
| CN114217475A (zh) * | 2021-12-28 | 2022-03-22 | 天马微电子股份有限公司 | 一种背光模组及其制备方法、显示装置 |
-
2008
- 2008-07-31 JP JP2008198275A patent/JP2010040192A/ja not_active Withdrawn
Cited By (16)
| Publication number | Priority date | Publication date | Assignee | Title |
|---|---|---|---|---|
| KR101288580B1 (ko) | 2011-09-14 | 2013-07-22 | 한아에쎄스 주식회사 | 규칙적인 격자를 이용한 광원의 배열 구조 |
| WO2013039276A1 (ko) * | 2011-09-14 | 2013-03-21 | 한아에쎄스주식회사 | 규칙적인 격자를 이용한 광원의 배열 구조 |
| KR20170117421A (ko) * | 2015-02-15 | 2017-10-23 | 베이징 유니버설 란보 테크놀로지 씨오., 엘티디. | Led 디스플레이 스크린 커버 및 led 디스플레이 스크린 |
| KR102007104B1 (ko) | 2015-02-15 | 2019-10-01 | 베이징 유니버설 란보 테크놀로지 씨오., 엘티디. | Led 디스플레이 스크린 커버 및 led 디스플레이 스크린 |
| WO2016181788A1 (ja) * | 2015-05-08 | 2016-11-17 | 株式会社エンプラス | 面光源装置 |
| JP2016213051A (ja) * | 2015-05-08 | 2016-12-15 | 株式会社エンプラス | 面光源装置 |
| JP2018041747A (ja) * | 2017-12-13 | 2018-03-15 | 東芝ライテック株式会社 | 照明器具 |
| JPWO2019187462A1 (ja) * | 2018-03-30 | 2020-12-03 | ミネベアミツミ株式会社 | 面状照明装置 |
| WO2019187462A1 (ja) * | 2018-03-30 | 2019-10-03 | ミネベアミツミ株式会社 | 面状照明装置 |
| JP2020072076A (ja) * | 2018-06-22 | 2020-05-07 | ミネベアミツミ株式会社 | 面状照明装置 |
| JP2020181836A (ja) * | 2018-06-22 | 2020-11-05 | ミネベアミツミ株式会社 | 面状照明装置 |
| US11131883B2 (en) | 2018-06-22 | 2021-09-28 | Minebea Mitsumi Inc. | Planar lighting device |
| US10884290B2 (en) | 2019-03-05 | 2021-01-05 | Nichia Corporation | Light emittng module |
| US11513389B2 (en) | 2019-03-05 | 2022-11-29 | Nichia Corporation | Light emitting module |
| CN114217475A (zh) * | 2021-12-28 | 2022-03-22 | 天马微电子股份有限公司 | 一种背光模组及其制备方法、显示装置 |
| CN114217475B (zh) * | 2021-12-28 | 2023-12-22 | 天马微电子股份有限公司 | 一种背光模组及其制备方法、显示装置 |
Similar Documents
| Publication | Publication Date | Title |
|---|---|---|
| JP4461197B1 (ja) | 面状照明装置およびこれを備えた液晶表示装置 | |
| US7374312B2 (en) | Bottom lighting backlight module having uniform illumination and process for manufacturing the same | |
| JP3931070B2 (ja) | 面状光源装置及びこれを備えた液晶表示装置 | |
| US9341766B2 (en) | Lighting device, display device and television device | |
| KR100918034B1 (ko) | 배면에 반사부를 구비하는 광학시트와 전면에 렌티큘러렌즈를 구비하는 광학시트를 포함하는 확산판 | |
| KR101126058B1 (ko) | 면광원 장치, 조명 유닛 및 광속 제어 부재 | |
| KR101943446B1 (ko) | 디스플레이 장치 및 조명 시스템 | |
| TWI847278B (zh) | 光學膜以及包括其的背光單元 | |
| JP4133663B2 (ja) | 面状光源装置および該装置を備えた表示装置 | |
| JP2010272245A (ja) | バックライトユニットおよびこれを備えた液晶表示装置 | |
| JP2010040192A (ja) | バックライトユニットおよびこれを備えた液晶表示装置 | |
| JP2008282744A (ja) | バックライト装置およびそれを備えた表示装置 | |
| JP2006286906A (ja) | 発光ダイオード装置とこれを用いたバックライト装置及び液晶表示装置 | |
| JP2006173624A (ja) | Led光源 | |
| JP2010153257A (ja) | バックライトユニットおよびこれを備えた液晶表示装置 | |
| JP2012174371A (ja) | 照明装置、液晶表示装置 | |
| US7125141B2 (en) | Apparatus for homogeneously distributing lights | |
| JP2012018880A (ja) | 面状照明装置、映像表示装置および光学シート | |
| JP2011096494A (ja) | 面状照明装置およびこれを備えた液晶表示装置 | |
| US20100328555A1 (en) | Lighting device, display device and television receiver | |
| JP2010108601A (ja) | 面状光源及び液晶表示装置 | |
| JP2000184137A (ja) | 面状光源装置 | |
| JP2010055998A (ja) | バックライトユニットおよびこれを備えた液晶表示装置 | |
| JP2010055999A (ja) | バックライトユニットおよびこれを備えた液晶表示装置 | |
| KR101798599B1 (ko) | 광속제어부재 및 이를 이용한 백라이트유닛 |
Legal Events
| Date | Code | Title | Description |
|---|---|---|---|
| A300 | Withdrawal of application because of no request for examination |
Free format text: JAPANESE INTERMEDIATE CODE: A300 Effective date: 20111004 |